Next Article in Journal
Design of an E-Band Multiplexer Based on Turnstile Junction
Previous Article in Journal
Think Before You Classify: The Rise of Reasoning Large Language Models for Consumer Complaint Detection and Classification
 
 
Font Type:
Arial Georgia Verdana
Font Size:
Aa Aa Aa
Line Spacing:
Column Width:
Background:
Article

In-Depth Inception–Attention Time Model: An Application for Driver Drowsiness Detection

Department of ICT Convergence, University of Soonchunhyang, Asan 31538, Chungcheongnam, Republic of Korea
*
Author to whom correspondence should be addressed.
Electronics 2025, 14(6), 1069; https://doi.org/10.3390/electronics14061069
Submission received: 8 February 2025 / Revised: 25 February 2025 / Accepted: 4 March 2025 / Published: 7 March 2025

Abstract

Drowsiness while driving is a common problem for many drivers and a significant problem in contemporary society. This study presents a method for detecting drowsiness while driving. The key finding is that six channels of EEG data are closely associated with drowsiness detection; this finding will contribute significantly to the development of new drowsiness detection systems. To process EEG data with high frequencies and large datasets, an in-depth Inception model suitable for time-series data was employed, incorporating a self-attention mechanism. This model effectively extracts the time–frequency representation of EEG data using a short-time Fourier transform and selectively learns important features by applying the self-attention mechanism within the Inception block structure. Additionally, channel-wise convolution is utilized to reduce the dimensionality of input data, and modified Inception blocks are stacked to enable more profound data representation. The model manages its complexity by adding partial sequential convolution filters and self-attention to the Inception blocks while performing complementary roles. Our method achieved high-performance drowsiness detection with an accuracy of 79.02% using only six EEG channels. The method contributes to ensuring accurate detection by minimizing information loss through the introduction of a self-attention mechanism.

1. Introduction

Drowsiness occurs naturally during tasks that require repetitive or sustained concentration. However, drowsiness can adversely affect task efficiency and the safety of individuals involved. According to a survey by the American Automobile Association, approximately 40% of drivers have experienced drowsiness while driving, and the National Safety Council reports that around 100,000 vehicle accidents occur annually due to drowsy driving [1]. Thus, drowsy driving is a problem that can affect anyone and is considered a serious issue with potentially life-threatening consequences. As a result, significant efforts have been made to research methods for detecting drowsiness. Early methods detected a driver’s drowsiness based on vehicle performance data recorded through sensors installed within the vehicle, such as the degree of steering wheel manipulation and lateral acceleration [2,3]. However, this approach was primarily developed to determine whether drowsiness was the cause of an already occurring accident and is not suitable for proactively preventing accidents caused by drowsy driving [4]. To prevent accidents, it is necessary to process real-time sensor data collected during driving, assess the driver’s state, and then generate appropriate warnings after determining the presence of drowsiness. A drowsiness detection system based on eye blinking that satisfies these criteria utilizes cameras or laser sensors to capture the driver’s face in real time and measures the intervals and patterns of eye blinks from the captured video data [5,6]. Machine learning algorithms are employed to learn the driver’s eye blink patterns. However, eye-blink-based drowsiness detection systems have limitations as they rely on limited information from the driver’s face and detect drowsiness based on the state of the driver’s eyes. Since drivers may blink for various reasons during driving; therefore, these systems may have lower accuracy. A drowsiness detection system based on face detection that uses cameras to capture the driver’s face in real time and extracts facial features, including eye size, position, and mouth shape, through image processing techniques was studied in [7,8]. Subsequently, deep learning techniques like convolutional neural networks (CNNs) have been employed to learn the driver’s facial features and use them to detect drowsiness. Face detection-based drowsiness detection systems provide more information about the driver’s face than eye-blink-based systems. However, similar to eye-blink-based systems, these methods have diverse privacy violation issues. To overcome these challenges, drowsiness detection methods have emerged that rely on vital signs such as brainwave analysis [9,10]. These analyses used electroencephalogram (EEG) sensors. They detected the electrical activity generated during the communication and signal generation processes among neurons in the brain. Research on the correlation between brain activity and drowsiness has been conducted in various fields, and apparent differences in brain activity between drowsy and normal states have been observed [11,12]. Analyzing brainwave data allowed for more accurate detection of drowsy states, and machine learning can be applied to achieve personalized drowsiness detection. This method enables the real-time detection of drowsiness during driving. Traditional research on drowsy driving detection used EEG data measured through thirty channels or a single channel. Studies using thirty channels demonstrated superior performance, but they can be inconvenient to measure and may lead to driver attention dispersion. Conversely, research using a single channel offers greater measurement convenience but may suffer from lower accuracy in drowsiness detection. Our study aimed to find a compromise between the performance of the drowsiness detection system through brainwave analysis and the convenience of EEG measurement. Also, we further aimed to improve the accuracy of drowsiness detection by proposing a novel model suitable for time-series data. Our contributions to the drowsiness detection system through brainwave analysis can be categorized into two main aspects.
1.
We introduce a novel in-depth Inception model with self-attention. Our model is designed to work on time-series data by transforming the data to a time-frequency domain using a short-time Fourier transform (STFT). We modify the Inception block by channel-wise convolution to reduce the feature dimension, laying the different-sized filters sequentially for more profound feature representation and incorporating self-attention to focus on essential features.
2.
We try to find a balance between the convenience of using a single channel and the amount of information available from thirty channels. Among all thirty channels, we statistically validate and select six channels (Fz, FCz, Cz, CPz, Pz, Oz) that exhibit excellent performance in drowsiness detection.
Our proposed method of using six EEG channels offers several advantages over previous research that used specially designed spectacle-shaped devices with Arduino and small sensors for drowsiness detection [13,14]. By directly measuring brainwave activity, our EEG-based approach allows for more precise detection of drowsy states than methods that rely on eye movements or blinking. Additionally, unlike the spectacle-based approach, our strategy is not influenced by individual physical characteristics such as eye size. Furthermore, our EEG approach is less sensitive to external factors like sudden changes in lighting, enhancing its reliability and effectiveness.

2. Related Work

We analyzed existing research trends by referencing various literature related to drowsiness during vehicle driving and explored the direction of a new drowsiness detection system based on these findings. Relevant literature is presented in Table 1.
The advancement of artificial intelligence and the continuous evolution of computing systems have led to improvements in drowsiness detection systems. Based on these advanced drowsiness detection systems, research has been actively conducted using various measurement indicators to detect drowsiness. Methodologies have been developed to detect drowsiness by extracting various facial expression features such as eye shape, mouth shape, and head nodding from video image data of drivers. Additionally, diverse studies have been attempted using data directly extracted from vehicles for drowsiness detection.

2.1. Studies Related to Drowsiness

Knapik and Cyganek presented an approach to driver drowsiness detection based on long-range thermal imaging and the cold and hot thermal voxel sum method for detecting driver yawns. This system demonstrated an accuracy of 71% in cold voxel detection and 87% in hot voxel detection [16].
Maior et al. developed a drowsiness detection methodology based on eye patterns of individuals monitored through video streams using a webcam. By calculating the ratio of the height to the width of the eyes to compute the eye aspect ratio, they conducted drowsiness detection. They achieved an average accuracy of 94.9% using a support vector machine (SVM) [19].
Wijnands et al. achieved high predictive accuracy and satisfied real-time inference requirements by using a depthwise separable 3D CNN that incorporated the early fusion of spatio-temporal information. The experiments conducted under various conditions showed a final accuracy of 73.9% [17].
Ed-Doughmi et al. presented an approach to detect drowsiness based on recurrent neural networks (RNNs) using images of the driver’s face. The authors implemented an architecture using a multilayer model based on an RNN and a 3D CNN, obtaining approximately 97% accuracy [20].
Moujahid et al. detected driver drowsiness through a facial monitoring system based on concise facial textures. The authors constructed a framework through a feature selection process applied to extracted drowsiness characteristics such as blink rate, head nodding, and yawning frequency. They achieved 79.84% accuracy using a nonlinear SVM-based classification [8].
Mcdonald et al. detected drowsiness-related lane departures of drivers using the random forest algorithm on steering wheel angle data. An image-based drowsiness measurement method using the percentage of eyelid closure (PERCLOS) was also conducted, where the classification using PERCLOS achieved 55% accuracy, while the method proposed by McDonald et al.’s study achieved 79% accuracy [15].
Chai et al. conducted drowsiness detection by selecting four features (based on their level of correlation) from various characteristics of the steering wheel, using a driving simulator. Based on these features, three models were used, multilevel ordered logit (MOL), SVM, and a backpropagation neural network, with the MOL model achieving the highest accuracy of 72.92% among the three models [18].
Rahman et al. conducted a study using a driving simulator, where they simultaneously recorded driving videos and electrocardiogram (ECG) data. They employed computer vision to recognize the driver’s face and generated sixty-eight facial landmarks at locations such as the corners of the mouth and the edges of the eyes. This multimodal approach integrated the movement of these landmarks and ECG’s R-R peaks to detect driver drowsiness. The research involved eight participants and achieved an accuracy rate of 97.4% [21].

2.2. Studies on Drowsiness Using EEGs

In addition to studies using features extracted from image data and features extracted directly from automobiles, there has been active research on detecting drowsiness by extracting features from biological signals obtained from drivers.
Awais et al. confirmed that the power of the alpha and theta bands in an EEG significantly increases when the subject transitions from a state of vigilance to drowsiness [24]. They achieved this by applying the fast Fourier transform to EEG signals and calculating the power spectral density using the Welch algorithm. In another study, the authors proposed a drowsiness detection method that combines features from ECGs and EEGs, extracting absolute and relative power in the frequency domain and time domain statistics from the EEG and features such as heart rate and heart rate variability from the ECG. These features were used for drowsiness classification through SVM, achieving an accuracy of 80.90% [25].
Chaabene et al. developed a deep learning-based drowsiness detection system using a CNN model based on the alpha–theta waves from fourteen EEG channels collected with the Emotiv EPOC+ headset. In that study, they successfully classified the states of drowsiness and wakefulness, with a high accuracy of 90.42% [27].
Min Shi et al. separated EEG signals into four rhythm waveforms through wavelet packet decomposition. They extracted relative energy and nonlinear characteristics from these separated rhythms and applied the long short-term memory (LSTM) model to successfully classify sleep states, obtaining an accuracy of approximately 86% [28].
Yaacob et al. measured EEG and ECG signals simultaneously to apply multimodal biosignals to the K-nearest neighbor (KNN) algorithm, presenting an effective method for drowsiness measurement and achieving an accuracy of 97.2% [26].

2.3. Studies on Drowsiness Driving Detection Using EEGs

Physiological signals, especially EEGs, have been associated with positive research outcomes in the detection of drowsiness. The significance of EEGs is increasingly being highlighted, particularly in relation to the detection of drowsy driving, prompting active research in this area.
Choi et al. introduced a framework that detects momentary drowsiness from only two seconds of EEG signal segments. Considering the applicability in mobile environments, the framework was implemented in both wired and wireless EEGs, using multitaper power spectral density for feature extraction and an extreme gradient boosting classifier for classification, achieving an accuracy of 78.51% in wired EEGs and 77.22% in wireless EEGs [32].
Li et al. used an SVM-based posterior probabilistic model to convert the levels of drowsiness during driving from discrete labels to a continuous scale of 0 to 1. A wearable EEG analysis system, comprising an EEG headband and a smartwatch, was employed to evaluate the model in real time. The proposed system was assessed for warning groups based on levels of drowsiness—alert, early warning, and full warning—achieving accuracies of 91.25%, 83.78%, and 91.92%, respectively [31].
Based on the theory that changes in occipital EEGs show a linear relationship with the degree of eyelid closure (ECD) during driving, a linear support vector regression model was used to predict ECD and classify driver drowsiness. The proposed linear EEG-ECD model was evaluated for male and female participants, achieving accuracies of 87.5% and 70.0%, respectively [29].
Lee et al. collected 8-channel EEG (Fpz-Cz, Pz-Oz) and respiratory signals using Bluetooth, then extracted features by classifying them into four frequency bands using wavelet packet transformation (WPT). Drowsiness was classified via SVM, and the combined use of EEG and respiratory signals achieved an accuracy of 98.6% [30].
Chinara et al. introduced a new feature extraction strategy in a single-channel EEG-based drowsiness detection model using WPT and a single Hjorth parameter. The extracted features were applied to multiple models, with the extra trees (ETs) model achieving the highest accuracy of 94.45% by using random thresholds for each feature when deciding on the split of nodes [35].
Cui et al. developed a convolutional neural network–long short-term memory (CNN-LSTM) model for subject-independent drowsiness recognition from single-channel EEG signals. The model was independently tested on eleven subjects and achieved an average accuracy of 72.97% [36].
Budak et al. conducted a drowsiness detection study composed of three blocks: calculating energy distribution and zero-crossing distribution features from raw EEG signals, extracting spectral entropy and instantaneous frequency features from EEG spectrogram images using pre-trained AlexNet and VGGNet for deep feature extraction, and decomposing EEG signals into relevant sub-bands using a tunable Q-factor wavelet transform (TQWT). After processing the three blocks, the extracted features were classified using LSTM, obtaining an average accuracy of 94.31% with 10-fold cross-validation [33].
Khare and Bajaj presented a method that used adaptive variation mode decomposition (AVMD) for accurate analysis and synthesis of EEG signals. Through AVMD, the signal was decomposed into various modes, and among the features extracted from these modes, five entropy-based features were selected through statistical analysis. The chosen entropy features were Tsallis entropy, Renyi entropy, log energy entropy, Shannon entropy, and permutation entropy. These features were used for drowsiness classification with an ensemble-boosted trees model, resulting in an accuracy of 97.19% [34].
Puspasari et al. conducted a study that went beyond simply relying on the trend of EEG signals for drowsiness detection. Instead, they aimed to create indicators using EEG signals to determine drowsiness. They employed logistic regression and SVM models to train and classify these generated indicators. The research involved a total of thirty participants, achieving an accuracy of 77.1% for the training set and 90.2% for the test set [38].
Previous studies that measured drowsiness during driving relied on methods with inherent inaccuracies, such as eye blinking, facial recognition, and steering wheel sensors [4], or used EEG but only either a single channel or all channels, failing to sufficiently consider the impact of specific channels closely related to drowsiness. In the present study, we overcame these limitations by experimentally identifying a group of six EEG sub-channels that are most effective for drowsiness measurement. Furthermore, we employed a model using a modified Inception block structure based on sensor data obtained from this sub-channel group, achieving improved performance in drowsiness detection.

3. Materials and Methods

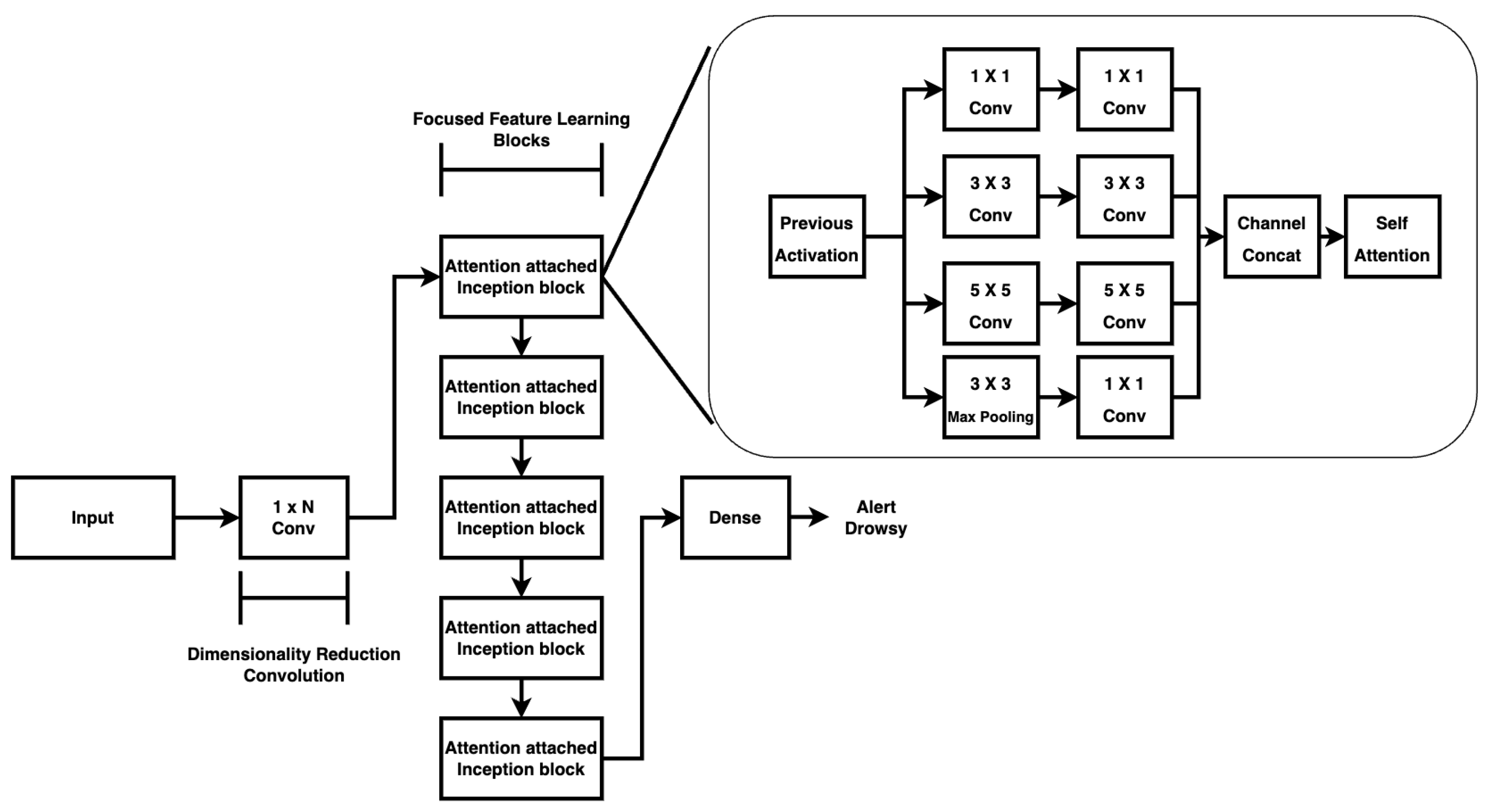
In this section, we discuss three key components that constitute the neural network model for drowsiness detection that we propose: the short-time Fourier transform (STFT) transformation, channel-wise convolution, and in-depth Inception with self-attention. These elements interact with each other to analyze EEG data effectively and detect drowsy states. This explores how these technologies are combined to enhance the model’s performance, thus providing an understanding of how to implement a more precise and efficient drowsiness detection system. Figure 1 illustrates the overall architecture of the proposed model. The processing pipeline consists of the following stages:
1.
Time–Frequency Transformation (STFT): EEG signals are initially transformed into a time–frequency representation using short-time Fourier transform (STFT). This step converts raw time-series EEG data into a format that captures both spectral and temporal characteristics, enabling the model to extract frequency-based features relevant to drowsiness detection.
2.
Channel-Wise Convolution: The STFT-transformed data have increased dimensionality due to their multi-channel nature. To handle this, 1 × N channel-wise convolutions are applied to process each EEG channel independently. Unlike conventional convolutions, which treat all channels jointly, this approach preserves inter-channel dependencies while reducing computational complexity.
3.
Feature Extraction using Inception Blocks: The extracted features are then processed through multiple Inception blocks. Each Inception block applies convolutional filters of different sizes (1 × 1, 3 × 3, 5 × 5) in parallel. The purpose of using multiple receptive fields is to capture both fine-grained local patterns (short-term EEG fluctuations) and broader temporal dependencies (long-term patterns related to drowsiness).
4.
Self-Attention Mechanism: A self-attention module is integrated into each Inception block to enhance feature selection and reduce noise sensitivity. Instead of treating all extracted features equally, the attention mechanism assigns different weights to different features based on their relevance. This is particularly important for EEG signals, where artifacts and irrelevant fluctuations can obscure meaningful drowsiness-related patterns.
5.
Fully Connected Layers and Classification: The final feature representations obtained from the Inception–attention blocks are flattened and passed through a set of fully connected layers. The last layer applies a softmax function to classify EEG signals into “drowsy” or “alert” states.

3.1. Short-Time Fourier Transform

Our model utilizes data transformed through an STFT instead of raw EEG data. STFT is an effective technique for capturing the evolving characteristics of a signal through time–frequency analysis. This approach allows us to analyze the features of the original data across various time slices and frequency bands, improving the accuracy of drowsiness detection. Raw EEG signals are continuous time-series data, meaning they exhibit non-stationary behavior, where frequency components fluctuate over time. STFT is more suitable for analyzing non-stationary signals, such as continuously collected EEG data, because it allows the observation of frequency changes over time. Compared to the Fourier Transform, which only provides frequency components, STFT enables the analysis of how these components evolve over time. To effectively analyze these variations, the EEG signal was divided into fixed-length overlapping segments before applying STFT. The original EEG data, before applying STFT, corresponds to Figure 2.
In this study, we selected a window size of 64 samples ( 167   ms at a sampling rate of 384 Hz) with a 50% overlap between consecutive windows. This segmentation ensures that each transformed segment captures local temporal variations while maintaining smooth transitions across segments. The choice of 167 ms as the window size was made based on EEG frequency characteristics and the nature of drowsiness detection. A shorter window (e.g., 32 samples, 83 ms) provides better temporal resolution but may distort frequency components in the theta (4–8 Hz) and alpha (8–13 Hz) bands, which are critical for drowsiness detection. A longer window (e.g., 128 samples, 333 ms) improves frequency resolution but reduces sensitivity to rapid changes in EEG activity, making it harder to detect transitions between alert and drowsy states. Using 64 samples (167 ms) provides a balanced resolution, allowing stable frequency analysis while preserving the ability to capture transient changes in brain activity. The 50% overlap further ensures that no sudden transitions in spectral features are lost.
Several time–frequency transformation methods exist, including wavelet transforms and empirical mode decomposition (EMD). We selected STFT because it provides a fixed time–frequency resolution, ensuring that all EEG channels are analyzed under the same spectral conditions. Unlike wavelet-based methods, which adaptively change resolution across frequencies, STFT applies a uniform resolution across all frequency bands, making it well-suited for spectral feature extraction in EEG-based drowsiness detection. The STFT of a discrete-time signal x [ n ] is computed as:
X ( n , k ) = m = x [ m ] w [ m n ] e j 2 π k m / N
where:
  • x [ m ] is the input EEG signal;
  • w [ m n ] is the window function applied to each segment;
  • N is the total number of frequency bins;
  • k represents the frequency index.
This formulation allows the STFT to analyze how frequency components evolve over time while maintaining a balance between spectral and temporal resolution. The transformed STFT representation is visualized as a spectrogram, as shown in Figure 3, where:
  • The x-axis represents time (s), corresponding to the segmented windows.
  • The y-axis represents frequency (Hz), showing how different frequency components change over time.
  • The color intensity represents magnitude, indicating the power of the frequency components at each time step.
Since EEG signals naturally exhibit non-stationary behavior, meaning that their spectral content varies over time, the STFT spectrogram effectively captures both transient and periodic changes in neural oscillations.

3.2. Channel-Wise Convolution

The data, which increased in dimensionality by STFT, are processed through 1xN channel-wise convolutions. Channel-wise convolutions treat each channel of the input data independently with different filters, enabling a more nuanced and flexible processing of the data.
At this stage, each channel is independently computed, effectively reducing data dimensionality, enhancing computational efficiency, and preventing overfitting in the model. This approach promotes the precise analysis of the data’s time–frequency attributes, significantly aiding in the handling of extensive high-frequency time series. Traditionally, the Inception model has employed 1 × 1 convolution filters. However, our study aimed to investigate the utilization of larger convolution filter sizes to process lengthy time series data more effectively. We conducted experiments with various 1 × N size filters, where N represents the length of time data aggregated by each filter. This strategy was expected to offer a more detailed understanding of the time–frequency characteristics of the data, thereby improving the processing of long, high-frequency time series.
We established the optimal value of N through an iterative experiment. This process concluded with N = 32 as the optimal value. Subsequently, the data passed through in-depth attention-attached Inception blocks. We maximized the extraction of intricate features in attention-attached in-depth Inception blocks and benefits from the self-attention mechanism.

3.3. In-Depth Inception

The core of the network proposed in this study lies in the in-depth Inception stage. By adopting the Inception structure, we aimed to achieve efficient and diverse feature learning. The Inception structure encompasses several essential features, enabling us to leverage various data characteristics effectively. Simultaneously, it applies convolutional filters of multiple sizes to capture a wide range of information. Inception blocks employ filters of different sizes ( 1 × 1 , 3 × 3 , 5 × 5 ) in parallel, allowing the network to capture multi-scale features. The key advantage of this design is that smaller filters extract fine-grained features, while larger filters capture global trends over longer time windows. We stacked convolution filters by adding the same-sized filter directly on top of the convolution filter. Stacking convolution filters enhances a model’s ability to learn more complex hierarchical representations. The first layer captures basic patterns, and subsequent layers learn higher-level features. This method allows the model to increase its understanding of the data progressively. Using smaller convolution filters but stacking them might be more parameter-efficient than using a single larger convolution. For instance, two 3 × 3 convolutions have fewer parameters than one 5 × 5 convolution but can cover a similar receptive field. In a scenario where the convolutions are of the same size, the principle of building depth with a careful balance of parameter increase and feature extraction capability remains relevant. Furthermore, max-pooling layers are used to reduce spatial dimensions while preserving essential feature information. To further enhance feature selection, we incorporate a self-attention mechanism inside each Inception block. This mechanism allows the network to dynamically focus on the most informative features, reducing the impact of noise and irrelevant EEG fluctuations. The self-attention mechanism computes attention scores based on the relationship between different features, ensuring that the model prioritizes relevant temporal dependencies. The attention process is formulated as follows:
A i = softmax Q K T d k V
where:
  • Q , K , V represent the query, key, and value matrices, respectively.
  • d k is the scaling factor for stable gradients.
By applying self-attention, the model selectively amplifies critical EEG features related to drowsiness while suppressing irrelevant noise. This approach enhances robustness, particularly in handling EEG artifacts and inter-individual variations. The final attention-weighted features are passed through fully connected layers for classification. The last dense layer employs a softmax activation function to compute the probability of the EEG signal corresponding to ‘drowsy’ or ‘alert’ states. The Inception structure’s form was initially introduced in the GoogLeNet architecture [39] and is depicted in Figure 4.

4. Experiments

4.1. Dataset

The EEG data used in this study were obtained and made publicly available by Cao et al. [40]. The dataset consists of 27 participants, aged between 22 and 28 years old, who were students or staff at National Chiao Tung University. Participants were instructed to obtain approximately 8 h of sleep each day, avoid strenuous exercise, and refrain from consuming alcohol or caffeinated beverages one day prior to the experiment. EEG signals were acquired using the Scan SynAmps2 Express system, and the collected EEG signals were recorded using thirty-two wired EEG caps placed according to the Modified International 10–20 system. Of these, two were used as reference electrodes, and the remaining thirty were used as EEG electrodes. The EEG signals were sampled at 500 Hz during the experiments.
Participants underwent the experiment in a VR environment equipped with a driving simulator and were instructed to maintain the vehicle in the center of the lane during highway driving conditions. The experiment lasted for 90 min. Lane departure events occurred at intervals of 5–10 s, and participants were required to respond by repositioning the vehicle back to the lane center. Each lane departure event consisted of a ‘baseline period’; ‘deviation onset’, when the vehicle departed from the lane; ‘response onset’, when the vehicle was being corrected; and ‘response offset’, which was defined as a ’trial’.
The aforementioned raw dataset was preprocessed as follows by Cao et al.’s study [41]. The EEG signals underwent filtering using finite impulse response (FIR) filters, with high-pass set at 1 Hz and low-pass at 50 Hz.
  • To mitigate artifact interference, manual removal was performed on evident eye-blink disturbances. The EEGLAB’s Automatic Artifact Removal plug-in was employed to eliminate ocular and muscular artifacts.
  • The EEG signals underwent filtering using finite impulse response (FIR) filters, with the high-pass set at 1 Hz and the low-pass at 50 Hz.
The EEG signals, processed and filtered as described, were labeled based on the Oz channel, which was selected as the reference channel because of its highest correlation with drowsiness, following the filtering and labeling procedure outlined in Cui et al.’s study [42], in accordance with the research findings presented in Pal et al.’s study [43].
  • The signals were downsampled from 500 Hz to 128 Hz, and samples were extracted from a 3-s period prior to the start of each trial’s deviation onset.
  • The duration between the lane departure moment and the participant’s reaction was defined as the local reaction time (RT), in accordance with the procedure outlined in [44]. The average value of local RTs during trials in the 90 s prior to lane departure was defined as the global RT, and the fifth percentile of local RTs across the entire session was defined as the alert RT.
  • A local RT and global RT shorter than 1.5 times the alert RT were defined as ‘alertness’.
  • A local RT and global RT longer than 2.5 times the alert RT was defined as ‘drowsiness’.
  • Samples from imbalanced classes were removed, and sessions with the most balanced class distribution were selected.
In this manner, a total of 2022 balanced class samples were obtained from eleven participants. The preprocessed data passing through the above steps is available in [45].

4.2. Experimental Results

In this study, the thirty channels of the original dataset were grouped according to their attachment locations to measure the performance of sub-channel groups and, based on this, the six channels that demonstrated the highest performance were selected for evaluation. The electrodes are standardized according to the international 10–20 system when measuring an EEG with thirty-two electrodes. The name of each electrode is formed by combining alphabetical characters representing the attachment site and numbers indicating the left–right position. Specifically, ‘F’ signifies the frontal lobe, ‘T’ denotes the temporal lobe, ‘C’ represents the central lobe, ‘P’ corresponds to the parietal lobe, and ‘O’ designates the occipital lobe. These electrode placements are illustrated in Figure 5.
Among the numbers from 1 to 8, odd numbers indicate placement on the left hemisphere of the scalp, whereas even numbers indicate placement on the right hemisphere.
In a prior study analyzing the relationship between EEG patterns and drowsiness, it was confirmed that the Oz channel exhibited the closest association with drowsiness [46]. However, relying on a single channel may increase signal variability, whereas using all available channels can be impractical due to computational complexity and wearability concerns. To balance accuracy and practicality, we examined two distinct EEG channel groups relevant to drowsiness detection. The O group (O1, Oz, O2) was selected based on the known role of the occipital lobe in visual processing and its reported association with fatigue. The Z group (Fz, FCz, Cz, CPz, Pz, Oz) was chosen as it captures broader brain activity patterns often linked to cognitive states. We evaluated three setups: (1) a single Oz channel, (2) the O group, and (3) the Z group. The performance of each group was evaluated using leave-one-out cross-validation, where one subject was used for testing while the remaining subjects were used for training. This process was repeated until each subject had been used for testing. The performance of each set up is listed in Table 2.
The single Oz channel showed an average accuracy of 73.36%, the O group 74.30%, and the Z group 79.02%. Consequently, the Z group was chosen for the final performance evaluation. In this study, the Adam optimizer was employed because of its ability to adjust the learning rate for each parameter dynamically. This feature is particularly beneficial in complex models and datasets, enabling efficient learning. Additionally, Adam takes into account the momentum of gradients, providing a robust response to sparse gradients, which promotes more stable and more rapid convergence. The batch size was set to sixty-four. This size was chosen to balance efficient learning within the constraints of GPU memory while providing a sufficiently large data sample to enhance the generalization ability of the model. The number of epochs was set to fifteen. This number allows the model to learn from the data to a sufficient degree while preventing overfitting, a common issue in machine learning models. A learning rate of 0.001 was utilized. This rate was selected to promote rapid convergence while minimizing the instability that can occur during training. These parameters were chosen after careful consideration to optimize the performance of the model in the given experimental setup, which was conducted in an environment equipped with an NVIDIA T4 graphics card.

4.3. Comparison Analysis

The proposed model compares its performance with that of traditional models and time-series data classification models that have been previously studied. The comparison results are shown in the Table 3.
Models such as multilayer perceptron (MLP), RNN, LSTM, gated recurrent unit (GRU), and more recent models for time-series data, such as CNN-LSTM, InceptionTime, and XceptionTime, were used for comparison.
MLP is a class of feed-forward artificial neural networks. It consists of at least three layers: an input layer, a hidden layer(s), and an output layer. Nodes in each layer are fully connected to the nodes in the preceding and following layers.
RNN is designed to iterate through the sequence and maintain a hidden state that captures information from previous steps [47]. However, pure RNNs often have a limited ability to learn long-term dependencies because of vanishing and exploding gradient problems.
LSTM is a type of RNN designed to avoid the long-term dependency problem inherent in traditional RNNs [48]. It has gates that control the flow of information, allowing the network to selectively remember or forget information, which aids in learning long-term dependencies in sequential data.
GRU is a variation of the LSTM architecture introduced to maintain LSTM’s long-term dependency modeling capabilities while simplifying the model [49]. GRU has only two gates, the reset gate and the update gate, compared to LSTM’s three, thus reducing the model’s complexity. This reduction in complexity allows for faster computation while still capturing long-distance dependencies, with performance trade-offs varying depending on the specific application.
InceptionTime is a deep learning architecture specialized for time-series data [50]. This model applies filters across the multi-variate time-series data, resulting in a single time-series dataset. Over the aggregated data, multiple convolution filters are applied and transformed into several time-series datasets, equal in number to the number of filters. It was inspired by Google’s Inception network and utilizes parallel convolutional filters of various sizes, allowing the model to detect patterns at different temporal scales simultaneously. This ability to extract features at various temporal scales is crucial for time-series data, especially those with long-term dependencies.
XceptionTime can be seen as an evolved version of InceptionTime [51]. Inspired by the Xception architecture, which uses depthwise separable convolutions intended for learning spatial and channel features, this architecture is designed to capture patterns across various temporal scales within time-series data in an effective manner. In depthwise convolution, each channel of the input is convolved separately and the convolutions are then stacked together, retaining the depth. After the depthwise convolution, the output contains the same number of channels as the input. To combine the information from these channels and to adjust the channel depth according to the requirements of the next layer, pointwise convolution is employed. Finally, XceptionTime modules are stacked.
CNN-LSTM, which exhibited the highest performance levels in previous studies using the same data as the present study, was also used as a comparative model [36]. CNN-LSTM is a hybrid model combining CNN and LSTM networks to learn spatial and temporal features in time series or sequential data. By integrating the strengths of CNN and LSTM, complex patterns in various types of data can be recognized, including images, videos, and sensor data.
The model proposed in this study demonstrates superior performance compared to existing traditional models and models specialized for time-series data. The proposed model exhibits an average accuracy of 79.02%, which is approximately 4.5 percentage points higher than the 74.57% performance of the CNN-LSTM model suggested by [36] when applied to the same dataset. These results indicate that the proposed model excels in capturing EEG features related to drowsiness more successfully than other models in the drowsiness detection domain.

4.4. Statistical Testing

We performed statistical testing for comparisons of EEG channels and deep learning models. The statistical significance of these differences was verified using a linear mixed model. The linear mixed model used in this study can be expressed as follows:
Y i j = β 0 + β 1 X i j + u j + ϵ i j
  • Y i j represents the accuracy of the ith trial for the jth participant in the experiment.
  • β 0 is the intercept, which sets the performance of our proposed model on the ‘Z Group’ data as the reference for all participants.
  • β 1 is a fixed effect parameter indicating the magnitude of the effect of each experimental model on accuracy. When ‘Z Group’ is the reference group, the β 1 value for that model is set to 0.
  • X i j is a binary variable representing the use of a specific experimental model in the ith trial for the jth participant. Each model (e.g., LSTM, GRU, InceptionTime) is represented by a separate binary variable, which is set to 1 if that model is used and 0 otherwise.
  • u j represents the random effect for the jth participant, modeling the unique impact of each participant.
  • ϵ i j is the error term, representing the unanticipated residuals from the ith trial result for the jth participant.
This relationship indicates the performance degradation observed when utilizing alternative EEG channel combinations, comparing them to the Z group, or comparing other models to our proposed model. The linear mixed model is employed to assess the significance of performance degradation when integrating different EEG combinations or employing alternative machine learning models.
Statistical validation of the accuracy differences between the various sub-channel groups was conducted using a linear mixed model, showing a p-value approximating zero and thus verifying statistical significance. The results are listed in Table 4.
Specifically, compared to various models, such as LSTM, GRU, and InceptionTime, the proposed model has a p-value approaching zero, indicating a significant difference in average accuracy. To examine the impact of attention on the model, a version of the proposed model without the attention layer was also included in the performance comparison group. The results are listed in Table 5. Statistical validation using a linear mixed model demonstrated that the performance of the proposed model is significantly higher on average compared to other models.

5. Discussion

This study presents a novel model that revises the Inception model proposed by Google for drowsiness detection using EEGs. Unlike previous studies that rely on single EEG channels or the entire set of channels, this study has empirically identified six key EEG channels closely associated with drowsiness. The proposed in-depth Inception model introduces a branching structure to effectively capture various temporal features, while the self-attention mechanism enhances prediction accuracy by emphasizing important aspects of multidimensional features at the dense stage. The drowsiness detection system developed using these strategies achieved an accuracy of 79.02%, surpassing the 74.57% obtained using the same dataset in Cui et al. [36]. This result suggests that the Z-group EEG channel configuration is a viable alternative to using all EEG channels or a single channel, offering a balance between accuracy and practicality. Furthermore, the integration of self-attention in the model demonstrates its effectiveness in noise reduction and improving feature extraction.
Despite these promising results, this study has several limitations. First, the complexity of the proposed Inception-based model increases the number of parameters, potentially making the model’s learning process computationally intensive and less interpretable. Second, the dataset used in this study was collected in a simulated environment rather than in actual driving conditions. While the simulated environment was designed to mimic real-world drowsiness scenarios, the neural responses observed in an actual driving setting may differ due to external stimuli and cognitive load variations. Third, the study relies on labeled drowsiness states derived from statistical methods rather than objective physiological markers, which may introduce some degree of label uncertainty. Fourth, this study does not focus on real-time processing, and thus, it does not provide an explicit response time for a drowsiness alert system. This aspect needs to be further explored before practical deployment. Finally, this study focuses on detecting drowsiness using data provided by an institution. The main limitation of this study is that it relies on a single dataset. However, obtaining drowsiness data, especially during driving, is challenging. In future work, we aim to utilize other publicly available datasets and expand our research by inducing drowsiness using a driving simulator, even if it is not during actual driving, to detect drowsy states. At present, we are conducting a study to collect EEG data using BioBrain’s device while driving, although we have not yet obtained data in a drowsy state.
To address these limitations, future research should focus on optimizing the model to reduce its complexity while maintaining high accuracy, improving computational efficiency, and enhancing interpretability. Additionally, further validation is required using real driving data to assess the model’s applicability in practical scenarios. Integrating EEG data with other physiological and behavioral sensors, such as eye tracking and heart rate monitoring, may also improve drowsiness detection performance. Moreover, real-time drowsiness detection remains an open challenge, as this study focuses on feature extraction and classification rather than real-time signal processing. Future research should explore strategies to optimize computational efficiency and minimize processing delays, enabling real-time EEG-based alert systems. Another critical factor is the feasibility of wearable EEG headsets for long-term use in driving environments, where sensor ergonomics, data transmission, and real-time processing constraints need to be carefully considered. Addressing these challenges will help bridge the gap between theoretical research and practical application, making EEG-based drowsiness detection systems more viable for real-world deployment.
In future research, we aim to improve accuracy by collecting larger datasets. Additionally, we plan to develop a multimodal artificial intelligence model by integrating wearable data and physiological signals that can be extracted from wearable devices, such as oxygen saturation, heart rate, and skin conductance, to further enhance accuracy.

6. Conclusions

In this study, we proposed an in-depth Inception–attention model designed for EEG-based drowsiness detection. The model combines a branching structure with a self-attention mechanism, enhancing the process of extracting relevant features from EEG signals. Our approach empirically identified a six-channel EEG configuration (Z-group) that balances detection performance and practicality, demonstrating improved accuracy compared to single-channel approaches while reducing the computational burden associated with full-channel configurations.
Experimental results confirm that our approach achieves a detection accuracy of 79.02%, outperforming existing models evaluated on the same dataset. These findings highlight the effectiveness of the proposed methodology in EEG-based drowsiness detection. While this study presents a promising framework, further work is required to translate this approach into real-world applications. Key future directions include evaluating the model on real driving datasets, integrating EEG signals with multimodal sensor data, and optimizing the system for real-time implementation.
Previous studies have shown high performance using facial data, particularly images of the eye region, and by incorporating additional data such as ECG alongside EEG. However, these studies often involve a small number of participants, making it challenging to generalize the results. In this study, we collected data from more than 20 participants and used only EEG signals, focusing on a subset of EEG channels while achieving comparable performance. This approach allows for a more lightweight model that can be integrated into vehicles, which is a key contribution to our research. By refining EEG-based drowsiness detection models, we aim to contribute to the advancement of driver safety technologies, facilitating the development of more effective and practical driver monitoring systems.

Author Contributions

Conceptualization, M.L. and M.C.; methodology, M.L. and M.C.; software, M.L. and M.C.; validation, M.L. and M.C.; formal analysis, M.L. and M.C.; investigation, M.L. and M.C.; resources, M.L. and M.C.; data curation, M.L. and M.C.; writing—original draft preparation, M.L. and M.C.; writing—review and editing, J.W., M.L. and M.C.; visualization, M.L. and M.C.; supervision, J.W.; project administration, J.W.; funding acquisition, J.W. All authors have read and agreed to the published version of the manuscript.

Funding

This research was supported by “Regional Innovation Strategy (RIS)” through the National Research Foundation of Korea (NRF) by the Ministry of Education (MOE) (2021RIS-004),also the National Research Foundation of Kore funded by the Ministry of Education (NRF-2020R1I1A3056858) and Soonchunhyang University Research Fund.

Data Availability Statement

The EEG data used in this study were obtained and made publicly available by Cao et al. [40]. The dataset are accessible https://www.nature.com/articles/s41597-019-0027-4 (accessed on 1 March 2024).

Conflicts of Interest

The authors declare no conflicts of interest.

References

  1. National Highway Traffic Safety Administration. 2018 Fatal Motor Vehicle Crashes: Overview. Traffic Safety Facts Research Note DOT HS 812 826, National Highway Traffic Safety Administration, 2019; Report No. DOT HS 812 826; National Highway Traffic Safety Administration: Washington, DC, USA, 2019. [Google Scholar]
  2. Lawoyin, S.; Fei, D.Y.; Bai, O. Accelerometer-based steering-wheel movement monitoring for drowsy-driving detection. Proc. Inst. Mech. Eng. Part D J. Automob. Eng. 2015, 229, 163–173. [Google Scholar] [CrossRef]
  3. Grace, R.; Byrne, V.E.; Bierman, D.M.; Legrand, J.M.; Gricourt, D.; Davis, B.; Staszewski, J.J.; Carnahan, B. A drowsy driver detection system for heavy vehicles. In Proceedings of the 17th DASC. AIAA/IEEE/SAE. Digital Avionics Systems Conference. Proceedings (Cat. No. 98CH36267), Belleview, WA, USA, 31 October–7 November 1998; IEEE: New York, NY, USA, 1998; Volume 2, pp. I36/1–I36/8. [Google Scholar]
  4. Henni, K.; Mezghani, N.; Gouin-Vallerand, C.; Ruer, P.; Ouakrim, Y.; Vallières, É. Feature selection for driving fatigue characterization and detection using visual-and signal-based sensors. In Applied Informatics; Springer: Berlin/Heidelberg, Germany, 2018; Volume 5, pp. 1–15. [Google Scholar]
  5. Ahmad, R.; Borole, J. Drowsy driver identification using eye blink detection. IJISET-Int. J. Comput. Sci. Inf. Technol. 2015, 6, 270–274. [Google Scholar]
  6. Ma’touq, J.; Al-Nabulsi, J.; Al-Kazwini, A.; Baniyassien, A.; Al-Haj Issa, G.; Mohammad, H. Eye blinking-based method for detecting driver drowsiness. J. Med. Eng. Technol. 2014, 38, 416–419. [Google Scholar] [CrossRef]
  7. Salzillo, G.; Natale, C.; Fioccola, G.B.; Landolfi, E. Evaluation of driver drowsiness based on real-time face analysis. In Proceedings of the 2020 IEEE International Conference on Systems, Man, and Cybernetics (SMC), Toronto, ON, Canada, 11–14 October 2020; IEEE: New York, NY, USA, 2020; pp. 328–335. [Google Scholar]
  8. Moujahid, A.; Dornaika, F.; Arganda-Carreras, I.; Reta, J. Efficient and compact face descriptor for driver drowsiness detection. Expert Syst. Appl. 2021, 168, 114334. [Google Scholar] [CrossRef]
  9. Gao, Z.; Wang, X.; Yang, Y.; Mu, C.; Cai, Q.; Dang, W.; Zuo, S. EEG-based spatio–temporal convolutional neural network for driver fatigue evaluation. IEEE Trans. Neural Netw. Learn. Syst. 2019, 30, 2755–2763. [Google Scholar] [CrossRef]
  10. Chen, J.; Wang, H.; Hua, C. Assessment of driver drowsiness using electroencephalogram signals based on multiple functional brain networks. Int. J. Psychophysiol. 2018, 133, 120–130. [Google Scholar] [CrossRef] [PubMed]
  11. Arefnezhad, S.; Hamet, J.; Eichberger, A.; Frühwirth, M.; Ischebeck, A.; Koglbauer, I.V.; Moser, M.; Yousefi, A. Driver drowsiness estimation using EEG signals with a dynamical encoder–decoder modeling framework. Sci. Rep. 2022, 12, 2650. [Google Scholar] [CrossRef] [PubMed]
  12. Sivakumar, P.; Selvaraj, J.; Ramaraj, K.; Sahayadhas, A. Analysis of alpha and theta band to detect driver drowsiness using electroencephalogram (EEG) signals. Int. Arab J. Inf. Technol. 2021, 18, 578–584. [Google Scholar] [CrossRef]
  13. Li, Y.; Zhang, S.; Zhu, G.; Huang, Z.; Wang, R.; Duan, X.; Wang, Z. A CNN-based wearable system for driver drowsiness detection. Sensors 2023, 23, 3475. [Google Scholar] [CrossRef]
  14. Teyfouri, N.; Shirvani, H.; Shamsoddini, A. Designing a glass mounted warning system to prevent drivers to fall in sleep based on neck posture and blinking duration. J. Med. Signals Sensors 2021, 11, 217. [Google Scholar] [CrossRef]
  15. McDonald, A.D.; Schwarz, C.; Lee, J.D.; Brown, T.L. Real-time detection of drowsiness related lane departures using steering wheel angle. In Proceedings of the Human Factors and Ergonomics Society Annual Meeting; Sage Publications: Los Angeles, CA, USA, 2012; Volume 56, pp. 2201–2205. [Google Scholar]
  16. Knapik, M.; Cyganek, B. Driver’s fatigue recognition based on yawn detection in thermal images. Neurocomputing 2019, 338, 274–292. [Google Scholar] [CrossRef]
  17. Wijnands, J.S.; Thompson, J.; Nice, K.A.; Aschwanden, G.D.; Stevenson, M. Real-time monitoring of driver drowsiness on mobile platforms using 3D neural networks. Neural Comput. Appl. 2020, 32, 9731–9743. [Google Scholar] [CrossRef]
  18. Chai, M.; Li, S.-W.; Sun, W.-C.; Guo, M.-Z.; Huang, M.-Y. Drowsiness monitoring based on steering wheel status. Transp. Res. Part D Transp. Environ. 2019, 66, 95–103. [Google Scholar] [CrossRef]
  19. Maior, C.B.S.; das Chagas Moura, M.J.; Santana, J.M.M.; Lins, I.D. Real-time classification for autonomous drowsiness detection using eye aspect ratio. Expert Syst. Appl. 2020, 158, 113505. [Google Scholar] [CrossRef]
  20. Ed-Doughmi, Y.; Idrissi, N.; Hbali, Y. Real-time system for driver fatigue detection based on a recurrent neuronal network. J. Imaging 2020, 6, 8. [Google Scholar] [CrossRef] [PubMed]
  21. Rahman, A.; Hriday, M.B.H.; Khan, R. Computer vision-based approach to detect fatigue driving and face mask for edge computing device. Heliyon 2022, 8, e11204. [Google Scholar] [CrossRef]
  22. Wang, X.; Chen, L.; Zhang, Y.; Shi, H.; Wang, G.; Wang, Q.; Han, J.; Zhong, F. A real-time driver fatigue identification method based on GA-GRNN. Front. Public Health 2022, 10, 991350. [Google Scholar] [CrossRef]
  23. Florez, R.; Palomino-Quispe, F.; Coaquira-Castillo, R.J.; Herrera-Levano, J.C.; Paixão, T.; Alvarez, A.B. A cnn-based approach for driver drowsiness detection by real-time eye state identification. Appl. Sci. 2023, 13, 7849. [Google Scholar] [CrossRef]
  24. Awais, M.; Badruddin, N.; Drieberg, M. Driver drowsiness detection using EEG power spectrum analysis. In Proceedings of the 2014 IEEE Region 10 Symposium, Kuala Lumpur, Malaysia, 14–16 April 2014; IEEE: New York, NY, USA, 2014; pp. 244–247. [Google Scholar]
  25. Awais, M.; Badruddin, N.; Drieberg, M. A hybrid approach to detect driver drowsiness utilizing physiological signals to improve system performance and wearability. Sensors 2017, 17, 1991. [Google Scholar] [CrossRef]
  26. Yaacob, S.; Affandi, N.A.I.; Krishnan, P.; Rasyadan, A.; Yaakop, M.; Mohamed, F. Drowsiness detection using EEG and ECG signals. In Proceedings of the 2020 IEEE 2nd International Conference on Artificial Intelligence in Engineering and Technology (IICAIET), Kota Kinabalu, Malaysia, 26–27 September 2020; IEEE: New York, NY, USA, 2020; pp. 1–5. [Google Scholar]
  27. Chaabene, S.; Bouaziz, B.; Boudaya, A.; Hökelmann, A.; Ammar, A.; Chaari, L. Convolutional neural network for drowsiness detection using EEG signals. Sensors 2021, 21, 1734. [Google Scholar] [CrossRef]
  28. Shi, M.; Yang, C.; Zhang, D. A smart detection method of sleep quality using EEG signal and long short-term memory model. Math. Probl. Eng. 2021, 2021, 1–8. [Google Scholar] [CrossRef]
  29. Li, G.; Chung, W.Y. Estimation of eye closure degree using EEG sensors and its application in driver drowsiness detection. Sensors 2014, 14, 17491–17515. [Google Scholar] [CrossRef] [PubMed]
  30. Lee, B.G.; Lee, B.L.; Chung, W.Y. Mobile healthcare for automatic driving sleep-onset detection using wavelet-based EEG and respiration signals. Sensors 2014, 14, 17915–17936. [Google Scholar] [CrossRef] [PubMed]
  31. Li, G.; Lee, B.L.; Chung, W.Y. Smartwatch-based wearable EEG system for driver drowsiness detection. IEEE Sens. J. 2015, 15, 7169–7180. [Google Scholar] [CrossRef]
  32. Choi, H.S.; Min, S.; Kim, S.; Bae, H.; Yoon, J.E.; Hwang, I.; Oh, D.; Yun, C.H.; Yoon, S. Learning-based instantaneous drowsiness detection using wired and wireless electroencephalography. IEEE Access 2019, 7, 146390–146402. [Google Scholar] [CrossRef]
  33. Budak, U.; Bajaj, V.; Akbulut, Y.; Atila, O.; Sengur, A. An effective hybrid model for EEG-based drowsiness detection. IEEE Sensors J. 2019, 19, 7624–7631. [Google Scholar] [CrossRef]
  34. Khare, S.K.; Bajaj, V. Entropy-based drowsiness detection using adaptive variational mode decomposition. IEEE Sensors J. 2020, 21, 6421–6428. [Google Scholar] [CrossRef]
  35. Chinara, S. Automatic classification methods for detecting drowsiness using wavelet packet transform extracted time-domain features from single-channel EEG signal. J. Neurosci. Methods 2021, 347, 108927. [Google Scholar]
  36. Cui, J.; Lan, Z.; Zheng, T.; Liu, Y.; Sourina, O.; Wang, L.; Muller-Wittig, W. Subject-independent drowsiness recognition from single-channel EEG with an interpretable CNN-LSTM model. In Proceedings of the 2021 International Conference on Cyberworlds (CW), Kanazawa, Japan, 28–30 September 2021; IEEE: New York, NY, USA, 2021; pp. 201–208. [Google Scholar]
  37. Arif, S.; Munawar, S.; Ali, H. Driving drowsiness detection using spectral signatures of EEG-based neurophysiology. Front. Physiol. 2023, 14, 1153268. [Google Scholar] [CrossRef]
  38. Puspasari, M.A.; Syaifullah, D.H.; Iqbal, B.M.; Afranovka, V.A.; Madani, S.T.; Susetyo, A.K.; Arista, S.A. Prediction of drowsiness using EEG signals in young Indonesian drivers. Heliyon 2023, 9, e19499. [Google Scholar] [CrossRef]
  39. Szegedy, C.; Liu, W.; Jia, Y.; Sermanet, P.; Reed, S.; Anguelov, D.; Erhan, D.; Vanhoucke, V.; Rabinovich, A. Going deeper with convolutions. In Proceedings of the IEEE Conference on Computer Vision and Pattern Recognition, Boston, MA, USA, 7–12 June 2015; pp. 1–9. [Google Scholar]
  40. Cao, Z.; Chuang, C.H.; King, J.K.; Lin, C.T. Multi-channel EEG recordings during a sustained-attention driving task. Sci. Data 2019, 6, 19. [Google Scholar] [CrossRef] [PubMed]
  41. Cao, Z. EEG Driver Drowsiness Dataset 2019. Available online: https://figshare.com/articles/dataset/Multi-channel_EEG_recordings_during_a_sustained-attention_driving_task_preprocessed_dataset_/7666055 (accessed on 1 March 2024).
  42. Cui, J.; Lan, Z.; Liu, Y.; Li, R.; Li, F.; Sourina, O.; Müller-Wittig, W. A compact and interpretable convolutional neural network for cross-subject driver drowsiness detection from single-channel EEG. Methods 2022, 202, 173–184. [Google Scholar] [CrossRef] [PubMed]
  43. Pal, N.R.; Chuang, C.Y.; Ko, L.W.; Chao, C.F.; Jung, T.P.; Liang, S.F.; Lin, C.T. EEG-based subject-and session-independent drowsiness detection: An unsupervised approach. EURASIP J. Adv. Signal Process. 2008, 2008, 1–11. [Google Scholar] [CrossRef]
  44. Wei, C.S.; Wang, Y.T.; Lin, C.T.; Jung, T.P. Toward drowsiness detection using non-hair-bearing EEG-based brain-computer interfaces. IEEE Trans. Neural Syst. Rehabil. Eng. 2018, 26, 400–406. [Google Scholar] [CrossRef]
  45. Cui, J. EEG Driver Drowsiness Dataset 2021. Available online: https://figshare.com/articles/dataset/EEG_driver_drowsiness_dataset/14273687?file=30707285 (accessed on 1 March 2024).
  46. Peter-Derex, L.; Micoulaud-Franchi, J.A.; Lopez, R.; Barateau, L. Evaluation of hypersomnolence: From symptoms to diagnosis, a multidimensional approach. Rev. Neurol. 2023, 179, 715–726. [Google Scholar] [CrossRef]
  47. Rumelhart, D.E.; Hinton, G.E.; Williams, R.J. Learning representations by back-propagating errors. Nature 1986, 323, 533–536. [Google Scholar] [CrossRef]
  48. Hochreiter, S.; Schmidhuber, J. Long Short-Term Memory. Neural Comput. 1997, 9, 1735–1780. [Google Scholar] [CrossRef]
  49. Cho, K.; Van Merriënboer, B.; Gulcehre, C.; Bahdanau, D.; Bougares, F.; Schwenk, H.; Bengio, Y. Learning phrase representations using RNN encoder-decoder for statistical machine translation. arXiv 2014, arXiv:1406.1078. [Google Scholar]
  50. Ismail Fawaz, H.; Lucas, B.; Forestier, G.; Pelletier, C.; Schmidt, D.F.; Weber, J.; Webb, G.I.; Idoumghar, L.; Muller, P.A.; Petitjean, F. Inceptiontime: Finding alexnet for time series classification. Data Min. Knowl. Discov. 2020, 34, 1936–1962. [Google Scholar] [CrossRef]
  51. Rahimian, E.; Zabihi, S.; Atashzar, S.F.; Asif, A.; Mohammadi, A. Xceptiontime: A novel deep architecture based on depthwise separable convolutions for hand gesture classification. arXiv 2019, arXiv:1911.03803. [Google Scholar]
Figure 1. In-depth Inception model with self-attention.
Figure 1. In-depth Inception model with self-attention.
Electronics 14 01069 g001
Figure 2. Raw sensor data image.
Figure 2. Raw sensor data image.
Electronics 14 01069 g002
Figure 3. Transformed image from sensor data using STFT.
Figure 3. Transformed image from sensor data using STFT.
Electronics 14 01069 g003
Figure 4. Structure of Inception block proposed in GoogLeNet.
Figure 4. Structure of Inception block proposed in GoogLeNet.
Electronics 14 01069 g004
Figure 5. International 10–20 system.
Figure 5. International 10–20 system.
Electronics 14 01069 g005
Table 1. Summary of related work.
Table 1. Summary of related work.
YearAuthorMethodAlgorithmDatasetSubjectsAccuracy
Studies related to drowsiness
2012McDonald et al. [15]Detecting driver’s drowsiness-related lane departure using the random forest algorithm with steering wheel angle data.Random forestSteering wheel angle7279%
2019Knapik and Cyganek [16]Cold and hot thermal voxel sum methodcold and hot voxels detectionThermal images3cold: 71%, hot: 87%
2019Wijnands et al. [17]Using depth-separable 3D CNN for the initial fusion and integration of spatiotemporal information.3D CNNImages2273.90%
2019Chai et al. [18]Selecting four features related to the steering wheel based on their correlation levels for drowsiness detection.Multilevel ordered logitSteering wheel status features1072.92%
2020Maior et al. [19]Calculating the ratio of eye height to width to compute the eye aspect ratio, which is used for drowsiness detection.SVMImages1494.90%
2020Ed-Doughmi et al. [20]Proposing an approach based on RNN to detect drowsiness using images of the driver’s face.RNN-based CNNImages3697%
2021Moujahid et al. [8]Detecting driver drowsiness using a face monitoring system based on a simple facial texture.SVMImages3679.84%
2022Rahman et al. [21]Using computer vision-based technology, sixty-eight facial landmarks are generated on the driver’s face to detect drowsiness based on landmark analysis.CNN, HRVVideos, ECG897.40%
2023Xiaoyuan et al. [22]Detecting driver drowsiness based on driver’s facial recognition and eye blink analysis.GA-GRNNVideos3393%
2023Florez et al. [23]Detecting driver drowsiness based on driver’s facial recognition and eye blink analysis.Inception V3Videos2199.71%
Studies on drowsiness using EEG
2014Awais et al. [24]Performing fast Fourier transform on EEG signals and then calculating power spectral density using the Welch method.WelchEEG9-
2017Awais et al. [25]Combining ECG and EEG features for drowsiness detection.SVMEEG, ECG2280.90%
2020Yaacob et al. [26]Simultaneous measurement of EEG and ECG signals for multi-modal biosignal processing using KNN.KNNEEG, ECG1497.20%
2021Chaabene et al. [27]Collecting data from fourteen EEG channels and using alpha–theta wave patterns in these channels for drowsiness detection.CNNEEG1490.42%
2021Shi et al. [28]Relative energy and nonlinear characteristics are extracted from the separated rhythm waveforms.LSTMEEG486%
Studies on drowsiness driving detection using EEG
2014Li and Chung [29]Predicting the degree of eyelid closure based on the theory that there is a linear relationship between changes in posterior head EEG and the degree of eyelid closure degree during driving.linear support vector regression modeEEG10Male: 87.5%, Female: 70.0%
2014Lee et al. [30]Classification of the EEG signal and breathing signal into four frequency bands using WPT.SVMEEG and respiration signal2098.60%
2015Li et al. [31]The wearable EEG system consisting of a smartwatch to evaluate the model in real time.SVM-based posterior probabilistic modelEEG2091.92%
2019Choi et al. [32]Feature extraction using multi-taper power spectral density.extreme gradient boosting classifierEEG878.51%
2019Budak et al. [33]Drowsiness detection through a three-step signal processing framework.LSTMEEG1694.31%
2020Khare et al. [34]Using adaptive variation mode decomposition (AVMD) to decompose the signal into five entropy-based features.Ensemble boosted treeEEG1697.19%
2021Chinara et al. [35]Using WPT in a single-channel EEG-based drowsiness detection model and extracting features based on a single Hjorth parameter.ETEEG2394.45%
2021Cui et al. [36]Using CNN-LSTM model for subject-independent drowsiness recognition.CNN-LSTMEEG1172.97%
2022Arefnezhad et al. [11]Detecting driver drowsiness using a multimodal approach that calculates PERCLOS (percentage of eye closure) and utilizes EEG sensor data and eye-tracking records.Encoder-DecoderEEG, eye-tracking records11RMSE 0.117
2023Arif et al. [37]Detecting driver drowsiness based on power spectral density analysis.Bagged-treeEEG1285.6%
2023Puspasari et al. [38]Generating metrics based on EEG data for metric-based detection of driver drowsiness.Logistic regression, SVMEEG30Training: 77.1%, Test: 90.2%
Table 2. Performance comparison between sub-channel groups.
Table 2. Performance comparison between sub-channel groups.
SubjectsOzO GroupZ Group
S182.50%84.89%89.00%
S259.45%58.45%67.62%
S365.99%66.32%77.88%
S467.16%66.35%77.19%
S573.39%72.23%83.05%
S682.89%81.93%77.71%
S762.10%67.65%68.95%
S862.21%64.83%78.18%
S989.74%90.50%90.33%
S1086.40%87.03%88.64%
S1175.14%77.16%70.63%
Average73.36%74.30%79.02%
Table 3. Comparison of model performances.
Table 3. Comparison of model performances.
SubjectsMLPRNNLSTMGRUInception TimeXception TimeCNN-LSTMProposed Without AttentionProposed
S184.57%80.85%85.10%86.17%86.70%84.04%80.31%84.04%89.00%
S262.87%65.15%62.87%64.39%68.18%60.60%75.00%62.88%67.62%
S374.66%68.00%69.33%70.66%72.66%69.99%71.33%76.00%77.88%
S467.56%63.51%68.24%58.78%66.21%60.81%74.32%70.95%77.19%
S564.28%69.19%65.17%61.16%63.83%64.28%79.91%80.8%83.05%
S675.30%74.09%77.10%77.10%78.91%75.90%72.89%80.72%77.71%
S762.74%66.66%64.70%69.60%69.60%64.70%66.66%69.61%68.95%
S865.90%65.90%67.80%69.69%66.28%64.39%66.66%78.41%78.18%
S989.49%86.30%89.49%88.85%89.17%92.03%87.57%87.26%90.33%
S1081.48%75.92%77.77%79.62%79.62%79.62%82.40%87.04%88.64%
S1175.22%70.79%76.99%66.37%66.81%65.48%63.27%70.35%70.63%
Average73.10%71.49%73.15%72.04%73.46%71.08%74.57%77.09%79.02%
Table 4. Mixed linear regression results (sub-channel group).
Table 4. Mixed linear regression results (sub-channel group).
Mixed Linear Model Regression Results
ModelMixedLM
Dependent VariableAccuracy
No. Observations165
MethodREML
No. Groups11
Scale9.5468
Coef.Std.Err.zp > | z | [0.025 0.975]
Intercept77.9472.80227.8230.00072.457 83.438
reference = Z Group(T.O Group)−4.3331.021−4.2460.000−6.333 −2.333
reference = Z Group(T.S Group)−5.5661.021−5.4540.000−7.567 −3.566
Table 5. Mixed linear regression results (comparative models).
Table 5. Mixed linear regression results (comparative models).
Mixed Linear Regression Results
ModelMixedLM
Dependent VariableAccuracy
No. Observations385
MethodREML
No. Groups11
Scale0.0011
Coef.Std.Err.zp > | z | [0.025 0.975]
Intercept0.7790.02728.6810.0000.726 0.833
reference = Z Group(T.CNN−LSTM)−0.0260.009−2.7610.006−0.045 −0.008
reference = Z Group(T.GRU)−0.0550.011−5.0110.000−0.076 −0.033
reference = Z Group(T.InceptionTime)−0.0480.011−4.4140.000−0.069 −0.027
reference = Z Group(T.LSTM)−0.0610.011−5.6020.000−0.082 −0.040
reference = Z Group(T.MLP)−0.0570.011−5.2570.000−0.079 −0.036
reference = Z Group(T.RNN)−0.0660.011−6.0560.000−0.087 −0.045
reference = Z Group(T.XceptionTime)−0.0720.011−6.6630.000−0.094 −0.051
Disclaimer/Publisher’s Note: The statements, opinions and data contained in all publications are solely those of the individual author(s) and contributor(s) and not of MDPI and/or the editor(s). MDPI and/or the editor(s) disclaim responsibility for any injury to people or property resulting from any ideas, methods, instructions or products referred to in the content.

Share and Cite

MDPI and ACS Style

Lee, M.; Cha, M.; Woo, J. In-Depth Inception–Attention Time Model: An Application for Driver Drowsiness Detection. Electronics 2025, 14, 1069. https://doi.org/10.3390/electronics14061069

AMA Style

Lee M, Cha M, Woo J. In-Depth Inception–Attention Time Model: An Application for Driver Drowsiness Detection. Electronics. 2025; 14(6):1069. https://doi.org/10.3390/electronics14061069

Chicago/Turabian Style

Lee, Minseop, Minsu Cha, and Jiyoung Woo. 2025. "In-Depth Inception–Attention Time Model: An Application for Driver Drowsiness Detection" Electronics 14, no. 6: 1069. https://doi.org/10.3390/electronics14061069

APA Style

Lee, M., Cha, M., & Woo, J. (2025). In-Depth Inception–Attention Time Model: An Application for Driver Drowsiness Detection. Electronics, 14(6), 1069. https://doi.org/10.3390/electronics14061069

Note that from the first issue of 2016, this journal uses article numbers instead of page numbers. See further details here.

Article Metrics

Back to TopTop