Experimental Investigation of Fire—Technical Characteristics of Selected Flame Retardants for the Protection of Wooden Structures
Abstract
1. Introduction
2. Materials and Methods
2.1. Experimental Samples
2.2. Used Flame Retardants for the Experiment
2.3. Application of Flame Retardants
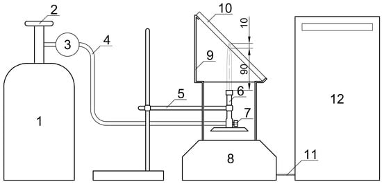
2.4. Test Equipment and the Procedure
2.5. Evaluation and Calculation
3. Results and Discussion
3.1. Results and Evaluation of Mass Loss
3.2. Results and Evaluation of Mass Loss Rate
3.3. Results and Evaluation of Charred Layer
4. Conclusions
- -
- Samples without treatment showed a high variability of the measured total mass loss compared to samples treated with flame retardants. The lowest variability in mass loss was observed for the samples treated with Flamgard (max 0.6% of mass loss).
- -
- Both flame retardants investigated have a significant effect on mass-loss reduction. The mass loss of samples treated with flame retardants was significantly lower for oak wood.
- -
- The retardants tested showed different effects on the testing parameters investigated. The Flamgard retarder was more effective in reducing mass loss and maximum mass loss rate compared to the HR Prof retarder, regardless of wood species. In terms of the mass loss criterion, its efficiency is 46% and 97% higher on spruce and oak samples, respectively, compared to HR Prof treated samples.
- -
- A significant dependence of the mass loss on the flame retardant used and the species of wood was confirmed.
- -
- The HR Prof flame retardant is more effective in reducing charring depth in spruce samples (32% reduction in charring depth), while the Flamgard flame retardant is more effective in oak samples (up to 84% reduction in charring depth compared to untreated samples). In spite of the above, the Flamgard retardant reduces the charring depth more effectively than HR Prof.
Author Contributions
Funding
Institutional Review Board Statement
Informed Consent Statement
Data Availability Statement
Conflicts of Interest
References
- Asif, M. Sustainability of timber, wood and bamboo in construction. In Sustainability of Construction Materials; Woodhead Publishing: Cambridge, UK, 2009; pp. 31–54. [Google Scholar]
- Eurostat. Wood Products—Production and Trade. Available online: https://ec.europa.eu/eurostat/statistics-explained/index.php?title=Wood_products_-_production_and_trade#Wood-based_industries (accessed on 12 June 2023).
- Rowell, R.M.; Rowell, R.M. (Eds.) Handbook of Wood Chemistry and Wood Composites, 1st ed.; CRC Press: Boca Raton, FL, USA, 2005. [Google Scholar] [CrossRef]
- FAO. Production of Lumber in Selected Countries Worldwide in 2022, by Type (in Million Cubic Meters). Chart. 6 September 2023. Available online: https://www.statista.com/statistics/1426555/global-lumber-production-in-selected-countries-by-type/ (accessed on 29 October 2024).
- Mitu, M.; Razus, D.; Boldor, D.; Marculescu, C. Flammability Properties of the Pyrolysis Gas Generated from Willow Wood. Processes 2023, 11, 2103. [Google Scholar] [CrossRef]
- Tureková, I.; Ivanovičová, M.; Harangózo, J.; Gašpercová, S.; Marková, I. Experimental Study of the Influence of Selected Factors on the Particle Board Ignition by Radiant Heat Flux. Polymers 2022, 14, 1648. [Google Scholar] [CrossRef]
- Östman, B. Chapter 3—Flammability of wood products. In Flammability Testing of Materials Used in Construction, Transport and Mining, 2nd ed.; Vivek Apte: New Delhi, India, 2021; pp. 61–87. [Google Scholar]
- Kadlicová, P.; Gašpercová, S.; Makovicka Osvaldova, L. Monitoring of Weight Loss of Fibreboard during Influence of Flame. Procedia Eng. 2017, 192, 393–398. [Google Scholar] [CrossRef]
- Gašpercová, S.; Makovická Osvaldová, L. Fire Protection in Various Types of Wooden Structures. Civ. Environ. Eng. 2015, 11, 51–57. [Google Scholar] [CrossRef]
- Tureková, I.; Turnova, Z.; Balog, K.; Pastier, M. Study of thermal degradation of polymers. Adv. Mater. Res. 2013, 652–654, 1664–1667. [Google Scholar] [CrossRef]
- Jiang, J.; Li, J.; Hu, J.; Fan, D. Effect of nitrogen phosphorus fláme retardants on thermal degradation of wood. Constr. Build. Mater. 2010, 24, 2633–2637. [Google Scholar] [CrossRef]
- Purser, D.A.; Woolley, W.D. Biological studies of combustion atmospheres. J. Fire Sci. 1993, 1, 118–144. [Google Scholar] [CrossRef]
- Gani, A.; Naruse, I. Effect of cellulose and lignin content on pyrolysis and combustion characteristics for several types of biomass. Renew. Energy 2007, 32, 649–661. [Google Scholar] [CrossRef]
- Karlsson, B.; Quintiere, J. Enclosure Fire Dynamics; CRC Press: Boca Raton, FL, USA, 1999. [Google Scholar]
- Lowden, L.A.; Hull, T.R. Flammability behaviour of wood and a review of the methods for its reduction. Fire Sci. Rev. 2013, 2, 4. [Google Scholar] [CrossRef]
- Mensah, R.A.; Jiang, L.; Renner, J.S.; Xu, Q. Characterisation of the fire behaviour of wood: From pyrolysis to fire retardant mechanisms. J. Therm. Anal. Calorim. 2023, 148, 1407–1422. [Google Scholar] [CrossRef]
- Sharma, N.K.; Verma, C.; Chariar, V.M.; Prasad, R. Eco-friendly flame-retardant treatments for cellulosic green building materials. Indoor Built Environ. 2015, 24, 422–432. [Google Scholar] [CrossRef]
- Cal Cai, N.; Chow, W.K. Numerical studies on fire hazards of elevator evacuation in supertall buildings. Indoor Built Environ. 2019, 28, 247–263. [Google Scholar] [CrossRef]
- Cheng, H.; Hadjisophocleous, G.V. Experimental study and modeling of radiation from compartment fires to adjacent buildings. Fire Saf. J. 2012, 53, 43–62. [Google Scholar] [CrossRef]
- Kmeťová, E.; Kačíková, D.; Jurczyková, T.; Kačík, F. The Influence of Different Types of Expandable Graphite on the Thermal Resistance of Spruce Wood. Coatings 2023, 13, 1181. [Google Scholar] [CrossRef]
- Kmeťová, E.; Kačíková, D.; Kačík, F. The Effect of Intumescent Coating Containing Expandable Graphite onto Spruce Wood. Coatings 2024, 14, 490. [Google Scholar] [CrossRef]
- Jurczyková, T.; Kmeťová, E.; Kačík, F.; Lexa, M.; Ťoupal, J. An Innovative Wood Fire-Retardant Coating Based on Biocompatible Nanocellulose Surfactant and Expandable Graphite. Coatings 2024, 14, 1036. [Google Scholar] [CrossRef]
- Bandara, S.; Rajeev, P.; Gad, E. Power Distribution System Faults and Wildfires: Mechanisms and Prevention. Forests 2023, 14, 1146. [Google Scholar] [CrossRef]
- Yan, Y.; Dong, S.; Jiang, H.; Hou, B.; Wang, Z.; Jin, C. Efficient and Durable Flame-Retardant Coatings on Wood Fabricated by Chitosan, Graphene Oxide, and Ammonium Polyphosphate Ternary Complexes via a Layer-by-Layer Self-Assembly Approach. ACS Omega 2022, 7, 29369–29379. [Google Scholar] [CrossRef]
- Pielichowska, K.; Paprota, N.; Pielichowski, K. Fire Retardant Phase Change Materials—Recent Developments and Future Perspectives. Materials 2023, 16, 4391. [Google Scholar] [CrossRef]
- Prieš, M.; Mai, C. Tire resistance of wood treated with a cationic silica sol. Eur. J. Wood Wood Prod. 2013, 71, 237–244. [Google Scholar] [CrossRef]
- Laranjeira, J.P.S.; Cruz, H.; Pinto, A.P.F.; Santos, C.P.; Pereira, J.F. Reaction to fire of existing elements protected with fire retardant treatments: Experimental assessment. Int. J. Archit. Herit. 2015, 9, 866–882. [Google Scholar] [CrossRef]
- Lin, C.; Karlsson, O.; Martinka, J.; Rantuch, P.; Garskaite, E.; Mantanis, G.I.; Jones, D.; Sandberg, D. Approaching Highly Leaching-Resistant Fire-Retardant Wood by In Situ Polymerization with Melamine Formaldehyde Resin. ACS Omega 2021, 6, 12733–12745. [Google Scholar] [CrossRef] [PubMed]
- Östman, B.; Tsantaridis, L. Durability of the reaction to fire performance for fire retardant treated (FRT) wood products in exterior applications—A ten years report. In Proceedings of the MATED Web of Conferences–2nd International Seminar for Fire Safety of Facades, Lund, Sweden, 11—13 May 2016. [Google Scholar] [CrossRef]
- Commission Delegated Regulation (EU) 2017/1227 of 20 March 2017 on the conditions for classification, without testing, of glued laminated timber products covered by the harmonised standard EN 14080 and structural finger jointed solid timber products covered by the harmonised standard EN 15497 with regard to their reaction to fire and amending Decision 2005/610/EC. European Commission: Brussels, Belgium. Available online: https://eur-lex.europa.eu/eli/reg_del/2017/1227/oj/eng (accessed on 4 October 2024).
- EN 13501-1; Fire Classification of Construction Products and Building Elements—Part 1: Classification Using Data from Reaction to Fire Tests. CEN: Brussels, Belgium, 2002.
- STN 73 0862; Determination of Flammability Degree of Building Materials. Federal Office for Standardization and Measurement: Prague, Czechoslovakia, 1980.
- Čekovská, H.; Gaff, M.; Osvald, A.; Kačík, F.; Kubš, J.; Kaplan, L. Fire resistance of thermally modified spruce wood. BioResources 2017, 12, 947–959. [Google Scholar] [CrossRef]
- Turekova, I.; Markova, I. Ignition of Deposited Wood Dust Layer by Selected Sources. Appl. Sci. 2020, 10, 5779. [Google Scholar] [CrossRef]
- Osvaldova, L.M.; Gaspercova, S.; Mitrenga, P.; Osvald, A. The influence of density of test specimens on the quality assessment of retarding effects of fire retardants. Wood Res. 2016, 61, 35–42. [Google Scholar]
- Osvald, A.; Makovicka Osvaldova, L. New methods in the evaluation of flammability properties. In Production Management and Engineering Sciences–Scientific Publication of the International Conference on Engineering Science and Production Management, ESPM, 2015; CRC Press/Balkema Book: London, UK, 2015; Volume 2015, pp. 503–508. [Google Scholar] [CrossRef]
- EN 1995-1-2:2004; Eurocode 5: Design of timber structures—Part 1-2: General–Structural Fire Design. European Committee for Standardization (CEN): Brussels, Belgium, 2004.
- Špilák, D.; Majlingová, A. Progressive Methods in Studying the Charred Layer Parameters Change in Relation to Wood Moisture Content. Polymers 2022, 14, 4997. [Google Scholar] [CrossRef]
- Harper, C.A. Handbook of Building Materials for Fire Protection (e-Book); McGraw-Hill: New York, NY, USA, 2004; p. 562. [Google Scholar]
- Paulďuro, M.; Kačíková, D. Vplyv charakteristík vybraných druhov drevín na úbytok hmotnosti v podmienkach simulujúcich požiar/Effect of characteristics of selected tree species on mass loss under fire simulating conditions. Delta 2014, 8, 24–27. (In Slovak) [Google Scholar]
- Leško, R.; Lopušniak, M. Fire resistance of timber elements and structures in multy-storey building determinated by EUROCODE 5. Acta Fac. Xylologiae Zvolen 2015, 57, 135–144. (In Slovak) [Google Scholar]
- Kačíková, D.; Makovická-Osvaldová, L. Wood burning rate of various tree parts from selected softwoods. Acta Fac. Xylologiae 2009, 51, 27–32. [Google Scholar]
- CEN Standard EN 323:1993; Wood-Based Panels—Determination of Density. European Committe for Standartion: Brussels, Belgium, 1993.
- Ramage, M.H.; Burridge, H.; Busse-Wicher, M.; Fereday, G.; Reynolds, T.; Shaha, D.U.; Wu, G.; Yu, L.; Fleming, P.; Densley-Tingley, D.; et al. The wood from the trees: The use of timber in construction. Renew. Sustain. Energy Rev. 2017, 68, 333–359. [Google Scholar] [CrossRef]
- Gejdoš, P. Analysis of performance improvement of wood processing companies in slovakia and the czech republic through the implementation of quality management systems. Acta Fac. Xylologiae 2016, 58, 113–124. [Google Scholar]
- COLOR COMPANY s.r.o. HR Prof. Safety Data Sheet. Available online: https://colorcompany.sk/public/manager/source/DOKUMENTY/kbu-hr-prof.pdf (accessed on 4 October 2024).
- COLOR COMPANY s.r.o. HR-Prof. Technical Data Sheet. Available online: https://www.colorcompany.sk/public/manager/source/DOKUMENTY/60-108-tr-hrprof.pdf (accessed on 4 October 2024).
- STACHEMA; Flamgard. Technical Data Sheet. 2019. Available online: https://www.stachema.sk/files/files/TL-Flamgard-15.5.2019.pdf (accessed on 4 October 2024).
- Termath, A. 1.7 Flame retardants. In Volume 1 From Construction Materials to Technical Gases; Pöttgen, R., Jüstel, T., Strassert, C., Eds.; De Gruyter: Berlin, Germany; Boston, UK, 2023; pp. 96–112. [Google Scholar] [CrossRef]
- Jianjun, L.; Yuxiang, O. 4. Flame retardation mechanism of intumescent flame retardant. In Theory of Flame Retardation of Polymeric Materials; De Gruyter: Berlin, Germany; Boston, UK, 2019; pp. 95–130. [Google Scholar] [CrossRef]
- Kačíková, D.; Balog, K.; Tureková, I.; Mitterová, I. Materials in Fire Protection; university textbook; Technická Univerzita vo Zvolene: Zvolen, Slovakia, 2011; 367p, ISBN 978-80-228-2317-3. [Google Scholar]
- Piperopoulos, E.; Grifò, G.; Scionti, G.; Atria, M.; Calabrese, L.; Consolo, G.; Proverbio, E. Study of Intumescent Coatings Growth for Fire Retardant Systems in Naval Applications: Experimental Test and Mathematical Model. Coatings 2022, 12, 1180. [Google Scholar] [CrossRef]
- Mitrenga, P.; Osvaldová, L.M.; Konárik, M. Effect of Spruce Wood Density on Selected Fire-Technical Parameters during Thermal Loading. Appl. Sci. 2024, 14, 170. [Google Scholar] [CrossRef]
- Marková, I.; Tureková, I. Teória Horenia a Analýza Spalín; University of Žilina: Žilina, Slovakia, 2023; 219p, ISBN 978-80-554-1930-5. [Google Scholar]
- Gašpercová, S.; Marková, I.; Vandlíčková, M.; Osvaldová, L.M.; Svetlík, J. Effect of Protective Coatings on Wooden Elements Exposed to a Small Ignition Initiator. Appl. Sci. 2023, 13, 3371. [Google Scholar] [CrossRef]
- Špilák, D.; Tereňová, Ľ.; Dúbravská, K.; Majlingová, A. Analysis of Carbonized Layer of Wood Beams with Different Geometric CrossSection Shape. Fire Prot. Saf. Sci. J. 2018, 12, 65–81. [Google Scholar] [CrossRef]
- Kučera, P.; Lokaj, A.; Kačíková, D. Assessment of reliability of timber structures elements exposed large-scale fire test. Acta Fac. Xylologiae Zvolen 2012, 54, 95–104. [Google Scholar]
- Buchanan, A.H. Structural Design for Fire Safety; John Wiley & Sons, Ltd.: Chichester, UK, 2001. [Google Scholar]
- Gašparík, M.; Makovická Osvaldová, L.; Čekovská, H.; Potůček, D. Flammability characteristics of thermally modified oak wood treated with a fire retardant. BioResources 2017, 12, 8451–8467. [Google Scholar] [CrossRef]
- Čabalová, I.; Zachar, M.; Bélik, M.; Majerská, K. Assessment of the Flamgard Retardant Efficciency During the Thermal Loading of Spruce Wood. Acta Fac. Xylologiae Zvolen 2020, 62, 75–87. [Google Scholar] [CrossRef]
- Kmeťová, E.; Mitterová, I.; Kačíková, D. Assessment of Flame Spread on Retardant–Treated Wood. Delta 2021, 15, 16–22. [Google Scholar]
- ISO 11925-2:2020; Reaction to Fire Tests—Ignitability of Products Subjected to Direct Impingement of Flame—Part 2: Single-Flame Source Test. ISO: Geneva, Switzerland, 2020.
- Zhan, W.; Li, L.; Chen, L.; Kong, Q.; Chen, M.; Chen, C.; Zhang, Q.; Jiang, J. Biomaterials in Intumescent Fire-Retardant Coatings: A Review. Prog. Org. Coat. 2024, 192, 108483. [Google Scholar] [CrossRef]
- Kolya, H.; Kang, C.-W. Eco-Friendly Polymer Nanocomposite Coatings for Next-Generation Fire Retardants for Building Materials. Polymers 2024, 16, 2045. [Google Scholar] [CrossRef] [PubMed]
- Wen, O.Y.; Tohir, M.Z.M.; Yeaw, T.C.S.; Razak, M.A.; Zainuddin, H.S.; Hamid, M.R.A. Fire-Resistant and Flame-Retardant Surface Finishing of Polymers and Textiles: A State-of-the-Art Review. Prog. Org. Coat. 2023, 175, 107330. [Google Scholar] [CrossRef]
- Song, F.; Liu, T.; Fan, Q.; Li, D.; Ou, R.; Liu, Z.; Wang, Q. Sustainable, High-Performance, Flame-Retardant Waterborne Wood Coatings via Phytic Acid Based Green Curing Agent for Melamine-Urea-Formaldehyde Resin. Prog. Org. Coat. 2022, 162, 106597. [Google Scholar] [CrossRef]
- Xu, Z.; Zhou, H.; Yan, L.; Jia, H. Comparative Study of the Fire Protection Performance and Thermal Stability of Intumescent Fire-Retardant Coatings Filled with Three Types of Clay Nano-Fillers. Fire Mater. 2020, 44, 112–120. [Google Scholar] [CrossRef]









| Designation of Sample Groups | Wood | Flame Retardant | Amount of Coating [g·m−2] | Density of Wood Samples [kg·m−3] | Moisture Content of Wood Samples [%] |
|---|---|---|---|---|---|
| SH | spruce | HR Prof | 502.58 ± 2.28 | 398.76 ± 45.16 | <6 |
| SF | spruce | Flamgard | 506.89 ± 10.02 | 344.17 ± 12.00 | <6 |
| S | spruce | Untreated | - | 422.63 ± 20.07 | <6 |
| OH | oak | HR Prof | 500.90 ± 2.47 | 729.59 ± 44.19 | <6 |
| OF | oak | Flamgard | 503.93 ± 5.87 | 697.56 ± 71.59 | <6 |
| O | oak | Untreated | - | 654.39 ± 58.08 | <6 |
| Flame Retardant | Appearance | Boiling Point [°C] | Solubilities | Density [g·cm−3] | pH | Reaction to Fire Class | Required Amount of Coating [g·m−2] |
|---|---|---|---|---|---|---|---|
| HR Prof | light brown translucent liquid | 170 | 100% water soluble | 1.1 ± 0.05 | 2.5 | B-s1, d0 | min 300 |
| Flamgard | gray–white suspension | unspecified | 100% water soluble | 1.15 ± 0.06 | 4–6 | B-s1, d0 | min 500 |
| Samples | Total Mass Loss (δ) [%] | Max Mass Loss Rate (vr max) [%·s−1] | Fire Spread Rate (Rfs) [%·s−2] | Depth of Charred Layer [mm] |
|---|---|---|---|---|
| SH | 7.82 ± 0.54 | 0.0324 ± 0.0045 | 0.00050 ± 0.00015 | 7.41 ± 0.71 |
| SF | 3.40 ± 0.21 | 0.0234 ± 0.0075 | 0.00037 ± 0.00010 | 4.37 ± 0.81 |
| S | 17.27 ± 3.15 | 0.0731 ± 0.0233 | 0.00130 ± 0.00017 | 11.00 ± 2.96 |
| OH | 6.48 ± 0.43 | 0.0262 ± 0.0076 | 0.00028 ± 0.00004 | 5.82 ± 0.77 |
| OF | 1.33 ± 0.10 | 0.0080 ± 0.0002 | 0.00007 ± 0.00005 | 1.19 ± 0.31 |
| O | 11.75 ± 2.69 | 0.0520 ± 0.0126 | 0.00067 ± 0.00013 | 7.61 ± 1.07 |
| Df | Sum Sq | Mean Sq | F Value | Pr (>F) | Influence | |
|---|---|---|---|---|---|---|
| Flame retardant | 1 | 114.29 | 114.29 | 858.718 | 2.48 × 10−15 | Strong |
| Wood | 1 | 14.56 | 14.56 | 109.397 | 1.47 × 10−8 | Strong |
| Flame retardant: Wood | 1 | 0.67 | 0.67 | 4.999 | 0.04 | Low |
| Residuals | 16 | 2.13 | 0.13 |
Disclaimer/Publisher’s Note: The statements, opinions and data contained in all publications are solely those of the individual author(s) and contributor(s) and not of MDPI and/or the editor(s). MDPI and/or the editor(s) disclaim responsibility for any injury to people or property resulting from any ideas, methods, instructions or products referred to in the content. |
© 2025 by the authors. Licensee MDPI, Basel, Switzerland. This article is an open access article distributed under the terms and conditions of the Creative Commons Attribution (CC BY) license (https://creativecommons.org/licenses/by/4.0/).
Share and Cite
Mitrenga, P.; Vandlíčková, M.; Konárik, M. Experimental Investigation of Fire—Technical Characteristics of Selected Flame Retardants for the Protection of Wooden Structures. Coatings 2025, 15, 193. https://doi.org/10.3390/coatings15020193
Mitrenga P, Vandlíčková M, Konárik M. Experimental Investigation of Fire—Technical Characteristics of Selected Flame Retardants for the Protection of Wooden Structures. Coatings. 2025; 15(2):193. https://doi.org/10.3390/coatings15020193
Chicago/Turabian StyleMitrenga, Patrik, Miroslava Vandlíčková, and Milan Konárik. 2025. "Experimental Investigation of Fire—Technical Characteristics of Selected Flame Retardants for the Protection of Wooden Structures" Coatings 15, no. 2: 193. https://doi.org/10.3390/coatings15020193
APA StyleMitrenga, P., Vandlíčková, M., & Konárik, M. (2025). Experimental Investigation of Fire—Technical Characteristics of Selected Flame Retardants for the Protection of Wooden Structures. Coatings, 15(2), 193. https://doi.org/10.3390/coatings15020193

