An Efficient Robust Multiple Watermarking Algorithm for Vector Geographic Data
Abstract
1. Introduction
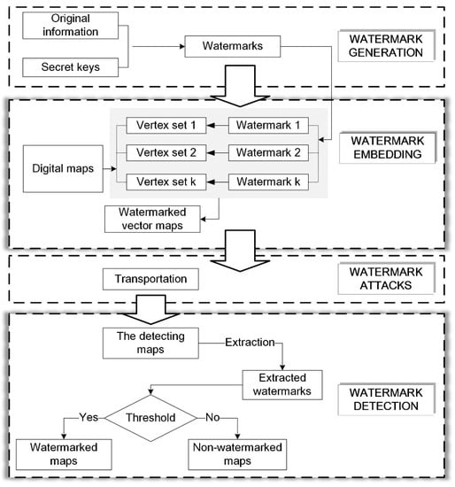
2. The Multiple Watermarking Algorithm
2.1. Watermark Generation
2.2. Watermark Embedding
2.3. Watermark Extraction and Detection
2.3.1. Watermark Extraction
2.3.2. Watermark Detection
2.3.3. Applicability Analysis
- (1)
- Randomly divide the vertices in the cover data into two non-repetitive sets.
- (2)
- Generate two watermarks, watermark 1 and watermark 2, and then embed the two watermarks in the two sets.
- (3)
- Extract the watermark, according to Equation (3); the corresponding detection is done by using watermark 1 and watermark 2. The correlation detection coefficients are cor3 and cor4.
- (4)
- Normalize cor3 and cor4 according to Equation (19).
- (5)
- Generate two other watermarks, watermark 3 and watermark 4.
- (6)
- Watermark 3 and watermark 4 are used to carry out the corresponding detection with the extracted watermark according to Equation (3), to obtain the correlation detection coefficients cor1 and cor2.
- (7)
- Normalize cor1 and cor2 according to Equation (20).
- (8)
- Repeat steps (1) to (7) 1000 times and record the experimental results, cor1, cor2, cor3, and cor4.
3. Experimental Results and Discussion
3.1. Robustness Experiments
3.2. Discussion of Robustness against Cropping Attacks
3.3. Discussion of Detection Efficiency
4. Conclusions
Author Contributions
Funding
Acknowledgments
Conflicts of Interest
References
- Voigt, M.; Yang, B.; Busch, C. Reversible watermarking of 2D-vector data. In Proceedings of the 2004 Workshop on Multimedia and Security, Magdeburg, Germany, 20–21 September 2004; ACM: New York, NY, USA, 2004. [Google Scholar]
- Tong, D.; Ren, N.; Shi, W.; Zhu, C. A Computational Model of Watermark Algorithmic Robustness Capable of Resisting Image Cropping for Remote Sensing Images. Sensors 2018, 18, 2096. [Google Scholar] [CrossRef] [PubMed]
- Solachidis, V.N.; Nikolaidis, I.P. Watermarking polygonal lines using Fourier descriptors. In Proceedings of the IEEE International Conference on Acoustics, Speech and Signal Processing, Istanbul, Turkey, 5–9 June 2000; IEEE: New York, NY, USA, 2000. [Google Scholar]
- Neyman, S.N.; Pradnyana, I.N.P.; Sitohang, B. A new copyright protection for vector map using FFT-based watermarking. Telecommun. Comput. Electron. Control 2014, 12, 367–378. [Google Scholar] [CrossRef]
- Urvoy, M.; Goudia, D.; Autrusseau, F. Perceptual DFT watermarking with improved detection and robustness to geometrical distortions. IEEE Trans. Inf. Forensics Sec. 2014, 9, 1108–1119. [Google Scholar] [CrossRef]
- Li, Y.Y.; Xu, L.P. A blind watermarking of vector graphics images. In Proceedings of the 5th International Conference on Computational Intelligence and Multimedia Applications, Xi’an, China, 27–30 September 2003; IEEE: New York, NY, USA, 2003. [Google Scholar]
- Benoraira, A.; Benmahammed, K.; Boucenna, N. Blind image watermarking technique based on differential embedding in DWT and DCT domains. EURASIP J. Adv. Signal Process. 2015, 2015, 1–11. [Google Scholar] [CrossRef]
- Ohbuchi, R.; Ueda, H.; Endoh, S. Robust watermarking of vector digital maps. In Proceedings of the 2002 IEEE International Conference on Multimedia and Expo, Lausanne, Switzerland, 26–29 August 2002; IEEE: New York, NY, USA, 2002. [Google Scholar]
- Xu, Z.; Yu, R.; Pan, X.Z. Watermark embedded in polygonal line for copyright protection of contour map. Int. J. Comput. Sci. Netw. Sec. 2006, 6, 202–205. [Google Scholar]
- Yang, C.S.; Zhu, C.Q. Robust watermarking algorithm for geometrical transform for vector geo-spatial data based on invariant function. Acta Geodaetica Et Cartographica Sinica 2011, 40, 256–261. [Google Scholar] [CrossRef]
- Lee, S.H.; Huo, X.J.; Kwon, K.R. Vector watermarking method for digital map protection using arc length distribution. IEICE Trans. Inf. Syst. 2014, 97, 34–42. [Google Scholar] [CrossRef]
- Peng, Z.; Yue, M.; Wu, X.; Peng, Y. Blind watermarking scheme for polylines in vector geo-spatial data. Multimed. Tools Appl. 2015, 74, 11721–11739. [Google Scholar] [CrossRef]
- Wang, N. Reversible watermarking for 2D vector maps based on normalized vertices. Multimed. Tools Appl. 2016, 76, 20935–20953. [Google Scholar] [CrossRef]
- Wang, N.N.; Zhao, X.J. 2D vector map data hiding with directional relations preservation between points. AEU Int. J. Electron. Commun. 2017, 71, 118–124. [Google Scholar] [CrossRef]
- Wang, Y.Y.; Yang, C.S.; Zhu, C.Q. Digital watermarking against data merging attack for vector geographic data. J. Beijing Univ. Posts Telecommun. 2017, 40, 48–53. [Google Scholar] [CrossRef]
- Zhu, C.Q. Research Progresses in digital watermarking and encryption control for geographical data. Acta Geodaetica Et Cartographica Sinica 2017, 46, 1609–1619. [Google Scholar] [CrossRef]
- Bhatnagar, G.; Wu, Q.M.J. A new robust and efficient multiple watermarking scheme. Multimed. Tools Appl. 2015, 74, 8421–8444. [Google Scholar] [CrossRef]
- Xiong, L.; Xu, Z.; Xu, Y. A multiple watermarking scheme based on orthogonal decomposition. Multimed. Tools Appl. 2016, 75, 5377–5395. [Google Scholar] [CrossRef]
- Sleit, A.; Abusharkh, S.; Etoom, R.; Khero, Y. An enhanced semi-blind DWT–SVD-based watermarking technique for digital images. Imaging Sci. J. 2012, 60, 29–38. [Google Scholar] [CrossRef]
- Zear, A.; Singh, A.K.; Kumar, P. A proposed secure multiple watermarking technique based on DWT, DCT and SVD for application in medicine. Multimed. Tools Appl. 2016, 77, 4863–4882. [Google Scholar] [CrossRef]
- Roy, S.; Pal, A.K. A blind DCT based color watermarking algorithm for embedding multiple watermarks. AEU Int. J. Electron. Commun. 2017, 72, 149–161. [Google Scholar] [CrossRef]
- Thanki, R.; Dwivedi, V.; Borisagar, K.; Borra, S. A Watermarking Algorithm for Multiple Watermarks Protection Using RDWT-SVD and Compressive Sensing. Informatica 2017, 41, 479–493. [Google Scholar]
- Yuan, X.-C.; Li, M. Local multi-watermarking method based on robust and adaptive feature extraction. Signal Process. 2018, 149, 103–117. [Google Scholar] [CrossRef]
- Sun, J.G.; Men, C.G.; Zhang, G.Y. Static dual watermarking of vector maps to anti-interpretation attacks. J. Harbin Eng. Univ. 2010, 31, 488–495. [Google Scholar] [CrossRef]
- Li, Q.; Min, L.Q.; He, Z.H.; Yang, Y.Q. A solution research on multiple watermark embedding. Sci. Surv. Mapp. 2011, 36, 119–120. [Google Scholar] [CrossRef]
- Zhang, L.M.; Yan, H.W.; Qi, J.X.; Zhang, Y.Z. Multiple blind watermarking algorithm based on spatial-frequency domain for vector map data. J. Geomat. 2016, 41, 32–36. [Google Scholar] [CrossRef]
- Cui, H.C. Research on the Sharing Security of Vector Geography Data. PhD Thesis, Nanjing Normal University, Nanjing, China, 2013. [Google Scholar]
- Wang, Y.; Yang, C.; Zhu, C.; Ren, N.; Chen, P. A novel multiple watermarking algorithm based on correlation detection for vector geographic data. Proceedings of 4th International Conference on Geo-Informatics in Resource Management and Sustainable Ecosystem, Hong Kong, China, 18 November 2016; Springer: Singapore, 2017. [Google Scholar]
- Wang, Y.Y.; Yang, C.S.; Zhu, C.Q. A multiple watermarking algorithm for vector geographic data based on coordinate mapping and domain subdivision. Multimed. Tools Appl. 2017, 77, 19261–19279. [Google Scholar] [CrossRef]
- Amit, K.S. Improved hybrid algorithm for robust and imperceptible multiple watermarking using digital images. Multimed. Tools Appl. 2017, 79, 8881–8900. [Google Scholar] [CrossRef]
- Chen, B.; Wornell, G.W. Quantization index modulation: A class of provably good methods for digital watermarking and information embedding. IEEE Trans. Inf. Theory 2001, 47, 1423–1443. [Google Scholar] [CrossRef]
- Douglas, D.; Peucker, T. Algorithms for the deduction of the number of points required to represent a digitized line or its caricature. Cartographer 1973, 10, 112–122. [Google Scholar] [CrossRef]











| Attacks | Data Size | Detection Threshold | Watermarks | Detection Results |
|---|---|---|---|---|
| No attacks | 45,847 | 0.2040 | Watermark1 | 0.5156(√) |
| Watermark2 | 0.5102(√) | |||
| Watermark3 | −0.0156(×) | |||
| Deleting vertex attacks | 32,093 | 0.2033 | Watermark1 | 0.5167(√) |
| Watermark2 | 0.5049(√) | |||
| Watermark3 | −0.0152(×) | |||
| Deleting vertex attacks | 18,339 | 0.2037 | Watermark1 | 0.5091(√) |
| Watermark2 | 0.5086(√) | |||
| Watermark3 | −0.0121(×) | |||
| Deleting vertex attacks | 4585 | 0.2129 | Watermark1 | 0.5258(√) |
| Watermark2 | 0.5061(√) | |||
| Watermark3 | −0.0133(×) | |||
| Deleting vertex attacks | 917 | 0.2515 | Watermark1 | 0.5573(√) |
| Watermark2 | 0.5005(√) | |||
| Watermark3 | −0.0382(×) |
| Attacks | Data Size | Detection Threshold | Watermarks | Detection Results |
|---|---|---|---|---|
| No attacks | 45,847 | 0.2040 | Watermark1 | 0.5156(√) |
| Watermark2 | 0.5102(√) | |||
| Watermark3 | −0.0156(×) | |||
| Adding vertex attacks | 59,601 | 0.1572 | Watermark1 | 0.3962(√) |
| Watermark2 | 0.3935(√) | |||
| Watermark3 | −0.0131(×) | |||
| Adding vertex attacks | 68,770 | 0.1366 | Watermark1 | 0.3446(√) |
| Watermark2 | 0.3409(√) | |||
| Watermark3 | −0.0099(×) | |||
| Adding vertex attacks | 82,524 | 0.1145 | Watermark1 | 0.2898(√) |
| Watermark2 | 0.2835(√) | |||
| Watermark3 | −0.0058(×) | |||
| Adding vertex attacks | 91,694 | 0.1023 | Watermark1 | 0.2550(√) |
| Watermark2 | 0.2573(√) | |||
| Watermark3 | −0.0058(×) |
| Attacks | Data Size | Detection Threshold | Watermarks | Detection Results |
|---|---|---|---|---|
| No attacks | 45,847 | 0.2040 | Watermark1 | 0.5156(√) |
| Watermark2 | 0.5102(√) | |||
| Watermark3 | −0.0156(×) | |||
| Compression attacks | 40,011 | 0.2045 | Watermark1 | 0.5176(√) |
| Watermark2 | 0.5101(√) | |||
| Watermark3 | −0.0139(×) | |||
| Compression attacks | 36,073 | 0.2044 | Watermark1 | 0.5151(√) |
| Watermark2 | 0.5117(√) | |||
| Watermark3 | −0.0152(×) | |||
| Compression attacks | 29,906 | 0.2048 | Watermark1 | 0.5134(√) |
| Watermark2 | 0.5153(√) | |||
| Watermark3 | −0.0135(×) | |||
| Compression attacks | 21,425 | 0.2054 | Watermark1 | 0.5161√) |
| Watermark2 | 0.5123(√) | |||
| Watermark3 | −0.0196(×) | |||
| Compression attacks | 12,063 | 0.2057 | Watermark1 | 0.5011(√) |
| Watermark2 | 0.5210(√) | |||
| Watermark3 | −0.0137(×) |
| Attacks | Data Size | Detection Threshold | Watermarks | Detection Results |
|---|---|---|---|---|
| No attacks | 45,847 | 0.2040 | Watermark1 | 0.5156(√) |
| Watermark2 | 0.5102(√) | |||
| Watermark3 | −0.0156(×) | |||
| Cropping attacks | 17,630 | 0.2039 | Watermark1 | 0.5114(√) |
| Watermark2 | 0.5066(√) | |||
| Watermark3 | −0.0187(×) | |||
| Cropping attacks | 10,606 | 0.2053 | Watermark1 | 0.5019(√) |
| Watermark2 | 0.5114(√) | |||
| Watermark3 | −0.0239(×) | |||
| Cropping attacks | 5191 | 0.2092 | Watermark1 | 0.4991(√) |
| Watermark2 | 0.5122(√) | |||
| Watermark3 | −0.0237(×) | |||
| Cropping attacks | 1498 | 0.2187 | Watermark1 | 0.4793(√) |
| Watermark2 | 0.4887(√) | |||
| Watermark3 | 0.0561(×) | |||
| Cropping attacks | 959 | 0.2452 | Watermark1 | 0.4953(√) |
| Watermark2 | 0.5162(√) | |||
| Watermark3 | −0.0636(×) |
| Attacks | Data Size | Watermarks | Detection Results | ||
|---|---|---|---|---|---|
| Proposed Algorithm | Algorithm in Reference [27] | Algorithm in Reference [29] | |||
| No attacks | 45,847 | Watermark1 | √ | √ | √ |
| Watermark2 | √ | √ | √ | ||
| Watermark3 | √ | √ | √ | ||
| Watermark4 | √ | √ | √ | ||
| Cropping attack (a) | 17,921 | Watermark1 | √ | √ | √ |
| Watermark2 | √ | √ | √ | ||
| Watermark3 | √ | √ | √ | ||
| Watermark4 | √ | √ | √ | ||
| Cropping attack (b) | 5320 | Watermark1 | √ | × | √ |
| Watermark2 | √ | × | √ | ||
| Watermark3 | √ | × | √ | ||
| Watermark4 | √ | √ | √ | ||
| Cropping attack (c) | 11,898 | Watermark1 | √ | × | √ |
| Watermark2 | √ | × | √ | ||
| Watermark3 | √ | √ | √ | ||
| Watermark4 | √ | √ | √ | ||
| Cropping attack (d) | 10,105 | Watermark1 | √ | × | √ |
| Watermark2 | √ | √ | √ | ||
| Watermark3 | √ | × | √ | ||
| Watermark4 | √ | × | √ | ||
| Cropping attack (e) | 12,646 | Watermark1 | √ | × | √ |
| Watermark2 | √ | √ | √ | ||
| Watermark3 | √ | √ | √ | ||
| Watermark4 | √ | × | √ | ||
© 2018 by the authors. Licensee MDPI, Basel, Switzerland. This article is an open access article distributed under the terms and conditions of the Creative Commons Attribution (CC BY) license (http://creativecommons.org/licenses/by/4.0/).
Share and Cite
Wang, Y.; Yang, C.; Zhu, C.; Ding, K. An Efficient Robust Multiple Watermarking Algorithm for Vector Geographic Data. Information 2018, 9, 296. https://doi.org/10.3390/info9120296
Wang Y, Yang C, Zhu C, Ding K. An Efficient Robust Multiple Watermarking Algorithm for Vector Geographic Data. Information. 2018; 9(12):296. https://doi.org/10.3390/info9120296
Chicago/Turabian StyleWang, Yingying, Chengsong Yang, Changqing Zhu, and Kaimeng Ding. 2018. "An Efficient Robust Multiple Watermarking Algorithm for Vector Geographic Data" Information 9, no. 12: 296. https://doi.org/10.3390/info9120296
APA StyleWang, Y., Yang, C., Zhu, C., & Ding, K. (2018). An Efficient Robust Multiple Watermarking Algorithm for Vector Geographic Data. Information, 9(12), 296. https://doi.org/10.3390/info9120296

