Abstract
In the first part of this paper, we have introduced a novel theoretical approach to mating dynamics, known as Tie-Up Theory (TU). In this second part, in the context of the bio-cultural approach to literature, that assigns to fictional narratives an important valence of social cognition, we apply the conceptual tools presented in the first part to the analysis of mating-related interaction dynamics in some blockbuster Hollywood movies from WWII to today. The interaction dynamics envisioned by our theory accurately reflect, to a significant level of detail, the narrative development of the movies under exam from the viewpoint of the mating dynamics of the couple of main characters, accounting for the specific reasons that lead them to react to certain situations via certain behaviors, and for the reasons why such behaviors lead to certain outcomes. Our analysis seems thus to bring some further legitimacy to the bio-cultural foundation of the narrative structure of the movies that we analyze, and moreover to the idea that it is possible to ‘inquire’ characters about their choices according to the narratological-experimental lines suggested by some proponents of the bio-cultural approach.
Because authors of fiction are free to construct narrative and characters unencumbered by the irrelevant detail that makes it hard to pierce real-life emotional events, we can read plays and novels as the closest thing to a controlled experiment involving high-stakes human emotions.Elster [1] (pp. 107–108)
1. Introduction
In the first part of this paper [2] we have presented a new conceptualization of heterosexual mating as a dynamic process where the sexual and emotional dimensions interact in subtle, complex ways. In particular, our approach is based upon the recognition of a fundamental asymmetry between the sexes as to the role of sexual vs. emotional signals in promoting, in a given subject, a short- vs. long-term mating orientation—of course concurrently with a rich constellation of other kinds of factors [3]. The dynamic interaction schemes that we have introduced are original and are not found in the existing literature. However, their main implications cannot be regarded as unexpected solutions to issues that have drawn constant attention in scientific as well as popular debates [4]. Our theoretical constructs are best understood as rationalizations of fragmented bits of knowledge and experience about the social cognition of mating. Such bits have often been ingrained into human cultural repertoires, but seldom fully recognized for what they are. In this second part, we will show how some effective dynamic solutions to the problem of long-term mating in heterosexual couples have been codified as a sort of structural invariant in a certain class of romantic fictional narratives. Far from being rare, these narratives are commonly found both in literature and cinema, and can easily be exemplified.
To state that literary or movie narratives may provide some form of corroboration of a psychological model may sound bizarre. However, one of the most interesting developments of literary theory in the last years has been the claim that, from an evolutionary perspective, fictional narratives can be considered as a sophisticated strategy of social learning which enables individuals and groups to transmit, and to take advantage from, experiences they did not directly experiment with [5]. As [6] puts it, fictions are a form of simulation of social experience with considerable adaptive value, which can be inter-subjectively and inter-generationally transmitted. The most systematic applications of this intergenerational form of learning from experience are found in the sphere of social cognition [7], and particularly in the human capacity to develop a theory of mind that allows to understand and foresee the behaviors of other individuals and groups in certain social situations [8]. The mating process is one of the social situations where a theory of mind, and especially the ability to understand the intentions, desires and beliefs of the other, becomes an indispensable tool for the building of a stable bond among the subjects involved [9]. It is thus no surprise that mating-related issues and circumstances have been one of the most recurrent and characteristic elements of human narratives of any epoch, culture, and latitude [10]. Some authors dare to claim that the systematic analysis of the basic elements of fictional narratives shows how the accomplished mating of the main characters, as the result of the overcoming of any sort of obstacles and adverse intentions, represents the most common, and somehow necessary, outcome of many different typologies of stories which are found in the most diverse historical and socio-cultural contexts [11].
The mating problem is therefore not only relevant from the viewpoint of narratives as a form of social learning [12], but can even be considered as one of the model situations which have shaped social learning practices themselves, as a response to the social cognition issues it raises [13]. The mating process therefore provides strong incentives to socio-cognitive human development [14]. A key implication of the narrative perspective on heterosexual mating is thus that an accomplished couple (that is, a stable one, resilient to external circumstances) is made possible by physically and emotionally apt partners, well developed from the psycho-social viewpoint, and willing to pursue their couple goals despite the occurrence of unfavorable external conditions [15]. If interpreted as an injunction, and thus as a narrow, instrumental a contrario imperative, the narrative characterization of the ‘ideal’ (heterosexual) couple naturally lends itself to dangerous and potentially pathogenic distortions [16]. Of major concern, for instance, are phenomena such as the stigmatization of singles [17], people with disabilities [18] or of couples with LGBT, i.e., non-standard-heterosexual, orientations [19]. An analysis of LGBT mating dynamics from a narrative perspective is beyond the scope of this paper, although it clearly stands as a topic of great social relevance. Our emphasis on the mating process of the heterosexual couple, which is the specific conceptual domain of our theoretical approach, does not intend in any respect to imply a hegemonic or preferential vision of heterosexual relations within the broader sphere of human sexual and affective relations.
The socio-cognitive valence of fictional narratives largely depends on their capacity to balance elements of idealization and realism within the narrative rendition of the mating interaction [20]. Consequently, in the context of narrative approaches to the resilience of real couples, the shared construction of ‘we stories’, where such balance is explicitly negotiated by partners, acquires a prescriptive value [21]. Vice versa, the shared access within the couple to a fictional narrative universe has a positive impact on the creation of the appropriate conditions for an effective negotiation [22]. The narrative construction of marital harmony may therefore perform a role of social exemplification, whose effective replication and diffusion may in turn be interpreted as the production of a public good [23]. What gives interest to the story, however, is not the mere fact that the couple is successfully formed and persists over time, but rather the account of the actual process through which this becomes possible. Stories break down such process into the steps through which the lead characters learn to define and structure themselves as the partner’s ‘other half’ [24]. This is the nature of the knowledge upon which the narrative dimension of social learning ultimately focuses [25]. As shown by [26], it then becomes possible to regard romantic love as an evolved commitment device that makes couple bonding and stable mating possible. In so doing, it provides an incentive to joint parental investment in offspring rearing and, even more fundamentally, to the evolution of social intelligence and cooperation.
In this paper, we will analyze some examples of a certain instance of fictional narrative, the cinematic one, and more specifically a small sample of American romance movies from WWII up to the previous decade. The reason behind our choice is that Hollywood romance movies have played a major role in shaping the global imaginary of romantic relationships and couple formation [27]. The socio-cognitive relevance of movies, and specifically of Hollywood productions, which are skillfully designed to appeal to vast, inter-cultural audiences, is the combination of at least two factors. First, human beings spontaneously tend to organize in narrative form the cognition of their romantic relationships [28]. Second, movie narratives, in the context of contemporary popular culture, prove to be especially accessible and intelligible as compared to homologous literary forms [29]. Due to their social simulation function, fictional narratives may be ‘twice as true as fact’ [6], and recent research in the neuroscience of fiction appreciation reveals that neural activation patterns while accessing fictional narratives correspond to constructive simulation activity, as opposed to the ex-post action-based reconstruction of events that characterizes non-fictional ones [30]. Moreover, experimental evidence suggests that humans actively and naturally make use of fictional inputs to extract useful knowledge for the interpretation of real facts [31]. Through their parsimonious representation of the fundamental steps of the mating process, romantic fictional narratives may therefore provide a socially validated account of the crucial components of the most effective strategies that are characteristic of each sex [32].
It is important to underline how not all fictional narratives have the same social cognition value, and specifically that not all cinematic narrations that fall within the rubric of the romance are equally rich with significant elements in this regard [33]. In the first place, literary characters provide a richer basis for social cognition than more stereotyped popular characters [34]—an intuition that has been experimentally corroborated [35]. Moreover, even in case of powerfully sketched characters, it is necessary to fix attention upon narratives where the mating process is the central theme, rather than a marginal or instrumental one with respect to the real focus of the story, albeit such centrality may not always be obvious or explicit [36]. The knowledge resources that are of help for a better understanding of the mating process are not necessarily the product of the psychological insight and of the ingenuity of the screenwriters, but rather represent a sort of implicit narrative grammar that screenwriters ought to abide by if they want to build a credible story [37]. This is the reason why we find certain structural analogies between cinematic narratives from different periods, which are notably different for the most part of other relevant aspects, including implicit social norms and reference values, or the nature and content of sexual roles and stereotypes. In other words, cinematic narratives are not a blueprint of all-purpose troubleshooting recipes for mating issues, but rather an open-ended, reasoned repertoire of behavioral patterns in relevant social situations, crystallized into narrative structures [38].
If all such knowledge is easily accessible, and entrenched in human cultures, why mating and couple dynamics issues keep on baffling individuals and societies with their complexities? This is in fact a key theme in narrative-based social learning [39]. Being able to learn from the circumstances of fictional characters and situations is an important potential source of evolutionary advantage [40], but the social cognition value of fictional knowledge constantly co-evolves with the social environment itself. What remains stable is our instinctive reliance toward fiction as a gateway of exchange between the self and the social reality. The well documented, cross-cultural capacity of fiction to elicit powerful, authentic individual and collective emotional responses is a clear certification of its relevance as a socio-cognitive learning platform [41]. If the fictional nature of stories might imply at times some psychological distancing [42], the profound link that is established between the acquisition of social abilities and narrative competences since early childhood makes it natural for humans to consider fiction as an externalization of consciousness [43]. The tension between narrative ‘enchantment’ vs. ‘disenchantment’ may be solved differently in different social contexts. For instance, post-modern societies may have grown skeptical as to the idea that narratives are linked to some form of stable, widely shared reality beyond the sphere of a language game anchored to a specific social context [44]. The idea that narratives, and more generally the arts [45], are shaped by their adaptive value, moreover, obviously conflicts with the postmodern scholarly perspective [46], which fiercely disputes it. However, the increasing, concordant evidence of the subtle interplay between fictional narratives and human emotion [47] and cognition [48] in the shaping of individual and social realities makes, in our opinion, a powerful case for the emerging dialogue among literary disciplines, psychology and the social and biological sciences as a promising new frontier of theoretical and empirical research [49].
In this paper, we will show how some of the main implications of the theoretical model that we developed in the first part [2], in particular with reference to the most effective strategies for the creation and consolidation of the couple, are reflected to an intriguing degree of accuracy into the narrative dynamics of certain Hollywood romances. We do not think that the domain of application of our model is limited to mainstream cinematic narratives from WWII to the present day, although such period represents an interesting benchmark in many respects [50]. We expect to find similar results also considering a geographically and historically wider range of examples of literary and cinematic narratives, and we intend to develop this extended analysis in future research. However, within the context of the present paper, we feel that our results may represent a meaningful enough first step to spark fresh interest toward the analysis of mating and couple dynamics issues through the lens of an interdisciplinary synthesis between psychology and the humanities. We thus mean to probe our behavioral approach at a narratological as well as at an experimental level, and possibly to devise new types of joint narratological-experimental [51] and narratological-neuroscientific tests (building upon promising results such as those of [52]).
After having discussed in some more detail the relationship between fictional narratives and social cognition in Section 2, in Section 3 we discuss how the mating process constitutes a basic theme of fiction. In Section 4 we re-introduce, for the reader’s convenience, the basic tenets of our theoretical approach presented in [2]. In Section 5 we present a new development of the theoretical framework, that further builds on [2] and is useful for the analysis that follows. In Section 6 we finally analyze a sample of cinematic narratives with the tools previously deployed. Section 7 presents some concluding remarks.
2. Fictional Narratives and Social Cognition: A Bio-Cultural Approach
The advantage of an approach that focuses upon fictional narratives is that it allows to test, however indirectly, behavioral responses in more complex, variegated and ‘natural’ contexts than usually possible in laboratory settings [53]. The two options, though, are not mutually exclusive, and could and should both be explored in their different capacities whenever possible [54]. Laboratory experimentations are necessarily centered upon extremely specific, circumscribed effects, and their results may greatly contribute to a better understanding of human behavior. However, the applicability of such results to real social contexts calls for their embedding into an appropriate, general theoretical framework [55]. On the other hand, an approach based on the analysis of narratives does not allow to differentially isolate single effects, and is rather geared toward testing the meaningfulness of a compound of effects and hypotheses, again under the roof of a suitable theoretical framework [56]. Both options suffer from substantial limitations and are based upon a complex constellation of assumptions (explicit or not), and are therefore complementary, both as to their shortcomings and potential.
An approach to fiction as the outcome of a process of social learning under evolutionary constraints may be deployed in bio-cultural terms, based upon recent research in evolutionary psychology, and more generally in evolutionary sciences [57]—and even phrased in explicitly Darwinian terms [58]. Besides the by now rich literature devoted to the bio-cultural approach to literary fiction [59], analogous considerations have already been presented for cinematic fiction [60]. The reference to specific adaptive issues makes such approaches not only compatible, but complementary to the body of psycho-evolutionary literature on mating.
However, in what respect fictional narratives might provide a corroboration of the psychological foundations of certain human behaviors [61]? The theme has been the object of a heated debate in literary disciplines. As already remarked, fictional narratives concern characters that have never existed and events that have never happened, but stand as complex mental simulations [62]. Fiction therefore does not describe ‘real’ situations [63], also in the light of the filtering role of the social construction of the interpretive practices through which we access, and give meaning to them [64]. One could thus argue that legitimizing fiction as a social learning platform ultimately amounts to tweaking it via instrumental, parody-like interpretive manipulations [65]. These objections can be countered, however, by noticing that that there is no need that fiction qualifies as a faithful correspondence to real-life situations or interactions to acquire cognitive and pragmatic value [6], and that the knowledge value of fictional narratives does not necessarily call for a functionalist forcing of narrative devices [66]. The essence of the bio-cultural approach lies in underlining how fiction can be read as a response to specific adaptive challenges, which cannot be reduced to the outcome of a social construction process, in that it plays a key, increasingly understood role in the development of domain-specific human cognition [67], both at the individual and social levels [68]. We can specifically consider fiction as a specialized form of social play [69,70], which we could call cognitive play [71]. Fiction can thus be regarded as a laboratory that allows humans to elaborate, already in the early developmental phases [72], and in a systematic way [73], increasingly sophisticated forms of a theory of mind [74], that allow them to reliably reconstruct in due detail the mental states of the other humans they interact with, and to foresee and interpret their behaviors accordingly. The meaningfulness of fiction does not therefore lie in depicting ‘real’ situations but ‘hypothetically realistic’ ones, which not only present imaginary characters, but are legitimately staged in imaginary settings (including ‘impossible worlds’) while preserving their socio-cognitive value. For instance, Jane Austen novels may be consistently interpreted as a systematic exploration of the role of incomplete information as to the true intentions of potential male partners in the context of female strategies of mate selection, in a society where the cost of a wrong mating choice was basically borne by women [75]—an instance of strategic interaction that lends itself to be explicitly analyzed in game theoretic terms [76].
Fictional narratives reflect and shape our approach to the understanding of events [77], and especially of complex chains of events with relevant social consequences [78]. Therefore, humans pay special attention to causal relationships in fiction [79], tend to better remember causally related fictional events than non-causally related ones [80], and attach importance to events in relation to their roles in fictional causal chains [81], and to the richness of their causal ramifications [82]. This explains why giving emphasis to characters, objects or events that do not play a role in the story’s causal unfolding is often stigmatized by audiences as an abuse. The structure of fictional narratives obeys criteria of cognitive parsimony so as to eliminate possible sources of ‘noise’ in the social simulation, and to best preserve the fiction’s adaptive value as a source of useful heuristics [83], and of emotional insights [84]. The role of fiction in the development of empathic capacities in humans is widely documented both historically [85] and experimentally [86]. The selection and attraction of a mating partner provide obvious examples of situations that call for both the understanding and the interpretation of complex sequences of social events, and the skillful emphatic reading of the involved subjects [87]. Therefore, we can consider romantic fictions as laboratories for the representation, comprehension, and interpretation of events deriving from male-female interactions with relevant mating-related implications [12,88]. Fictional social simulations foster a subtly balanced attitude as far as learning is concerned: the cognitive distancing from characters allows a reasoned insight into the implications of their behaviors and choices, while the deep emotional resonance with their vicissitudes marks the latter as subjectively relevant experience [41,89]. It is not surprising therefore that, in the context of the bio-cultural approach, it is possible to single out socially validated fictional narratives that prove useful to the understanding of the micro-structure of the male-female interactions in mating situations, and of their psychological and behavioral foundations, as the result of long, cumulative historical processes of social learning [90].
Creating fictional narratives (romantic or not) with high social cognition value is difficult [91]. In their narrative deployment, there is a concurrence of elements that serve hedonic (pleasure-seeking) and eudaimonic (truth-seeking) motives [92], both of which carry intrinsic value. Fictions that mainly serve a purely hedonic entertainment motive, however, are mainly targeting relaxation and psychological detachment [93], and have modest social cognition value. Social cognition is strongly related to sense-making, and thus to an appreciative attitude that attaches value to complex logical and emotional stimulations [94], and does not eschew sad or problematic themes [95]. Meaningful experiences of appreciation are associated to human virtue dilemmas and to insightful reflection on lifetime goals and purpose [96]. Motivated cognition, driven by emotional motives, plays a key role in determining the cognitive depth of appreciation of exposure to fictional narratives [97]. Emotionally moving narrative contexts are, in turn, more effective in eliciting reflective responses [98], an aspect that is of special importance in the social cognition of mating processes. Not surprisingly, then, romance fictions are more conducive to interpersonal sensitivity than most other literary genres [99]. By stimulating reflection, eudaimonic appreciation improves affective self-regulation and well-being [100], as well as self-perception and acceptance, together with relief for relatively distant affective losses [101]. The effects of eudaimonic appreciation are moreover stable and consistent across different media [102], and are especially significant when a permanent personal commitment toward a certain fictional world (fandom) is established [103]. On the other hand, the stability of hedonic vs. eudaimonic motives across different cultures is more problematic and calls for context-specific analysis [104].
An eudaimonic interest for fictional narratives with sad or tragic implications reveals a willingness to experience emotions (meta-emotions) and to improve self-insight [105]. Entertainment-focused, purely hedonic attitudes toward narrative may on the contrary nurture illusory, stereotypical relational expectations in real life situations [106], thus worsening rather than improving the mind reading and empathic capacities of readers. Only a limited number of fictional narratives is recognized and inter-generationally transmitted as part of a socio-cognitively validated canon, which may markedly differ from the corresponding current academic canon [107]. In general, in the short-term, box office returns tend to reward hedonic fictional narratives more than eudaimonic ones, whereas the latter are met with higher critical acclaim [108]. However, certain eudaimonic narratives receive at the same time both viewers’ and critical acclaim, and leave a permanent impression in audiences due to their meaningfulness and to the richness of the spectrum of mixed affects they can evoke [109]. The value of permanence of such narratives depends upon the fact that their deep structure and the features of their main characters are only in part shaped by the prevailing social conventions and ideological representations of the time (that is, by the factors that play a central role in social constructionist approaches). They maintain their value also beyond their socio-cultural context of reference [110] in that they reflect, as it can be deduced for instance from a selected sample of Shakespearian quotes, fundamental aspects of the human mating dynamics as modeled by long-term sexual selection and by biological and social evolution [111]. By providing a detailed analysis of Shakespeare’s Hamlet from a neuro-scientific perspective, [112] offers an illustration of the level of accuracy of fictional narratives in capturing subtle aspects of the cognitive and affective dimensions of human nature, which have only very recently become intelligible to us in scientific terms. Cognitive models of story comprehension and production, and collected neurophysiological evidence show moreover a significant level of agreement [113], although the relevant neural circuitry is extremely complex and largely still not fully understood [114].
It is well known that language plays a key role in the evolutionary selection of cooperation [115]. Moreover, collective expression activities such as making music or dancing are in turn quite effective in promoting pro-social behaviors, already in early childhood [116,117]. Fictional narratives allow an extra step in making social norms explicit, and in contributing to the solution of common knowledge problems by means of the creation of a common reference among players, as shown by [118]. [119] illustrates how a central theme in fictional narratives is the altruistic implementation of social norms. [120] clarifies the role of literary narrative in the evolutionary development of non-self-centered moral sentiments. In an evolutionary psychology context [121], stories help listeners to refine their understanding of social emotions [122], within a controlled context where it is possible to identify and simulate possible scenarios and event unfolding schemes. They also enable the investigation of one’s own instinctual feelings, impulse reactions and emotional responses to typical social situations which could become highly relevant in future life course [123], or just hypothetically [124]. Through stories, individuals may develop and test those capacities for attention, intelligence and cooperation that are necessary for an effective management of the most complex social interactions [59]. The emphatic and prosocial effect of fiction exposure is moreover potentiated when subjects generate imagery that makes the narrative situation more concrete to them [125]. Personal characteristics, however, imply different consequences of exposure to certain fictional narratives in terms of emphatic understanding and prosocial behavior [126]. As illustrated in the first part [2], the mating dynamics in terms of the Tie-Up Cycle (TU-C) may be regarded as a joint cooperative effort between different-sex players, and therefore the bio-cultural approach turns out especially appropriate as an ‘experimental’ platform for the evaluation of the adequacy and effectiveness of mating behaviors and strategies.
If fictional characters are modelled by evolutionary pressures that reflect basic aspects of human nature in connection to certain social situations [127], their psychological features cannot be interpreted as mere compositional choices by the authors, or as a mere reflection of certain ideological social constructions [128]. They must also reflect some level of understanding of human nature [129], which allows us to interrogate characters in analogy to what we do with living experimental subjects, and to analyze their ‘responses’ by means of suitable psychological tools [130]. [131], for instance, explicitly tests, upon the narrative schemes of a certain number of tales, a social constructivism hypothesis that European popular tales are shaped by a socially modelled ideology of male domination, and shows that the hypothesis receives a modest empirical support. [132] presents a comparative analysis of male characters with a prevailing sexual vs. emotional orientation regarding the mating process, and examine the dilemma, from the female perspective, between the genetic endowment of the dominating, sexually opportunist male vs. the offspring rearing capacity of the sensitive, sexually faithful male [133]. To this purpose, characters from British romance literature are exposed to the evaluation of a sample of women, to verify whether more dominant characters tend to be selected more often by women who are more oriented to short-term mating, and vice versa. The hypothesis is substantially supported by experimental results. Fictional characters seem therefore apt to systematically elicit human behavioral responses and choices that are coherent with our understanding of mating strategies, through suitable role simulation and empathic identification processes [134]. On the other hand, fictional characters are not quite mere narrative depictions of ‘actual’ human beings [135], and need to fulfil specific ‘conditions of existence’ [136]. They are multi-faceted entities [137] that evolve through their dynamic interaction with their audiences [138]. This latter aspect ultimately determines whether a certain fictional narrative is inter-generationally transmitted or not, by being socially validated on the basis of its capacity to spark a significant social diffusion of re-reading/re-narration practices [139]. In our case, the fictional narrative must be validated as a relevant characterization of certain mating-related situations and dynamics, to be legitimately considered both the result of, and a source of inspiration for, social learning processes that transmit useful information on these topics [140]. For this reason, we will focus upon some very well-known cinematic narratives which have been significantly appreciated by audiences worldwide, leaving in turn a traceable mark in the collective imaginary of couple formation processes in the 20th and 21st century, in the USA and globally.
We can sum up some salient aspects of the previous discussion by concluding that the interaction between narratives and behaviors can be characterized as a co-evolutionary process [141]. The dynamic link from behaviors to stories is determined by the adaptive challenges posed by the social cognition of mating processes. The dynamic link from stories to behaviors is driven by the cultural influence effect, in terms of between-partner cooperation (and specifically of shared attention and intentionality in the unfolding of the mating process), facilitated by stories-driven insight into the situations and issues that are typical of the mating sphere of human experience. In other words, the behaviors-stories and stories-behaviors links define, respectively, the ‘exploratory’ and ‘implementation’ phases of the narrative social cognition of mating processes. Such co-evolutionary process is synthetically depicted in Figure 1.
Figure 1.
The process of co-evolution between narratives and behaviors.
3. Couple Formation as a Basic Narrative Theme
As already observed, mating situations and issues occupy a particularly important place within the corpus of human narrations [142]. Even when their role in the story is not central, the formation of one or more couples almost always pops up within the narrative arc [143]. And very often the formation of the couple (or of more couples) functions as a basic pillar of the narrative itself. All this attention seems to suggest that, from the social cognition viewpoint, mating issues present an almost inexhaustible richness of possibilities [144], which lend themselves to the development of countless narrative explorations, as well as to the targeted re-interpretation of already familiar ones [145]. However, in which sense should this be truer of mating with respect to other spheres of human experience, of equal relevance from the point of view of evolutionary success, such as for instance the processes of production of goods and accumulation of wealth?
The theme of couple formation is generally associated to that of the development of personality and more generally of human faculties, and to the eventual achievement of the full range of human decision-making and emotional capacities [146]. Consequently, in romances, changes in the personality of characters due to the narrative unfolding of events, tend to be more pronounced than for humans in comparable conditions [147]. The union with one’s ‘other half’ generally stands for a sort of symbolic demarcation of the passage between a developmental phase and the next one, not only in terms of age, but of psychological maturity [148]. This is a result of the overcoming of the obstacles and trials that, along the narrative arc, prevented the characters from accomplishing their union, prompting them to upscale their individual qualities to an extent that, in some cases, is nothing short of a full-blown transformation [11]. In stories with a full eudaimonic valence, the nature of the obstacles to be overcome, moreover, is not merely incidental. It is the substantiation of cognitive conflicts whose relevance and implications extend beyond the characters’ sphere, to ideally address the reader [149]. The eudaimonic valence of the romantic fictional narrative is further reinforced by the arousal of tender affective states that is a natural counterpart of romance [150]. With the formation of the new couple, the partners question their own, original socio-affective environment and together commit to the co-creation of a new relational space, partly self-produced through an effective cooperative combination of reciprocal idealizations [151]. Such mutual adaptation needs to prove its adaptive value, by ensuring the continuity of the process of inter-generational transfer of genetic endowment, material resources, and knowledge [152]. It is no wonder, therefore, that the theme of couple formation takes on such a central place in narratives, also in social contexts characterized by a strong relativism as to the existential meaning of romantic love [153]. The possible formation of a stable couple is directly linked not only to the adaptive survival of the human kind, but also of the stories themselves through their inter-generational transmission [154]. Not incidentally, in the most elementary forms of narration such as in many tales of popular tradition (which often serve as matrices for up-to-date narrative re-modulations; see e.g., [155]), the formation of the couple is not only the point of arrival of the narrative but also its definitive fixation. Once the couple is successfully formed, there is no more urge to go on with the story, as everybody will “live happily ever after”—despite the ‘after’ notoriously being the most critical phase, and a most interesting source of narrative complexity [156].
Equally important themes, such as the already mentioned one of goods production and wealth accumulation, find a much more problematic collocation within the narrative repertoire, and the main reason is the ambiguity of their relationship with the afore-mentioned process of maturation and achievement of the human developmental process [157]. Within the economy of the narration, the formation of a couple has always a positive valence, insofar as the partners begin a relationship founded on deep affinities, and thus stable and psychologically (and often biologically) rewarding [158]. The fact of finding a ‘soulmate’ and getting united is the object of a univocally positive evaluation in the perspective of the narration, even when such union may be jeopardized by unsurmountable difficulties or by tragic combinations of circumstances that prevent it from fully happening, for instance because of the death of one or both partners [159]. In other words, the formation of the couple, if happening appropriately, always yields a positive impact in terms of a full realization of the human potential of the characters, and acquires a possible exemplary value [160]. On the contrary, the formation of a couple with the ‘wrong’ partner inevitably yields tragic, and possibly irrevocable consequences [161]. A successful mating, therefore, provides an example of moral clarity that elicits cooperation in viewers [162], and, if marked by dramatic circumstances, even feelings of elevation [163], which explains in turn its centrality in human fictional narratives.
The main message that the narrative repertoire seems to transmit from the viewpoint of the social cognition of mating is the importance of choosing the right partner [164], and the simultaneous necessity of making the couple ‘safe’, by stabilizing it through a process of personal, reciprocally orientated growth of both partners, and of knowledgeable conflict resolution [165], to make the mating resilient with respect to a vast array of external circumstances that might threaten it.
In the case of other evolutionarily relevant themes such as goods production and wealth accumulation, there is not, within the body of the narrative repertoire, an equally unanimous evaluation in terms of a positive association between the achievement of the goal and the full deployment of human potential [166]. Even when, for instance, wealth is accumulated effectively and at the same time honestly, there is always the risk that the achievement of abundance may corrupt the character, exposing him/her to various tragic developments [167]—and this is of course true a fortiori when wealth is achieved through unlawful, or morally dubious choices [168]. In other words, there are human activities whose evolutionary benefits are undeniable, such as wealth accumulation, but whose evaluation in terms of narrative social cognition turns out to be ambiguous, because of their possible negative effects on personality development and moral prowess [169]. Whereas morally ambiguous characters may actually fulfil hedonic entertainment motives through the mediation of moral disengagement [170], morally clear ones prompt appreciation through the mediation of self-expansion [171]. The centrality of the mating process within human narrations therefore represents the implicit recognition of its value as a foundational element of human development, with respect to which it assumes an almost paradigmatic role [172]. Other dimensions of human experience, equally important in principle in their evolutionary implications, occupy a less central position and are subject to a more nuanced evaluation because of their susceptibility with respect to certain aspects of human nature that present widely recognized criticalities, such as the effect of an excessive abundance of material resources [173].
The implicit thesis that underlies the centrality of the mating process in fictional romantic narratives, according to which the formation of an ‘appropriate’ couple always yields beneficial effects for the involved subjects, as well as for the community in the light of what we know of human nature [174], is openly questioned by the schools of thought that regard the typical deployment of romance narratives as a sneaky celebration of the female enslavement to the norms of a patriarchal society [175]. However, considering by default romantic fictional narratives as mere expressions of an ideology of gender dominance amounts in practice to a petition of principle, which does not give to such narratives a fair chance to prove their socio-cognitive value [176]—an aspect which cannot in turn be taken for granted, but must be demonstrated with respect to specific adaptive issues.
4. Tie-Up Theory: Basic Notions and Implications for the Fictional Social Cognition of Mating
In this section, we review the basic concepts of the Tie-Up theory presented in [2], which are useful for our analysis of the socio-cognitive dimension of mating in fictional romantic narratives. We report the theory’s basic notation and definitions in Figure 2, Figure 3, Figure 4, Figure 5, Figure 6, Figure 7, Figure 8 and Figure 9 for the reader’s convenience.
Figure 2.
(a) Basic terminology; (b) Active and Receptive Areas; (c) Characteristics of Male vs. Female Active and Receptive Areas.
Figure 3.
(a) Basic Tie-Up terminology; (b) Tie-Up and Double Tie-Up; (c) Male vs. Female Tie-Up.
Figure 4.
Compatibility tests.
Figure 5.
Rewards.
Figure 6.
Tie-Up Cycle.
Figure 7.
Frustration.
Figure 8.
Inversion of the flow.
Figure 9.
Tie-Up Cycle Diagram.
Reframing the previous discussion on the fictional social cognition of mating in terms of the Tie-Up theory’s conceptual framework is quite natural.
In the perspective of narrative social cognition, the union with one’s ‘other half’ acquires an almost normative value as a metonymic representation of the full achievement of human potential, both individually and collectively, with a strong valence of compensatory idealization of the dysfunctionality of real couples [177]. The formation of a couple with the appropriate partner brings with it an expectation of existential fulfilment with positive collective spillovers [178]. Thus, the effective completion of a Tie-Up Cycle (TU-C) [2], and the consequent emergence of a stable couple elicits social recognition as an indirect result [179]. The interruption of a TU-C and the ensuing dissolution of the couple, on the contrary, prompts a perception of damage, not only at the individual level, but at the social one as well. The responsibility of the break-up must be traced back, depending on cases, to one of the partners or to both, as an effect of an evaluative deliberation that any subject outside the couple feels entitled to carry out, consciously or unconsciously, on the basis on his/her own knowledge of the relevant facts and of his/her social and emotional closeness to either partner [180]. As already pointed out above, the cooperation among partners within the couple tends to be regarded as a public good, and therefore the couple break-up creates a social incident [181], with the consequent, spontaneous activation of social defense mechanisms such as gossiping, which at least in part function as a deterrent [182].
In the context of the Tie-Up theory (TU), the iteration of TU-C may be regarded as nothing but the representation of the partners’ human maturation in its various components. When the Double Tie-Up (D-TU) is realized, the male partner M gets a deep emotional reward that does not conflict with, and on the contrary provides a confirmation to, his sexual identity, whereas the female partner F in turn obtains a strong sexual reward which does not threaten, but on the contrary reinforces, her emotional identity. Both M and F thus get, from the couple relationship, a wealth of psychological resources, that are expendable not only within the couple itself, but also in the broader sphere of their social life. And in fact, the empirical evidence shows how a high quality of couple relationship is associated to better results in the various dimensions of social and professional life [183].
On the other hand, as we know from the analysis presented in [2], it cannot be taken for granted that the emergence of a TU necessarily implies positive consequences in terms of individual psycho-social development. If TU is one-sided, it is quite possible that very negative psycho-social developmental effects result. The conditions for the emergence of M-TU or F-TU, as discussed in [2], are essentially linked to the success in carrying out a physical test in the case of F, and a psycho-emotional test in the case of M. The logic of selection that drives such tests is aimed at checking the level of compatibility regarding, respectively, reproductive success and future offspring rearing. However, there is no certainty that the partner to whom one is tied-up will have all the necessary qualities to ensure the formation of a stable long-term couple—an outcome that, as discussed, depends upon a complex dynamic process of reciprocal behavioral tuning. For these reasons, in the repertoire of fictional narratives the relational struggles of unhappy couples command a level of attention comparable to the one paid to the vicissitudes of happy couples, in that, in a problem-solving perspective, issues related to the failure or deterioration of TU deserve a special interest [184].
The theme of the narrative social cognition of mating is generally the object of a particular interest for audiences of female rather than male readers [185]. This difference finds an explanation in the context of the TU theory. As seen in [2], the dynamics of TU-C implies that F is more exposed than M to the risk of a partner’s failed TU and of the ensuing consequences, and especially so if the interaction has led F to sexually conceding to a not yet tied-up M. Therefore, for F more than for M, it is crucial to elaborate a reliable theory of mind that allows her to anticipate and to interpret M’s signals, thereby avoiding exposure to the risk of sexual opportunism from M’s side. Moreover, for F the emotional dimension is characteristic of the Active Area (F-AA), and thus refers to the conscious level of her strategic interaction with M. Then, all the useful elements that are socially transmitted in narrative mode and that may contribute to a deeper understanding of the emotional interaction with M will be of special relevance for F. For M, instead, the emotional dimension characterizes the Receptive Area (M-RA), and is thus essentially unconscious. Consequently, M will be less interested toward, and will associate a smaller strategic value to, the acquisition of narratively transmitted knowledge centered upon the emotional introspection which is the key focus of a large share of the fictional accounts of couple formation. M will attribute more relevance to the social cognition of aspects that are characteristic of the expression of his M-AA, and thus in particular to the strategies of sexual conquest, and to the acquisition of resources that improve the effectiveness of such strategies (material wealth, power, physical prowess). Men’s preferential attention will therefore be directed toward narratives centered upon relatively more hedonic topics of competition, conflict and antagonistic achievement of real or symbolic goals [186].
5. The 6 Ways and Their Interaction Diagrams
In [2] the notion of Way has been introduced as the initial path that marks the start of a TU-C. Such early phase has a key role in the further dynamic development of TU-C itself. Depending on who, between the two potential partners, takes the initiative, and on the area from which the interaction starts, it is possible to single out six basic cases, three for each sex. The summing up diagram, that helps to associate the Ways’ numeration to the various cases (see Figure 10), visually synthetizes the relationships between each Way and the AA vs. RA of M vs. F from which TU-C takes off. Specifically, TU-C starts from AAs are depicted in red and starts from RA in blue for each hemicycle, male and female. It turns out, then, that to each AA corresponds only one possible Way (1–2), whereas from each RA two different Ways can depart (3–5 vs. 4–6), depending on the direction of movement of TU-C—clockwise or anti-clockwise.
Figure 10.
The six Ways and their relationships with the positions in Tie-Up Cycle (TU-C).
Red arrows indicate the direction of movement of the cycle in Ways 1–2, which, departing from the respective AAs, will head toward the RA of the opposite sex’s partner along the only possible path, by following the same direction of the grey arrows that indicate the natural anti-clockwise movement along TU-C. The blue arrows, instead, may move both anti-clockwise—as in Ways 3–4—or clockwise—as in Ways 5–6. Ways 5–6, in particular, represent the cases of inversion of the flow, where after the departure from the RA, once reached the AA within one’s own hemicycle, the subject’s AA does not choose to go on toward the partner’s RA, but turns back and directly communicates with the partner’s AA, so as to induce the partner to increase the stimulation of the subject’s RA. Way 5 and Way 6 lie outside the central ellipse to indicate their higher criticality, as we shall see, from the point of view of an effective start of TU-C, due to the additional difficulties posed by the fact that, in these two Ways, one moves in the opposite direction with respect to the TU-C flow.
To sum up, the Ways characterized by female initiative have odd numbers (1-3-5), whereas those characterized by male initiative have even numbers (2-4-6). The Ways in red that depart from AAs, that is from the active areas of each sex, represent the classical approach to the other sex: The relational one for women, who approach men by establishing a psychological and emotional tuning (Way 1), and the sexual one for men toward the woman who physically attracts them (Way 2). The Ways in blue that depart from the RAs, that is from the passive areas of each sex, which as we know regulate the TU, present two different possibilities of approach, depending on whether one moves across the ‘long’ or the ‘short’ path. A woman who feels physical attraction for a man and decides to seduce him has therefore two options, that correspond to two different types of seduction. In the case of Way 3, we will speak of a mental type of seduction, more sensual than sexual, by F who aims at conquering the M-RA of the man toward which she feels physical attraction. In the case of Way 5, instead, the seduction will be explicitly and directly sexual. For a man who experiences a psychological fascination and curiosity for a woman, toward whom he will also grow a physical attraction and interest, there will be again two approach options. The first is physically seducing the woman with a targeted sexual approach (Way 4). The second is inverting the flow and addressing her as a friend and confidant, who understands and supports her, with a relational approach aiming at the creation of an affinity connection rather than of a sexual one (Way 6).
In short, Ways 1–2, by moving from the respective AAs of F and M, leverage upon the subject’s own direct reward and are thus characterized by a hedonic approach, focused upon the own pleasure of the subject who takes the initiative and that is centered, in the case of the woman, upon the emotional sphere, and in the case of the man, upon the sexual one. In Ways 3 and 4, the start is from the activated RAs and addresses the opposite sex partner’s RA, thus aiming at a double activation which literally assumes a sympathetic character. In Ways 5 and 6, finally, the start still occurs from the activated RAs, but now addresses the opposite sex partner’s AA, to obtain a response that ensures an interest from the latter, which is being directly rewarded, so that it persists in the interaction. We will therefore speak in this case of a strategic approach, in that the purpose of the subject who takes the initiative is that of binding the partner, while at the same time avoiding the test and the consequent risk of failing it. Figure 11 illustrates the scheme just presented. Between the hedonic Ways 1–2, Way 1 is characterized emotionally and Way 2 sexually. Between the sympathetic Ways 3–4, Way 3 is once more emotional whereas Way is still sexual. Finally, between the strategic Ways 5–6, Way 5 is sexual and Way 6 emotional.
Figure 11.
The driving elements in the 6 Ways, and the initiative lead by male (M) vs. female (F).
The difference between the starts from AAs and those from RAs is their implications in terms of the rewards that are produced. Starting the cycle from one of the AAs implies starting with a production of direct reward in the hemicycle of departure, in the absence of an additional indirect reward and with the RA in the same hemicycle still turned off. The activation of the latter will exclusively depend upon the behavior of the potential partner—and in particular upon the extent to which the partner will be willing to travel along his/her own half of the cycle. Starting from a RA implies instead the production of both rewards, direct and indirect, and this exposes to the risk of a TU before the partner gets tied-up in turn. In this case, therefore, choosing the ‘long’ path (Ways 3 and 4) means caring in the first place about the fact that the partner gets tied-up, even before stimulating the potential partner’s AA (‘short’ path), to amplify the production of indirect reward by the subject’s own RA (Ways 5 and 6). Ways 3 and 4 represent the ‘long’ paths because, in the case of the woman, she intends to stimulate M-RA to arrive to M-AA only afterwards, that is, to the sexual sphere that will produce the additional indirect reward she is craving, thus determining or reinforcing her own TU. Likewise, the man will target F-RA before moving forward to F-AA, which will eventually boost his indirect reward of an emotional nature, thus determining or reinforcing the male TU. The bigger risk that is implicit in this conduct is the possibility of a negative outcome of the compatibility test by the opposite-sex potential partner, which would jeopardize any possibility of a TU. On the other hand, if the test is passed successfully, there will be a concrete possibility that TU-C will be entirely travelled along several times, and that the D-TU that is necessary to its maintenance will consequently shape up. In the case of Ways 5 and 6, the short path leads, independently of any compatibility, to an immediate increase of one’s own indirect reward (sexual for the woman, psychological-emotional for the man), while at the same time substantially reducing the possibility of activation of the potential partner’s RA, and thus making it more difficult that the latter gets tied-up and that the TU-C actually starts.
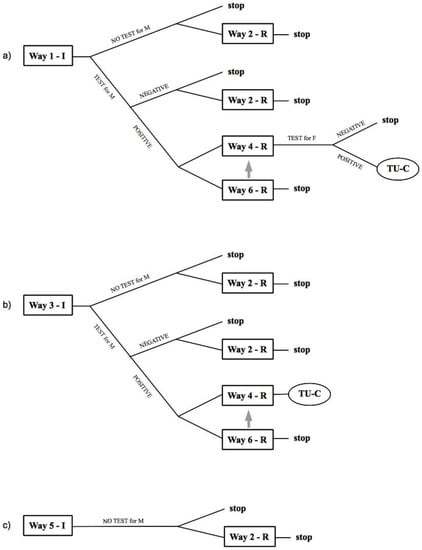
The complexity of the initial interaction dynamics in the launch of a TU-C cannot obviously be reduced to the Way chosen by the initiator subject who enters the cycle first. The start of a TU-C by one of the potential partners inevitably implies a response by the opposite-sex subject—in case s/he has an interest in being involved—who will in turn enter TU-C from an own, characteristic Way. We can thus identify two types of Ways: the one of the initiator, that we will call the Impulse Way (Way-I), and that of the potential partner who reacts consequently, that will be called the Response Way (Way-R). We obtain accordingly the interaction diagrams shown in Figure 12 and Figure 13.
Figure 12.
Interaction diagrams with an impulse by F. (a) F’s entry in TU-C from Way 1; (b) F’s entry from Way 3; (c) F’s entry from Way 5.
Figure 13.
Interaction diagrams with an impulse by M. (a) M’s entry in TU-C from Way 2; (b) M’s entry from Way 4; (c) M’s entry from Way 6.
From the viewpoint of the launch of TU-C, and thus of the possible creation of a long-term couple, Way-I represents only the first step of a dynamic interaction that can be depicted in terms of a tree diagram, and in fact it is the choice of Way-R that determines, to a large extent, the success or failure in terms of TU-C completion vs. breakdown. The presence of several points of arrest of the cycle, indicated with “Stop” in the diagrams, shows how the possibility to get into a dead end is more likely than it could be expected. For a woman who takes the initiative, the formation of a stable couple with the chosen partner only occurs in one and a half cases (that is, one case plus a further, specific sub-case), a much narrower range of opportunity if compared to the three and a half favorable cases that can occur if the initiative is taken by the man.
Let us now examine in detail how the interaction may unfold when it is F who enters TU-C first, from one of the positions Way 1-3-5 schematically represented in Figure 12. A F who starts from the position Way 1-I is in a situation of excitement of her own F-AA. She has found a M toward whom she feels an emotional attraction, in terms of admiration or appreciation of some personal characteristics such as personality traits (kindness, amiability, moral integrity etc.), talents (intellectual brightness, creativity, professional skills etc.), resourcefulness (wealth, power, etc.). Even the fact that the man is the object of special attention by other women, who are considered a valid benchmark in some capacity, may in some cases spark interest. These factors, if attractive enough for F, may fuel an emotional excitement which, irrespectively of the physical traits or looks of M, will provide a level of direct reward for F large enough to prompt her to activate her F-AA toward M, to amplify such reward as much as possible. When F-AA addresses M-RA on a psycho-emotional level, following the natural direction of movement along TU-C, it will likely end up activating the psychological compatibility test by M, which as we know is generally unconscious and automatic. However, such test could also fail to be launched if M quickly leans toward a sexual appreciation of F, intentionally disregarding the emotional level, and thwarting the very possibility of a psychologically-driven interaction. If M does not carry out the test, there are two possibilities. Either M refuses the Way 1 approach by F and does not enter the TU-C at all, so that the latter aborts even before the start (Stop), or he enters TU-C from a Way 2-R position, engaging F on a sexual level of interaction. Also in the second case, in the best hypothesis that F successfully carries out her biological compatibility test on M and consequently activates her F-RA, thereby accepting M’s sexual approach, the breakdown of TU-C is only a matter of time, and will depend on the speed of decay of the peak of direct reward enjoyed by M. If instead M starts and completes his test of psychological compatibility on F, there are again two possible outcomes. If the test is negative, as above, M will not enter TU-C or will enter it from a Way 2 position. If conversely the test is successful, M will feel a psychological and emotional attraction for F. This is the only path that opens a possibility of a solid launch of TU-C, provided that M enters the cycle through an appropriate Way.
AA and RA, as already remarked, correspond to two different relational dimensions for each sex: The sexual, and psycho-emotional ones. The initiator of the TU-C, depending on the chosen Way-I, implicitly opts for one of them. For an appropriate deployment of TU-C, each dimension may accommodate only one TU, that is, the one of the initiator or that of the respondent. Ruling out the cases where the initiator acts upon a different dimension than the one onto which s/he previously tied-up (that is, the cases Way 4-I and Way 3-I), to have a stable TU-C it is necessary that, whatever the dimension that corresponds to the chosen Way-I, Way-R responds onto the opposite one, to pave the way for the second TU, which is indispensable to the launch of TU-C. If therefore Way-R remains on the same dimension as Way-I as in the case of Figure 12a, where Way 6-R responds to Way 1-I, the only possible unfolding will be a Stop. If indeed F moves from Way 1-I, acting on the psycho-emotional dimension with a non-activated F-RA, the only effective response for M, to keep a concrete possibility of TU-C open, is that of tying-up himself first onto the same dimension of Way 1-I, to subsequently provoke the Tie-Up of F by switching to the opposite dimension, that is via a sexual approach from the position Way 4-R. In the case of Way 2-R, we likewise have a switch to the opposite dimension, as M moves to the sexual dimension to which F is sensitive, thereby creating the conditions for F to tie-up, but in the absence of M-TU. If instead M, as the consequence of a successful psychological compatibility test favored by Way 1-I, gets tied-up and enters from the position Way 6-R without moving to the opposite dimension, he will remain the only one to be tied-up, that is, will experience a one-sided attraction, whereas F will feel perfectly fulfilled by the intense friendship relationship with M. On the other hand, in the position Way 6-R, M has already gone a long way down the approaching path to F, and thus, in this condition, he could venture into a change of Way, shifting from Way 6-R to Way 4-R (as indicated by the grey arrow in Figure 12a), with the consequent, necessary change of dimension of interaction.
When, to the contrary, F enters TU-C on a sexual dimension, this is the case of Way 5-I (see Figure 12c). In the absence of manipulative intentions by F (a case that we rule out here), her F-RA will be activated, and possibly F-TU could have occurred already. Now, M has simply to choose between two possibilities—accepting the sexual offers of F, or not. This kind of entrance into TU-C by F does not induce any compatibility test by M, and does not reach out to his M-RA. If M responds, he will do it onto the same dimension with Way 2-R, without shifting to the psycho-emotional dimension, not having previously matured an interest toward F yet. Consequently, there will be no possibility of completing the cycle, and TU-C will break down before the start. In the Way 2 position, M has no incentive to shift to the opposite dimension, and likewise for F in the position Way 1, for the simple reason that their RAs have not been previously activated, and therefore they have no drive to go for an indirect reward, being already fully gratified by the direct rewards generated by their AAs. In such situations, TU is precluded.
In other words, for TU-C to take place, Way-R may respond on the same dimension of Way-I only if the initiator subject is already tied-up on the opposite dimension. If this is not the case, for TU-C to be launched, the respondent subject must switch to the opposite dimension with respect to the one that is characteristic of Way-I. For this reason, the role of the respondent is crucial, in that s/he has an opportunity to correct any TU-C setup errors by the initiator. The subject that initiates by moving from a Way-I that is relatively unfavorable to the launch of TU-C, for instance F in a position Way 1-I, will call for a very precise response by M, namely, in our example, Way 4-R—an effective seduction of F in the context of a pre-existing male, emotional Tie-Up. Any other response by M would jeopardize the possibility of a D-TU.
In the case of an entry by F in a position Way 1-I, instead, it’s she who now has a turned off F-RA, but acting on a psycho-emotional dimension with the consequent stimulation of M-RA, she can induce the test by M. The same happens for position Way 3-I, with the difference that in this case F has already carried out with success her test on M, so that, if also M’s test on F succeeds (and in the absence of external obstacles, that we do not consider here), TU-C will be safely launched with no need for further preliminary moves. Both in the case of Way 1-I and Way 3-I, it will be necessary that M switched to the opposite dimension, moving from the emotional to the sexual one, and this may happen directly by entering from Way 4-R or, if the initial response is from Way 6-R, by subsequently moving to Way 4-R, as indicated by the grey arrow. Remaining in Way 6-R would preclude the launch of TU-C.
When it is M who takes the initiative, his approach will be sexual in two cases out of three (see Figure 13). In fact, positions Way 2-I and Way 4-I are very similar and may be a source of confusion, if not for the fundamental difference that, in Way 2-I, M-RA is not activated, whereas in Way 4-I it is. In Way 4-I, M has already chosen his partner, and is proposing to her to launch the TU-C (Figure 13b). In this case, if the biological compatibility test is successful (and there are no external obstacles), M now faces a safely successful path, independently of the Way-R from which F enters the TU-C. For M in Way 2-R, however, the goal is not the launch of TU-C, but there is a possibility that F, from a Way 3-R position, manages to induce M’s psychological compatibility test and to activate his M-RA. If this is the case, the TU-C will be launched even starting from a Way 2-I position. That is, M will be unintentionally but successfully involved on the psycho-emotional dimension because F has skillfully managed to switch the dimension of interaction on which Way 2-I took the lead. If on the contrary M does not approach F sexually, and enters from Way 6-I (see Figure 13c)—for whatever reason, and not necessarily due to M’s lack of confidence as to the sexual prowess of his M-AA—and so, if M keeps himself clear of a close physical reach by F, maintaining a normal level of relational distance, he will not create favorable conditions for F’s biological compatibility test. F will then simply feel gratified by M’s attentions, and will appreciate the pleasure of interacting with M on a psycho-emotional dimension, only enjoying a direct reward, whereas her F-RA will remain turned off, and any possibility of a TU-C will be ruled out, even if M-TU has already occurred.
M could enter the TU-C from a Way 6-I position because his RA has been stimulated by a woman toward whom he is developing a psycho-emotional interest of some sort, and this position allows an approach to F that does not entail the risk of an immediate Stop. Such a risk would be incurred instead by moving from Way 2-I or Way 4-I. The Way 6-I move thus enables M to safely carry out his test of psychological compatibility on F, taking all the time needed. However, if M is already tied-up or gets tied-up meanwhile, and persists in Way 6-I because he feels insecure, he will have no chance to arrive at TU-C unless it is F that shifts the relationship to the opposite dimension and thus takes the sexual lead herself, responding from Way 5-R. This situation, however, requires in turn that the biological compatibility test by F has been already carried out independently of M’s initiative and that, in the case of success, F does not enter TU-C from Way 3-R without shifting to the opposite dimension, that is, with F still waiting for M to make the first move in sexual terms. If, in this circumstance, F does nevertheless enter from a Way 3-R position waiting for M’s move, in fact, this means that she is selecting a M with clear masculine characteristics, and will tend to exclude those potential partners who lack a strong enough capacity of initiative.
The cases of flow inversion, Way 5-I and Way 6-I present, in terms of the interaction diagrams, a disparity of possibilities that sees F at a disadvantage with respect to M in taking the initiative to launch the TU-C—the diagram in Figure 12c is the only one without any branches leading to a TU-C. This asymmetry is explained as follows. In the diagram of Way 5-I, there is no chance for M to carry out the test of psychological compatibility on F, whereas in the diagram of Way 6-I the possibility for F to carry out the biological compatibility test on M is contemplated (compare Figure 12c and Figure 13c). The key feature that differentiates the two cases, that should apparently be totally analogous for the two sexes, is the role of the sexual intercourse, which is contemplated in the Way 5-I case, but not in the Way 6-I one—at least until the respondent partner carries out her test as well. The sexual intercourse precludes the psychological compatibility test for the man, in that he, once reached the peak level of his direct reward, will have no incentive to carry out such test, and will rather seek new sources of direct reward. The psychological nature of the male compatibility test and the physical nature of the sexual intercourse may thus cause an experimentation tradeoff for M, which might prevent M’s test on F from happening. Specifically, if M reaches the peak level of direct reward through the intercourse before being induced to carry out the psychological test, his strongly stimulated M-AA will reinforce his propensity to look for further direct (and thus physical) rewards, rather than shifting the exploration to a psychological level in search of indirect rewards associated to the currently unstimulated M-RA, and the test will not take place. On the contrary, for F the physical nature of both the biological compatibility test and the sexual intercourse implies that the latter inevitably paves the way to the former, had the test not previously been completed already.
6. Fictional Narratives as a Social Cognition Laboratory of Mating: Hollywood Romances
The interaction schemes described in the previous section are to be considered as a basic classification of the possible impulse-response configurations between partners, as generated by the functioning of the AAs and RAs in the absence of major interfering factors of external (circumstances, obstacles etc.) or internal (ulterior motives, manipulation, deceit, etc.) nature. In a realistic interaction context, certain external forces might restrict, and in the limit even force or tweak, a certain behavioral response in a certain situation. For instance, there could be misunderstandings as to the identity of the subject of a compatibility test, or motivational problems with the acceptance of its outcome, and so on. Or it could be that the subjects themselves are prompted by a more complex intentionality, such as purposeful manipulation, which would make the interpretation of the signals by the potential partner particularly difficult. This could lead a subject to perceive as real a Tie-Up situation that is in fact only simulated—just to exemplify one of the most common occurrences. The possible variants and complications that may emerge through the action of any kind of internal or external factors are practically countless, and it is for this reason that fictional narratives can be regarded as an inexhaustible pool of social cognition resources for mating-related issues. An interesting narrative will not limit itself to a mechanical reproduction of the schematic unfolding of a certain interaction dynamic. It will explore the consequences of all kinds of external and internal perturbation factors on the eventual outcomes, as implicitly compared with the ideal ones that would emerge in the absence of disturbances. The more such variants will be able to draw attention upon relevant, and at the same time scarcely explored situations, the higher their knowledge value, and thus the interest they can command. On the contrary, an entirely foreseeable unfolding of a certain narrative situation will only be rewarding from the point of view of the momentary confirmation of the audience’s preexisting knowledge and expectations. Its limited socio-cognitive value added, however, will likely cause a quick fading of the audience’s interest through time.
In this section, we will analyze some examples of Hollywood narratives focused on an eudaimonical treatment of the dynamics of couple formation. The chosen movies all belong to the small league of universally renowned and celebrated cinematic romances, one for almost each decade from WWII onwards. All these movies have maintained their interest and meaningfulness for contemporary audiences, so that each of them can be safely said to occupy a distinctive place in the cinematic collective imaginary of our time. Therefore, despite any choice of a small number of movies may inevitably sound arbitrary to some extent, our pick can be taken as representative of the ‘narrative benchmark’ of the Hollywood romance repertoire, as it has been shaped up by audience response and inter-generational transmission in the past few decades. Further analysis on more case studies is obviously called for, but the present sample may be considered as a legitimate point of departure. Each of the chosen movie narratives will be analyzed by means of our theoretical framework. Specifically, we will reconstruct in some detail the main insights on the social cognition of mating that are contained in the narrative unfolding of each chosen movie, and will discuss to what extent such insights can be rationalized in terms of the implications of our theoretical framework.
We will show how, on the one hand, the fundamental structure of all the chosen movies is always traceable back to one of the interaction schemes presented in Figure 12 and Figure 13, and on the other hand how, in each case, the story’s unfolding yields some surprising developments or twists, which are however still interpretable as specific variations of a certain reference interaction scheme. To be appreciated in its cognitive valence, a fictional narrative must offer a reasonable perspective on the deep reasons that pull the potential partners to choose, in given circumstances, a certain mode of interaction rather than another. At the same time, though, the story must also account for the meaningfulness of the internal and external ‘perturbations’ that are introduced in the specific interaction scheme at play, avoiding to call upon artificial or implausible solutions that undermine the socio-cognitive value of the narrated situations. In this regard, we can consider the chosen Hollywood movies as socially validated sources of collective, narrative-based learning on mating-related issues. Their vast, durable social appreciation is the recognition of an effective co-evolutionary tuning between certain narrative situations, which have struck a chord of the collective imaginary and have thus been crystallized as timeless cinematic topoi, and a deep structural layer of actual mating behaviors. This qualifies these ‘movie classics’ at the same time as narrative models of strategic wisdom on real life mating situations, and as encyclopedic repertoires, narrative condensations of the social rumination of countless real life experiences across the generations.
6.1. Gone with the Wind
Among the Hollywood romances selected for our analysis, we start from the less recent one, Gone with the wind (1939). This movie has stably maintained in time a capacity to attract and fascinate several generations of viewers, with its description of a troubled, wavering couple relationship, which offers a wealth of cues to understand the complexity of the factors that enable the formation of a couple, that prevent its creation, and cause its dissolution. That between Scarlett O’Hara and Rhett Butler is thus probably one of the most globally renowned romances which, however, conceals an example of a D-TU that does not lead to the proper formation of a long-term couple. The major cause of a TU-C failure is ordinarily the existence of only one (unilateral) TU instead of two, that is, the fact that one of the potential partners is not tied-up. In this movie, however, despite that both characters get tied-up to the other at some point, so that a D-TU is realized in the couple, TU-C fails nevertheless. The specific problem that emerges in the relationship between Rhett and Scarlett is that their TUs are badly synchronized.
To understand better, let us start from a classification of the characters in terms of our interaction schemes. Rhett—the partner who gets tied-up from the beginning, already at the first meeting—provides a typical illustration of a M that enters first into the TU-C from a Way 4-I position. The fact that he is a consummated playboy should not lead into thinking of a case of Way 2-I, because Rhett represents the man who chooses his female partner under the impulse of his RA, and not of his AA. Even in the case of his habitual lover, the maitresse of the local brothel, it is clear how Rhett’s attraction is based upon a mental rather than physical predilection, which is driven by a sense of affinity and by a psychological correspondence. Scarlett is beautiful, but what intrigues the shrewd tombeur-de-femmes is not just her looks, but rather her capricious vitality, her bold and somewhat childish obstinacy, her coquettish but persistent astuteness that she intentionally cultivates to manipulatively secure the objects of her desires to herself only.
Once a Way 4 gets tied-up, he moves from the psycho-emotional dimension that is proper of M-RA to the sexual one of M-AA, that is, he strives, with a correct physical approach, to get F tied-up in turn in her F-RA; see the diagram in Figure 13b. This is the classical basis of most romances, because from a female viewpoint Way 4-I represents the man who gets in love first, and thus gets tied-up gratifying F-AA—and whose sexual approach, which instead gratifies F-RA, is not entirely instrumental to the sexual intercourse goal. In this case, therefore, the tied-up man (M-TU) exposes himself (Impulse), leaving to the woman the final choice (Response), which in the case of a favorable outcome of the biological compatibility test will normally lead to the second Tie-Up (F-TU). This guarantees F to enjoy both available rewards—the indirect, sexual one, and the direct, emotional one. Moreover, as the male lead character of this kind of movies is always the bearer of a highly valuable genetic endowment, there is no doubt about the outcome of the female test, so that the possibility that the second F-TU takes place is practically certain. In the theoretical structure of the model, in the diagram characterized by Way 4-I (Figure 13b), if the test is successful the optimal completion of a possible TU-C is equally likely, independently of the fact that F responds from a Way 3-R or a Way 5-R. However, Scarlett enters the TU-C proposed by Rhett from an anomalous Way 1-R position—an option that is not contemplated in the appropriate diagram. This can be seen as a clear example of the potential of stories in exploring the perturbations of the best-known interaction schemes, to evaluate their consequences and to acquire useful information for the interpretation of the manifold possible situations that occur in real life. The fact that the choice of Way 1-R by Scarlett proves to be destructive from the viewpoint of the stability of the TU-C, functions as an indirect narrative validation of the interaction scheme presented in Figure 13.
However, let us examine the story in more detail and let us try and understand what turns on Rhett’s M-RA, and why he gets tied-up. Scarlett is naïve and malicious at the same time. She is convinced that all is due to her, but behind her extreme selfishness and a remarkable amount of immaturity—a bundle of personality traits which, in that historical and social context, would likely discourage any sensible man from marrying her—Rhett perceives an uncommon strength and firmness of character, matching other unsuspected qualities such as courage and persistence. He can read through her, easily peeking into the un-expressed thoughts and motives behind her bodily, visual and verbal language, and this is not only funny to him, but deeply intriguing. Rhett does not feel esteem for Scarlett, and this is part of the seduction because he is aware that he can conquer her by skillfully playing with her childish greed. For Rhett, Scarlett has the fascination of a rebellious prey to capture, tame, and pamper. The psychological compatibility that Rhett feels to have found in Scarlett is their similitude, an irresistible promise of complicity: “I love you, Scarlett, because we are so much alike, renegades, both of us, dear, and selfish rascals. Neither of us cares a rap if the whole world goes to pot, so long as we are safe and comfortable”. And he is not wrong at all in his judgment. Scarlett will prove it when the war will take everything away from her but the land, Tara, the family estate that she will ragingly defend until the end, eventually bringing it back to its past splendor. Conflicts, hardships, deaths, hunger and poverty will not suffice to wreck her, and when she will become an entrepreneur, putting to profit the company of her second husband, married for mere financial interest, Rhett will be proudly pleased and more infatuated than ever, once again witnessing the closeness of their world views, and the perfect fit that they would make as a couple.
Scarlett, however, does not seem tied-up to Rhett, and constantly escapes his attempts to involve her into a TU-C. She eventually surrenders to marry him, but simulating her Tie-Up from a Way 1-R position, in a purely instrumental condition of manipulation of a M that attracts her F-AA for his wealth and his offer of protection and social respectability. The reason why Scarlett does not get tied-up to Rhett is that her F-RA is already turned on for the noble Ashley Wilkes. She obstinately and passionately declares to love him already from the movie’s early scenes, even after Ashley’s happy marriage with the gentle, submissive Melanie (a sort of dialectical opposite of Scarlett). Certainly, Scarlett’s personality traits play a key role in her stubborn fixation for the only object of desire she cannot secure to herself: The man who prefers another woman to her—and this raises a legitimate doubt as to the actual existence of a proper Tie-Up of Scarlett toward Ashley. The latter does not seem to possess personal traits that may lead us into thinking he could balance or simply stand up to Scarlett’s exuberance. He is a weak, dreamer, idealist man who does not discourage Scarlett entirely, as if he felt pleased by such an insistent, passionate courtship. However, he is undoubtedly tied-up to Melanie, and this becomes clear when he says: “She’s like me, Scarlett. She’s my blood and we understand each other”—a sentence that sanctions their profound union. Ashley has already indisputably found his ‘other half’, and therefore Scarlett has no chance to break their bond. The Tie-Ups between Ashley and Melanie are strong and constantly maintained in both directions, and this is the torment which feeds the self-centered obsession of Scarlett, who feels challenged in her capacity of seduction and becomes therefore convinced that Ashley cannot but love her. This rumination literally distracts her from the perception of her compatibility, not psychological but biological, with Captain Butler. The kisses between Scarlett and Rhett have become a cult, and the slap she gives him after the first one is certainly the signal that the indirect reward produced in Scarlett’s RA has put her AA into crisis. However, Scarlett does not become aware that she is not sexually indifferent to Rhett, because she is obsessively intent into other matters. She is so accustomed to use physical attractiveness as a tool to get from others what she wants, to become unable to understand or interpret her own bodily signals as indicators of a biological compatibility. Therefore, Scarlett does not realize the reasons behind the indirect reward she experiences. To some extent, she misunderstands the indirect reward that is consequent to Rhett’s approaches for the direct reward that prompts her, in the occasion of their second, passionate kiss, to accept to marry him. She believes that her excitement derives from the thought that, by getting married for the third time, she will become even wealthier, without pausing to think how much she really liked that kiss. Here is an example of how biological compatibility does not necessarily imply the woman’s TU. The right emotional context is called for, because for the woman, sex is the switch that links physicality to emotionality. If the body is not responsive to the emotion, the TU fails. It is not enough, therefore, that RA gets activated, but it is also needed that AA can recognize the signals coming from RA, as well as to interpret and adjust to them accordingly. And in the end, this is Gone with the wind’s main theme from the viewpoint of the social cognition of mating: The mistakes in the interpretation of the signals coming from her F-RA lead Scarlett to lose the propitious moment for the launch of the TU-C with the partner fit for her, and together with whom she is even engaged in a D-TU, albeit badly synchronized.
In the interaction diagrams, as depicted in Figure 13b, we are in the situation where the biological compatibility test is successful but F, instead of entering from Way 3-R or Way 5-R, that is, the consequential options after the test has been carried out with a positive outcome, responds with an anomalous Way 1-R, not contemplated in the diagram. Way 1-R is not a plausible option in this phase of the interaction, because one assumes that, once successfully completed the biological test, F-RA starts to function to induce a Tie-Up, which will sooner or later occur. Way 1-R, however, neither entails any test nor an activation of F-RA, and therefore no F-TU. The anomaly consists in the fact that, in this case, F confounds the signals, and in fact acts by totally ignoring her F-RA’s activation.
Rhett and Scarlett get married, but she is not tied-up. He shamelessly pampers her, hoping to focus her attentions upon himself. A child is born, but Scarlett is still not tied-up and, worse, keeps on thinking of Ashley, without even caring to conceal it. Rhett’s frustration starts to undermine his TU, because it is M-RA that is under stress. The man-woman complicity that Rhett imagined possible with Scarlett, and whose prospect was at the root of his Tie-Up, looks ever more difficult to achieve, in the face of the evidence that his wife persists in cultivating her desire for another man. The frustration of Rhett’s indirect reward adds up, after the birth of the child, to the frustration of his direct reward, in that Scarlett decides that she doesn’t want more children who would compromise her silhouette, and consequently sexually refuses her husband. Rhett, already offended in his feelings (M-RA), and now also in his masculinity (M-AA), reacts through the impulse of his M-AA. He gets drunk and goes for marital sex, putting for once his will forward rather than accommodating her desires. And it is now that Scarlett, at last, gets tied-up. For the first time, the conventions of marital duty, and the manipulative pretense that goes with them, are superseded by an experience of spontaneous sexuality in an unplanned circumstance—as such, deeply perturbing for her F-RA. The fact that this is made possible by Rhett’s drunkenness does not have here a connotation of abuse or of domestic violence. It rather functions as an expedient to overcome the inhibitory barriers and finally communicate to Scarlett the visceral character, sexual and emotional at the same time, of Rhett’s passion for her. However, if an intense sexual experience may cause a woman’s Tie-Up, it cannot however make a man tied-up (again). Therefore, Rhett’s TU remains broken, so that, the morning after, having regained his mental clarity, he announces to Scarlett his intention of divorcing her, and to bring his beloved daughter along with him. Scarlett reacts with pride and protests, but she does not do the only thing she ought to at this point—sending to the man she is tied-up to a strong, unambiguous signal that can turn on once more his RA, bitterly frustrated by so many delusions. Unfortunately, Scarlett is not aware of what has happened to her the night before. Some time is often needed to realize one’s own TU, and she only thinks that he is determined to spoil that idyllic atmosphere, spitefully nagging her finally reconquered good mood, offending her self-esteem and moreover cursing at her. Such a train of thoughts makes Scarlett upset, and causes an escalation of the competition with Rhett for their daughter’s affection. This first separation is painful for Scarlett, because this is the first time she is tied-up for real, but her strong pride and the anger from being pregnant again do not allow her to admit how badly she misses him. Thus, when the husband returns home, because their daughter feels nostalgic for her mother, things go from bad to worse, and the lack of harmony between them materializes into a series of incidents and disgraces which devastate Rhett, whose TU gets irreparably broken.
With Melanie’s death, and with the vision of Ashley desperately mourning the death of his only love, Scarlett eventually realizes the depth of the couple’s union. She now knows she’s always been extraneous to Ashley’s true feelings, and should feel unbearably upset, raging and desperate as a consequence. However, to her surprise, Scarlett discovers to feel nothing of that sort—to the contrary, she feels nothing at all. This is the very moment when she becomes tardily aware of her TU for Rhett. However, it is way too late. When Scarlett reaches for him, and tells him she now knows she loves him, he replies: “That’s your misfortune”, and leaves her while she desperately begs him: “If you go, where shall I go? What shall I do?” Rhett’s famous reply leaves no doubt: “Frankly, my dear, I don’t give a damn”. “That’s your misfortune” is the answer of someone who knows well the sorrow of a unilateral TU, the suffering of an unrequited love, the frustration of the intimate dimension (for M, his M-RA) where one would like to feel affectively safe, understood, loved, and with a peaceful mind. “I want peace. I want to see if somewhere... there isn’t something left in life of charm and grace”: This is the unmistakable statement of intent of a no longer tied-up male character.
6.2. The Long Hot Summer
The main theme of The long hot summer (1958), a Faulkner-inspired, intense cinematic representation of the American Deep South at the end of the Fifties, is the importance of having an offspring, and what parents expect from them. Much depends on fathers, and for Will Varner, the undisputed master of a small Mississippi town, where he owns almost everything—land, businesses and even the local bank—his offspring stands for a guarantee of survival of his dynasty and for the implied, consoling prospect of immortality. This is all the truer after his recent hospital surgery, which has made him ponder the necessity to cope with aging and with the inexorable march of time. He too is vulnerable—a man proud of his own strength, of his capacity to overcome and dominate everything and everybody, even at the cost of passing for a despot. The psychological cost of his bullying is mainly born by his son Jody and his daughter Clara. Will vainly longs to recognize in them a reflex of his own dominance. Moreover, they are both disappointing him by failing to hand in any grandchildren yet. Will nags them, with his rude parental authority, without bothering about their feelings, especially those of his son who, having a nature much unlike his father’s, feels despised and un-loved, as all his requests for affect and attention are interpreted by his father as confirmations of his weakness and lack of temper. Clara is stronger and more obstinate, and his father admires her for her smartness and finesse, but although she has style and charm, she is unfortunately still not married despite being already 23, whereas her late mother accepted Will at the age of 19. Also for Clara, her father seems to pay no interest to her point of view, namely, that his daughter, conscious of her value and qualities, is not willing to give herself away to the first suitor only to get married as soon as possible, with neither love nor dignity.
Being Jody happily married already, Clara will be the character who provides us with interesting insights on how a proud woman, incited to get married for the mere sake of procreation, may eventually get tied-up. And we’ll see, moreover, how a man, who has been given a once-in-a-lifetime opportunistic chance to get rich by marrying the heiress, may nevertheless get tied-up in turn. The movie clearly points to a romantic happy end, but what is of interest to us is the storyline chosen by the screenwriter to arrive at the sincere mating of the main characters, and the extent to which this process neatly reflects into the logic of our theoretical framework. Let us start once again from a classification of the main characters in terms of their Ways, that is, of their individual entry points into the TU-C, to correctly single out the type of strategic interaction that will take place between them. Will, the father, is the real external initiator of the TU-C, which can be metaphorically be regarded here as an arena into which the two main characters are unwillingly cast. Clara is a typical, appropriate exemplification of Way 3, and she is right in feeling offended by the fact that his father wants to ‘sell out’ her to the first suitor/fecundating male around, who moreover does not even have a good reputation to accompany him in his restless wandering. He is Ben Quick, a penniless vagabond, constantly on the fly, apparently unprincipled, and with a solid experience of survival tactics and opportunistic hacks. In his approach to women, he is a Way 2. Will Varner has promptly identified himself in the shameless slyness of the young man, and he says to him: “I’ve been watching you. I like your push. I like your style. I like your brass. It ain’t too dissimilar from the way I operate. You’ve been here a few days, you’ve gone up an inch. That’s ’cause you listen to me… You’re a shrewd boy”. Will needs a figure like Ben, not as a subordinate handyman, but as an active member of his own family. Will’s goal is Clara, finding a right husband for her, and for Will, the fact that his son Jody may feel jealousy for the newcomer who has snatched his father’s attentions away from him, is an extra motive for pushing him to fight to defend his filial privileges. This is what the father thinks—and in his own way, he shows love to his offspring by pushing them to embrace what is, in his judgment, the right way of living. However, Clara has got Ben’s attention well before Will shares with the young man his intention to combine the marriage. For the predatory attitude of a Way 2, Clara, proudly resistant and endowed with an acute wit in a young, attractive body, represents an interesting challenge. Ben is less intrigued by Eula, Clara’s sister-in-law and Jody’s wife, who is always close to Clara and more docile, physically seductive, and presumably more inclined than Clara to enjoy the benefits of her position. What basically ignites Ben’s Way 2 is that Clara, during their entirely fortuitous first meeting, treats him with contempt, despising his brave, masculine attitude which instead fascinates Eula. Clara has screened him with one glance, immediately recognizing a masculine type which she finds painfully familiar. Ben, on his side, will admit, referring to her: “it’s the holdout that challenges me”.
Clara, then, withstands both his father and Ben. Their relationship is a triangle whose dialogue is based upon measuring up one another’s strengths and failing to desist, never conceding or surrendering. Ben feels attracted because he sees in Clara his same resolution, following the same logic that has led him and Will to like each other. The challenge immediately becomes a matter of conquest, for a self-confident man who naturally addresses in active terms a woman who intrigues him, on a purely sexual level. Ben starts his approach toward Clara, without any concealment, by shamelessly offering her to hide away together in the bush to feel the real life’s pleasures—a proposal that Clara finds obviously outrageous. The direct gratification that a man gets from his masculine statement of sexual dominance does not equally please, at the direct level, a woman who finds little happiness in realizing that her emotional identity is entirely disregarded. Ben is the one who provides the initial Impulse to an unlikely TU-C. He approaches Clara exclusively through his M-AA, without any involvement from M-RA, that is, from a Way 2-I position as described in Figure 13a, whereas Clara immediately takes the first branch of the diagram that leads to a Stop.
On the other hand, Clara’s scornful denial excites Ben even more, as he is galvanized by opposition and difficulty. Ben thus forces their physical contact with a kiss, and even shows off his amusement at pre-announcing it, like a challenger declaring his victory to the rival before the clash even takes place, to preempt any resistance. Clara has two reactions: A slap before the kiss, which is her response to her feeling insulted, and an insult after the kiss, which is the equivalent of a slap. However, let us analyze the situation in more detail. Ben gets close to Clara and tells her: “You put them things down, miss Clara, ’cause I’m gonna kiss you”, taking away her purse from under her arm and her jersey from her shoulder, adding: “I’m gonna show you how simple it is. You please me, and I’ll please you”. Ben is using a language that directly expresses the impulse coming from his M-AA, targeting Clara’s F-RA. As soon as Ben makes one step forward, Clara slaps him in a dry, resounding way. Clara’s F-RA has been turned on, and this causes a sudden, anomalous emotional wave in F-RA, that violently pours over F-AA, creating a sensation of panic and prompting an instinctive physical response. This would be the typical slap that follows an intense, uncanny kiss, but having Ben pre-announced the action, the effect has anticipated the action itself. This reaction here means that F-AA, unexpectedly and powerfully provoked by F-RA, feels the need to react in some way, and taken by surprise quickly decides to opt for a defense. Clara reacts to the agitation as if to a grave offence, confounding the inner turmoil for a bout of indignation. In the diagram, Clara has now taken the descending branch of the test of biological compatibility with Ben.
Ben has experience of feminine psychology and thus, after a fraction of a second of surprise, laughs and keeps on moving towards her, saying: “Oh, I know what’s troublin’ you […]”, revealing he has clearly figured out the activation of Clara’s F-RA, that is, the confirmation of having hit the target. Ben kisses her, and Clara does not repel him. She ardently reciprocates, to admit immediately after, lowering her eyes: “All right. You proved it, I’m human”, and Ben replies, firmly looking at her: “Yes ma’am, you’re human all right”. The compatibility test has been successfully completed. And now comes the insult: Clara lifts her eyes and, with a resentful stare, calls him “barn burner”. By evoking the social stigma that haunts him, Clara has reached for Ben’s weak point, and her reply hurts Ben more painfully than a slap. If the first slap sprung from an emotional turmoil, the second, metaphorical one is not equally offhand, but is carefully designed to hurt him, paying back Ben (and, specifically, his M-RA) at the emotional level for his offense at the sexual level (that is, targeting F-RA). Ben cannot but acknowledge he has been inflicted an emotional wound, and this is infuriating for him. His advantageous strategic position, that he believed he could safely control, has instantly melt down, with a single, simple word that contains all the psycho-affective tragedy of his life: His being the son of a pyromaniac, whose infamous title he has tragically inherited.
The male sexual approach in a Way 2-I position does not at all imply an emotional involvement: For Ben, the challenge lies in making the girl fall for him, thus causing a F-TU, simply to tame her, to show who’s the stronger one, to be able to dominate her will thanks to his ability in finding out her weaknesses, and to exploit them for his goals. Clara, who is equally intelligent and has instinctively anticipated his intentions, has met the challenge, astutely moving from the sexual to the emotional level, in a Way 3-R mode—in this case, however, an anomalous one, in that its purpose is one of defense/attack rather than of seduction. She has thus directly hit, on the opposite side of the TU-C diagram, Ben’s M-RA, that is, the area where his deepest psychological vulnerability is located. In terms of social cognition, the element of interest does not consist here in perturbing the diagram’s structure, but rather in going through it as it is, but with a different purpose than the usual one. Clara is not willing to enter the TU-C, but she actually jumps into it from a Way 3-R position, because unwillingly, with the kiss, she has biologically tested Ben and has tied-up. At this point, she uses Way 3-R with a purpose that is opposed to the seductive one, with the specific goal to deeply hurt the man who has opened a gap in her defenses. Without an awareness, Clara instinctively moves from the sexual sphere of Ben’s Way 2-I to the psycho-emotional one of Way 3-R, simply because she is searching for his weak point, and thus not with the intent to go through Ben’s psychological test to invite him into the TU-C. However, as a matter of fact, by resisting him, this is what she actually does.
It is a mistake to conclude that Ben gets infuriated for merely having been called “barn burner”: This is clearly explained at the beginning of the movie, when he shows no reaction to the same insult received by a group of men, to whom he replies with a superior, impassible calm. Ben is now used to that insult, and to those who try and offend him in that way. However, with Clara, he literally rages with fury, and for a specific reason—because he has not won over her, because she did not let him dominate. Consequently, when shortly after Will Varner proposes to him to become his son-in-law, in exchange for a rich lifelong revenue and much more, he shows an immediate interest. His motivation is neither just an economic return, which clearly is attractive—and with regard to which, however, Ben quickly sets things clear: “Just what do you think you’d like me to do… if you was able to make me do it?”—nor a hypothetical love feeling or a simple attraction toward Clara. What moves Ben is an opportunity of revenge against the young woman, the possibility to compete once more in terms of strength, even if this time what is at stake is no longer a mere F-TU, but the fearsome “I’ll be damned” marriage. What a triumph to force the proud Clara to a combined marriage, or better to be literally sold by her father, and managing to make her capitulate in this way! The direct reward that Ben gets from this prospect is much bigger than the frustration of losing his freedom, in that this would be for him a landslide victory on the F who challenged him. What Ben is not aware of, because Clara has concealed it very well, is that with the kiss she got tied-up. Clara’s Way 3-R position is therefore real because of the presence of F-TU, but Ben does not realize that she is dragging him toward a new branch of the diagram that leads to M’s psychological compatibility test. For Clara, pride is her safety, in addition to being the fruit of her intelligence, and managing to convince her to accept the marriage will not be easy even for the able, expert Ben Quick.
TU is certainly painful if external to a TU-C, within which it would be fed by a give-and-take flow of rewards. However, Clara knows what she does not want and is ready to resist, even if her F-TU, still currently one-sided, makes her suffer. At the beginning of the story, she tells Ben: “I’ve spent my whole life around men who push and shove and shout… and think they can make anything happen just by bein’ aggressive. I’m not anxious to have another one around the place”, meaning she’s had enough of the experience with her despotic father not to repeat it with another man. She is not willing to yield and submit, and despite the biological compatibility with Ben is certain by now, she, who has withstood her father as best as she could, has no intention to surrender to a man who is his exact copy. The best defense is flight—it is looking for support from the longtime friend Alan, and asking him a façade marriage that lends her a way out of the situation. This amounts to a forcing of the configuration Way 6-I + Way 1-R (see Figure 13c), in the sense of an emotional friendship without a sexual rooting. Clara does not love Alan and is obviously not tied-up, but she esteems him and expects to receive from him as much esteem, respect and consideration. However, he remains physically at a distance—the story lets us figure out that he is gay and thus, in turn, not tied-up—and has an outspoken mother, way too intrusive and possessive. The attempt, thus, is too fabricated to succeed, and she ends up feeling pathetic and even more hurt, whereas Ben is now a host of her father at their home, and walks around at night on the porch in shirtless shorts to cool off from the heat, effortlessly deploying his strategy of seduction.
When no hope seems left for Clara, as her father commands her to accept Ben’s courtship to marry him, an unexpected event causes a sudden precipitation. Jody loses his mind and attempts at killing his father, locking him up in a stable and setting it to fire, convinced that the blame would have easily fallen on Ben given his family background. However, the screams and the invocations of his father awake Jody from his folly, timely enough to save Will while the stable is devoured by the flames. The father is shocked, and finally acknowledges his son’s suffering, forgiving him and showing him some affection at last. However, in the town, the sensation of the event causes the surfacing of long buried resentments, whose object is fatally Ben: “Only one man in this town settles his accounts by fire!” Thus, a small crowd gathers, intending to take the law into their own hands. Ben does not seem to be willing to flee again, “I’m just not in a runnin’ mood”, he says, maybe because this time he does not want to leave the position he has snatched for himself, and thus remains still as the hostile platoon moves toward him. However, Clara breaks in by car and offers him a chance of escaping the lynching. Surprised, Ben asks Clara: “What’s it to you whether I do or whether I don’t, Miss Clara?” But she insists, slipping away from the driving seat and offering it to him. Clara’s move has taken Ben off guard for two reasons. The first is that he regarded her as a prey, later elevated to the rank of rival in a dispute to sort out the strongest among the two, and that would not presume any form of complicity on her side, as she rather seemed to hate him entirely. The second, even more disconcerting for him, is that in all his life nobody ever dreamed of defending him, to stand by his side and to help him without ulterior motives. Will did help him, but still in the expectation of something in exchange. However, Clara is tied-up, and despite her obstinate struggle against him, she is on his side nevertheless. As Ben becomes aware of the unexpected turn of events, he finally feels like venting his psychological angst: “I am sick of that sight. I’ve seen about fifty fires like that… or maybe a hundred of ’em. I’ve seen men with their shirts on fire…smelled horses cookin’. I was raised on that smell of gasoline around me… coal oil, kerosene, anything that ’d burn. My old man used to keep ’em around the house… in case he had a grudge he wanted to settle. My old man. My old man. Last time I seen him, I was about ten years old… lying in a ditch, crying my eyes out… just prayin’ that God would strike me dead. That was the night that I run ahead to tell on him, turn him in […]”. Now Ben opens himself, exposing that dark side he never revealed to anybody, and seems to break free from an overwhelming burden, silently carried on his shoulders for so long, while she remains on his side, listening to him, empathically participating to his grief. Ben gets tied-up.
As Clara figures out a possible solution, for instance justifying himself to his persecutors, or changing his name to get rid of the haunting of his pyromaniac father’s reputation, Ben regains his pride—a common point between them—and his unwillingness to neither explain himself to others, nor to conceal his identity, because that is his own name “no matter how much people hate it”. And then, Clara: “I was one of ’em. I hated it too”. However, Ben replies, suddenly illuminated by a radiant smile: “No, you didn’t. You hated me”—in the apparent realization that such hatred was in fact attention, and even an indirect signal of affection. This acknowledgement causes a sharp turn in the psychological climate of the situation. The road toward the mutual recognition of D-TU has suddenly, unexpectedly opened. Clara has passed the test, proving her psychological compatibility with Ben, and thus even the last branch of the diagram (Figure 13a) has been travelled, up to the TU-C. Ben tells her, with a sudden change of mood which is now even amused: “You’re a hardheaded, softhearted woman, Miss Clara… and I like you a lot”, and she replies, accommodating the new mood of the conversation: “You do, do you?”, so that Ben moves on: “Yes, I do. All of a sudden, I do. And if you can save my life, I guess I can return the favor. I can let you go”. The relation has shifted from a fierce competition to a deep complicity, so that now there is no longer any point in domineering, and not even in winning, not to mention that instrumental marriage under way. Even giving up the money is no longer a problem for Ben, as he now understands that what he got is much more valuable than money, and would be easily swept away by carrying on with that absurd deal stricken with her father. Ben understands that the sudden, spontaneous affect he is now feeling is inspired by Clara, who has been selflessly by his side, and that it can gain further meaning and momentum only if left free to express itself for what it is, without having to serve any instrumental goal. The TU-C has started, and the altruistic afflatus each of them is nurturing for the other is the characteristic consequence of the new state of things.
Ben’s desire for revenge has evaporated with the trouble that fed that very desire. He has nothing to prove anymore, neither to others, nor even to himself, and the young woman has been able, all by herself, to save him and to make of him a free man. Ben is no longer exclusively focused upon his direct reward, but also experiences a totally passive, new form of reward: The indirect one that comes with the discovery that he can be loved, understood, appreciated. M-TU, as we know, takes place in the emotional sphere. Even Will confirms that personally, when he says to his daughter: “Your mother and I were just… about as close as… two people ever get together. I wanted to be with that woman all the time… look at her, listen to her… touch her. She lit up the whole world for me. I’ll tell you somethin’ remarkable. That woman loved me. She did, Clara”. Once tied-up, Ben is resolute to let Clara go, but Clara has obviously no intention to go, now that she feels that her most cherished qualities have been recognized for what they are, and thus finally appreciated by the man she is strongly tied-up to. In the euphoria of the happy end, even Will Varner, the irreducible despot of his own kingdom, experiences for once in his lifetime the rewarding, totally passive taste of being tamed by his lover, to get married and to happily follow the example of his own offspring. And one cannot but re-evoke a line of his from earlier on: “Parents and children. I asked myself, “What are children for? Why do we have ’em?” Well, tonight I know. Now I know”.
6.3. The Apartment
Billy Wilder’s The apartment (1960), with Jack Lemmon and Shirley MacLaine, is a classic American romantic comedy of the late Fifties, still under the influence of the post-WWII cinema, with its puritan stance and the conservative halo of the looming remnants of McCarthysm. Curiously, though, the movie tackles the controversial issue of out-of-wedlock sexuality, and foreshadows the mounting social wave of sexual liberation of the forthcoming decade.
Despite the movie skillfully avoids and neutralizes any explicit sexual reference, the story tells about an all too common situation from the female viewpoint—how a tied-up F inverts the TU-C to gratify M in the misplaced hope that a M-TU will finally occur, practically giving up to her direct reward. Being shot at the dawn of the sexual liberation era, the movie presents an excessively naïve, oversimplified female psychology if evaluated against the current benchmark. However, at the same time, the movie script seems fully aware of the main characteristics of the male reward system, which today would be played out in a more subtle, nuanced way, while maintaining the same basic traits.
What the two main characters have in common—C.C. Baxter, Buddy Boy for his friends, an anonymous accountant of a large insurance company, and Miss Fran Kubelik, the lift-girl of one of the sixteen large elevators of the company’s headquarters, where Baxter works at the 19th floor—is the loneliness of living in a metropolis like New York, and of working for a company with more than 31,000 employees. Their loneliness concerns both the lack of human relationships and the quality of such meagre relationships. Baxter’s ‘luckiest’ colleagues have a family, mother and children at home, and get some occasional fun from afterhours extramarital affairs. Baxter, instead, lives a bachelor’s life, staying alone in a small rented flat close to Central Park, “nothing fancy—but kind of cozy—just right for a bachelor”, where he hopes to find shelter after a long day of work. His relations are fundamentally very simple—with his neighbors, who believe he is a restless womanizer; with his company bosses, whom he strives to please to get a promotion; and with the lift-girl, Miss Kubelik, whom he meets every day at work and of whom he is secretly infatuated. The story shows, from its very beginning, how these three spheres, seemingly mutually disconnected, are in fact tightly knit behind the appearances. The neighbors do not suspect that the parties that take place every night at Baxter’s flat are in fact held by his bosses, who use his flat in turns for their sexual escapades. Baxter hands his apartment’s keys over to his bosses in the hope to obtain, as a recognition, the promotion so much longed for. In turn, Baxter ignores that Fran, the “respectable girl” of his dreams who would never concede herself to secret affairs, is one of those lovers who party at his flat together with the Head of Personnel, a married man with children. Baxter’s world sorely consists of two types of people: The gullible ones, and the slick ones, who get from the former what they want. In Fran’s words: “Some people take, some people get took—and they know they’re getting took—and there’s nothing they can do about it”. Baxter and Fran are the goodwill, naïve ones who get trapped into the solitude of the lives they wouldn’t like to live. He is no longer the owner of his apartment, and therefore of his free time. She loves a man who seeks her exclusively to cultivate his sexual opportunism, whereas she fools herself by saying “Maybe he does love me—only he doesn’t have the nerve to tell his wife”. Fran has simply responded to a Way 2-I approach by her boss with a Way 5-R and, as shown in the diagram in Figure 13a, this cannot but lead to a Stop. Such situation is at the root of Fran’s attempted suicide, once she finally realizes the real nature of the relationship, and acknowledges her miserable condition of being a mere recreational habit for the man she loves.
A person can be saved, if rescued in time, from having ingested an almost entire tube of sleep pills, with a gastric lavage and lots of coffee. However, what kind of emergency treatment can save someone from a one-sided Tie-Up to the wrong person? Fran interrogates herself: “Why do people have to love people, anyway?” acknowledging that “I just have this talent for falling in love with the wrong guy in the wrong place at the wrong time”, and then “I wonder how long it takes to get someone you’re stuck on out of your system? If they’d only invent some kind of a pump for that…” Who saves Fran from both threats at the same time is Baxter, who asks for professional advice about the sleep pills poisoning from the neighbor next door, who luckily is a physician, and subsequently assists her in her healing, both physical and psychological, with his attentions and protection. Their relationship does not prelude to any TU-C though (even if Fran regretfully observes: “What can’t I ever fall in love with somebody nice like you?”), possibly because she is already tied-up to somebody else. Baxter approaches her from a Way 6-I, and she responds with a Way 1-R, that is, he is tied-up but she is not (see Figure 13c). A Way 6-I approach that ends up in the Way 1-R branch has in fact a Stop as the only possible outcome, in that M has no chance to induce the second Tie-Up (i.e., F’s), without moving to the opposite dimension. In this case, the problem is worsened by the fact that F is already tied-up to someone else, and thus a physical approach by Baxter would likely be refused by Fran at this stage. At the current point, therefore, the solution does not consist yet in shifting from the psycho-emotional to the sexual dimension, but rather in Baxter’s resolution to swiftly go for a symbolic dismantling of Fran’s previous Tie-Up, which as a matter of fact is already powered down. How? By offering Fran a courageous example of a decisive intervention on his own life, drastically seceding from his own situation of exploitation. Not only Baxter refuses to hand the keys, and therefore his apartment, to his boss anymore, but also gives up his hard-earned promotion, and even quits his job. An act of rebellion that is also a love declaration to Fran, that she only can appreciate for what it really is. Thus, when the boss, alluding to their umpteenth, imminent evening escapade, tells her: “I didn’t plan it this way, Fran—actually, it’s all Baxter’s fault”, and she: “Baxter?”, and her boss: “He wouldn’t give me the key to the apartment”. Fran gets more and more interested: “He wouldn’t”; and her boss: “Just walked out on me—quit—threw that big fat job right in my face”; and her, smiling: “The nerve”; and her boss, totally clueless about the meaning of that smile: “That little punk—after all I did for him! He said I couldn’t bring anybody to his apartment—especially not Miss Kubelik. What he got against you, anyway?”
The value added of this movie from the viewpoint of the social cognition of mating is clear. The male lead character, despite seemingly being trapped into a Way 6-I + Way 1-R situation, which generally represents a dead end as far as the TU-C is concerned, builds upon the relationship of trust and mutual respect made possible by this type of interaction to methodically tear down the female lead character’s Tie-Up toward the wrong (non-tied-up) man, rather than explicitly and prematurely competing with him through a Way 4-I approach. The male character here makes full use of the strategic-emotional dimension of Way 6, as shown in Figure 11. The result is extremely effective, and ironically it is the rival himself who inadvertently provides F with the definitive proof of M’s loyalty and dedication—and this incident gives F the crucial push for the dissolution of the preexisting Tie-Up. At this point, the new situation opens to M the possibility of a shift from the Way 6 position to the Way 4 one, and to F a shift from Way 1 to Way 5 (being M tied-up already, there is no need for F to pass through Way 3). Who will take the lead, at this point, is irrelevant. The conditions for the double Tie-Up are set by now—an unfolding that the story leaves to the imagination of the viewer, but that is clearly anticipated by the final scene, and by an atmosphere of unprecedented, mischievous complicity that finally unites the two characters. Presenting oneself as a Way 6, for whom the woman rationally ‘would like’ to fall, but to whom she generally ends up preferring a more enterprising rival, is often a losing choice for M in terms of mating success, and not incidentally mating-related motives lead men to adopt risky behaviors [187]. This story shows, however, how the Way 6 approach may have an unsuspected strategic potential if pursued in a targeted, able manner by M with the purpose of demolishing the dynamics of false expectations, manipulative promises and gradual resignation to sexual exploitation that brings some F to lock themselves into a painful situation of a one-sided Tie-Up without any perspective. In the case of The apartment, the male character, while creating the conditions for a D-TU, ‘saves’ both the female character from such kind of situation, and also himself from the prospect of an anonymous, lonely existence: The gloomy scenery on which the story opened up, which can be read as a denounce of the new social pathologies of mass urbanization of the post-WWII era. It is moreover interesting to notice how the two main characters here explicitly materialize, through their very mating process, that path of personal transformation that characterizes the ‘classical’ romance narrative models. The accomplished transformation preludes to a new form of existential fulfilment whose realization is projected beyond the end of the narration, and left to the imagination of the viewer. If thus The apartment represents, among the movies examined in this paper, the one that possibly focuses the least on romantic situations in the course of the story’s unfolding, it assigns on the other hand to the formation of the couple a particularly radical valence of personal and social transformation. And moreover, it links such valence to the intelligent overcoming of the constraints to the creation of a double Tie-Up in a particularly unfavorable, seemingly precluded context.
6.4. When Harry Met Sally
When Harry met Sally (1989) is a sort of manual, or better the manual of how a couple relationship develops or not. The whole movie revolves around a precise question: May a man and a woman be friends? In the answer to this question is contained the entire dialectics that constitutes the pillar of man-woman relationships. If we consider TU-C and its diagram, the answer to the question is somewhat immediate—‘never’ for the man and ‘yes’ for the woman, if the woman is not in turn attracted by the man. Why? Because friendship strongly involves the identity of the individuals that relate to each other, their way of being and perceiving themselves and the others. Now, if for a woman her identity is not focused upon sexuality, the same is not true for a man. As to TU-C, everything depends upon the anti-clockwise direction of movement of the cycle in the diagram, that leads women to actively relate to the other sex through their F-AA in emotional terms, and men to actively relate to the other sex through their M-AA in sexual terms. What changes in the two cases is the type of direct reward that gets produced, which is linked to the perception of one’s own identity, be it male or female. A woman can effortlessly relate to the emotional M-RA of a man without having to turn her F-RA (the sexual one) on, that is, remaining in the first quadrant above to the right of the Tie-Up diagram, where the experienced reward will taste like a psychological, emotional pleasure (see Figure 9 above). When instead it is a man who relates to the other sex, by activating his M-AA, the anti-clockwise flow of the male direct reward will travel, in the quadrant below to the left, toward the female F-RA, thus aiming at the feminine sexual sphere and not to the emotional one. In a man-woman relationship, the male direct reward will taste like a sexual conquest, even if the woman has a low mating value, as Harry explains to Sally in the movie. Specifically, friendship is a psycho-emotional relationship that concerns the upper part of the TU-C diagram and interests F-AA and M-RA. Given the direction of movement of TU-C, whereas F-RA is not affected as the flow of rewards travels from F-AA to the opposite side, M-AA to the contrary will be hit by the whole flow coming from the M-RA that precedes it along the diagram, and will therefore be easily involved in the friendship relation itself. Consequently, for the man every indirect reward, as generated by a man-woman friendship, will inevitably stimulate M-AA, thus also involving the sphere of male sexual identity [188,189].
From the early scenes of the movie, when the main characters are very young, another interesting aspect concerning the TU-C emerges. The RAs, being passive, are not present to the individual conscience if they have never been activated, or even if they have been activated in the past but are currently not. Sally, in her “uptight[ness]”, as Harry puts it, provides a clear example in this regard. Not incidentally, during their first meeting, a shared car trip from Chicago to New York, they speak about a cult romantic movie, Casablanca, and Sally tellingly reveals how her F-RA is inactive and how unaware she is of that, by commenting: “I don’t want to spend the rest of my life in Casablanca, married to a man who runs a bar”, and Harry immediately realizes this and replies: “Obviously you haven’t had great sex yet”. Individuals, men or women alike, tend to mainly refer to their AAs and to perceive themselves and react to their direct rewards, at least until they get tied-up, that is, until their RAs are activated and they begin to be exposed to indirect rewards as well. When Harry meets Sally for the third time, and she has just come out of a purely sexual relationship, Harry notices it and points it out: “You’re much softer now”, in the sense of less uptight, almost to underline a better balance and maturity, which springs from the successful integration of the indirect rewards in Sally’s own experience canvas. This holds more generally, of course, for the indirect rewards of both men and women.
The friendship between the characters starts at the third meeting, in a phase where both experience a very difficult, delicate moment of frustration. However, Harry suffers a bit more than Sally, because their frustrations are different. Sally has been frustrated by her previous partner in her direct reward. Their story was in fact a relationship that could be defined as a sexual friendship, as he did not want to commit any further than that. Sally suddenly realized how, despite they were very happy together, this implied not to have a real family, one where children and their joint rearing with the partner are contemplated. It is not her indirect reward that has been compromised, but the direct one, the affective and emotional one, as he has proven to be unwilling to become the father of their potential future children, in addition to likely being not tied-up at all. Harry, instead, has suffered the frustration of both his direct and indirect reward. His wife had an affair with another man, and left him for the latter (frustration of male direct reward)—but even more painful is the fact that she methodically prepared herself to abandon him, booking the moving of her things in advance, without telling him anything and keeping on living with him as if nothing were about to happen (frustration of male indirect reward). This could look like a minor detail at first sight, but it is particularly offensive for the psychology of a man who is emotionally tied-up to a woman. Harry has been frustrated by the adultery in his direct reward, as his masculine identity has been wounded. When his friend tells him: “Marriages don’t break up on account of infidelity. It’s just a symptom that something else is wrong”, he answers: “Oh really? Well that symptom is fucking my wife”—the object of Harry’s resentment, which seemed to be his wife’s lover, is in fact his wife’s not being tied-up to him, or more precisely, her no longer being so. The fact that Harry has been dumped that way has caused a frustration of his indirect reward, even more painful in the presence of M-TU, and he just cannot be self-ironic at that. Harry was certainly tied-up, and since his wife had been entirely unscrupulous toward him, he suddenly realized how little he mattered for her. His feelings could not have been betrayed more, and Harry feels he lost the one he wanted by his side more than anyone else.
The main characters start to see each other as friends to reciprocally heal their wounds, those of Sally’s F-AA, and of Harry’s M-RA. That is why the friendship works, at least for a while. Sally only involves her F-AA, since her F-RA has not been humiliated, whereas Harry has an urgent need to rescue his M-RA, much more hurt than his M-AA, because of the presence in the receptive area of the broken M-TU. Harry thus longs for the support and comfort, reassuring and sincere, of a woman who can be his friend, and provides him with repairing shots of indirect reward. When a man does not crave, or cannot achieve, the psychological attention of the woman with whom he has a sexual relationship, he does not get tied-up, and tends to look for such attention elsewhere, should he need it. On the contrary, when a man gets tied-up to a woman, because he feels his psycho-emotional needs fulfilled by her, he will not seek to arrive at a first sexual intercourse as soon as possible, and will tend to wait as much as he can, under the unconscious fear to compromise the emotional and affective bond in the making. This is true both for the Way 4 position (where the interaction presents a significant sexual component) as well as, a fortiori, for the Way 6 one (where the interaction’s main component is emotional). And this is exactly what happens to Harry, who while seeing Sally as a friend, gets tied-up to her. The stimulating paradox of the movie is that Harry, despite having been always easily versed to sexual adventures through Way 2 approaches to the other sex, now starts a TU-C with Sally from a Way 6-I position. What Harry fails to consider, however, is that if a man does not want to turn on a woman’s F-RA, he should at least stay clear by not allowing her a close physical contact. However, this is exactly the contrary of what Harry does, putting Sally in the position to unconsciously test their biological compatibility.
The scene of the first New Year’s Eve that they spend together is telling in this regard. It is the scene where Sally’s RA turns on, when they dance cheek to cheek in close contact. A kiss seems inevitable, as their mutual attraction is ostensibly strong. The test has succeeded and Sally is emotionally well disposed, whereas M-TU is already in place, and Harry has generated enough indirect reward to stimulate his M-AA toward a sexual response, that is, toward the production of further direct reward that urgently prompts him to kiss her. However, both resist, although laboriously, to the impulse of kissing. The two characters feel themselves linked by a precious friendship, and both fear it could be compromised. It must also be said that, most likely, the one that makes the bigger step back here is Harry, who for the reasons mentioned above is more scared by the prospect of a loss of an irreplaceable emotional complicity. Sally, on the other hand, is relating to Harry by means of her F-RA just turned on, and is more inclined to kiss but in a passive mode, and thus waits for Harry’s initiative, who however stays put. Neither of the two is still aware of the fact that they are both tied-up, and that all the favorable conditions are in place for their relationship to evolve to a different level. To describe the TU-C in the making in terms of our interaction diagrams, we can say that Harry gets stuck in Way 6-I while Sally, now tied-up, responds from a Way 3-R position, and this causes the TU-C to abort, leading to an inevitable Stop (Figure 13c).
The cycle has been thwarted, and Harry and Sally apparently keep on with their friendship routine as if nothing happened, but the outbreak of unusual jealousy tantrums toward each other’s partner is the eloquent proof that the TUs persist, making the situation dangerously unstable. At this point, a possibility of solution, which is contemplated by the Figure 13c diagram, and specifically by the grey arrow that links Way 3-R to Way 5-R, would amount to Sally taking sexual initiative in place of Harry, which is what happens in the story. The occasion is given by the umpteenth emotional crisis, as Sally gets abruptly dumped by the last partner, who has opted for marrying another woman he has known just one month before. The outrage to Sally’s F-AA couldn’t be worse, and it unleashes in her a strong sense of frustration due to the downright fall in her direct reward. Sally is justifiably infuriated: “He didn’t want to marry me!” Her resentment is nothing but an excitement of her F-AA that takes over the F-RA and, as a matter of fact, pulls Sally into a much more active mode than before. At the same time, she reaches out for Harry’s friendly consolation and support, but as an effect of the activation of F-RA, she ends up seeking shelter in the indirect reward induced by Harry’s close physical contact under the guise of a fraternal hug. The eventual outcome of the association of a very active F-AA with an excited F-RA is the Way 5 position, and thus Sally, without any premeditation, irreparably kisses Harry causing the breakdown of his defensive barrier, already strongly undermined by the previous events.
The two characters, thus, make love for the first time after twelve years of acquaintance. Harry once revealed to his male friend: “I never had a relationship with a woman that didn’t involve sex”, and referring to Sally: “It’s just different. It’s a whole new perspective. I get the woman’s point of view on things. She tells me about the men she goes out with and I can talk to her about the women I see”. What Harry fears the most is that the start of a sexual relationship with Sally may jeopardize that complicity of theirs, as he mistakenly believes that the psychological intimacy he shares with Sally depends on the fact that they never had any sexual exchange, rather than attributing it to a psycho-emotional affinity. This conviction will become self-fulfilling. As shown in the diagram of Figure 13c, the only possibility for a TU-C starting from a Way 6-I position is that of moving along the branch that leads to Way 5-R, that is to a female sexual initiative. However, the story seems to show the disastrous effects of this choice with a further Stop. After the intercourse, Harry walks away from Sally. We have finally arrived at the narrative anomaly of the story with respect to the classical schemes—which, for this very reason, represents the peak of interest and meaningfulness from the viewpoint of the social cognition of mating. What has happened? In terms of our interaction diagrams, Harry has not only abandoned the Way 6 position, but also the I (Impulse) mode, leaving it to Sally. In other words, it is as if a new TU-C has started, different from the previous one, whose initial impulse has been given by Sally, and not by Harry anymore. Sally’s Way 5-R, which should have been a Response, has turned into an Impulse, Way 5-I, for a new TU-C. From Figure 13c we then move to Figure 12c which has only two possible branches, both of which leading to a Stop. Harry responds to Sally’s impulse, Way 5-I, entering the new TU-C from position Way 2-R.
When a psycho-emotional affinity is established at a young age, as in many of the autobiographical narrations that punctuate the movie storyline under the form of short interviews to long-established real couples, the emotional and sexual aspects mature together. If the relationship strengthens through time, they mutually reinforce, without a need to mark any distinction between physical and psychological intimacy. However, Harry has always experimented an emotionless sex, apart from the unfortunate, excruciating episode of his failed marriage, so that, based on his experience, he has come to the erroneous belief that the two aspects can never coexist, and that sexual exchanges destroy complicity.
The request for attention of a tied-up woman after the intercourse is entirely normal and, in a sense, physiological. Her indirect reward, generated by the sex which has stimulated her F-RA, now moves toward her F-AA, and thus it is the very direction of movement of the cycle that brings the woman to relate now on the emotional level to M-RA, to generate some direct reward and confirm M-TU. However, for Harry, this request amounts, as explained, to sparking the cognitive dissonance between sexuality and psychological complicity, and consequently he reacts by withdrawing. However, from a female perspective, and from Sally’s perspective in this case, if the man refuses an emotional involvement this means he is not tied-up, and therefore the woman’s direct reward gets frustrated and the cycle falls apart. Sally had any reason to expect that Harry, in that situation, would make his Tie-Up explicit by feeding the intimacy between them. However, Harry is frozen by the fear to have contaminated his psycho-emotional bond with Sally. To re-establish a distance between the moments of sexual vs. psycho-emotional contact, he flees from an intimacy which, in the circumstance, he should find natural, sending to Sally the signal, terribly frustrating as well as false, of a lack of TU.
Had Sally been the fleeing one, the situation would have suddenly turned upside down. Harry, being tied-up, would have first experienced a frustration of his indirect reward in terms of a strong sense of loss, and immediately after—following the anti-clockwise direction of movement along the diagram—also a frustration of his direct reward concerning his masculine capacity to sexually tie-up the beloved woman. However, Sally does not flee, and thus Harry can complete his part of the cycle without frustrations. However, despite this, Harry’s fears materialize, as their relationship after they had sex is no longer the same. Sally has now acknowledged the existence of her RA and of her TU, strengthened by the intercourse. However, once the flow of rewards has gone through the hemicycle in Harry’s quadrant, it returns toward Sally’s without carrying any active physical request from Harry himself, who, to eschew the conflict, avoids Sally, who now also experiences the indirect frustration of not feeling sexually desired anymore by the man she is tied-up to. In fact, Harry sexually avoids her while calling for new emotional attentions under the form of friendship. Hurt in her F-RA, Sally breaks any contact, leaving Harry alone to despair, with his M-RA fatally wounded in turn. The first round of their TU-C, exhaustingly completed among many stops, has been a total failure, and the cycle itself has fallen apart. Despite the existence of the TUs, their capacity to generate rewards, i.e., the very flow that feeds the cycle, has badly gone awry. It was Harry’s mistake, as he blocked Sally’s direct reward which was only correctly following her biological program, and ended up thwarting the cycle itself by failing to address his direct reward toward Sally’s RA.
This story shows us how a cycle does not only call for the simultaneous presence of the two TUs, but also for a flow of rewards that goes all the way through it, in the correct direction. Despite the existence of a D-TU, if the partners are unable to gratify each other in the manner that is functional to the cycle’s deployment, the TU-C will be unable to iterate itself and the TUs will quickly deteriorate because of the absence of the proper rewards. However, the frustration of Harry’s indirect reward, caused by Sally’s refusal to provide (emotional) attention, and the consequent pain coming from the hurt M-RA, finally put Harry in the condition to understand the real nature of the situation, that is the existence of his M-TU. With this comes the recognition that he cannot any longer be content with neither a reassuring relation of friendship nor a simple sexual adventure. Before the situation gets irreparably compromised, Harry thus finally reacts appropriately. He desperately runs to reach Sally, to send her at last a clear signal of his TU, through one of the many lines from this movie that have become proverbial quotes: “When you realize you want to spend the rest of your life with somebody, you want the rest of the life to start as soon as possible”. With his swift change of action, and with a finally regained clarity of thought, conducive to a mature emotional self-conscience, Harry is now able to tell Sally the right words to address her F-AA. This generates that much-waited-for shot of direct reward which, provoking Sally’s loving gaze, tears and smile, finally heals in return his own, hurt M-RA. The newly excited Harry’s M-RA now immediately generates a shot of indirect reward which carries over to his M-AA, coming next along the diagram, which causes in turn a shot of direct reward that prompts Harry to kiss Sally with all of the erotic intensity necessary to refresh the F-TU in her F-RA. Sally’s F-RA, at this point, readily responds with the right signals, strongly longed for by Harry, who will find himself hit again by a new burst of rewards, both direct and indirect, which will fire a rapid sequence of self-feeding iterations of the cycle. The TU-C has finally, properly kicked off, in a perfectly functioning way.
One of the most remarkable aspects of When Harry met Sally is its ability to explore some subtly complex variants of the classical interaction schemes. In the first aborted cycle, the Way 6-I position that Harry assumes toward Sally does not correspond to a conventional strategic-emotional approach that aims at a sexual response without exposing to the risk of a refusal (see Figure 11). It is adopted instead with the sole purpose to receive a mere indirect reward—Harry has no intention to involve Sally in a TU-C, but only wants to enjoy the utilitarian advantage of having a female confidant. We have therefore the case of a man with a vast experience of sexual seduction, who uses the Way 6 position in an anomalous way, to obtain a reward that follows neither the logic of TU-C nor that of sexual conquest, but rather that of the construction of a real relationship of man-woman friendship. Despite this, the conditions for a D-TU fall into place anyway. We thus have a new, seemingly paradoxical variant of the classical interaction scheme. A tied-up M that responds to F’s sexual initiative as if he weren’t tied-up, but not to defend his freedom of choice of sexual partners, as it would be the case for the typical Way 2 subject, but rather for the inability to accommodate the evolution of a relationship that has been built on a purely emotional level. The paradoxical nature of the situation ironically mirrors in the variations of Harry’s attitudes on the topic along the narrative arc. At the beginning of the story, Harry boldly claims to a baffled Sally that a man and a woman can never be friends. And yet, in the development of their relationship along the years, Harry ends up asking to Sally that very kind of relationship he previously declared impossible, while at the same time getting tied-up, and thus proving his initial claim, but failing however to acknowledge it until the final resolution. Harry’s journey then consists of circling back to the point of departure, but with an entirely new awareness and emotional maturity.
Concerning the initial question: “Can a man and a woman be friends?”, the movie not only offers a clear, thorough answer, but proves as well, also thanks to the ‘authentic’ testimonies of the interviewed old age, happy couples who celebrate the existential value of long-term mating, that a deep friendship between man and woman is in fact contained in a stable, lasting romantic relationship. We have seen how this aspect is a part of the Tie-Up cycle itself, located in the upper hemisphere of the TU-C diagram. Harry himself offers us a compact synthesis, the second time he meets with Sally: “Unless both of them are involved with other people then they can [be friends]. This is an amendment to the earlier rule, if the two people are in relationships, the pressure of possibility of involvement is lifted”, but then he adds “That doesn’t work either because what happens then is the person you’re involved with can’t understand why you need to be friends with the person you’re just friends with. Like it means something is missing from their relationship and “why do you have to go outside to get it?” Then when you say, “no no no no, it’s not true nothing’s missing from the relationship”, the person you’re involved with then accuses you of being secretly attracted to the person you’re just friends with, which we probably are, I mean, come on, who the hell are we kidding, let’s face it, which brings us back to the earlier rule before the amendment which is men and women can’t be friends, so where does that leave us?”
Harry’s opinion on the friendship between opposite sexes is fully confirmed both by his subsequent narrative vicissitudes and by the logic of TU-C. If a coupled woman has a male friend, her male partner will initially feel a form of jealousy, which corresponds to a frustration of his indirect reward. It then comes natural to wonder why should be the man’s indirect reward to be frustrated, rather than the one more closely connected to the sexual sphere. In fact, the masculine fear to lose his female partner’s F-TU will only emerge subsequently, with the persistence of the frustration of his indirect reward, when he will start to suspect that his female partner has a sexual attraction for her male friend. However, such attraction cannot take place in a woman who relates to a man in pure friendship terms, as previously explained, and especially in a tied-up woman who feels entirely fulfilled by her romantic relationship. A woman in such condition can establish a relationship while excluding her F-RA, and insofar as the latter does not turn on, there will be no critical situations. The TU-C tells us instead that the problem concerns the woman’s F-AA and the man’s M-RA, as she is intent upon concurrently sending indirect reward-generating signals to both her male partner and to her male friend, exactly like Sally did with Harry even before getting tied-up to him. For her male partner, if tied-up, this means that these are opportunities for reward of his M-RA that are not meant for him, but for another man. In a sense, it is as if they were taken away from him, whereas he would want the emotional and affective attention of his partner all for him. M-TU therefore creates a sort of susceptibility in the male RA, something that does not happen to Sally’s partners, who do not seem to complain about the deep friendship between her and Harry. Clearly, this is because none of them is really tied-up to Sally, and their interest is exclusively sexual, focused upon their own direct reward, while their turned off M-RA does not suffer at all.
The main instance is then one of male jealousy due to the subtraction of female interest and attention. The frustration of the indirect reward will eventually reach M-AA, following the direction of movement along the diagram, to involve the male direct reward as well, with the consequent birth of the suspect of a physical attraction between the female partner and her friend, and of a possible sexual infidelity. For instance, the jealous male may hypothesize that the female partner’s friend may get tied-up because of the intensive shot of attentions received from her side—which is, in fact, just what happens to Harry. Turning the situation upside down, if it is a coupled male who has a female friend, this will generate an immediate warning signal for the female partner who, in view of the features of male nature, will immediately be alarmed, even if the male partner would in fact have no sexual relation with his female friend. Harry’s words, “[as if] something is missing from their relationship and “why do you have to go outside to get it?”…”, point at the crux of the problem. Even if the man would remain sexually compliant to his female partner, the search for a female friendship would be the clear symptom of a split situation, that is, of the fact the he has not found a full psychological compatibility with his current female partner—even in case of a good sexual harmony—and therefore he looks for psycho-emotional affinity somewhere else. Or, it could look for some type of comprehension and complicity he does not get from his female partner, just like Harry ends up doing, as he keeps on changing his sexual partners while sticking to Sally for a constant point of psychological reference.
Concerning the female partner of a man who has a female best friend, if she is tied-up, her frustration would amount to being deeply hurt. Here, the targeted area will ultimately and inevitably be her F-RA where F-TU is located, and she will live in the fear to lose her partner’s TU, as he gets repeatedly emotionally rewarded by his female friend. Even in the case of a male sexual infidelity not accompanied by an emotional Tie-Up [to the female friend] on the male partner’s side, his female partner would feel a painful frustration of her indirect reward: In this case, the jealousy would be unleashed by the loss of centrality in the sexual interest of the male partner, and she would experience a depression from lack of esteem, loss of confidence in herself and in her sexuality. However, if the male partner in addition even gets tied-up to his female friend, thus also frustrating her female partner’s direct reward, the latter would remain the only one to be painfully tied-up, and the pain would hit her F-RA once again, definitely breaking down the Tie-Up cycle.
When Harry met Sally may therefore be read as a proper treaty on the social cognition of men-women relationships. Harry’s theorizing, the interviews to the ‘real’ couples, the paradoxes that prevent a mutually tied-up couple to launch a self-catalytic TU-C define a narrative laboratory for the testing of a variegated corpus of conjectures and confutations. The initial question on the (im-)possibility of a man-woman friendship thus becomes a sort of research hypothesis that the story explores and analyzes in many of its implications. It is also for this reason that the movie has become not only a classic, but a sort of ‘bible’ whose most memorable lines are still evoked as ‘oracles’ that maintain their cognitive value in daily life.
6.5. The Bridges of Madison County
The creation of a couple that lasts in time is not necessarily the result of a fully functioning TU-C. There may be other bonds that keep two partners together even in lack of Tie-Ups, or in the presence of a one-sided TU. Likewise, the emergence and permanence of a D-TU between two opposite-sex individuals need not imply the creation of a couple. This is the main reflection that we can draw from the story told in The bridges of Madison County (1995), directed and interpreted by Clint Eastwood, with Meryl Streep as the female lead character.
The love story between a 55-years old Iowa housewife, whose name Francesca reveals an Italian origin, and Robert Kincaid, a 52-years old photographer whose job leads him to wander across the world, is the narration of a D-TU that does not lead to a stable mating. Nevertheless, their bond will resist the passage of time and the excruciating pain from being tied-up, but at the same time excluded from the flow of rewards deriving from a successfully maintained TU-C. From a cognitive viewpoint, what is interesting to observe is that the somewhat stereotyped description of the characters (bored housewife plus wandering adventurer) does not lead to a conventional unfolding, but rather lays the basis for a well thought reflection on the value of affective, psychological and sexual bonds that may influence the lifetime choices of the characters. An immediately striking feature of Francesca’s character is her sensory exuberance, which shows from her gesturing and movement. She walks around the house and the front porch barefoot, often touches her own face and the skin of her arms, wears light cotton dresses, leaves her hair imperfectly combed or tied. All the above are signs of a tactile and sensory activation, and seem to anticipate her predisposition to the launch of a biological compatibility test, possibly favored by a weak, or lacking TU. The movie does not insist on Francesca’s relationship with her husband, but alludes to a quiet marital routine of mutual, cheerful respect with a prevailing focus on their children. In fact, a woman needs very little to run a compatibility test about a man. In the movie, Francesca limits herself to watch the unknown man looking for directions and to breathe besides him, listening to his voice, while seated in the cabin of his van. When subsequently Robert, unintentionally or astutely, lightly touches her legs while reaching for a packet of cigarettes, she has also the opportunity to probe his bodily energy. Once the test is successful, the speed of the Tie-Up depends on F-RA, on the presence/absence of a preexisting F-TU and on its strength. If the preexisting F-TU is solid, even if the test is successful the woman does not get tied-up, but this is not Francesca’s case.
As to Robert, the beginning of the story leaves the viewer much more uncertain about whether M-TU has formed, while there is little uncertainty that he feels as sexually attracted as Francesca, a state of things that is pictorially marked by his discreet glances of interest and appreciation. Robert seems intrigued and engaged by Francesca’s autobiographical and self-reflective account, but it is common for men to simulate a psychological involvement, that is, an activation of their M-RA, to actively gratify the woman they aim at seducing. Robert even picks for her some wild flowers, which seems to suggest an old style, gallant courtship. The fact that he, moreover, keeps on seeking close contact with her, with the excuse of helping her to prepare dinner, leads the viewer into thinking that he’s an expert of feminine nature. We cannot tell the exact moment when Francesca gets tied-up, but it is certain that it occurs in the short interval described by two of Robert’s gestures, identical and close to each other, which Francesca notes down in her diary: “Robert leaned over as if to get something from the glove box. Eight days ago, he’d done that… and his arm had brushed across my leg. A week ago I’d been in Des Moines, buying a new dress”. Instead, there is no certainty about the M-TU until after their first sexual exchange.
Robert is the one who gives the initial Impulse to the TU-C, and it is not clear whether he enters from a Way 2-I or Way 4-I position, in that the difference specifically consists in the occurrence of M-TU and in the final goal—the sexual intercourse itself, or finding a stable partner for the TU-C. He is gentle, focused, careful, respectful toward Francesca, but from his life stories, from his vision of things and of the world, his approach would rather seem more hedonic than sympathetic. Robert makes no mystery of his urge to safeguard his freedom against the constraints that settling somewhere and growing a family would imply for his existence. The first clue that points toward a Way 4-I, however, is provided by Francesca when she says: “I had thoughts about him I hardly knew what to do with. And he read every one. Whatever I felt. Whatever I wanted, he gave himself up to. And in that moment, everything I knew to be true about myself up until then, was gone. I was acting like another woman, yet I was more myself than even before”. Such an intimate access to a woman’s inner space, and his capacity to mind-reading her, only seem possible when a man is emotionally and sympathetically tied-up. This is what allows to establish a sense of mutual resonance between the characters that would be unimaginable otherwise. When, with the intercourse, the man achieves the optimal value of his direct reward, one has that inevitably, after the peak, the latter will start to decline, quickly becoming less strong and intense. If the man is tied-up (as in Way 4), the generation of further indirect reward will suffice to maintain the overall level of reward high enough. However, if the man is not tied-up (as in Way 2), he will likely look for a new peak of his reward by seeking new stimuli somewhere else.
The female after-sex emotional attentions are pointless if the man is not tied-up, and they will even result annoying to a non-turned-on M-RA, that reads them as unmotivated requests for intimacy by a stranger. The main male character of this story has lived as a wanderer who does not settle in any given place, to always guarantee himself high levels of (direct) reward, moving from adventure to adventure without keeping any tight connection to anybody, and never renouncing a prospect of constant, free search. Francesca gets tied-up and enters the TU-C from a Way 5-R position. She inverts the direction of movement of the cycle due to her awareness of having only four days before the return of her husband and their two teenage children, who are out of town to participate in the annual fair. She bends her F-AA to the needs of the F-RA, despite her firm intuition of the inevitable epilogue of the affair, as she knows she has strongly tied-up to someone who will be gone the day after. However, being tied-up without having the possibility to embed oneself in the dynamic, regenerating flow of the TU-C, as there is no D-TU that makes this possible, is extremely hurtful and frustrating, and this explains Francesca’s furious reaction after the loving idyll. Instead of offering her partner the expected post-sex affective signals, coming from the F-AA which has been stimulated in turn by the peak of indirect reward generated in the F-RA, Francesca insults Robert. She calls him a hypocrite and imposter, and pours her resentment out when saying: “Maybe I’m not cut out to be a world citizen who experiences everything and nothing […] What can this possibly mean to someone who doesn’t need meaning, who just goes with the mystery? Who pretends he’s not scared to death? […] After you leave, I’ll have to sit here for the rest of my life, and wonder what happened to me, if anything happened at all. I’ll wonder if you’re in some housewife’s kitchen in Romania telling her about your world of good friends, including me in that group”. Francesca’s behavior seems odd, and takes Robert himself by surprise, but it is perfectly legitimate if one considers that the thought of the likely non-TU of Robert has frustrated her direct reward from the start. Her vent, and likewise her anger in the breakfast scene preluding to Robert’s departure, are nothing but the materialization of a gratification that has turned into frustration, without even the possibility to compensate it with another inversion of the flow. The psychological state of despair that ensues can be easily read through Francesca’s irony: “Fine. More eggs? Or shall we fuck on the linoleum one last time?” If one compares this situation with the interaction diagrams, this would seem a classic case of a Way 2-I that moves into the Way 5-R branch up to the consequential, final Stop (Figure 13a). However, Robert feels hurt here as well, and from his reaction of suffering one understands how he got tied-up in turn even before the intercourse. His pain directly comes from a more-than-turned-on M-RA, whereas his M-AA reacts by expressing dismay and fear at the mere thought of the existence of a M-TU. Robert tells her: “I don’t want to need you! […] Because I can’t have you. […] When I think of why I make pictures, the only reason I can think of just seems that I’ve been making my way here. Seems right now, that all I’ve ever done in my life was making my way here to you. And if I think about leaving here tomorrow, without you…”
The male is instinctively led to think that the M-TU would jeopardize his personal freedom, but in fact the real risk with getting tied-up lies in the awful suffering that both sexes can feel if the Tie-Up cycle falls apart or is aborted from the start. If pain is guaranteed in the case of a one-sided TU instead of a double-sided one—as, in this case, the cycle does not even start—it is unfortunately equally guaranteed also in the case of a D-TU if the cycle is thwarted—as it happens in this story. Robert has sent his Impulse from a Way 4-I position, confirming the existence of the M-TU, whereas the test of biological compatibility carried out by Francesca has been successful. The F-TU has been formed, and Francesca has responded to the impulse from a Way 5-R position. In the corresponding diagram, this situation should lead to the TU-C without any problem (Figure 13b), also due to the deterioration of the previous TU that linked Francesca to her husband. However, at this point, she takes a step back. Why Francesca does not accept the offer to flee with Robert? That their D-TU is perfectly functioning is certain by now. This is easily realized from the behavior of both, and by Robert’s words: “Do you think that what happened with us just happens to anyone? What we feel for each other? We’re hardly… hardly two separate people now. And some people search all their life for this and never find it. Others don’t even think it exists….”, and again, about his feelings: “This kind of certainty comes just once in a lifetime”. However, if the double Tie-Up has been established and the cycle has started, why then the couple is not formed? Because Francesca’s AA has the last word, and more generally it is always the active areas that decide upon acting, and therefore upon whether to accommodate, or oppose the push from the respective receptive areas. In other words, in certain circumstances, AA may attempt at intentionally countervailing the pull from its own, tied-up RA, if such pull is judged dangerous for whatever reason.
Francesca takes a step back because she feels there would be heavy interferences in the flow of rewards within the TU-C, under the form of shots of external frustration which would impinge upon the cycle itself. The frustration would be caused by the sense of guilt that would pollute her emotional state, and the very pleasure from the reward that feeds the cycle. “And no matter how much distance we put between ourselves and this house [family]… I carry it with me. I’ll feel it every minute we’re together. And I will start to blame loving you for how much it hurts. And the, even these… even these four beautiful days will seem just like something sordid and a mistake”. And rather than witnessing the crooked progression of their TU-C and its likely interruption with the consequent destruction of the TUs, Francesca prefers to preserve her F-TU alive in her intimate, inner space but outside the cycle, even if it will become a bleeding Tie-Up, a very hurtful one. A tragic-romantic choice, but a fully understandable one, as her previous bond is no longer built upon a Tie-Up, but upon the love for the family that totally depends on her sacrifice, already deliberated and accepted from the start. She says: “We are the choices that we have made. […] And I can’t make an entire life disappear to start a new one”. The stumbling block has a social nature, but cannot be traced to a self-regarding fear, to the awareness of the risk of ending up like another local woman—who will later become Francesca’s dearest friend: A wife who had an affair with someone else’s husband and has consequently been cruelly ostracized from the community. Francesca’s concern rather springs from her affect for her family, who would become innocent victims of that very system of control and conservation of the social order: “They’ll never be able to live through the talk”, she says, referring to her husband, whose family had been deeply rooted in that community for generations, and to the two children, a boy and a girl still in their teens.
The psychological readiness for an altruistic bond is equally present in Robert who, although devastated, steps aside respecting her choice without any forcing, and accepting at the same time to keep his M-TU alive no matter what. The story seems to suggest that the drive of his feeling, however painful, has been channeled into the creative endeavor, and sublimated into the capacity for evoking the charming complexity of beauty, which is typical of an artistic personality. Francesca remains with her family, and her husband’s M-TU is still clearly traceable in his declaration, on his dying bed, of his thorough love for the woman who has remained beside him until the end, supporting him and sharing her life with him, however limited and dull. However, as to her children, her mother’s sacrifice seems to have been vain, once we meet them again as adults in the occasion of Francesca’s funeral. The children received little benefit from the family harmony they grew into, which has inspired no happiness in their own marital lives. However, they enormously benefit from getting to know in detail her mother’s secret love story, by reading her diaries after her death. Maybe the effect of pacification, deriving from the posthumous narration, comes from the sudden possibility to shed light on the deep reasons of the human soul. From the understanding, also at the instinctual level, of these inner processes that are linked to a Tie-Up cycle and to the beauty of being no longer two ‘separate people’. From the understanding of how the human value of this condition also allows to better withstand the inevitable sufferings of the life course.
This movie is not just the narration of an intense love story, happened in merely four days but lasting until the death of the persons involved. It points its attention toward the fundamental value of the very act of telling stories, be them accounts of real events or potential, fictional ones—and to how humans can, through them, expand their experiential capacity and their existential understanding. When Francesca writes, in the letter she addresses to her children: “I could let this die with the rest of me, I suppose. However, as one gets older, one’s fears subside. What becomes more and more important is to be known, known for all that you were during this brief stay. How sad it seems to leave this earth without those you love the most, ever really knowing who you were”, she is telling the viewer that behind every life there is a story which, in any case, carries a meaning that deserves to be transmitted, even just to one’s loved children, and that for her, that meaning has manifested itself in just four days, and in the experimentation of a Tie-Up cycle with a man who was not her husband.
Thanks to stories, experiences may cumulate and become not just a social and human heritage, but also a cultural one, contributing to collective growth as useful building bricks, whose justification also resides, as in our case, in their legacy as a contribution to a more thorough, insightful view of human choices, and to the learning that comes with it.
6.6. Titanic
The romantic story associated to the narration of the incident of the famous transatlantic cruiser, sinking into the ocean water during its inaugural journey in 1912, as proposed by the colossal Titanic (1997), directed by James Cameron with the famous couple of lead actors, Leonardo DiCaprio and Kate Winslet, offers us an example of a D-TU, both simple and quick in its build-up. Its interest lies in its linearity, which enables us to analyze in detail the workings of the Tie-Up mechanism, and especially so from the viewpoint of female psychology, as well as of the male one [190]. Not incidentally, the most famous scene, which is the symbol of the blockbuster movie itself, and which has found a permanent space in the collective imaginary, that is, the ‘flight’ of the main characters on the Titanic’s prow, is also the scene where the beautiful, noble Rose gets tied-up to the young, penniless Jack, so remote from her social world, but also so close on the emotional, energetic level.
The characters’ TUs are formed in the most classic way, through the combination Way 4-I + Way 3-R. Jack initially notices Rose, leaning out from the first-class deck, for her imposing beauty. To Jack, Rose is like a remote goddess, but at the same time the social distance intrigues the young man who lives an adventurous life. The main attraction, for Jack’s artistic soul, is the still unknown story that winds around that young lady, who only an instant after her appearance on the deck is reached by a gentleman and withdraws, visibly upset. The mystery grows thicker when Jack, that same evening, incidentally witnesses the attempted suicide of Rose. Like a magnificent figurehead, her red-copper hair whirling in the wind, she hangs from the deserted stern of the ship instead of the prow, and leans toward the water, ready to take a dive. Jack will say later: “...what could have happened to this girl to make her think she had no way out [?]”. Curiosity, mystery, fascination, adventure—there are many elements to attract the initial interest of Jack, but it is his effort of persuasion in convincing Rose not to jump down, and the gratification in succeeding, that turn his M-RA on. Jack seizes the opportunity created by such an unusual circumstance, that has opened a passage between two universes as far as the first and last class of a transatlantic cruiser, to get close to her and to start a dialogue. Jack’s artistic talent is not so much linked to his ability in drawing, but rather to his capacity to sense the stories behind the characters he observes, and in letting them surface through his portraits which, for this reason, transmit an uncommon intensity. Rose will later say: “You have a gift Jack—you do. You see people”, and Jack: “I see you”, thus disclosing to her his early awareness that she would have not jumped down, and thus, implicitly, that the attempted suicide was rather a desperate cry for help. Seeing through Rose, and thus accessing her intimate world, psychologically conquers Jack, and predisposes him to an approach from a Way 4-I position. The physical attraction that Rose fosters in Jack thus rapidly evolves into a mental one, because he responds to that request for help, and is the only one who seems willing to heed it. This is the prelude, but when does Jack get tied-up? It occurs when Rose, responding from a Way 3-R position, enters Jack’s social world. The party in the third-class deck, with its restless dances, vocal enthusiasm and unlimited booze, is the symbol of a totally extraneous sphere for Rose, diametrically opposed to the one she comes from, made of attitude, appearances, snobbish contempt. Intentionally, the movie juxtaposes the two social realities in a cross-cutting scene. However, Rose, although a proper representative of her world, does not appear unfit in Jack’s one, and this symbolically decrees her psychological compatibility with the young man’s interiority. Once checked that Rose is compatible, Jack gets tied-up.
But Rose, despite being in a Way 3-R position, is not tied-up yet. Certainly, the biological test has succeeded in sanctioning a strong compatibility with Jack, and has allowed her spontaneous disclosure to the young man. The first physical contact, however unusual, has been the one after Jack’s rescue—a circumstance that, while preventing Rose from falling into the cold waters of the Atlantic Ocean, has at the same time caused a deadweight fall of Jack onto her lying body. And then there has been the ballroom dance, one of the most ancient, effective methods to test male compatibility. In addition to allowing her to probe the male chemistry through the closeness and the contact of the embrace, the dance has provided Rose with an easy appreciation of Jack’s energetic field, and of their motoric accord in seamlessly moving together without ever knowing the dance steps. “Just go with it. Don’t think!” is Jack’s exhortation to Rose to overcome her performative fears. Couple dances presume a female accommodation to the male’s motor drive which has a high symbolic meaning. The invite not to think implies the realization that, in dance, it is the body that responds to the stimuli and not the mind—that is, that communication directly happens between the bodies, without the conscious mediation of thought. And it is the absence of such control that causes the pleasure of free bodily expression, and the gratification of the discovered harmony from moving together in time. From a female viewpoint, dance has also a valence of trustful abandonment in accepting to be guided by the man, without being able to personally check neither the direction nor the presence of possible obstacles, an aspect that is clearly underlined by the movie, like in the scene where Jack makes Rose dizzily whirl without letting her fall to the ground. In the movie, the dance marks the moment of Jack’s Tie-Up. Jack can satisfactorily acknowledge his psychological compatibility with the young woman who, however delicate and beautiful, has a strength and a vigor comparable to the male ones. However, on the contrary the dance does not decree Rose’s Tie-Up. Rose’s interior strength stems from an extreme, perspicacious psychological independence. Thus, when on the day after Jack, not without effort, manages to speak to her again, this time to convince her to abandon her already concrete plans of a façade marriage in her own social environment, she escapes his attempts at close physical contact, which seemed to prelude to a kiss, and rejects him.
In fact, Rose is not rejecting Jack, in that Jack is not yet a matter, he is not yet a subject who can motivate her choices. She is fighting against her own desire to escape the perspective of a captive life, and gives herself up only for the fear to put her mother in difficulty. Rose’s mother socially and economically needs her daughter’s sacrifice to maintain her position: “It’s so unfair”, says Rose to her mother, who responds: “Of course it’s unfair. We’re women. Our choices are never easy”. In this moment, Jack is only the other side of the coin, almost an excuse that may encourage her to go along her own way. He is not the real reason of the flight yet, in that Rose’s mind is still too focused upon the psychological, coercive pressure that her social environment is exerting on her, against her will. Jack begs her: “They’ve got you trapped, Rose, and you’re gonna die if you don’t break free. Maybe not right away... because you’re strong... but sooner or later that fire that I love about you, Rose... that fire is gonna burn out”, and Rose: “It’s not up to you to save me, Jack”, to which Jack consciously concedes: “You’re right. Only you can do that”. Rose walks away, leaving Jack alone to contemplate his one-sided TU.
But at this point of the story, it is a young girl, stiffly sitting at the stable, adjusting her napkin on her legs with a blatantly unnatural gesture for her age, so contrived and ridiculous, to awaken the horror in Rose’s eyes, who sees herself mirrored in the image of that turn-of-the-century, high society marionette. This incident precipitates her decision, and makes her abandon her group searching for Jack, to announce him she has changed her mind. She is not tied-up yet, but Jack wasn’t waiting for anything else to make his Way 4 move: “Keep your eyes closed. Do you trust me?” he says to her, while he makes her climb the steps to the railing in the narrowest, most extreme point of the prow of the Titanic cruising at full navigation speed. Blocking her from behind and holding her firmly from the hips, he makes her open her arms wide like a bird that happily glides into the air, and then tells her to open her eyes. Then, Rose suddenly sees the boundless sea before her and exclaims, quivering: “I’m flying, Jack!” In this precise moment, Rose ties-up. Why?
The popularity of this scene is not incidental, as it tells us so much about the female emotional world and about its constitutional desire to reach a sensory ecstasy. As in the dance, once more, the male lead character asks for an act of trust. Their romance is a perennial request and offering of trust, for instance when Jack begs Rose to believe in his innocence after having been unjustly accused of theft, or when Rose is called to break Jack’s handcuffs with an axe to set him free, with the concrete risk of chopping away a hand or an entire arm of his—a situation that sanctions a sudden overturn of their positions. The request for trust in a romantic relationship is a prelude to physical and psychological intimacy. Trusting the other is thus letting the guard down, tearing down one’s defenses and admitting the other in, with the concrete risk of getting hurt. It is therefore an implicit request for a TU. In Rose, a strong, resolute character, F-TU is brought about by a complex chemical cocktail. The cortisol-norepinephrine response of suddenly finding oneself on the exposed prow of the cruise ship [191], the dopamine one linked to the surprise and the novelty of the situation [192], and the serotonin one deriving from the excitement from a sensory stimulus so unexpected and pleasurable [193], and maybe some more—a sort of metaphoric climax. The euphoria of the surprise, the joy of the abandonment in a situation of total trust, show us the extent to which the female Tie-Up, despite being a sexually prompted bond, is also strongly connected to the emotional state that is created, and that becomes crucial in what is a far from mechanical response.
The remainder of the romance of Jack and Rose is a rapid fire of iterations of a perfectly functioning TU-C, which displays its dynamics both through a flow of rewards that is typical of the process of getting in love, and through a more demanding flow of rewards typical of a solid love relationship, when the two partners face difficult, and even extreme experiences together. The D-TU of this story is thus determined in a way and with characteristics that enable the newly formed couple to go through the terrible ordeal that awaits them, with the full force of a strong bond, founded upon that reciprocal trust that will allow them to face death, with the determination to give their life for one another. The whole movie is a testing ground for their TU-C, where the reciprocal shots of rewards represent the necessary support to overcome any obstacle, and the constant inner resource that will enable them to resist adversity and the very passing of time, whereas Jack’s gift of his life will be like a seed that will flourish in Rose’s later life course as its most meaningful fruit.
The social cognition value of Titanic, unlike the other movies under exam here, is not in experimenting with variants to the usual interaction schemes. In Titanic, we see the exemplary representation of the most classical scheme of Tie-Up creation, the Way 4-I + Way 3-R which is at the root of many of the most conventional romances. What makes the movie meaningful is the skillful dosage of the narration in building, singling out and representing with iconic clarity, in a precise, credible way, the moments and the situations that determine the Tie-Up of each character, pointing out the crucial factors and the specific characteristics for each sex, as well as appropriately sketching out the consequent unfolding of the TU-C. In the case of the already cited scene of Rose’s Tie-Up, for example, the viewer is provided with a very powerful metaphorical synthesis that becomes the symbolic center of the entire movie, and that has left a deep trace in the psyche of the female viewers worldwide, making of it one of the most memorable topoi of the history of the cinema of the 90s. The story, moreover, ingeniously uses the narrative stereotype of the disaster movie to add a further level of depth to the social cognition valence of the romance of Jack and Rose. The extreme situation of the shipwreck becomes in fact, in the narrative development, the moment in which the two characters clearly prove with their choices the solidity of their double Tie-Up, despite its being so short-lived, and despite the huge social differences between them. The catastrophic setting thus turns into a sort of celebration of the TU-C as the true pillar of the biographical arc of both Jack and Rose, which continues to exert a decisive influence even after many years, when Jack is longtime dead, as if the flow of rewards could not be interrupted even by the passing away of one of the partners. The D-TU is so strong to transform the dissolution of the physical life of the couple into a restatement of its ideal strength, along Rose’s whole life, which has nevertheless been full, rich with affect and with those experiences that seemed precluded to her at the eve of her façade marriage. However, her story with Jack remains her personal secret and her main source of inspiration. Now an old lady, Rose reveals it for the first time, in public, to transmit its meaning and value to the new generations, as a sort of moral legacy: “But now you know there was a man named Jack Dawson and that he saved me… in every way that a person can be saved. I don’t even have a picture of him. He exists now… only in my memory”.
6.7. Lost in Translation
Lost in translation (2003), written, directed and produced by Sofia Coppola, interpreted by Bill Murray and Scarlett Johansson, is a movie about the incommunicability between partners, about the difficulty of self-expression and, at the same time, of being comprehended, listened to, and understood by the one who really should. This difficulty generates an inner state of frustration and profound loneliness, which is a key mood of the story. Incommunicability, lack of comprehension and loneliness are the very antithesis of the concept of a couple, and when they occur this is the unmistakable sign of a lifeless TU-C, because what has gone missing is not simply the flow of reciprocal rewards, but the very possibility of a transmission. Those who unwillingly experience such a mental and emotional state feel abandoned by their partner in a way that leaves them stunned and confused.
The story told by the movie is staged in Japan, but the main characters are travelling Americans, who are temporarily dwelling in a large Tokyo hotel for a few days. The linguistic and cultural barriers thus become a perfect metaphor of an interior condition, and everything indicates the materialization of a stalled situation, and of feeling blocked in an extraneous place which gives physical shape to an existential cul-de-sac. In such a situation, the exhaustion of a TU is quick, independent of the previous duration and of the strength of the relationship, and the possibility of a dissolution of the couple and of the formation of a new TU is high. The story, at its face value, tells about a double psychological adultery, as both the main characters are married to others, and yet they let themselves slip into an emotional intimacy that will lead them to get in love with each other. However, from the Tie-Up viewpoint, the story rather tells about the birth of a new TU-C between two subjects who have reconstructed their own TUs with a new partner in lieu of the previous, exhausted ones. We will thus see how a same psychological state, which is common to the two characters, represents a basic element of resonance, which caters for a deep mutual acknowledgement between different sexes, ages and life trajectories, illustrating how the unfolding of the Tie-Up cycle works through the harmonization of diversities.
She is Charlotte, freshly graduated and a 25-years old, young bride, who has followed her photographer husband in a professional trip. He is Bob, a mature man, who has been married for 25 years, a declining actor who is in Tokyo to shoot an ad for a local whiskey brand. A sentence merely whispered by Charlotte, at the beginning of the movie, during a phone call to a relative who is not even really listening to her: “I don’t know… who I married”, clearly reveals the level of inner solitude that Charlotte experiments toward her husband, who has evidently shut down any channel of emotional communication, and only minds his professional business, without listening to her or even wondering how she is, and what she feels. The young couple’s encounter, in the same hotel where they reside, with a young, emerging actress, whose banal personality transpires from her outspoken, inauthentic allure, reveals on the other hand how Charlotte’s husband, if willing to, knows how to show interest and curiosity toward a woman, even if maybe for purely instrumental reasons of vanity and career. However, his attitude toward his wife in terms of the Tie-Up cycle is a clear instance of frustration of female direct reward. Bob, instead, speaks to his wife, who remained in the States, via fax or telephone. His home calls are pitiful, formal and dry, and the story does not dig deeper into the reasons behind his wife’s palpable resentment and bitterness, apart from some veiled allusions to Bob’s lack of attention toward herself and toward their children.
Bob’s difficulty to establish a communication between himself and the others is also symbolically illustrated through his funny interaction with the Japanese director in charge of the ad shooting, whose long, elaborated remarks in Japanese are basically ignored by the interpreter, who systematically squeezes minutes-long explanations into a few, meaningless words in English. Or through the absurd, exhilarating meeting with a Japanese sex entertainer sent to his room to involve him into an incomprehensible, embarrassing erotic game that puts Bob in a mood that is the opposite of the intended one, and that underlines even more the extant cultural barriers, this time in terms of what should be erotic for someone. All in all, the sentence that better captures his sense of suffocation is the one Bob ironically addresses to Charlotte: “Can you keep a secret? I’m trying to organize a prison break. I’m looking for, like, an accomplice”. Bob almost seems to hope to be able to flee with Charlotte, to get some distraction and to bring his battered gratification back to an acceptable level. He is not meaning to send a sexual signal, and thus a request for a direct reward, as what Bob craves most, in that moment, is re-boosting that indirect reward that his wife keeps on frustrating. What Bob is looking for is simply taking a break, by receiving some emotional attention from an intelligent, young woman, who he has perceived as lonely as him in that big, luxury hotel.
This is the first step for the M-TU. Charlotte senses Bob’s deep need for human contact, and invites him out to have some fun with her friends, looking for something different elsewhere, and treating him not as a well-known celebrity, but as a simple man she is pleased to introduce to her Japanese acquaintances, to spend a no-brainer evening together, first at a party and then at a karaoke. The sense of cultural estrangement almost magically evaporates, despite that they are still in a foreign country among fundamentally stranger people, with whom, however, they now have fun trying to understand each other through gestures, smiles, or through some basic English, and everybody seems to feel part of a group, although an occasional one. This is the other side of what an unknown place may offer, now that it reflects a different, pacified inner state, as reached by the two characters once they have met and known each other. No longer isolation, incommunicability and estrangement, then, because the complicity with the young woman finally regenerates the driving force of the male indirect reward. Probably, Bob must have perceived or sensed a possible affinity with Charlotte since their first meeting in the elevator, as she, without even noticing, has nevertheless offered him a sweet, sympathetic smile. Who is the initiator of the TU-C between the two of them? Even if it is Bob who noted Charlotte first, the initial Impulse to the TU-C is given by the young woman in the very moment she takes the decision to transform Bob’s ironical outpouring into an actual suggestion, and thus into a concrete, feasible ‘prison break’ plan. By organizing their night out together, Charlotte enters the TU-C from the Way 1-I position, allowing Bob to know her better and thus to initiate his test of psychological compatibility, entering in turn into the TU-C from a Way 6-R position.
The success of their escape marks the beginning of a progressive, increasing psychological intimacy that leads them to see each other in the following days, up to a decisive, further sleepless night for both, when they end up staying together, in his bedroom, lying on the bed and watching a famous Italian movie, chatting in full relaxation. The age difference is an opportunity for Charlotte to get a point of view on the way forward, from someone who has already gone a long distance and can tell her about what lies ahead, how will it be when years pass by. So she asks him: “I’m stuck. Does it get easier?”, and Bob, offering his experience: “The more you know who you are and what you want, the less you let things upset you”. Charlotte, in full disclosure, tells Bob about her doubts and uncertainties, and then asks him, “you know?” looking for comprehension. Bob reassures her, and gives advice—and, most of all, listens to her. It is exactly this side of Bob—his half-accomplice, half-paternal maturity, experience, kindness and availability that excites Charlotte’s F-AA and makes her choose Way 1 as a mode of approach. Her approach has thus no sexual intent, but remains, for her as well, on a psycho-emotional level. Thanks to the friendship with Bob, Charlotte re-balances the frustration of her direct reward caused by her husband’s behavior. The relief and gratification that ensue further excite her F-AA, and Charlotte progressively gets closer to the gentle, charming man, shifting her attention from herself and her feelings, toward those of Bob. Following the flow of her thoughts, she ends up reminding herself he is a married man, and probably also tied-up to his wife. She insists, asking him: “What about marriage? Does that get easier?” and Bob: “That’s hard. We used to have a lot of fun. Lydia would come with me when I made the movies, and we would laugh about it all. Now she doesn’t want to leave the kids, and… she doesn’t… need me to be there”. Here is the account of a M-TU where the man is tied-up to the woman because she is beside him, shows interest for him and shares with him the vicissitudes of life. Their marriage was certainly built on the premises of a D-TU, but now Bob complains about a chronic frustration of his M-RA, as he feels not to be important anymore for his wife, who is fully absorbed and focused only upon their children, and it can be conjectured that he is analogously frustrating his wife from a sexual standpoint.
This enables the viewer to understand Bob’s profound frustration. Without the indirect reward that united him to his wife, he has eventually felt no longer considered. The frustration of the indirect reward is extremely dangerous in an already functioning TU-C, in that it directly threatens the TU which, as we know, resides in the RA. The more so in a long-lived couple, which can also suffer from a weakening of the direct rewards (sexual for the man, psycho-emotional for the woman), so that the overall level of reward may drop for both below the minimum necessary threshold to ensure the sustainability of the TU-C. The chat between Bob and Charlotte, instead, is extremely rewarding for both. Bob has listened to her, and has disclosed in turn, speaking about himself, and his emotional life. Charlotte feels emotionally considered at last, by experimenting, through Bob’s confidence, all his appreciation and trust—that is, feelings that reveal the newly forming M-TU. Bob has psychologically tied-up on an emotional sphere, because Charlotte, during the few days spent together, has made him a gift of closeness, offering him sympathy, emotional sharing, companionship and authentic, relaxed contact between their inner selves.
But the female Tie-Up does not depend simply on the excitement of the F-AA. For the F-TU to occur, it is needed that a full round of the hemicycle on the side of M is completed, that is, that F’s direct reward stimulates M-RA to generate that indirect reward that will activate M-AA in turn, pulling the latter into taking a physical initiative toward F-RA, where finally F-TU may take place, thus sparking a full-fledged cycle. Bob is a mature man, much older than Charlotte, and is also a responsible human being who would never take advantage of a much younger woman, towards whom he feels a sort of gentle, protective scruple. Moreover, and most importantly, he has tied-up, and tends instinctively to be more considerate and protective toward her, who could still reject him on the physical level. All those are typical considerations for a Way 6. Then, Bob’s M-AA remains braked, and does not act in the direction of a sexual seduction of F. With respect to the interaction diagram in Figure 12a, starting from Way 1-I, we are moving along the descending branch that leads, through a successful test for M, to Way 6-R, which does not contemplate the constitution of a TU-C (Stop), because of the lack of a F-TU.
Charlotte, moreover, from her Way 1 position, could feel fully accomplished because of her direct reward, thus limiting herself to a deep, grateful feeling of friendship toward the man who has shown appreciation and listened to her. However, at this point in the story, while they are lying on the bed chatting in Bob’s room, she does something unexpected and, at the same time, extremely poetical. With the tips of her toes, she touches Bob’s thigh. Charlotte’s position, lying on a side with her legs folded as if she were crouching, is such that the tips of her toes represent the only extremity of her body that reaches out to Bob, exactly like it would be for a finger of a reaching out hand. The touch is punctual, and not invasive at all, and this has a precise symbolic meaning. It is something that Bob can safely ignore if he feels like, and it is as if she is saying to him that he is free, he has no obligation, but at the same time it is a sort of encouragement that lets him know, with intense femininity, that if he wants, he can complete the cycle without a fear of losing her. Most likely, Charlotte’s F-RA has turned on, maybe in the previous days, and maybe just immediately after they have lain on that bed simply to be more comfortable, but as a matter of fact creating a close enough physical contact to allow Charlotte to complete her biological compatibility test on Bob. The success of the test has determined, for Charlotte, the passage from a Way 1-I to a Way 3-I position. Bob’s response will be the best possible. He maintains the same level of intensity of the young woman, without moving from the emotional to the sexual sphere (Way 6-R, Figure 12b). In a natural way, he welcomes her feet in his hand, with a simple gesture where he lowers his arm and wraps them around with a full contact, with his palm and fingers. Such a contact gets Charlotte tied-up.
The D-TU has formed, but the awareness that a TU has occurred is not always immediate, because becoming conscious about one’s own feelings and about those of the other is a process that may call for some extra passage. Moreover, the fact that the characters are married puts a further obstacle to the acceptance of a new TU, which would become the evident sign of the failure or of the deterioration of the previous one. The movie does not insist much on Charlotte’s marriage situation. Her husband appears totally uninterested, maybe he is not even tied-up. His lack of maturity and his strong self-serving pull seem to leave little hope in the fresh union with Charlotte. At some point, Charlotte’s husband goes for an out-of-town job and leaves her alone in the hotel, and this becomes the tipping moment that makes her feel free from her marriage obligations.
Bob, instead, is into a full, tormented reflection and takes some extra time, changing his plans and postponing his return flight. However, such reflection makes painful conflicts surface, prompting him to look for some relief in an easy, momentary direct reward—an occasional sex encounter with an unknown woman, accompanied, and possibly favored, by alcoholic excess. The suspect of having tied-up to Charlotte, and the perception of the possible, simultaneous Tie-Up on her side, exposes Bob for the first time to the concrete, explicit prospect of his marriage failure. The possibility of a new life with Charlotte also implies pain and suffering for his wife, who, as noted, already considers him guilty, and for his children. Bob is, evidently, a sensible man, and it is hard for him to look at the situation in its true colors. His occasional sexual adventure thus becomes an incident, inadvertently procured but effective in compromising the nascent TU-C with Charlotte, who knocks at his hotel apartment door only to face Bob visibly embarrassed from the perfectly audible feminine singing coming out of his bathroom shower. Bob does not try to deny the evidence. He is aware to have cowardly looked for a way out from the conflict, by spoiling the meaning of his magic moment of harmony with Charlotte who, deluded and disappointed, makes a step back.
The flow of rewards has fallen apart. When they meet again to eat together in a Japanese restaurant—where the customers cook the meat themselves by using a burner at the table—the frustration of the indirect reward of both finds an easy excuse for pouring out in their clumsy attempts to prepare the food, which here represent, once again, the materialization of their confused emotional states. The awkward dinner situation turns into the scapegoat of Bob’s discomfort and of Charlotte’s resentment, both of which clearly printed on their shut-down faces, closed to any willingness of real communication. However, at some point, the sense of uneasiness fades out—after all, there isn’t anything explicitly declared between them yet. Clearly, Charlotte has been hurt in her F-RA, and there is no way for her to accept the idea that a man in the process of tying-up tends not to have soothing sex (if we may call it that way) with the woman he is being tied-up to. Bob, instead, is fully conscious of his mistake, which has already determined, with Charlotte just like with his wife, the frustrating suspension of the indirect reward generated by his M-RA, whose gratification has been abruptly interrupted by Charlotte’s F-AA.
The situation finds a new equilibrium, but at a cost. Charlotte retreats into her F-AA, cutting out her wounded F-RA, and folds back to a sphere of pure friendship. The TU-C has broken down and Bob’s imminent departure will certify its end, with the final separation. When the RAs and not just the AAs come to suffer, the TUs are compromised, without a possibility to rely upon automatic compensation mechanisms. Bob suddenly comes to realize how this new type of frustration is much more painful than the usual ones, in that it hits an operating TU. The decision is now left with him, in that Charlotte, finally aware to be tied-up, knows well how hurtful a one-sided TU can be, and unwilling to drag the situation indefinitely, is determined to give up if Bob does not clearly spell his intention out. In terms of the interaction diagram, Charlotte, tied-up by now, has moved from a Way 1-I to a Way 3-I position, giving new impulse to the TU-C under the form of frustration. Way 3 is characteristic of a woman who conceals her TU and does not heed her F-RA, because she is extremely selective toward the male approach tactics, and demands a real check of the effectiveness of the M-TU, by frustrating the man in his most excited area from the point of view of the craving for reward, and testing his response. F thus leaves in fact to the partner only one possible path toward the TU-C, the one where the man can respond to frustration from a Way 4 position that is compatible with the female one, thus proving to have assumed a sympathetic attitude that enables him to understand, and correctly figure out, the signals F is sending to him. Charlotte has returned to her role as friend, but keeps Bob at a distance with subtle irony. The night before the departure they meet at the hotel’s bar, just like at the beginning, but now she stares at him in silence with an enigmatic smile, so he tells her: “I don’t want to leave!” and Charlotte: “So don’t. Stay here with me”, which would be just the answer Bob hopes to hear from her. Charlotte goes on though, saying: “We’ll start a jazz band”. She goes on with her light but carefully targeted frustration that leaves to Bob all the responsibility to expose himself to unscramble the situation.
Despite his insistence with small, clumsy attempts to create a new moment of real contact with Charlotte, Bob seems to lack the energy needed to oppose the already planned orchestration of events that inexorably pulls toward his departure, and finds himself riding the taxi that drives him to the airport, in a remissive Way 6 position. Only now he fully realizes he has lost Charlotte, but in the very moment this thought painfully surges to his conscience, he sees her walking in the crowd, as if the fate were offering him one last chance. Without hesitation, Bob stops the taxi, gets down and reaches her. The finale is mysterious. The viewer is denied the revelation of what Bob whispers into Charlotte’s ear, once having run after her and given her a hug. Whatever Bob says, however, must be an eloquent sign of the passage to a Way 4 position. Evidently, the kiss that comes after, the first kiss Bob gives to Charlotte, while she cries of joy, has surely restored their Tie-Up cycle, pulling her hurt F-RA back to full functioning again.
From the viewpoint of the social cognition of TU-C, the most interesting aspect of Lost in translation is its illustration of how a situation seemingly devoid of possible development such as the Way 1-I + Way 6-R relationship between Charlotte and Bob may evolve into a classical sequence Way 3-I + Way 4-R—where it is the woman here, for the first time in the cinematic examples considered in this paper, who takes the initiative. The story presents us with a parallel process of dismantling of the preexisting Tie-Ups of the main characters, and of creation of a new D-TU. The complexity of the process depends on the difficulty of the initial situation, where paradoxically it is the position of Way 6 response by Bob that allows a gradual overcoming of the obstacles—the difference in age (the story emphasizes how Bob’s marriage has the same age as Charlotte, who could then be his daughter), the existence of the previous Tie-Ups, Bob’s feelings of guilt and his existential fatigue. However, the story also clearly shows how the progression of the characters toward the start of the TU-C is for them at the same time a path of joint rebirth, whose accomplishment is symbolized by Bob’s mysterious final promise that makes Charlotte cry. If in Titanic and The bridges of Madison County the shortness of the time window available to the characters is the element that brings them, for different reasons and in different ways, to quickly go through many iterations of the TU-C to fix an experience of double Tie-Up that they will cherish in their memory, in this case, to the contrary, the temporal limitation is the trigger that allows to Charlotte and Bob to complete that single iteration of the cycle upon which they will likely build a future life together.
7. Conclusions
In the previous section, we have analyzed a small but meaningful sample of Hollywood fictional narrations where the process of mating has a central role. We have chosen blockbuster movies, that have received a strong social validation from the public, and that have consequently become part, each one in its own way, of a collective narrative repertoire whose rich records of situations and choice patterns have left a major trace in the cultural memory as mating-related narrative topoi for many generations.
The value added in considering many different narratives lies in the specific contribution that each of them provides to the social cognition of mating in terms of significant variants of the classic interaction schemes, that is, of the best known, most predictable ones. In some cases, as we have seen, such contribution consists of an unforeseen, paradoxical unfolding of a familiar interaction scheme. In others, the scheme unfolds to the contrary in an entirely orthodox way, but it is the context that becomes surprising or paradoxical. In yet other cases, the process of couple formation goes through various phases, moving from an interaction scheme to another in different moments of the story. There is practically no limit to the variants that can be explored, as there is no limit to the variations in the circumstances in which a mating-related interaction can occur in real life. And this is the reason why the interest of society, and of single individuals alike, toward the social cognition of mating does not show any sign of diminishment. It must be observed, though, that in some historical periods, for various reasons, there may be temporary eclipses of attention toward the topic, as it happened for instance in the 40 s, possibly because of wartime anxieties, or from the second half of the 60 s up until the end of the 70 s, with the predominance of social, politically engaged cinema. Not incidentally, our selection of movies presents some telling time gaps for such periods.
We can resume the interaction structure of the seven examples considered in this paper both in terms of combinations of Impulse-Response positions and of actual paths along the interaction diagrams, as shown in Figure 14. It must be noted that, interestingly, we do not have an interaction diagram for Gone with the wind in that, in this case, the TU-C never really starts because of the bad phasing of the Tie-Up timings of the two main characters.

Figure 14.
Positions and interaction schemes for the movies presented in Section 6. 1939—Gone with the wind: Way 4-I + Way 1-R; 1958—The long, hot summer: ●Way 2-I + Way 3-R; 1960—The apartment: ●Way 2-I + Way 5-R; ●Way 6-I + Way 1-R; 1989—When Harry met Sally: ●Way 6-I + Way 1-R → Way 6-I + Way 5R → Way 5-I + Way 2-R; 1995—The bridges of Madison County: ●Way 4-I + Way 5-R; 1997—Titanic: ●Way 4-I + Way 3-R; 2003—Lost in translation: ●Way 1-I + Way 6-R → Way 3-I + Way 4-R.
Our previous considerations lead us to point out how each of the considered examples of cinematic narration develops by following an entirely pertinent logic from the point of view of our theoretical framework. The various cases illustrate a variety of typologies of interaction which, as shown in Figure 14, cover the most part of the interaction schemes that lead to the creation of an operating TU-C. This is of course a very small, arbitrary selected sample, one among many possible analogous ones, and thus our analysis does not aim at providing a full ‘experimental’ probation of our theoretical approach. However, the chosen movies exemplify some of the most well-known and popular Hollywood romances of all time, and we checked in some detail how our framework provides us with, on the one hand, a reliable interpretive key to the analysis of the narrative development of the stories under exam, and on the other hand, an understanding of how such developments are in fact governed by rules that conform to what was postulated by our theoretical schemes. If therefore a sample of focal fictional narratives where mating issues take a central role, in their capacity of a socially validated laboratory of social cognition, punctually reflect the dynamics of formation and evolution of the TU-C in its detailed constellation of sub-cases, we can claim, as hypothesized in the introduction, to have found a first element of corroboration of the relevance of the Tie-Up theory in the study of mating processes. Much remains to be done, of course, and this first result is nothing but an initial, small step toward a solid scientific validation of our approach.
There are many directions for future research that should be pursued in that regard. First, it will be necessary to deploy, in a much more systematic fashion, the application of our approach to the analysis of fictional narratives, to check whether, and to what extent, the encouraging correspondences found in this paper carry over to wider, more heterogeneous samples, and, should this not be the case, to understand what are the factors and the contextual characteristics that determine the lack of correspondence. Moreover, there is the need to design a detailed, full-blown program of experimental research, both in laboratory settings and in situations of actual social interaction, to develop suitable discriminating tests that enable a comparative evaluation of the explanatory logic and implications of our approach vis-a-vis alternative ones. This second line of work has still to start entirely, including its basic methodological and conceptual development. It obviously poses a formidable challenge, that will call for the mobilization of a wide spectrum of scientific competences, and for a long, patient fieldwork.
We are hopeful, though, that this first step may provide sufficient motivation to maintain that the big challenges ahead have a clear rationale, that the effort they require is worthwhile, and that the ideas presented here may elicit some attention, constructive criticism, and possibly also new inter-disciplinary collaborations across the scientific community working on these topics, to understand with increasing precision and depth the extraordinary richness and complexity of the human dynamics of mating.
Acknowledgments
We are grateful to three anonymous reviewers for their detailed and constructive comments and suggestions that greatly improved the final version of this paper. The usual disclaimer applies.
Author Contributions
The authors have equally contributed to this paper.
Conflicts of Interest
The authors declare no conflict of interest.
References
- Elster, J. Alchemies of the Mind. Rationality and the Emotions; Cambridge University Press: Cambridge, UK, 1999. [Google Scholar]
- Lucchi Basili, L.; Sacco, P.L. Tie-Up cycles in long term mating. Part I: Theory. Challenges 2016, 7, 12. [Google Scholar] [CrossRef]
- Schmitt, D.P. Fundamentals of human mating strategies. In Handbook of Evolutionary Psychology; Buss, D.M., Ed.; Wiley: New York, NY, USA, 2005; pp. 258–291. [Google Scholar]
- Miller, G.F. The Mating Mind. How Sexual Choice Shaped the Evolution of Human Nature; Anchor Books: New York, NY, USA, 2011. [Google Scholar]
- Vermeule, B. Why Do We Care About Literary Characters? Johns Hopkins University Press: Baltimore, MD, USA, 2010. [Google Scholar]
- Oatley, K. Why fiction may be twice as true as fact: Fiction as cognitive and emotional simulation. Rev. Gen. Psychol. 1999, 3, 101–117. [Google Scholar] [CrossRef]
- Augoustinos, M.; Walker, I.; Donaghue, N. Social Cognition. An Integrated Introduction, 3rd ed.; Sage: London, UK, 2014. [Google Scholar]
- Zunshine, L. Why We Read Fiction: Theory of Mind and the Novel; Ohio State University Press: Columbus, OH, USA, 2006. [Google Scholar]
- Geher, G.; Kaufman, S.B. Mating Intelligence Unleashed. The Role of Mind in Sex, Dating and Love; Oxford University Press: Oxford, UK, 2013. [Google Scholar]
- Gottschall, J.; Nordlund, M. Romantic love: A literary universal? Philos. Lit. 2006, 30, 450–470. [Google Scholar] [CrossRef]
- Booker, C. The Seven Basic Plots. Why We Tell Stories; Bloomsbury: London, UK, 2004. [Google Scholar]
- Oatley, K. Fiction: Simulation of social worlds. Trends. Cogn. Sci. 2016, 20, 618–628. [Google Scholar] [CrossRef] [PubMed]
- Nordlund, M. Shakespeare and the Nature of Love: Literature, Culture, Evolution; Northwestern University Press: Evanston, IL, USA, 2007. [Google Scholar]
- Baker, M.D., Jr.; Sloan, H.N.; Hall, A.D.; Leo, J.; Maner, J.K. Mating and memory. Can mating cues enhance cognitive performance? Evol. Psychol. 2015, 13. [Google Scholar] [CrossRef]
- Kruger, D.J.; Fisher, M.L.; Strout, S.L.; Wehbe, M.; Lewis, S.; Clark, S. Variation in women’s mating strategies depicted in the works and words of Jane Austen. J. Soc. Evol. Cult. Psychol. 2013, 7, 197–210. [Google Scholar] [CrossRef] [Green Version]
- Kramer, D.; Moore, M. Family myths in romantic fiction. Psychol. Rep. 2001, 88, 29–41. [Google Scholar] [CrossRef] [PubMed]
- Zajicek, A.M.; Koski, P.R. Strategies of resistance to stigmatization among white middle-class singles. Sociol. Spectr. 2003, 23, 377–403. [Google Scholar] [CrossRef]
- Di Giulio, G. Sexuality and people living with physical or developmental disabilities: A review of key issues. Can. J. Hum. Sex. 2003, 12, 53–68. [Google Scholar]
- Herek, G.M. Confronting sexual stigma and prejudice: Theory and practice. J. Soc. Issues 2007, 63, 905–925. [Google Scholar] [CrossRef]
- Ross, D.L. The Excellence of Falsehood. Romance, Realism, and Women’s Contribution to the Novel; University Press of Kentucky: Lexington, KY, USA, 1991. [Google Scholar]
- Singer, J.A.; Skerrett, K. Positive Couple Therapy: Using We-Stories to Enhance Resilience; Routledge: London, UK, 2014. [Google Scholar]
- Gomillion, S.; Gabriel, S.; Kawakami, K.; Young, A.F. Let’s stay home and watch TV: The benefits of shared media use or close relationships. J. Soc. Pers. Relatsh. 2016. [Google Scholar] [CrossRef]
- Conroy-Beam, D.; Goetz, C.D.; Buss, D.M. Why do humans form long-term mateships? An evolutionary game-theoretic model. Adv. Exp. Soc. Psychol. 2015, 51, 1–39. [Google Scholar]
- Kruger, D.J.; Fisher, M.L.; Strout, S.L.; Clark, S.; Lewis, S.; Wehbe, M. Pride and prejudice or family and flirtation? Jane Austen’s depiction of women’s mating strategies. Philos. Lit. 2014, 38, A114–A128. [Google Scholar] [CrossRef]
- Stasio, M.J.; Duncan, K. An evolutionary approach to Jane Austen: Prehistoric preferences in ‘Pride and prejudice’. Stud. Nov. 2007, 39, 133–146. [Google Scholar]
- Fletcher, G.J.O.; Simpson, J.A.; Campbell, L.; Overall, N.C. Pair-bonding, romantic love, and evolution: The curious case of Homo Sapiens. Perspect. Psychol. Sci. 2015, 10, 20–36. [Google Scholar] [CrossRef] [PubMed]
- Grindon, L. The Hollywood Romantic Comedy. Conventions, History, Controversies; Wiley-Blackwell: Chichester, UK, 2011. [Google Scholar]
- Sternberg, R.J. Love stories. Pers. Relatsh. 1996, 3, 59–79. [Google Scholar] [CrossRef]
- Anderson, J.D. The Reality of Illusion: An Ecological Approach to Cognitive Film Theory; Southern Illinois University Press: Carbondale, IL, USA, 1996. [Google Scholar]
- Altmann, U.; Bohrn, I.C.; Lubrich, O.; Menninghaus, W.; Jacobs, A.M. Fact vs. fiction—How paratextual information shapes our reading processes. Scan 2014, 9, 22–29. [Google Scholar] [PubMed]
- Marsh, E.J.; Meade, M.L.; Roediger, H.K., III. Learning facts from fiction. J. Mem. Lang. 2003, 49, 519–536. [Google Scholar] [CrossRef]
- Carroll, J.; Johnson, J.A.; Gottschall, J.; Kruger, D.J. Graphing Jane Austen. Agonistic structure in British novels of the nineteenth century. Scient. Stud. Lit. 2012, 2, 1–24. [Google Scholar] [CrossRef]
- Johnson, K.R.; Holmes, B.M. Contradictory messages: A content analysis of Hollywood-produced romantic comedy feature films. Commun. Q. 2009, 57, 352–373. [Google Scholar] [CrossRef]
- Koopman, E.M.; Hakemulder, F. Effects of literature on empathy and self-reflection: A theoretical-empirical framework. J. Lit. Theory 2015, 9, 79–111. [Google Scholar] [CrossRef]
- Kidd, D.; Castano, E. Different stories: How levels of familiarity with literary and genre fiction relate to mentalizing. Psychol. Aesthet. Creat. Arts 2016. [Google Scholar] [CrossRef]
- Deleyto, C. The Secret Life of the Romantic Comedy; Manchester University Press: Manchester, UK, 2009. [Google Scholar]
- Booth, W.C. The Rhetoric of Fiction, 2nd ed.; University of Chicago Press: Chicago, IL, USA, 2010. [Google Scholar]
- Galloway, L.; Engstrom, E.; Emmers-Sommer, T.M. Does movie viewing cultivate young people’s unrealistic expectations about love and marriage? Marriage. Fam. Rev. 2015, 51, 687–712. [Google Scholar] [CrossRef]
- Horvath, T. The unkempt art. Style 2008, 42, 207–211. [Google Scholar]
- Mar, R.A.; Oatley, K. The function of fiction is the abstraction and simulation of social experience. Perspect. Psychol. Sci. 2008, 3, 173–192. [Google Scholar] [CrossRef] [PubMed]
- Dill-Shackleford, K.E.; Vinney, C.; Hopper-Losenicky, K. Connecting the dots between fantasy and reality: The social psychology of our engagement with fictional narrative and its functional value. Soc. Pers. Psychol. Compass 2016, 10, 634–646. [Google Scholar] [CrossRef]
- Swidler, A. Talk of Love: How Culture Matters; University of Chicago Press: Chicago, IL, USA, 2003. [Google Scholar]
- Oatley, K. Worlds of the possible. Abstraction, imagination, consciousness. Pragmat. Cogn. 2013, 21, 448–468. [Google Scholar]
- Holstein, J.A.; Gubrium, J.F. The Self We Live by: Narrative Identity in a Postmodern World; Oxford University Press: New York, NY, USA, 2000. [Google Scholar]
- Dissanayake, E. The arts after Darwin: Does art have an origin and adaptive function? In World Art Studies: Exploring Concepts and Approaches; Zijlmans, K., van Damme, W., Eds.; Valiz: Amsterdam, The Netherlands, 2008; pp. 241–263. [Google Scholar]
- Spolsky, E. The centrality of the exceptional in literary study. Style 2008, 42, 285–289. [Google Scholar]
- Mar, R.A.; Oatley, K.; Djikic, M.; Mullin, J. Emotion and narrative fiction: Interactive influences before, during and after reading. Cogn. Emot. 2011, 25, 818–833. [Google Scholar] [CrossRef] [PubMed]
- Mar, R.A. The neural bases of social cognition and story comprehension. Annu. Rev. Psychol. 2011, 62, 103–134. [Google Scholar] [CrossRef] [PubMed]
- Cooke, B. Compliments and complements. Style 2008, 42, 150–154. [Google Scholar]
- Kramer, M. The mating game in Hollywood cinema. A Darwinian approach. New Rev. Film Telev. Stud. 2009, 2, 137–159. [Google Scholar] [CrossRef]
- Salmon, C. Reflections on literary Darwinism. Style 2008, 42, 244–246. [Google Scholar]
- Huth, A.G.; de Heer, W.A.; Griffiths, T.L.; Theunissen, F.E.; Gallant, J.L. Natural speech reveals the semantic maps that tile human cerebral cortex. Nature 2016, 532, 453–458. [Google Scholar] [CrossRef] [PubMed]
- Gottschall, J.; Berkey, R.; Cawson, M.; Drown, C.; Fleischner, M.; Glotzbecher, M.; Kernan, K.; Magnan, T.; Muse, K.; Ogburn, C.; et al. Patterns of characterization in folktales across geographic regions and levels of cultural complexity. Hum. Nat. 2003, 14, 365–382. [Google Scholar] [CrossRef] [PubMed]
- Miall, D.S. Completing the paradigm: In pursuit of evidence. Style 2008, 42, 234–238. [Google Scholar]
- Levitt, S.D.; List, J.A. What do laboratory experiments measuring social preferences reveal about the real world? J. Econ. Perspect. 2007, 21, 153–174. [Google Scholar] [CrossRef]
- Eibl, K.; Mellmann, K. Misleading alternatives. Style 2008, 42, 166–171. [Google Scholar]
- Easterlin, N. A Biocultural Approach to Literary Theory and Interpretation; Johns Hopkins University Press: Baltimore, MD, USA, 2012. [Google Scholar]
- Carroll, J. An evolutionary paradigm for literary study. Style 2008, 42, 103–135. [Google Scholar]
- Boyd, B. On the Origin of Stories. Evolution, Cognition, and Fiction; Belknap Press: Cambridge MA, USA, 2009. [Google Scholar]
- Andrews, D.; Andrews, C. Film studies and the biocultural turn. Philos. Lit. 2012, 36, 58–78. [Google Scholar] [CrossRef]
- Carroll, J. Intentional meaning in Hamlet: An evolutionary perspective. Style 2010, 44, 230–260. [Google Scholar]
- Green, M. How and what we can learn from fiction. In A Companion to the Philosophy of Literature; Hagberg, G.L., Jost, W., Eds.; Wiley-Blackwell: Oxford, UK, 2010; pp. 350–366. [Google Scholar]
- Gibson, J. Interpreting words, interpreting worlds. J. Aesthet. Art Crit. 2006, 64, 439–450. [Google Scholar] [CrossRef]
- Seamon, R. Literary Darwinism as science and myth. Style 2008, 42, 261–265. [Google Scholar]
- Goodheart, E. Do we need literary Darwinism? Style 2008, 42, 181–185. [Google Scholar]
- Zamir, T. An epistemological basis for linking philosophy and literature. Metaphilosophy 2002, 33, 321–336. [Google Scholar] [CrossRef]
- Black, J.E.; Barnes, J.L. The effects of reading material on social and non-social cognition. Poetics 2015, 52, 32–43. [Google Scholar] [CrossRef]
- Carroll, J. Rejoinder to the responses. Style 2008, 42, 308–379. [Google Scholar]
- Pellegrini, A.D. The Role of Play in Human Development; Oxford University Press: Oxford, UK, 2009. [Google Scholar]
- LaFreniere, P. Evolutionary functions of social play. Life histories, sex differences, and emotion regulation. Am. J. Play 2011, 3, 464–488. [Google Scholar]
- Boyd, B. Art as adaptation: A challenge. Style 2008, 42, 138–143. [Google Scholar]
- Ronfard, S.; Harris, P.L. Will little Red Riding Hood become scared? Children’s attribution of mental states to a story character. Dev. Psychol. 2013, 50, 283–292. [Google Scholar] [CrossRef] [PubMed]
- Mar, R.A.; Tackett, J.L.; Moore, C. Exposure to media and theory-of-mind development in preschoolers. Cogn. Dev. 2010, 25, 69–78. [Google Scholar] [CrossRef]
- Herman, D. Storytelling and the Sciences of the Mind; MIT Press: Cambridge, MA, USA, 2013. [Google Scholar]
- Carroll, J.; Gottschall, J.; Johnson, J.A.; Kruger, D.J. Graphing Jane Austen: The Evolutionary Basis of Literary Meaning; Palgrave Macmillan: New York, NY, USA, 2012. [Google Scholar]
- Chwe, M.S.Y. Jane Austen, Game Theorist; Princeton University Press: Princeton, NJ, USA, 2013. [Google Scholar]
- Mink, L.O. History and fiction as modes of comprehension. New Lit. Hist. 1970, 1, 541–558. [Google Scholar] [CrossRef]
- Cowen, T. Is the Novel a Model? Unpublished Manuscript; George Mason University: Fairfax, VA, USA, 2005. [Google Scholar]
- Trabasso, T.; van der Broek, P. Causal thinking and the representation of narrative events. J. Mem. Lang. 1985, 24, 612–630. [Google Scholar] [CrossRef]
- Trabasso, T.; Sperry, L.L. Causal relatedness and importance of story events. J. Mem. Lang. 1985, 24, 595–611. [Google Scholar] [CrossRef]
- Van der Broek, P. The effects of causal relations and hierarchical position on the importance of story statements. J. Mem. Lang. 1988, 27, 1–22. [Google Scholar] [CrossRef]
- Black, J.B.; Bern, H. Causal coherence and memory for events in narratives. J. Verbal Learn. Verbal Behav. 1981, 20, 267–275. [Google Scholar] [CrossRef]
- Gottschall, J. The Storytelling Animal. How Stories Make Us Human; Houghton Mifflin Harcourt: Boston, MA, USA, 2012. [Google Scholar]
- Hogan, P.C. Affective Narratology. The Emotional Structure of Stories; Nebraska University Press: Lincoln, NE, USA, 2011. [Google Scholar]
- Keen, S. Empathy and the Novel; Oxford University Press: Oxford, UK, 2007. [Google Scholar]
- Mar, R.A.; Oatley, K.; Peterson, J.B. Exploring the link between reading fiction and empathy: Ruling out individual differences and examining outcomes. Communications 2009, 34, 407–428. [Google Scholar] [CrossRef]
- John, E. Love and the need for comprehension. Philos. Explor. 2013, 16, 285–297. [Google Scholar] [CrossRef]
- Nettle, D. The wheel of fire and the mating game. Explaining the origins of tragedy and comedy. J. Cult. Evol. Psychol. 2005, 3, 39–56. [Google Scholar] [CrossRef]
- Johnson, D.R. Transportation into a story increases empathy, prosocial behavior, and perceptual bias toward fearful expressions. Personal. Individ. Differ. 2012, 52, 150–155. [Google Scholar] [CrossRef]
- Carroll, J. Biocultural theory and the study of literature. Comp. Lit. 2015, 67, 21–28. [Google Scholar] [CrossRef]
- Dunbar, R. Why are good writers so rare? An evolutionary perspective on literature. J. Cult. Evol. Psychol. 2005, 3, 7–21. [Google Scholar] [CrossRef]
- Oliver, M.B.; Raney, A.A. Entertainment as pleasurable and meaningful: Identifying hedonic and eudaimonic motivations for entertainment consumption. J. Commun. 2011, 61, 984–1004. [Google Scholar] [CrossRef]
- Rieger, D.; Reinecke, L.; Frischlich, L.; Bente, G. Media entertainment and well-being—Linking hedonic and eudaimonic entertainment experience to media-induced recovery and vitability. J. Commun. 2014, 64, 456–478. [Google Scholar] [CrossRef]
- Oliver, M.B.; Bartsch, A. Appreciation as audience response: Exploring entertainment gratifications beyond hedonism. Hum. Commun. Res. 2010, 36, 53–81. [Google Scholar] [CrossRef]
- Wirth, W.; Hofer, M.; Schramm, H. Beyond pleasure: Exploring the eudaimonic entertainment experience. Hum. Commun. Res. 2012, 38, 406–428. [Google Scholar] [CrossRef]
- Oliver, M.B.; Bartsch, A. Appreciation of entertainment. The importance of meaningfulness via virtue and wisdom. J. Media Psychol. 2011, 23, 29–33. [Google Scholar] [CrossRef]
- Bartsch, A.; Oliver, M.B. Making sense of entertainment. On the interplay of emotion and cognition in entertainment experience. J. Media Psychol. 2011, 23, 12–17. [Google Scholar] [CrossRef]
- Bartsch, A.; Kalch, A.; Oliver, M.B. Moved to think. The role of emotional media experiences in stimulating reflective throughts. J. Media Psychol. 2014, 26, 125–140. [Google Scholar] [CrossRef]
- Fong, K.; Mullin, J.B.; Mar, R.A. What you read matters: The role of fiction genre in predicting interpersonal sensitivity. Psychol. Aesthet. Creat. Arts 2013, 7, 370–376. [Google Scholar] [CrossRef]
- Khoo, G.S.; Graham-Engeland, J.E. The benefits of contemplating tragic drama on self-regulation and health. Health Promot. Int. 2016, 31, 187–199. [Google Scholar] [CrossRef] [PubMed]
- Khoo, G.S. Contemplating tragedy raises gratification and fosters self-acceptance. Hum. Commun. Res. 2016, 42, 269–291. [Google Scholar] [CrossRef]
- Weinmann, C.; Schneider, F.M.; Roth, F.S.; Bindl, M.J.; Vorderer, P. Testing measurement invariance of hedonic and eudaimonic entertainment experiences across media formats. Commun. Methods Meas. 2016, 10, 248–257. [Google Scholar] [CrossRef]
- Lozano Delmar, J.; Sánchez-Martín, M.; Muñiz-Velázquez, J.A. To be a fan is to be happier: Using the Eudaimonic Spectator Questionnaire to measure eudaimonic motivations in Spanish fans. J. Happiness Stud. 2016. [Google Scholar] [CrossRef]
- Odağ, Ö.; Hofer, M.; Schneider, F.M.; Knop, K. Testing measurement equivalence of eudaimonic and hedonic entertainment motivations in a cross-cultural comparison. J. Intercult. Commun. Res. 2016, 45, 108–125. [Google Scholar] [CrossRef] [Green Version]
- Koopman, E.M. Why do we read sad books? Eudaimonic motives and meta-emotions. Poetics 2015, 52, 18–31. [Google Scholar] [CrossRef]
- Shapiro, J.; Kroeger, L. Is life just a romantic novel? The relationship between attitudes about intimate relationships and the popular media. Am. J. Fam. Ther. 1991, 19, 226–236. [Google Scholar] [CrossRef]
- Brantlinger, P. The Reading Lesson: The Threat of Mass Literacy in Nineteenth-Century British Fiction; Indiana University Press: Indianapolis, IN, USA, 1998. [Google Scholar]
- Oliver, M.B.; Ash, E.; Woolley, J.K.; Shade, D.D.; Kim, K. Entertainment we watch and entertainment we appreciate: Patterns of motion picture consumption and acclaim over three decades. Mass Commun. Soc. 2014, 17, 853–873. [Google Scholar] [CrossRef]
- Oliver, M.B.; Hartmann, T. Exploring the role of meaningful experiences in users’ appreciation of ‘good movies’. Projections 2010, 4, 128–150. [Google Scholar] [CrossRef]
- Gaskin, R. Language, Truth and Literature: A Defence of Literary Humanism; Oxford University Press: Oxford, UK, 2013. [Google Scholar]
- Nordlund, M. The problem of romantic love: Shakespeare and evolutionary psychology. In The Literary Animal. Evolution and the Nature of Narrative; Gottschall, J., Wilson, D.S., Eds.; Northwestern University Press: Evanston, IL, USA, 2005; pp. 107–125. [Google Scholar]
- Cook, A. Shakespearean Neuroplay. Reinvigorating the Study of Dramatic Texts and Performance through Cognitive Science; Palgrave Macmillan: New York, NY, USA, 2010. [Google Scholar]
- Mar, R.A. The neuropsychology of narrative: Story comprehension, story production and their interrelation. Neuropsychologia 2004, 42, 1414–1434. [Google Scholar] [CrossRef] [PubMed]
- Summerfield, J.J.; Hassabis, D.; Maguire, E.A. Differential engagement of brain regions within a ‘core’ network during scene construction. Neuropsychologia 2010, 48, 1501–1509. [Google Scholar] [CrossRef] [PubMed]
- Smith, E.A. Communication and collective action: Language and the evolution of human cooperation. Evol. Hum. Behav. 2010, 31, 231–245. [Google Scholar] [CrossRef]
- McNeill, W.H. Keeping Together in Time. Dance and Drill in Human History; Harvard University Press: Cambridge, MA, USA, 1995. [Google Scholar]
- Kirschner, S.; Tomasello, M. Joint music making promotes prosocial behavior in 4-year-old children. Evol. Hum. Behav. 2010, 31, 354–364. [Google Scholar] [CrossRef]
- Chwe, M.S.T. Rational Ritual. Culture, Coordination, and Common Knowledge; Princeton University Press: Princeton, NJ, USA, 2001. [Google Scholar]
- Flesch, W. Comeuppance. Costly Signaling, Altruistic Punishment, and Other Biological Components of Fiction; Harvard University Press: Cambridge, MA, USA, 2007. [Google Scholar]
- Swirski, P. ‘Me’ first or ‘we’ first? Literature and paleomorality. Philos. Lit. 2011, 35, 150–167. [Google Scholar] [CrossRef]
- Cosmides, L.; Tooby, J. Evolutionary psychology and the generation of culture, Part 2: Case study: A computational theory of social exchange. Ethol. Sociobiol. 1989, 10, 51–97. [Google Scholar] [CrossRef]
- Sklar, H. The Art of Sympathy in Fiction. Forms of Ethical and Emotional Persuasion; John Benjamins: Amsterdam, The Netherlands, 2013. [Google Scholar]
- Richter, T.; Appel, M.; Calio, F. Stories can influence the self-concept. Soc. Influ. 2013. [Google Scholar] [CrossRef]
- Scalise Sugiyama, M. Reverse-engineering narrative: evidence of special design. In The Literary Animal. Evolution and the Nature of Narrative; Gottschall, J., Wilson, D.S., Eds.; Northwestern University Press: Evanston, IL, USA, 2005; pp. 177–196. [Google Scholar]
- Johnson, D.R.; Cushman, G.K.; Borden, L.A.; McCune, M.S. Potentiating emphatic growth: Generating imagery while reading fiction increases empathy and prosocial behavior. Psychol. Aesthet. Creat. Arts 2013, 7, 306–312. [Google Scholar] [CrossRef]
- Koopman, E.M. Emphatic reactions after reading: The role of genre, personal factors and affective responses. Poetics 2015, 50, 62–79. [Google Scholar] [CrossRef]
- Carroll, J. Literary Darwinism. Evolution, Human Nature, and Literature; Routledge: London, UK, 2004. [Google Scholar]
- Gibson, J. Literature and knowledge. In Oxford Handbook of Philosophy and Literature; Eldredge, R., Ed.; Oxford University Press: Oxford, UK, 2009. [Google Scholar]
- Swirski, P. Four ways to skin a cat: Evolution and literary study. Style 2008, 42, 296–301. [Google Scholar]
- Carroll, J. Reading Human Nature. Literary Darwinism in Theory and Practice; SUNY Press: Albany, NY, USA, 2011. [Google Scholar]
- Gottschall, J. Quantitative literary study: A modest manifesto and thesting the hypotheses of feminist fairy tale studies. In The Literary Animal. Evolution and the Nature of Narrative; Gottschall, J., Wilson, D.S., Eds.; Northwestern University Press: Evanston, IL, USA, 2005; pp. 199–224. [Google Scholar]
- Kruger, D.J.; Fisher, M.; Jobling, I. Proper hero dads and dark hero cads: Alternate mating strategies exemplified in British Romantic literature. In The Literary Animal. Evolution and the Nature of Narrative; Gottschall, J., Wilson, D.S., Eds.; Northwestern University Press: Evanston, IL, USA, 2005; pp. 225–243. [Google Scholar]
- Kelly, S.; Dunbar, R. Who dares wins: Heroism versus altruism in women’s mate choice. Hum. Nat. 2001, 12, 89–105. [Google Scholar] [CrossRef] [PubMed]
- Currie, G. Realism of character and the value of fiction. In Aesthetics and Ethics. Essays at the Intersection; Levinson, J., Ed.; Cambridge University Press: Cambridge, UK, 1998; pp. 161–181. [Google Scholar]
- Lamarque, P. On the distance between literary narratives and real-life narratives. R. Inst. Philos. Suppl. 2007, 60, 117–132. [Google Scholar] [CrossRef]
- Margolin, U. Individuals in narrative worlds: An ontological perspective. Poet. Today 1990, 11, 843–871. [Google Scholar] [CrossRef]
- Eder, J. Understanding characters. Projections 2010, 4, 16–40. [Google Scholar] [CrossRef]
- Barnes, J.L. Fanfiction as imaginary play: What far-written stories can tell us about the cognitive science of fiction. Poetics 2015, 48, 69–82. [Google Scholar] [CrossRef]
- Kroeber, K. Retelling/Rereading. The Fate of Storytelling in Modern Times; Rutgers University Press: Trenton NJ, USA, 1992. [Google Scholar]
- Wells, J. Everybody’s Jane: Austen in the Popular Imagination; Continuum Press: New York, NY, USA, 2012. [Google Scholar]
- Hernadi, P. Why is literature: A coevolutionary perspective on imaginative worldmaking. Poet. Today 2002, 23, 21–42. [Google Scholar] [CrossRef]
- Regis, P. A Natural History of the Romance Novel; University of Pennsylvania Press: Philadelphia, PA, USA, 2007. [Google Scholar]
- Palandri, E. Love for/of/through characters in fiction. Italianist 2013, 33, 158–168. [Google Scholar] [CrossRef]
- Miller, G.F.; Todd, P.M. Mate choice turns cognitive. Trends. Cogn. Sci. 1998, 2, 190–198. [Google Scholar] [CrossRef]
- Dávid-Barrett, T.; Rotkirch, A.; Carney, J.; Behncke Izquierdo, I. Mating strategies in Mozart’s Figaro. Hum. Ethol. Bull. 2015, 30, 83–98. [Google Scholar]
- Oatley, K. Imagination, inference, intimacy: The psychology of Pride and Prejudice. Rev. Gen. Psychol. 2016. [Google Scholar] [CrossRef]
- Fiedler, L. Love and Death in the American Novel; Dalkey Archive Press: McLean, IL, USA, 1960. [Google Scholar]
- Lewis, R.J.; Tamborini, R.; Weber, R. Testing a dual process of media enjoyment and appreciation. J. Commun. 2014, 64, 397–416. [Google Scholar] [CrossRef]
- Oliver, M.B. Tender affective states as predictors of entertainment preference. J. Commun. 2008, 58, 40–61. [Google Scholar] [CrossRef]
- Seiffge-Krenke, I. Testing theories of romantic development from adolescence to young adulthood: Evidence of a developmental sequence. Int. J. Behav. Dev. 2003, 27, 519–531. [Google Scholar] [CrossRef]
- Murray, S.L.; Holmes, J.G.; Griffin, D.W. The self-fulfilling nature of positive illusions in romantic relationships: Love is not blind, but prescient. J. Pers. Soc. Psychol. 1996, 71, 1155–1180. [Google Scholar] [CrossRef] [PubMed]
- Hrdy, S.B. Evolutionary context of human development. The cooperative breeding model. In Attachment and Bonding. A New Synthesis; Carter, C.S., Ahnert, L., Grossman, K.E., Hrdy, S.B., Lamb, M.E., Porges, S.W., Sachser, N., Eds.; MIT Press: Cambridge, MA, USA, 2006; pp. 9–32. [Google Scholar]
- Dowd, J.J.; Pallotta, N.R. The end of romance: The demystification of love in the postmodern age. Sociol. Persp. 2000, 43, 549–580. [Google Scholar] [CrossRef]
- Fischer, H. Anatomy of Love: A Natural History of Mating, Marriage, and Why We Stray; Ballantine Books: New York, NY, USA, 1994. [Google Scholar]
- Lee, L.J. Guilty pleasures: Reading romance novels as reworked fairy tales. Marvels Tales 2008, 22, 52–66. [Google Scholar]
- Chinen, A.B. In the ever after. Fairy Tales and the Second Half of Life; Chiron Publications: Wilmette, IL, USA, 1994. [Google Scholar]
- Diener, E.; Seligman, M.E.P. Beyond money. Toward an economy of well-being. Psychol. Sci. Public Interest 2004, 5, 1–31. [Google Scholar] [CrossRef] [PubMed]
- Sternberg, R.J. Love is a Story. A New Theory of Relationships; Oxford University Press: Oxford, UK, 1999. [Google Scholar]
- Kottman, P.A. Defying the stars: Tragic love as the struggle for freedom in Romeo and Juliet. Shakespear. Q. 2012, 63, 1–38. [Google Scholar] [CrossRef]
- Green, M. Learning to be good (or bad) in (or through) literature. In Fictional Characters, Real Problems: The Search for Ethical Content in Literature; Hagberg, G.L., Ed.; Oxford Scholarship Online: Oxford, UK, 2016. [Google Scholar]
- Kaye, R.A. The Flirt’s Tragedy: Desire without Ends in Victorian and Edwardian Fiction; University of Virginia Press: Charlottesville, VA, USA, 2002. [Google Scholar]
- Lewis, R.J.; Grizzard, M.; Mangus, J.M.; Rashidian, P.; Weber, R. Moral clarity in narratives elicits greater cooperation than moral ambiguity. Media Psychol. 2016. [Google Scholar] [CrossRef]
- Oliver, M.B.; Hartmann, T.; Woolley, J.K. Elevation in response to entertainment portrayals of moral virtue. Hum. Commun. Res. 2012, 38, 360–378. [Google Scholar] [CrossRef]
- Ramsdell, K. Romance Fiction: A Guide to the Genre, 2nd ed.; Libraries Unlimited: Santa Barbara, CA, USA, 2012. [Google Scholar]
- Hogan, P.C. The Mind and Its Stories: Narrative Universals and Human Emotion; Cambridge University Press: Cambridge, UK, 2003. [Google Scholar]
- Belk, R.W. Material values in the comics: A content analysis of comic books featuring themes of wealth. J. Consum. Res. 1987, 14, 26–42. [Google Scholar] [CrossRef]
- Cohen, D. The politics of wealth: Timon of Athens. In The Politics of Shakespeare; Cohen, D., Ed.; Palgrave Macmillan: London, UK, 1993; pp. 89–104. [Google Scholar]
- Freeman, L. The narrative of consumption: Greed and literature. In Greed; Brassey, A., Barber, S., Eds.; Palgrave Macmillan: Basingstoke, UK, 2009; pp. 170–187. [Google Scholar]
- Armstrong, N. How Novels Think; Columbia University Press: New York, NY, USA, 2005. [Google Scholar]
- Tsai-Vogel, M.; Krakowiak, M. Effects of hedonic and eudaimonic motivations on film enjoyment through moral disengagement. Commun. Res. Rep. 2016, 33, 54–60. [Google Scholar] [CrossRef]
- Eden, A.; Daalmans, S.; Johnson, B.K. Morality predicts enjoyment but not appreciation of morally ambiguous characters. Media Psychol. 2016. [Google Scholar] [CrossRef]
- Fischer, H. Why We Love: The Nature and Chemistry of Romantic Love; Henry Holt: New York, NY, USA, 2004. [Google Scholar]
- Jacobsen, K.J. Economic hauntings: Wealth and class in Edkth Wharton’s ghost stories. Coll. Lit. 2008, 35, 100–127. [Google Scholar] [CrossRef]
- Crusie, J. Romancing reality: The power of romance fiction to reinforce and re-vision the real. Paradoxa Stud. World Lit. Genres 1997, 3, 81–93. [Google Scholar]
- Radway, J.A. Reading the Romance. Women, Patriarchy, and Popular Literature, Revised Edition; University of North Carolina Press: Chapel Hill, NC, USA, 1991. [Google Scholar]
- Regis, P. What do critics owe the romance? J. Pop. Roman. Stud. 2011, 2, 7. [Google Scholar]
- Roach, C. Getting a good man to love: Popular romance fiction and the problem of patriarchy. J. Pop. Roman. Stud. 2010, 1, 2. [Google Scholar]
- Keen, S. To Love and Be Loved; Bantam Books: New York, NY, USA, 1999. [Google Scholar]
- Felmlee, D.H. No couple is an island: A social network perspective on dyadic stability. Soc. Forces 2001, 79, 1259–1287. [Google Scholar] [CrossRef]
- Greif, G.L.; Holtz Deal, K. The impact of divorce on friendships with couples and individuals. J. Divorce Remarriage 2012, 53, 421–435. [Google Scholar] [CrossRef]
- Gerstel, N. Divorce and stigma. Soc. Probl. 1987, 34, 172–186. [Google Scholar] [CrossRef]
- Piazza, J.; Bering, J.M. Concerns about reputation via gossip promote generous allocations in an economic game. Evol. Hum. Behav. 2008, 29, 172–178. [Google Scholar] [CrossRef]
- Ribar, D. What Do Social Scientists Know about the Benefits of Marriage? A Review of Quantitative Methodologies; IZA Discussion Paper #998; IZA Institute of Labor Economics: Bonn, Germany, 2004. [Google Scholar]
- Shumway, D. Modern Love: Romance, Intimacy and the Marriage Crisis; New York University Press: New York, NY, USA, 2003. [Google Scholar]
- Ostrov Weisser, S. The Glass Slipper: Women and Love Stories; Rutgers University Press: Trenton, NJ, USA, 2013. [Google Scholar]
- Baker, B. Masculinity in Fiction and Film: Representing Men in Popular Genres, 1945–2000; Continuum Press: New York, NY, USA, 2008. [Google Scholar]
- Greitemeyer, T.; Kastenmüller, A.; Fischer, P. Romantic motives and risk-taking: An evolutionary approach. J. Risk Res. 2013, 13, 19–38. [Google Scholar] [CrossRef]
- Bleske-Rechek, A.; Somers, E.; Micke, C.; Erickson, L.; Matteson, L.; Schumacher, B.; Stocco, C.; Ritchie, L. Benefit or burden? Attraction in cross-sex friendship. J. Soc. Pers. Relatsh. 2012, 29, 569–596. [Google Scholar] [CrossRef]
- Bleske-Rechek, A.; Joseph, W.E.; Williquette, H.; Donovan, B. Sex differences in young adults’ attraction to opposite-sex friends: Natural sampling versus mental concepts. Evol. Psychol. Sci. 2016. [Google Scholar] [CrossRef]
- Krämer, P. Women first: ‘Titanic’ (1997), action-adventure films and Hollywood’s female audience. Hist. J. Film Radio Telev. 1998, 18, 599–618. [Google Scholar] [CrossRef]
- Stark, R.; Wolf, O.T.; Tabbert, K.; Kagerer, S.; Zimmermann, M.; Kirsch, P.; Schienle, A.; Vaitl, D. Influence of the stress hormone cortisol on fear conditioning in humans: Evidence for sex differences in the response of the prefrontal cortex. Neuroimage 2006, 32, 1290–1298. [Google Scholar] [CrossRef] [PubMed]
- Fletcher, P.C.; Anderson, J.M.; Shanks, D.R.; Honey, R.; Carpenter, T.A.; Donovan, T.; Papadakis, N.; Bullmore, E.T. Responses of human frontal cortex to surprising events are predicted by formal associative learning theory. Nat. Neurosci. 2001, 4, 1043–1048. [Google Scholar] [CrossRef]
- Kemp, A.H.; Gray, M.A.; Silberstein, R.B.; Armstrong, S.M.; Nathan, P.J. Augmentation of serotonin enhances pleasant and suppresses unpleasant electrophysiological responses to visual emotional stimuli in humans. Neuroimage 2004, 22, 1084–1096. [Google Scholar] [CrossRef] [PubMed]
© 2017 by the authors. Licensee MDPI, Basel, Switzerland. This article is an open access article distributed under the terms and conditions of the Creative Commons Attribution (CC BY) license ( http://creativecommons.org/licenses/by/4.0/).