Next Article in Journal
Effect of Various Local Anthropogenic Impacts on the Diversity of Coral Mucus-Associated Bacterial Communities
Previous Article in Journal
Ship Dynamic Positioning Control Based on Active Disturbance Rejection Control
 
 
Font Type:
Arial Georgia Verdana
Font Size:
Aa Aa Aa
Line Spacing:
Column Width:
Background:
Article

Stochastic Medium Model for the Settlement Calculation of Prefabricated Vertical Drains of Soft Soil Foundations in the Coastal Area of South China

1
School of Civil Engineering, Sun Yat-sen University, No.135 XinGangXiLu, Guangzhou 510275, China
2
Guangdong Engineering Research Center for Major Infrastructures Safety, Sun Yat-sen University, Guangzhou 510275, China
*
Author to whom correspondence should be addressed.
J. Mar. Sci. Eng. 2022, 10(7), 867; https://doi.org/10.3390/jmse10070867
Submission received: 8 April 2022 / Revised: 16 June 2022 / Accepted: 22 June 2022 / Published: 24 June 2022
(This article belongs to the Section Coastal Engineering)

Abstract

:
The prefabricated vertical drain (PVD) is an essential means to mitigate the settlement of soft soil foundations in coastal areas of South China. The commonly used elastoplastic analytical method cannot directly reflect the interaction of different PVDs and the resulting displacement of soft soil. At the same time, these elastoplastic analysis and numerical simulation methods are greatly influenced by the values adopted for rock and soil material parameters. In this paper, we present a stochastic medium model that can directly reflect the interaction of different PVDs and the resulting displacement of soft soil. It is not affected by the characteristics of rock and soil themselves and can also reflect the actual deformation process of soft soil. According to engineering practice, the settlement curves of soft soil foundations in coastal areas of South China with PVDs exhibited distinct normal distribution characteristics, which was consistent with the description of settlement by the stochastic medium model. Hence, based on the stochastic medium model, this paper analyzed the settlement mechanism of PVDs and established a stochastic medium model for the settlement calculation of PVDs. A function for the soft soil foundation in the coastal area of South China cross-section settlement curve was presented by back analysis of the PVD model. We chose the stochastic medium model based on this methodology to explore the interaction between different PVDs. The above models were then applied to an expressway in South China. Comparing actual settlement monitoring values to calculated values obtained with the PVD model, the error between the two models was less than 15%. This research provides a new settlement calculation method of PVDs in soft soil foundations in the coastal area of South China and a new basis for designing soft soil foundations.

1. Introduction

Soft soil foundations in the coastal area of South China are prone to uneven settlement due to seepage. PVD preloading is an important method to address the problem of uneven settlement of soft soil foundations in the coastal area of South China. The PVD plays an essential role in solving the seepage problem in soft soil foundation engineering [1,2,3,4,5]. Construction projects involving soft soil foundations in the coastal area of South China are increasing [6,7,8,9,10,11,12,13]. The PVD has large-scale application prospects in the future. The basic function of the PVD is to facilitate vertical drainage by its advance incorporation into a soft soil foundation in the coastal area of South China. The principle of the PVD is to shorten the drainage distance of soft soil, which is associated with excess pore pressure in soft soil under surcharge loading. If excess pore pressure occurs, pore water flows from areas of high excess pore pressure to regions of low excess pore pressure. PVDs accelerate consolidation and soft soil foundation in the settlement of the coastal area of South China.
Research on settlement calculation of PVDs in soft soil foundations in the coastal area of South China has mainly focused on analytical calculations and numerical simulations. Concerning the analytical calculation approach, Barron et al. [14] deduced an analytical solution for the settlement of a single PVD by assuming ideal drainage conditions of a soft soil foundation in the coastal area of South China, and Hird et al. [15] extended the settlement calculation of PVDs to plane strain conditions. To explore a more accurate analytical solution, Hansbo [16] considered the perimeter of the PVD in the model, and Lu et al. [17] considered the area of the PVD in the model. More and more PVD models are being used in the engineering field [18,19]. In practical engineering, soft soil foundation settlement in the coastal area of South China is usually uneven, with the assumption that plane strain conditions are inadequate. Indraratna and Redana [20] were accounting for smear and well resistance in plane strain analysis of PVDs, but the influence of the PVD itself was not considered. Hansbo [21] considered the smear and well resistance associated with PVDs and accounted for change in displacement due to the installation of PVDs, but the whole derivation process assumed that the drainage amount was the same in the consolidation process of the same volume of soft soil foundation in the coastal area of South China. The change in displacement in the process of soft soil foundation in the coastal area of South China reinforcement was ignored, and the settlement of a single PVD was only analytically calculated.
In terms of the numerical simulation approach, the cross section of a PVD has often been considered as a rectangle whose width is larger than its thickness [22]. Ngo et al. [23] proposed a numerical method suitable for the settlement calculation of soft soil foundations in the coastal area of South China by changing the size of the PVD cross section. In past research, a cylindrical model has been used to simulate PVDs [24,25]. Huang et al. [26] established a settlement equation by constructing a cylindrical model with an elliptical cross section. However, the adoption of an elliptical cross section makes appropriate meshing of PVDs difficult in finite element analysis. To develop a more accurate PVD model, Abuel-Naga et al. [27] and Atkinson et al. [28] further improved the model proposed by Hansbo. However, these two equivalent methods considering the shape of the PVD itself did not consider the associated displacement change in soft soil foundation consolidation in the coastal area of South China.
PVDs are often used for soft soil foundation in the coastal area of South China treatment in practical engineering. It has been fully proven that a PVD can be applied to solve the settlement problem of soft soil foundations in the coastal area of South China. Many scholars have proposed analytic functions to calculate the settlement of soft soil foundations in the coastal area of South China with PVDs. However, the aforementioned analytical calculation methods only considered the influence of a single PVD on the settlement calculation. In addition, the analytical calculation methods mainly focused on making the analytical results more accurate and the PVD model more representative of the actual soft soil foundation in the coastal area of South China.
Soft soil foundation in the coastal area of South China settlement curves exhibit the characteristics of a normal distribution, which is consistent with the description of settlement by the stochastic medium theory [29]. The commonly used elastoplastic analytical method cannot directly reflect the interaction of different PVDs and the movement law of soft soil element. At the same time, these elastoplastic analysis methods and numerical simulation methods are greatly influenced by test parameters of rock and soil properties. However, the stochastic medium model can directly reflect the interaction of different PVDs and the movement law of soft soil elements. It is not affected by test parameters of rock and soil properties and can also reflect the actual deformation process of soft soil. The stochastic medium model is calculated according to the measured values, so the stochastic medium model can consider creep. The elastoviscoplaticity approach indirectly reflects creep by simulating the constitutive model. It is difficult to apply the elastoviscoplaticity approach to soft soil foundation with PVD, but the stochastic medium method can. The radial orientation of the stochastic medium model changes from the center of a single drainage plate to the center of a group of drainage plates. In this paper, we propose a stochastic medium model for the settlement calculation of PVDs in soft soil foundations in the coastal area of South China by combining a settlement calculation model of a single PVD drain with the stochastic medium model. A function for the soft soil foundation in the coastal area of South China cross-section settlement curve is derived, and in this way, the interaction between multiple PVDs is effectively explored. The method was applied in the analysis of embankment construction for an expressway to verify its rationality and reliability.

2. Model Development

For this paper we focused on deep soft soil without considering any hard layer below. Considering the low permeability of soft soil foundations in the coastal area of South China and the construction of PVDs, the settlement curve of soft soil foundation in the coastal area of South China cross-sections was analyzed, and a stochastic medium model for the settlement calculation of a single PVD was established. The drainage area of the single PVD was defined as a cylinder in the settlement model with the PVD as the axis, and the influence radius of the PVD with respect to settlement was regarded as a fixed value. The stochastic medium model for the settlement calculation of PVDs was established by superposition of multiple PVDs. A function for the soft soil foundation in the coastal area of South China cross-section settlement curve was obtained by back analysis of the PVD model. The specific model construction method is shown in Figure 1.
In engineering, settlement may be accelerated by the addition of PVDs to a soft soil foundation in the coastal area of South China. The settlement curve of the soft soil foundation in the coastal area of South China follows a normal distribution, which is consistent with the description of settlement by the stochastic medium theory [30,31,32]. Therefore, the soft soil foundation in the coastal area of South China may be regarded as a stochastic medium in the study of its settlement.
In view of the settlement of a soft soil foundation in the coastal area of South China caused by a PVD, the stochastic medium model states that after the formation is drained, the groundwater level underneath the PVD assumes the shape of a funnel whose axis aligns with that of the PVD. As shown in Figure 2a, h is the groundwater level before the PVD is laid, ρ(η) is the influence radius of the PVD at depth η after it has been laid, θ is the angle in the horizontal direction with the center line of the PVD as the axis, and H is the maximum height of the groundwater level after the PVD has been laid. With the use of a single PVD, the soil is assumed to be horizontally isotropic.
A cylindrical coordinate system was established, as shown in Figure 2b. The coordinates of the soft soil at a point are ( ε , θ , η ) , and an infinitesimal wedge of soil has dimensions ( d ε , d θ , d η ) . The drainage funnel equation is denoted as f ( ρ ) , and the compressive vertical deformation of the soil wedge ( d ε , d θ , d η ) is   dS . We then have
dS = Δ e 1 + e 0 dZ = α v Δ p 1 + e 0 dZ = α v ( Z H ) γ w 1 + e 0 dZ
where C ( Z ) = α ν ( Z H ) γ w 1 + e 0 is the settlement function of the soil at depth Z ,   α ν is the compressibility, e 0 is the initial void ratio of the soft soil, and γ w is the unit weight of the soft soil. According to the stochastic medium theory [33], the settlement ( W e ) caused by soft soil compression located at a distance of ρ away from the central axis of the PVD is as follows:
W e ρ = 1 γ 2 η exp π γ 2 η ρ 2 + ε 2 2 ρ ε cos θ ε d ε d θ d η
where γ η = η tan β , and   β is the major influence angle of the soil, which affects the shape of the surface settlement trough. The effective stress increment of soft soil is Δ p = ( Z H ) γ w . The compressibility is α ν = Δ e / Δ p . On the horizontal plane of η , the surface settlement is caused by soft soil consolidation due to drainage at ρ away from the central axis of the PVD.   W e ( ρ , Z ) is expressed as follows:
W e ρ , Z = 0 2 π 0 γ ( η ) W e ρ C η d η d θ
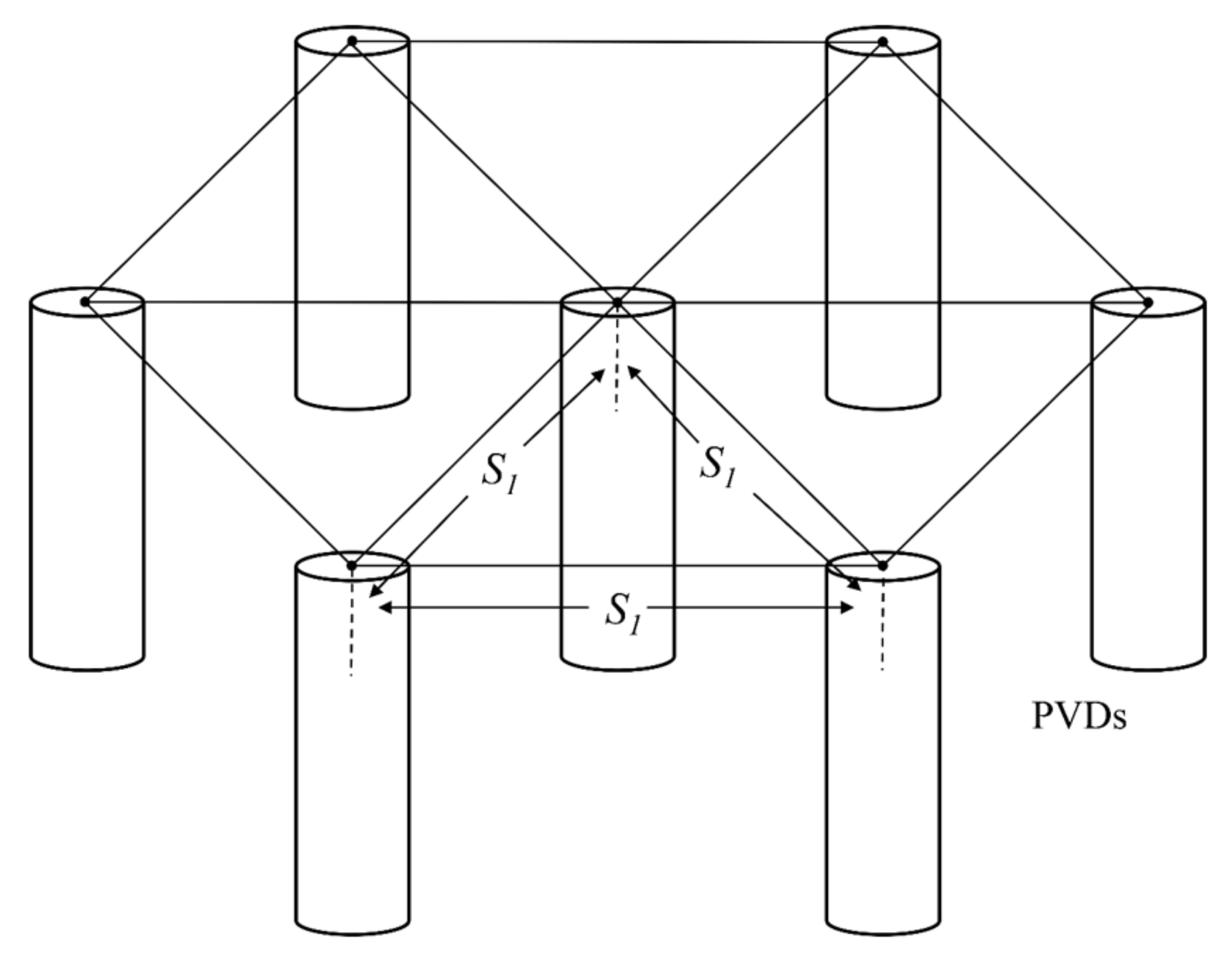
In this work, we studied the layout of PVDs according to equilateral triangles, as shown in Figure 3. It is necessary to consider the composite effect of several PVDs. For simplicity, the influence range of each PVD was assumed to be a circle. For the regular triangle drainage board, its main influence range is equivalent to the adjacent regular hexagon distribution drainage board, and the influence range of three drainage plates is equivalent to a circle whose area is equal to the polygon area. Therefore, the circular superposition area of the three drainage plates is equal to the area of the adjacent regular hexagon. The radius S2 of the equivalent circle is calculated as follows:
S 2 = 3 2 π S 1
where S1 is the distance between the center lines of two PVDs.
A single PVD within a group of PVDs forms a drainage funnel, as shown with a solid line in Figure 2c, and its main part is the cylinder surface. Thus, the influence radius ρ(η) of a PVD drain among several PVDs is a constant value R0, which is not equal to S2.
ρ ( η ) = R 0
In the process of determining the influence radius of the single PVD within multiple PVDs, the problem of the interaction between multiple PVDs in soft soil foundations in the coastal area of South China is solved.
Substituting Equation (5) into Equation (3), the following is obtained:
W ( R ) = h H + h 0 2 π 2 R 0 tan β η · exp π tan 2 β η 2 R R 0 2 + 2 RR 0 1 cos θ C Z d θ d η
where R is the distance between the measured settlement point and the center line of the soft soil foundation in the coastal area of South China. Based on the stochastic medium model, the settlement of soft soil foundation in the coastal area of South China is normally distributed [34]. To calculate the settlement of soft soil foundations in the coastal area of South China more accurately, Equation (6) is further optimized. Combined with the shape characteristics of the PVD, the drainage range caused by the PVD is regarded as a cylindrical drainage area, so the stochastic medium model and PVD are comprehensively combined. A single PVD model based on the stochastic medium model is established by Gaussian integration of Equation (6).
C z = α v Z γ 1 + e 0 is substituted into Equation (6), θ = θ π π is defined, with η = η h / 2 h / 2 , and these equations are inserted into the Gauss-type integral:
W R = 1 1 1 1 π H R 0 α v γ w tan β 2 1 + e 0 · exp 4 π tan 2 β H η + H + 2 h 2 R 2 + R 0 2 + 2 R R 0 cos π θ d θ d η
The unknown quantity in the exponential part of Equation (7) cannot be integrated analytically. According to the Gauss–Legendre integration method, the Legendre polynomial is L n x = 1 2 n n ! d n dx n [ ( x 2 1 ) n ] , where L 0 x = 1 , which constitutes an orthogonal system in the interval of [ −1, 1 ] . The n base points of the Gauss quadrature equation correspond to the n zeros of the Legendre polynomials of degree n.
Based on the properties of Legendre polynomials, the following is obtained:
1 x 2 L n x = n L n 1 x xL n x
The weight coefficients corresponding to the quadrature function are:
A k = 2 ( 1 x k 2 ) [ nL n 1 ( x k ) ] 2       k = 1 ,   2 , , n
The Gaussian-type integral 1 1 f ( x ) dx can be expanded to form k = 1 n f x A k , and the error is as follows:
E f = 2 2 n + 1 n ! 4 2 n + 1 2 n ! 3 f 2 n ξ       1 < ξ < 1
In regard to the double integral of I = 1 1 1 1 f 1 t 1 , t 2 dt 1 dt 2 .
I = 1 1 ψ ( t 2 ) dt 2 = j = 1 n A j ψ λ 2 j = i = 1 m j = 1 n A i A j f ( λ 1 i , λ 2 j )
where m and n are the number of base points and A i and A j are the weighted coefficients corresponding to t1 and t2, respectively. For the same integral, the more base points of the integral there are, the greater the number of calculations and the longer the computation. A certain number of base points should be selected according to the required accuracy. In this paper, the Gauss–Legendre quadrature method with five base points is employed to solve the quadratic integral in the model.
The integrand is taken as:
f 0 ( R , β ) = π HR 0 α v γ w tan β 1 + e 0 · exp 4 π tan 2 β H η + H + 2 h 2 R 2 + R 0 2 + 2 R R 0 cos π θ
The Gauss-type integral is expanded into five base points:
f ( R , β ) = Λ [ A ( 5 ) ] Λ
where Λ is an array with elements ( x 1 , x 2 , x 3 , x 4 , x 5 ) and
A ( 5 ) = A i j = f x i , x j , R , β ,   1 i ,   j 5
With the use of mathematical software, Equation (12) is regarded as function of θ, η, R, and β. The Gauss–Legendre quadrature coefficients are listed in Table 1.
Equation (13) is a stochastic medium model based on the settlement calculation of a single PVD in a soft soil foundation in the coastal area of South China. In the process of solving the single PVD model based on a stochastic medium by the Gauss–Legendre integral, the seepage problem in the consolidation process of a soft soil foundation in the coastal area of South China is solved.
A soft soil foundation in the coastal area of South China with a PVD is affected by horizontal seepage, which is associated with a force that arises due to the loading of the foundation. Soft soil foundations in the coastal area of South China are often treated with PVDs. Here, unique models are used, PVDs are combined into a single PVD of equivalent volume, and the overall settlement curve of the soft soil foundation in the coastal area of South China cross-section is obtained. The loading regime was the different surcharge height on soft soil. Different surcharge heights correspond to different pressure conditions. The magnitude of the stress associated with the central PVD will depend on surcharge loads. Based on this, the cross-section settlement function of the soft soil foundation in the coastal area of South China is assumed to be a normal distribution with the maximum value at the center line.
The specific calculation method is as follows:
The equivalent radius S2 of each drain is calculated with Equation (4) and substituted into Equation (14) to obtain a stochastic medium model for the settlement calculation of PVDs in soft soil foundations in the coastal area of South China.
F ( R , β ) = i = 0 ( n 1 ) / 2 f ( R , β )
where F ( R , β ) is the function of the settlement curve of the soft soil foundation in the coastal area of South China cross-section, n is the number of measured settlement points, and R is the distance between the measured settlement point and the center line of the soft soil foundation in the coastal area of South China cross-section. Calculation of consolidation settlement based on the stochastic medium model relies on the assumption that only vertical compression occurs in soft soil during consolidation. This reflects the characteristics of soft soil: soft soil is prone to vertical drainage under load.
For n measured settlement values F R , β , a residual function Δ f β is obtained by the least-squares method.
Δ f β = j = 1 n [ F R , β F R ] 2
The minimum value of β in Δ f ( β ) is the optimal value of β . The total settlement curve of the soft soil foundation in the coastal area of South China cross-section is obtained by substituting β into Equation (16). F ( R ) is the settlement value of the measured settlement point. Different β values correspond to different surcharge loads and can be varied according to different loading conditions. This method can be applied in soft soil under surcharge loads; surcharge can accelerate the consolidation of soft soil. The parameters controlling settlement are the parameters of measured settlement points. They come from field measurements and are calibrated by multiple measurements in the field.
The sensitivity analysis of settlement is carried out using the method of controlling variables, that is, changing one parameter and fixing the other parameters, to determine the sensitivity degree of each parameter and the change law with the parameters, involving six parameters: the maximum height of the groundwater level after the PVD has been laid H, compressibility   α ν , void ratio e, the unit weight of the soft soil   γ w , the number of measured settlement points n, and the distance between the measured settlement point and the center line of the soft soil foundation   R . Since the initial values of different model parameters have certain influence on the sensitivity analysis, it is proposed to select the data in line with the actual project as the initial values and let them change the amplitude to ± 50%. The results are shown in Table 2, where f represents the settlement and ∆f represents the settlement change rate.

3. Case Study

3.1. Site Description or Field Data

The proposed model was applied to the construction of embankments for an expressway to verify its reliability. The proposed model was tested against field data in order to verify its robustness and applicability. The expressway is located on a deltaic alluvial plain, and the terrain is flat. The subsurface profile is divided into four layers, the first layer is silt, the second layer is silt, the third layer is muddy loam, and the fourth layer is muddy silt. The soft soil in South China has strong nonlinear creep characteristics, and the nonlinear characteristics gradually appear through the increase of deviator stress level. The relationship between pore pressure increment and stress increment is not linear.
The length of the PVDs on this project was 30.3 m. Settlement of the soft soil foundation in the coastal area of South China was calculated for cumulative surcharge heights of 0.541 m, 0.942 m, 3.928 m, and 6.059 m. Samples were collected via drilling at the left, middle, and right of the K41 + 277 section of the expressway. The geotechnical parameters are listed in Table 3, and photographs of the samples are shown in Figure 4. The test was conducted according to GB/T 36197-2018/ISO 10381-2. The sampling standard was 1m in length and 200mm in diameter. After loading the soft soil, we obtained samples of the soft soil to carry out a consolidation test. The deformation value of the consolidation test corresponds to the change of consolidation parameters caused by surcharge load. The consolidation test sample itself has been consolidated in the early stage. The settlement after surcharge is generated on the basis of early consolidation.
After land levelling, a sand cushion was laid first, and PVDs were then laid. It was observed that the PVDs were equidistantly distributed in a triangular pattern as per Figure 3, at a spacing of S1 = 1.2–1.5 m. The site layout is shown in Figure 5.
After the PVDs were laid, on-site monitoring instruments were installed (Figure 6). Field settlement monitoring relied on layered settlement pipes and inclinometer tubes. The inclinometer tube monitors the horizontal settlement of soft soil, and the layered settlement tube mainly monitors the vertical settlement of soft soil; the whole construction cycle is under monitoring, as shown in Figure 6. We obtained settlement data through on-site monitoring.
Three settlement measurement points were selected in the field, as indicated in Table 4. Calculations were carried out with the model proposed in this paper.

3.2. Model Application

The average geotechnical parameters of the left, middle, and right of the K41+277 section were taken as the initial values for the model. The calculation steps were as follows:
(1)
It was supposed that the water table is located at the ground surface (h = 0).
(2)
Initial values of H = 3.0 m, α ν = 1.5 × 10−6 MPa1, e = 1.5, and γ w   = 9.8 kN/m3 were adopted and determined into Equation (7).
(3)
Function f(R, β) was expanded according to Equations (13) and (14), and single PVD model function f(θ, η, R, β) was obtained.
(4)
The function of the soft soil foundation in the coastal area of South China cross-section settlement curve F(R, β) was superimposed according to Equation (15).
The residual function Δ f β was formulated as follows:
Δ f β = F 0 , β 1 . 2 2 + F 16 , β 1 . 08 2 + F 24 , β 0 . 9 2
A curve of △f(β) with β in the interval of [0.11, 1.55] was obtained with mathematical software, as shown in Figure 7.
Δf(β) was always greater than zero, and it had an extreme value in the interval where β was meaningful. According to Figure 7, the value of β where Δf(β) is minimum is 0.443. Substituting this value into Equations (7) and (16), a function of the soft soil foundation in the coastal area of South China cross-section settlement curve and the settlement curve of the soft soil foundation in the coastal area of South China cross-section were obtained, as shown in Figure 8.
Layered sand blowing and surcharge loading were implemented during construction. The void ratio and compressibility of the soft soil changed with the construction process of surcharge loadingconsolidationsurcharge loading. Table 5 shows the results of consolidation tests where the soft soil parameters changed with the load increments of 50 kPa, 100 kPa, 200 kPa, and 400 kPa. The compressibility calculation is shown in Equation (18).
α = 1000 · ( e 1 e 2 p 2 p 1 )
1000 is the unit conversion factor, p is the pressure, e is the void ratio.
Selecting the average values of the void ratio and compressibility in the left, middle, and right boreholes of section K41+277 under equal load action, as listed in Table 4, the least-squares method was applied to fit quadratic curves, as shown in Figure 9.
When the applied load is 50–400 kPa, the void ratio and compressibility of the soft soil decreases with an increase in pressure. The pressures corresponding to the four surcharge loads applied in the field were 10.16 kPa, 17.69 kPa, 73.77 kPa, and 113.79 kPa. The corresponding void ratio and compressibility values were obtained according to fitting function in Figure 9, and are listed in Table 6.

3.3. Analysis of Results

The measured settlement values under the four on-site surcharge loads were compared to the settlement values calculated with the PVD model. The settlement values were 98, 288, 167, and 46 days after the application of the first, second, third, and fourth surcharge loads, respectively. The β values corresponding to the four surcharge heights of 0.541 m, 0.942 m, 3.928 m, and 6.059m were calculated with Equations (15) and (16), and were determined as 0.00611, 0.08773, 0.19351, and 0.27170, respectively. The calculated and measured settlement values at each surcharge load level are shown in Figure 10 and Figure 11, respectively.
The ratio of the difference between the maximum measured and calculated settlements to the maximum measured settlement was adopted as the relative error, which was calculated for each of the surcharge loads as shown in Table 7.
The following observations were made of the results:
(1)
The model curve was almost a straight line in the interval of −24-24 m when the surcharge height was 0.541 m.
(2)
The maximum settlement values under the first, second, third, and fourth surcharge loads obtained according to the PVD model were 0.123 m, 1.207 m, 1.900 m, and 2.035 m, respectively, and the relative errors compared to the measured settlements of 17 mm, 1355 mm, 2017 mm, and 2101 mm were 12.1%, 10.9%, 5.8%, and 3.1%, respectively. In the range of 50-400 kPa, the higher the surcharge height was, the greater the surcharge load was. The greater the surcharge load was, the higher the accuracy of the PVDs model was. This is because the settlement of soft soil is higher at the initial stage of loading. At the same time, in the initial stage of loading, settlement caused by mechanical load and construction load accounted for a large proportion of the total settlement. Therefore, the larger the stacking height was, the smaller the calculation error of the PVD model was.
(3)
The PVD spacing for the expressway in southern China was 1.2-1.5m, the influence range of a single PVD was 15 m [35,36], the measured settlement curve of the soft soil foundation in the coastal area of South China cross-section and the settlement curve obtained with the PVD model looked similar to quadratic functions that were convex upward, and the maximum value occurs at the center line of the cross-section. The settlement is highest at the center line of the foundation because the horizontal confinement of the soil is the greatest at this point.
(4)
The settlement value of the PVD model was always slightly smaller than the measured settlement value [36]. The PVD model only calculated the settlement of the soft soil itself, but the mechanical load and construction load on site would also produce settlement.

4. Conclusions

(1)
In this paper, the stochastic medium model is combined with the PVD. The stochastic medium model for the settlement calculation of PVDs was established by the superposition of multiple PVDs. A function for the soft soil foundation in the coastal area of South China cross-section settlement curve was obtained. The problem of interaction between multiple PVDs in the settlement calculation was explored in a way closer to the reality.
(2)
This article included an application to the soft soil foundation in the coastal area of South China treatment of an expressway. Comparing actual monitoring data to calculation results of the stochastic medium PVD model, the relative error between the predicted and actual measured values of the soft soil foundation in the coastal area of South China cross-section was less than 15%. When the preloading strength was between 50–400 kPa, the greater the surcharge load was, the smaller the error between the measured and predicted maximum settlements was.
(3)
The model proposed in this paper could be applied to calculate the settlement of soft soil foundations in the coastal area of South China under surcharge preloading and could be extended to three-dimensional settlement calculations of soft soil foundations in the coastal area of South China. The optimal surcharge height could be determined by progressively increasing the surcharge height.

Author Contributions

Investigation, Y.G. and J.L.; resources, Y.G. and J.L.; writing—original draft, Y.G.; writing—review and editing, Z.L. and C.Z. All authors have read and agreed to the published version of the manuscript.

Funding

The research is supported by the National Natural Science Foundation of China (NSFC) (Grant No.41977230) and the Special Fund Key Project of Applied Science and Technology Research and Development in Guangdong (Grant No.2015B090925016, No.2016B010124007).

Institutional Review Board Statement

Not Applicable.

Informed Consent Statement

Not Applicable.

Data Availability Statement

Not Applicable.

Conflicts of Interest

The authors declare no conflict of interest.

Abbreviations

A i and A j the weighted coefficients;
e 0 the initial void ratio of soft soil;
Hthe maximum height of the groundwater level after the PVD has been laid;
hthe groundwater level before the PVD is laid;
m and nthe number of base points;
Rthe distance between the measured settlement point and the center line of the soft soil foundation;
R 0 the fixed radius affected by a single PVD;
S 1 the distance between the center lines of two PVDs;
S 2 the equivalent radius;
Z the depth of soil;
α ν the compressibility;
β the major influence angle of soil;
η the vertical coordinate of the soft soil in the coordinate system;
θthe angle in the horizontal direction with the centreline of the PVD as the axis;
Λ the array with elements ( x 1 , x 2 , x 3 , x 4 , x 5 ) ;
γ w the unit weight of the soft soil.

References

  1. Indraratna, B.; Kan, M.E.; Potts, D.; Rujikiatkamjorn, C.; Sloan, S.W. Analytical solution and numerical simulation of vacuum consolidation by vertical drains beneath circular embankments. Comput. Geotech. 2016, 80, 83–96. [Google Scholar] [CrossRef] [Green Version]
  2. Xue, J.; Chen, J.; Liu, J.; Shi, Z. Instability of a geogrid reinforced soil wall on thick soft Shanghai clay with prefabricated vertical drains: A case study. Geotext. Geomembr. 2014, 42, 302–311. [Google Scholar] [CrossRef]
  3. Kumarage, P.I.; Gnanendran, C.T. Long-term performance predictions in ground improvements with vacuum assisted Prefabricated Vertical Drains. Geotext. Geomembr. 2019, 47, 95–103. [Google Scholar] [CrossRef]
  4. Lester, A.M.; Kouretzis, G.P.; Sloan, S.W. Finite element modelling of prefabricated vertical drains using 1D drainage elements with attached smear zones. Comput. Geotech. 2019, 107, 235–254. [Google Scholar] [CrossRef]
  5. Wang, P.; Han, Y.; Wang, J.; Cai, Y.; Geng, X. Deformation characteristics of soil between prefabricated vertical drains under vacuum preloading. Geotext. Geomembr. 2019, 47, 798–802. [Google Scholar] [CrossRef]
  6. Liu, S.W.; Wan, J.H.; Zhou, C.Y.; Liu, Z.; Yang, X. Efficient Beam-Column Finite-Element Method for Stability Design of Slender Single Pile in Soft Ground Mediums. Int. J. Geomech. 2020, 20, 4019141–4019148. [Google Scholar] [CrossRef]
  7. Eid, H.T. Bearing Capacity and Settlement of Skirted Shallow Foundations on Sand. Int. J. Geomech. 2013, 13, 645–652. [Google Scholar] [CrossRef]
  8. Said, K.N.M.; Rashid, A.S.A.; Osouli, A.; Latifi, N.; Ganiyu, A.A. Settlement Evaluation of Soft Soil Improved by Floating Soil Cement Column. Int. J. Geomech. 2018, 19, 4018181–4018183. [Google Scholar]
  9. Lin, C.; Xia, C.; Liu, Z.; Zhou, C. A Comprehensive Correlation Study of Structured Soils in Coastal Area of South China about Structural Characteristics. J. Mar. Sci. Eng. 2022, 10, 508. [Google Scholar] [CrossRef]
  10. Xia, C.; Liu, Z.; Zhou, C. Burger’s Bonded Model for Distinct Element Simulation of the Multi-Factor Full Creep Process of Soft Rock. J. Mar. Sci. Eng. 2021, 9, 945. [Google Scholar] [CrossRef]
  11. Xia, C.; Zhou, C.; Zhu, F.; Liu, Z.; Cui, G. The Critical Indicator of Red-Bed Soft Rocks in Deterioration Process Induced by Water Basing on Renormalization Group Theory. Appl. Sci. 2021, 11, 7968. [Google Scholar] [CrossRef]
  12. Jiang, N.; Wang, C.; Wu, Q.; Li, S. Influence of Structure and Liquid Limit on the Secondary Compressibility of Soft Soils. J. Mar. Sci. Eng. 2020, 8, 627. [Google Scholar] [CrossRef]
  13. Chen, D.; Luo, J.; Liu, X.; Mi, D.; Xu, L. Improved Double-Layer Soil Consolidation Theory and Its Application in Marine Soft Soil Engineering. J. Mar. Sci. Eng. 2019, 7, 156. [Google Scholar] [CrossRef] [Green Version]
  14. Barron, R.A.; Lane, K.S.; Keene, P.; Kjellman, W. Consolidation of fine-grained soils by drain wells. Trans. ASCE 1948, 113, 324–360. [Google Scholar]
  15. Hird, C.C.; Pyrah, I.C.; Russel, D. Finite element modelling of vertical drains beneath embankments on soft ground. Geotechnique 1992, 42, 499–511. [Google Scholar] [CrossRef]
  16. Hansbo, S. Consolidation of clay by band-shaped prefabricated drains. Ground Eng. 1979, 12, 16–18. [Google Scholar]
  17. Lu, M.; Li, D.; Jing, H.; Deng, Y. Analytical Solution for Consolidation of Band-Shaped Drain Based on an Equivalent Annular Drain. Int. J. Geomech. 2019, 19, 4019041–4019043. [Google Scholar] [CrossRef]
  18. Pham, H.T.; Rühaak, W.; Schulte, D.; Sass, I. Application of the Vimoke–Taylor concept for fully coupled models of consolidation by prefabricated vertical drains. Comput. Geotech. 2019, 116, 103201. [Google Scholar] [CrossRef]
  19. Tian, Y.; Wu, W.; Jiang, G.; Hesham El Naggar, M.; Mei, G.; Ni, P. Analytical solutions for vacuum preloading consolidation with prefabricated vertical drain based on elliptical cylinder model. Comput. Geotech. 2019, 116, 103202. [Google Scholar] [CrossRef]
  20. Indraratna, B.; Redana, I.W. Plane-Strain Modeling of Smear Effects Associated with Vertical Drains. J. Geotech. Geoenviron. 1999, 123, 308–321. [Google Scholar] [CrossRef] [Green Version]
  21. Hansbo, S. Consolidation of fine-grained soils by prefabricated drains. In Proceedings of the 10th International Conference on Soil Mechanics and Foundation Engineering, Stockholm, Sweden, 15–19 June 1981; 3, pp. 677–682. [Google Scholar]
  22. Abuel-Naga, H.M.; Bouazza, A.; Bergado, D.T. Numerical assessment of equivalent diameter equations for prefabricated vertical drains. Can. Geotech. J. 2012, 49, 1427–1433. [Google Scholar] [CrossRef]
  23. Ngo, D.H.; Horpibulsuk, S.; Suddeepong, A.; Hoy, M.; Udomchai, A.; Doncommul, P.; Rachan, R.; Arulrajah, A. Consolidation behavior of dredged ultra-soft soil improved with prefabricated vertical drain at the Mae Moh mine, Thailand. Geotext. Geomembr. 2020, 48, 561–571. [Google Scholar] [CrossRef]
  24. Deng, Y.; Xie, K.; Lu, M. Consolidation by vertical drains when the discharge capacity varies with depth and time. Comput. Geotech. 2013, 48, 1–8. [Google Scholar] [CrossRef]
  25. Deng, Y.; Liu, G.; Lu, M.; Xie, K. Consolidation behavior of soft deposits considering the variation of prefabricated vertical drain discharge capacity. Comput. Geotech. 2014, 62, 310–316. [Google Scholar] [CrossRef]
  26. Huang, C.; Deng, Y.; Chen, F. Consolidation theory for prefabricated vertical drains with elliptic cylindrical assumption. Comput. Geotech. 2016, 77, 156–166. [Google Scholar] [CrossRef]
  27. Abuel-Naga, H.; Bouazza, A. Equivalent diameter of a prefabricated vertical drain. Geotext. Geomembr. 2009, 27, 227–231. [Google Scholar] [CrossRef]
  28. Atkinson, M.S.; Eldred, P.J.L. Consolidation of soil using vertical drains. Géotechnique 2015, 31, 33–43. [Google Scholar] [CrossRef]
  29. Yue, Q.; Yao, J. Soil deposit stochastic settlement simulation using an improved autocorrelation model. Probabilist. Eng. Mech. 2020, 59, 103038. [Google Scholar] [CrossRef]
  30. Griffiths, D.V.; Fenton, G.A. Probabilistic Settlement Analysis by Stochastic and Random Finite-Element Methods. J. Geotech. Geoenvironmental Eng. 2009, 135, 1629–1637. [Google Scholar] [CrossRef]
  31. Fenton, G.A.; Griffiths, D.V. Probabilistic Foundation Settlement on Spatially Random Soil. J. Geotech. Geoenvironmental Eng. 2002, 128, 381–390. [Google Scholar] [CrossRef] [Green Version]
  32. Huang, J.; Griffiths, R.V.; Fenton, R.A. Probabilistic Analysis of Coupled Soil Consolidation. J. Geotech. Geoenvironmental Eng. 2010, 136, 417–430. [Google Scholar] [CrossRef] [Green Version]
  33. Zeng, B.; Huang, D. Soil deformation induced by Double-O-Tube shield tunneling with rolling based on stochastic medium theory. In Tunnelling and Underground Space Technology; Elsevier: London, UK, 2016. [Google Scholar]
  34. Fei, M.; Wu, L.C.; Zhang, J.S.; Deng, G.D.; Ni, Z.H. Ground Movement Analysis Based on Stochastic Medium Theory. Sci. World J. 2014, 2014, 702561. [Google Scholar] [CrossRef]
  35. Sinha, A.K.; Havanagi, V.G.; Mathur, S. Inflection point method for predicting settlement of PVD improved soft clay under embankments. Geotext. Geomembr. 2007, 25, 336–345. [Google Scholar] [CrossRef]
  36. Muhammed, J.J.; Jayawickrama, P.W.; Teferra, A.; Özer, M.A. Settlement of a railway embankment on PVD-improved Karakore soft alluvial soil. Eng. Sci. Technol. Int. J. 2020, 23, 1015–1027. [Google Scholar] [CrossRef]
Figure 1. Flow chart of model construction.
Figure 1. Flow chart of model construction.
Jmse 10 00867 g001
Figure 2. Schematic diagram of the PVD model: (a) drainage funnel around a single PVD; (b) coordinate system of the PVD model; and (c) model of a single PVD.
Figure 2. Schematic diagram of the PVD model: (a) drainage funnel around a single PVD; (b) coordinate system of the PVD model; and (c) model of a single PVD.
Jmse 10 00867 g002
Figure 3. Layout of multiple PVDs.
Figure 3. Layout of multiple PVDs.
Jmse 10 00867 g003
Figure 4. Samples from the left, middle, and right positions of soft soil foundation in the coastal area of South China section K41+277 of the expressway: (a) K41 + 277 left; (b) K41 + 277 middle; and (c) K41 + 277 right.
Figure 4. Samples from the left, middle, and right positions of soft soil foundation in the coastal area of South China section K41+277 of the expressway: (a) K41 + 277 left; (b) K41 + 277 middle; and (c) K41 + 277 right.
Jmse 10 00867 g004
Figure 5. On-site layout image of the PVDs.
Figure 5. On-site layout image of the PVDs.
Jmse 10 00867 g005
Figure 6. Layout of the monitoring instruments at the site.
Figure 6. Layout of the monitoring instruments at the site.
Jmse 10 00867 g006
Figure 7. Graph of residual function △f(β).
Figure 7. Graph of residual function △f(β).
Jmse 10 00867 g007
Figure 8. Settlement curve based on the stochastic medium model: (a) cross-section settlement curve of a soft soil foundation in the coastal area of South China and (b) settlement curve of a single PVD.
Figure 8. Settlement curve based on the stochastic medium model: (a) cross-section settlement curve of a soft soil foundation in the coastal area of South China and (b) settlement curve of a single PVD.
Jmse 10 00867 g008
Figure 9. Void ratio, compression coefficient, and load relation curves.
Figure 9. Void ratio, compression coefficient, and load relation curves.
Jmse 10 00867 g009
Figure 10. Model calculation results under the four loads.
Figure 10. Model calculation results under the four loads.
Jmse 10 00867 g010
Figure 11. Measured results under the four loads.
Figure 11. Measured results under the four loads.
Jmse 10 00867 g011
Table 1. Gauss–Legendre quadrature basis points and coefficients.
Table 1. Gauss–Legendre quadrature basis points and coefficients.
n x k A k
2±0.57741.0000
300.8889
±0.77460.55565
4±0.34000.6521
±0.86110.3479
500.56898
±0.53850.4786
±0.90620.2369
Table 2. Sensitivity analysis of parameter change to settlement.
Table 2. Sensitivity analysis of parameter change to settlement.
Change Rate of Each Parameter (%)H (m)en R (m) α ν
( MPa 1 )
γ w
( kN / m 3 )
f (m)∆f
(%)
f
(m)
∆f
(%)
f (m)∆f (%)f (m)∆f (%)f (m)∆f (%)f (m)∆f (%)
+502.35+10.62.25+7.12.39+13.82.42+15.22.22+5.72.3+9.5
+202.27+82.21+5.22.34+11.42.37+12.92.19+4.32.26+7.6
02.102.102.102.102.102.10
−201.96−6.62.02−3.8−1.89101.8412.6−2.044.21.96−6.7
−501.88−10.41.95−0.71−1.8511.91.7914.8−1.976.21.91−9
Table 3. Geotechnical parameters of K41+277 section of the expressway.
Table 3. Geotechnical parameters of K41+277 section of the expressway.
Drilling PositionMoisture Content
(%)
Specific GravityWet Density
(g/cm3)
Dry Density
(g/cm3)
Degree of Saturation
(%)
Void RatioLiquid Limit
(%)
Plastic Limit
(%)
Plasticity IndexLiquidity IndexClassification and Name of the Soil Samples
K41+277 (left)54.22.731.911.24100.01.20426.214.112.13.31silty soil
K41+277 (middle)25.02.721.891.5185.10.79927.714.713.00.79mild clay
K41+277 (right)29.22.721.951.5199.00.80227.313.513.81.14silty soil
Table 4. Measured values of the settlement points for the expressway.
Table 4. Measured values of the settlement points for the expressway.
Measured
Settlement Points
Rβ
n 1 0−1.2
n 2 16−1.08
n 3 24−0.9
Table 5. Results of K41+277 consolidation tests for the expressway.
Table 5. Results of K41+277 consolidation tests for the expressway.
eα (MPa−1)
Load50 kPa100 kPa200 kPa400 kPa50 kPa100 kPa200 kPa400 kPa
K41+277 (left)1.5251.3191.1300.9616.8494.1231.8930.845
K41+277 (middle)1.1621.0931.0060.9122.9051.3820.8620.473
K41+277 (right)1.7371.5511.2731.0572.7323.7182.7781.081
Table 6. Calculation results of the pressure, void ratio, and compressibility coefficient for the K41+277 section of the expressway.
Table 6. Calculation results of the pressure, void ratio, and compressibility coefficient for the K41+277 section of the expressway.
Surcharge Height (m)p (kPa)e α (MPa−1)
0.54110.161.5904.941
0.94217.691.5664.775
3.92873.771.4013.645
6.059113.791.3012.954
Table 7. Comparison of the calculated and measured settlement values.
Table 7. Comparison of the calculated and measured settlement values.
Surcharge Load NumberHeight of the Surcharge Load (mm)Maximum Measured Settlement (mm)Maximum Calculated Settlement (mm)Difference (mm)Relative Error (%)
15411401231712.1
29421355120714810.9
33928201719001175.8
4605921012035663.1
Publisher’s Note: MDPI stays neutral with regard to jurisdictional claims in published maps and institutional affiliations.

Share and Cite

MDPI and ACS Style

Liu, Z.; Gao, Y.; Liao, J.; Zhou, C. Stochastic Medium Model for the Settlement Calculation of Prefabricated Vertical Drains of Soft Soil Foundations in the Coastal Area of South China. J. Mar. Sci. Eng. 2022, 10, 867. https://doi.org/10.3390/jmse10070867

AMA Style

Liu Z, Gao Y, Liao J, Zhou C. Stochastic Medium Model for the Settlement Calculation of Prefabricated Vertical Drains of Soft Soil Foundations in the Coastal Area of South China. Journal of Marine Science and Engineering. 2022; 10(7):867. https://doi.org/10.3390/jmse10070867

Chicago/Turabian Style

Liu, Zhen, Yi Gao, Jin Liao, and Cuiying Zhou. 2022. "Stochastic Medium Model for the Settlement Calculation of Prefabricated Vertical Drains of Soft Soil Foundations in the Coastal Area of South China" Journal of Marine Science and Engineering 10, no. 7: 867. https://doi.org/10.3390/jmse10070867

APA Style

Liu, Z., Gao, Y., Liao, J., & Zhou, C. (2022). Stochastic Medium Model for the Settlement Calculation of Prefabricated Vertical Drains of Soft Soil Foundations in the Coastal Area of South China. Journal of Marine Science and Engineering, 10(7), 867. https://doi.org/10.3390/jmse10070867

Note that from the first issue of 2016, this journal uses article numbers instead of page numbers. See further details here.

Article Metrics

Back to TopTop