Mechatronic Solutions for the Safety of Workers Involved in the Use of Manure Spreader
Abstract
:1. Introduction
2. Materials and Methods
3. Results
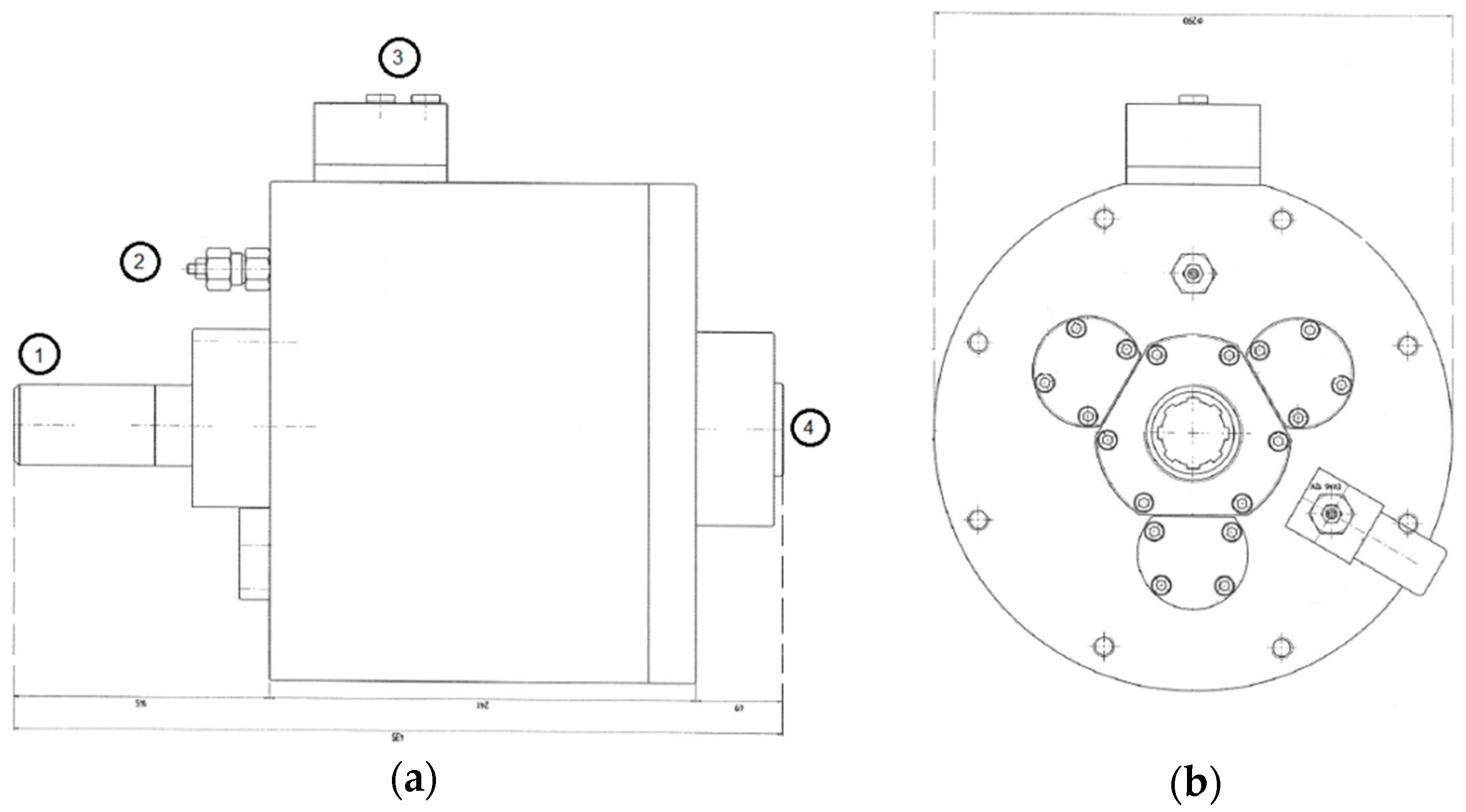
- wagon wheel movement detectors (wheels);
- a motor disengagement device (clutch);
- a torque limiter to limit the torque during overloads;
- a programmable logic controller (PLC);
- a man-made command for manual resetting of conveyor and distributor systems, located in a safe area;
- a hydraulic distributor or a solenoid valve for conveyor control.
- transmission shaft type below the loading platform;
- geometric shape;
- length;
- diameter;
- mass of the entire axis;
- any vibrations and/or movements.
Applicability
- absorbed power 60 kW → operating pressure 15 bar;
- absorbed power 74 kW → operating pressure 20 bar;
- absorbed power 88 kW → operating pressure 30 bar.
4. Discussion
Acknowledgments
Author Contributions
Conflicts of Interest
References
- Pawlak, H.; Nowakowicz-Dębek, B. Agriculture: Accident-prone working environment. Agric. Agric. Sci. Procedia 2015, 7, 209–214. [Google Scholar] [CrossRef]
- Svendsen, K.; Aas, O.; Hilt, B. Nonfatal occupational injuries in Norwegian farmers. Saf. Health Work 2014, 5, 147–151. [Google Scholar] [CrossRef]
- Suutarinen, J. Tractor accidents and their prevention. Int. J. Ind. Ergon. 1992, 10, 321–329. [Google Scholar] [CrossRef]
- Damas, S. Amélioration de la Sécurité des Épandeurs de Fumier. Rapport Stage Irstea; IRSTEA: Antony, France, 2010; pp. 1–11. [Google Scholar]
- Le Formal, F.; Tricot, N. Feasibility Study: Improvement of Manure Spreader Safety; Cemagref Report; Cemagref: Antony, France, 2009; pp. 1–15. [Google Scholar]
- Al Bassit, L.; Le Formal, F.; Tricot, N. Improvement of Manure Spreaders Safety: Feasibility Study; Cemagref Report; Cemagref: Antony, France, 2010; pp. 1–16. [Google Scholar]
- Bacenetti, J.; Lovarelli, D.; Fiala, M. Mechanisation of organic fertiliser spreading, choice of fertiliser and crop residue management as solutions for maize environmental impact mitigation. Eur. J. Agron. 2016, 79, 107–118. [Google Scholar] [CrossRef]
- Colantoni, A.; Ferrara, C.; Perini, L.; Salvati, L. Assessing trends in climate aridity and vulnerability to soil degradation in Italy. Ecol. Indic. 2015, 48, 599–604. [Google Scholar] [CrossRef]
- Stoate, C.; Boatman, N.D.; Borralho, R.J.; Rio Carvalho, C.; De Snoo, G.R.; Eden, P. Ecological impacts of arable intensification in Europe. J. Environ. Manag. 2001, 63, 337–365. [Google Scholar] [CrossRef]
- Al Bassit, L.; Tricot, N. Improvement of Manure Spreaders Safety—Feasibility Study; Irstea Report; IRSTEA: Antony, France, 2013; pp. 1–20. [Google Scholar]
- Al Bassit, L.; Tricot, N. Improvement of Manure Spreader Safety in the Cleaning Phase—Feasibility Study. Action No. 2—Addendum; Irstea Report; IRSTEA: Antony, France, 2014; pp. 1–12. [Google Scholar]
- Poisson, P.; Chinniah, Y.; Jocelyn, S. Design of a safety control system to improve the verification step in machinery lockout procedures: A case study. Reliab. Eng. Syst. Saf. 2016, 156, 266–276. [Google Scholar] [CrossRef]
- Westaby, J.D.; Lee, B.C. Antecedents of injury among youth in agricultural settings: A longitudinal examination of safety consciousness, dangerous risk taking, and safety knowledge. J. Saf. Res. 2003, 34, 227–240. [Google Scholar] [CrossRef]
- European Committee for Standardization (CEN). Agricultural machinery—Manure spreaders—Safety; EN 690:2013; European Committee for Standardization: Brussels, Belgium, 2013. [Google Scholar]
- Colantoni, A.; Mazzocchi, F.; Laurendi, V.; Grigolato, S.; Monarca, F.; Monarca, D.; Cecchini, M. Innovative solution for reducing the run-down time of the chipper disc using a brake clamp device. Agriculture 2017, 7, 71. [Google Scholar] [CrossRef]
- Accident Statistics LSV-SpV. Available online: http://www.svlfg.de/suche/index.html?wm=sub&m=all&ps=10&q=Unf%C3%A4lle+Landwirtschaft&Submit=finden (accessed on 21 June 2017).
- Banca Dati Statistica INAIL. Available online: http://bancadaticsa.inail.it/bancadaticsa/login.asp (accessed on 21 June 2017).
- Canadian Agricultural Injury Reporting. Agricultural Fatalities in Canada 1990–2008. Available online: http://www.cair-sbac.ca/wp-content/uploads/2012/03/National-Report-1990-2008-FULL-REPORT-FINAL-EN.pdf (accessed on 21 June 2017).
- INAIL. Gli Infortuni Sul Lavoro E Il Sistema Informo. Available online: https://www.inail.it/cs/internet/comunicazione/pubblicazioni/catalogo-generale/gli-infortuni-sul-lavoro-e-il-sistema-informo.html (accessed on 21 June 2017).
- Institut National De Recherche En Sciences Et Technologies Pour L’environnement Et L’agriculture. Available online: http://www.irstea.fr/search/node/base%20de (accessed on 21 June 2017).
- Kogler, R.; Quendler, E.; Boxberger, J. Analysis of occupational accidents with agricultural machinery in the period 2008–2010 in Austria. Saf. Sci. 2015, 72, 319–328. [Google Scholar] [CrossRef]
- Occupational Safety and Health Administration. Reports of Fatalities and Catastrophes—Archive. Available online: https://www.osha.gov/dep/fatcat/dep_fatcat_archive.html (accessed on 21 June 2017).
- Azadeh, A.; Shams Mianaei, H.; Asadzadeh, S.M.; Saberi, M.; Sheikhalishahi, M. A flexible ANN-GA-multivariate algorithm for assessment and optimization of machinery productivity in complex. J. Manuf. Syst. 2015, 35, 46–75. [Google Scholar] [CrossRef]
- Booth, R.T. Machinery safety: Progress in the prevention of technological accidents. Saf. Sci. 1993, 16, 247–248. [Google Scholar] [CrossRef]
- Sadeghi, L.; Mathieu, L.; Tricot, N.; Al Bassit, L. Developing a safety indicator to measure the safety level during design for safety. Saf. Sci. 2015, 80, 252–263. [Google Scholar] [CrossRef]
- International Organization for Standardization (ISO). Safety of Machinery—General Principles for Design—Risk Assessment and Risk Reduction; ISO 12100:2010; International Organization for Standardization: Geneva, Switzerland, 2010. [Google Scholar]
- Atkinson, K. SWOT analysis: A tool for continuing professional development. Int. J. Ther. Rehabil. 1998, 5, 433–435. [Google Scholar] [CrossRef]
- Bull, J.W.; Jobstvogt, N.; Bohnke-Henrichs, A.; Mascarenhas, A.; Sitas, N.; Baulcomb, C.; Lambini, C.K.; Rawlins, M.; Baral, H.; Zahringer, J.; et al. Strengths, weaknesses, opportunities and threats: A SWOT analysis of the ecosystem services framework. Ecosyst. Serv. 2015, 17, 99–111. [Google Scholar] [CrossRef]
- Lin, F.; Chen, X.; Yao, H. Evaluating the use of Nash-Sutcliffe efficiency coefficient in goodness-of-fit measures for daily runoff simulation with SWAT. J. Hydrol. Eng. 2017, 22. [Google Scholar] [CrossRef]
- Marek, G.W.; Gowda, P.H.; Evett, S.R.; Baumhardt, R.L.; Brauer, D.K.; Howell, T.A.; Marek, T.H.; Srinivasan, R. Calibration and validation of the SWAT model for predicting daily ET over irrigated crops in the Texas High Plains using lysimetric data. Trans. ASABE 2016, 59, 611–622. [Google Scholar] [CrossRef]
- Haile, M.; Krupka, J. Fuzzy evaluation of SWOT analysis. Int. J. Supply Chain Manag. 2016, 5, 172–179. [Google Scholar]
- Is SWOT analysis still fit for purpose?: The management tool has been exploring strengths, weaknesses, opportunities and threats for decades. Strateg. Dir. 2015, 31, 13–15. [CrossRef]
- Pandya, S. Improving the learning and developmental potential of SWOT analysis: Introducing the LISA framework. Strateg. Dir. 2017, 33, 12–14. [Google Scholar] [CrossRef]
- Rimediotti, M.; Sarri, D.; Cavallo, E.; Lombardo, S.; Lisci, R.; Vieri, M. Innovative mechatronic solutions for decoupling in agricultural machinery. Chem. Eng. Trans. 2017, 58, 91–96. [Google Scholar] [CrossRef]
- Promosic: Improving the Safety of Manure Spreaders. Available online: https://youtu.be/w5vDZhzcvZY (accessed on 21 June 2017).
- International Organization for Standardization (ISO). Safety of Machinery—Safety-Related Parts of Control Systems—Part 1: General Principles for Design; ISO 13849-1:2015; International Organization for Standardization: Geneva, Switzerland, 2015. [Google Scholar]
- International Organization for Standardization (ISO). Safety of Machinery—Safety-Related Parts of Control Systems—Part 2: Validation; ISO 13849-2:2012; International Organization for Standardization: Geneva, Switzerland, 2012. [Google Scholar]
- International Electrotechnical Commission (IEC). Safety of Machinery–Functional Safety of Safety-Related Electrical, Electronic and Programmable Electronic Control Systems; IEC 62061:2005; International Electrotechnical Commission: Geneva, Switzerland, 2005. [Google Scholar]






| Rotation Speed 1 (rpm) | Transmitting Torque (Nm) | Supply Voltage |
|---|---|---|
| 540 | 2200 | 12 |
| 1000 | 1600 | 12 |
| Strengths | Weaknesses |
|---|---|
| Working organs stopped during cleaning and maintenance operations. | High component costs. High installation, assembly, and setup costs. |
| Possibility of a manual reset in a safe area. | Necessity of regulatory transposition and any objections by manufacturers. |
| Possibility to break the movements of the rotating parts with the aid of the tractor hydraulics. | Difficulties in adapting machines already on the market and in use. |
| Flow solenoid valve that facilitates the adjustment of the speed of the conveyor belts. | Not easily adaptable by small/middle builders. |
| The rotating sensor detects the wagon’s motion. | Need to adjust the speed of the conveyor belt. |
| Minor space displacement in the case of downstream positioning of the clutch. | Possible malfunctions and/or breaks of the various components. |
| Possibility to break the movements of the two transmission organs. | With clutch located downstream of the hydraulic unit, provide a stop mechanism for conveyor belts (risk of injury of the lower limbs if the chains remain in motion). |
| Electromagnetic clutches that can be powered by the electric voltage (12 V) of the tractor. | Requirements of a separate hydraulic circuit if hydraulic clutches are used. |
| Less expensive, less bulky, and easier to install and integrate electromagnetic clutch. | Low availability of 12 V clutches. |
| Separate tractor/wagon hydraulic circuits. | The need for a torque limiter. |
| Difficult system inactivation. | The need for a programmable logic controller (PLC). |
| Possible conflicts with electronic regulation systems. | |
| Not easily inserted in the ISOBUS technology. | |
| Opportunities | Threats |
| Robust, durable, and reliable system. | Procedural distortion in the production line. |
| Polyfunctional system for other types of machines (e.g., round baler that, together with manual reset, must only engage the machine when it is in motion). | Needing of specialized technical personnel. |
| Improved safety. | Possible rearmament of the system with the help of a second person or thing that keeps the hold-to-run control inserted. |
| Possible rearming of the motion of the rotating parts by means of hold-to-run control. | High risks if the movements are not disrupted. |
| Probable reduction of sensor costs. | Sensors relatively fragile. |
| Hydraulic pump driven by the PTO (power take off). | |
| The second stop mechanism makes the total costs rise. | |
| In the absence of a hydraulic unit, the application of a circuit causes considerable additional costs. | |
| PLCs and other microcomponents make the set relatively expensive and complex. | |
| Total costs not within the reach of all manufacturing companies. | |
| Field operational problems and possibility of frequent blockages due to clogging. |
| Test No. | Stop Time (s) | Average Time (s) | Standard Deviation (s) |
|---|---|---|---|
| 1 | 13 | 12 | 0.707 |
| 2 | 12 | ||
| 3 | 11 | ||
| 4 | 12 | ||
| 5 | 12 |
| Microprocessor |
|---|
| Software configuration: |
| - Alarm sound in case of moving organs in the absence of wagon advancement |
| - Block of the moving parts in the event of wagon stoppage |
| Hardware configuration: |
| - One standard output for the light or sound signal |
| - One standard output for unlocking the movement of the mechanical parts |
| - One digital input with 1 to 100 Hz bandwidth and 0/12 V amplitude for the running sensor |
| - One digital input with 1 to 100 Hz bandwidth and 0/12 V amplitude for active PTO sensor |
| Operating conditions: |
| - Power supply: 10/18 V DC with reverse polarity protection and overvoltage impulse |
| - Absorption: 5 mA (excluding signalling devices) |
| - Temperature: from −20 °C to +60 °C |
| - Maximum humidity: 90% non-condensing |
| - Protection: IP-65 |
| Proximity sensors |
| XS612 Sensor: |
| - Section: 53 mm |
| - Rated detection distance: 0.16 (4 mm) |
| - Discrete output function: 1 NO |
| - Output circuit type: AC/DC |
| - Rated voltage: 24 to 240 V AC/DC (50/60 Hz) |
| - Switching capacity current: 5 to 200 mA AC/DC |
| - Power supply limits: 20 to 264 V AC/DC |
| - Residual current ≤0.8 mA, open condition |
| - Switching frequency: ≤1000 Hz DC; ≤25 Hz AC |
| - Voltage drop: ≤5.5 V, closed condition |
| XS618 Sensor: |
| - Section: 62 mm |
| - Rated detection distance: 0.31 (8 mm) |
| - Discrete output function: 1 NO |
| - Output circuit type: AC/DC |
| - Rated voltage: 24 to 240 V AC/DC (50/60 Hz) |
| - Switching capacity current: 5 to 200 mA DC–5 to 300 mA AC |
| - Power supply limits: 20 to 264 V AC/DC |
| - Residual current: ≤0.8 mA, open condition |
| - Switching frequency: ≤1000 Hz DC; ≤25 Hz AC |
| - Voltage drop: ≤5.5 V, closed condition |
© 2017 by the authors. Licensee MDPI, Basel, Switzerland. This article is an open access article distributed under the terms and conditions of the Creative Commons Attribution (CC BY) license (http://creativecommons.org/licenses/by/4.0/).
Share and Cite
Cecchini, M.; Monarca, D.; Laurendi, V.; Puri, D.; Cossio, F. Mechatronic Solutions for the Safety of Workers Involved in the Use of Manure Spreader. Agriculture 2017, 7, 95. https://doi.org/10.3390/agriculture7110095
Cecchini M, Monarca D, Laurendi V, Puri D, Cossio F. Mechatronic Solutions for the Safety of Workers Involved in the Use of Manure Spreader. Agriculture. 2017; 7(11):95. https://doi.org/10.3390/agriculture7110095
Chicago/Turabian StyleCecchini, Massimo, Danilo Monarca, Vincenzo Laurendi, Daniele Puri, and Filippo Cossio. 2017. "Mechatronic Solutions for the Safety of Workers Involved in the Use of Manure Spreader" Agriculture 7, no. 11: 95. https://doi.org/10.3390/agriculture7110095
APA StyleCecchini, M., Monarca, D., Laurendi, V., Puri, D., & Cossio, F. (2017). Mechatronic Solutions for the Safety of Workers Involved in the Use of Manure Spreader. Agriculture, 7(11), 95. https://doi.org/10.3390/agriculture7110095

