Development of a Crawler-Type Self-Propelled Machine with Trenching, Fertilizing, and Soil-Covering Components for Hilly Orchard
Abstract
1. Introduction
2. Materials and Methods
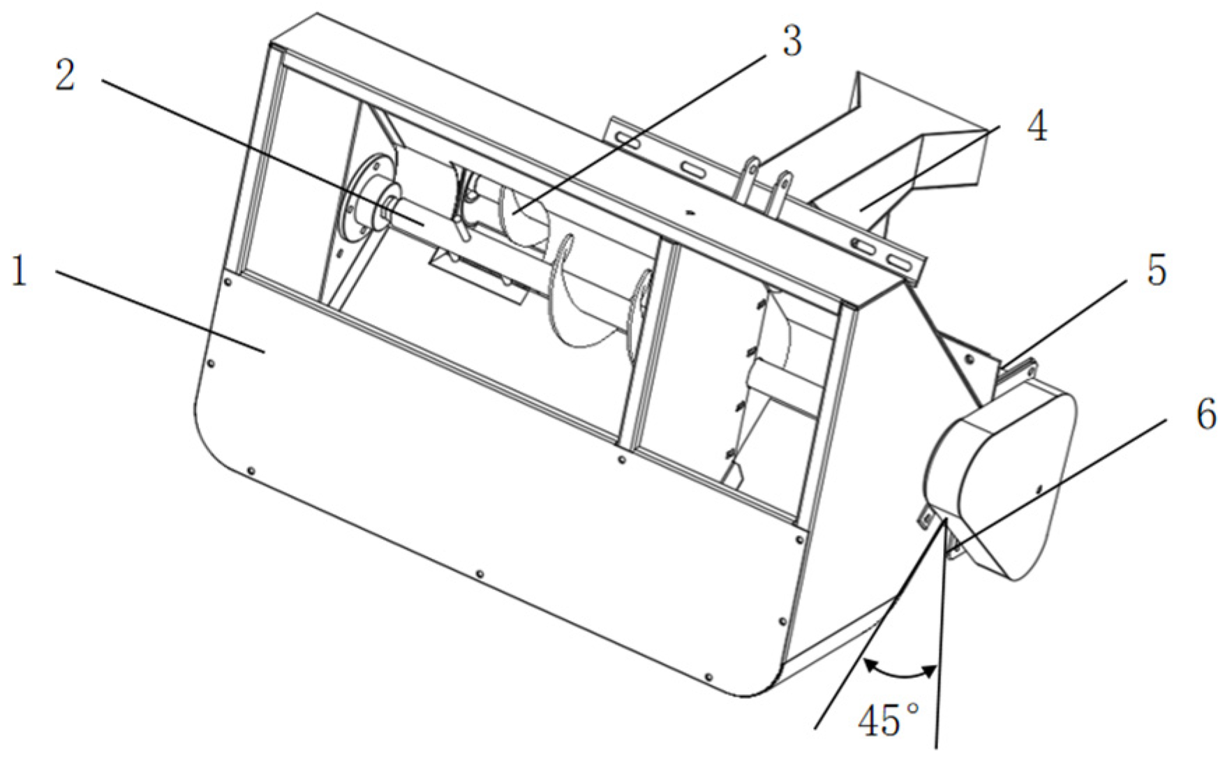
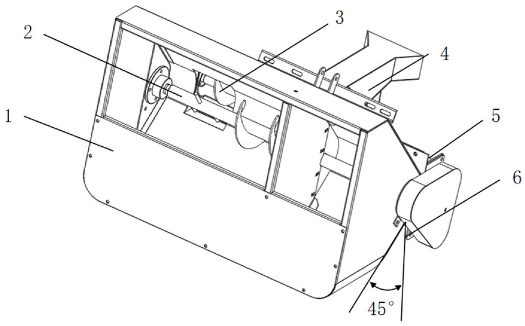
2.1. Structure and Working Principle of the Whole Machine
2.2. Key Component Design of Whole Machine
2.2.1. Design of Trenching Device
2.2.2. Design of Fertilizing Device
2.2.3. Design of Soil-Covering Device
2.3. Discrete Element Method Simulation Experiments
2.3.1. Discrete Element Simulation Modeling
2.3.2. Setting of Simulation Parameters
2.3.3. Simulation Test of Fertilization Scheme
- (1)
- Pre-Plant Fertilization: The fertilizing trough is aligned parallel to the machine’s forward direction, with the trenching device positioned directly behind the fertilizer trough. Fertilizer is evenly spread along the outer edge of the tree root zone, forming a strip or band of fertilizer. The trenching device then cuts into the soil, simultaneously cutting and throwing both soil and fertilizer upward. The covering device directs the thrown soil and fertilizer back into the trench. This process achieves the mixing of soil and fertilizer without actual trench formation during the fertilization step, but may result in less uniform mixing compared to other methods.
- (2)
- Mid-Plant Fertilization: The fertilizing trough remains parallel to the forward direction, but the trenching device is positioned directly ahead of the fertilizer trough. Organic fertilizer is discharged from the fertilizing trough onto the surface of the soil. The trenching device then cuts into the soil, throwing both soil and the recently discharged fertilizer upward. Concurrently, the covering device guides the thrown mixture back into the trench. This method mixes soil and fertilizer by combining them during the cutting process, but some fertilizer may remain on the soil surface, affecting uniformity.
- (3)
- Post-Plant Fertilization: The trenching device cuts into the soil and throws soil upward, while the fertilizing trough is positioned behind the trenching device. As the trenching device cuts into the soil, organic fertilizer is discharged from the fertilizing trough into the open trench. The soil thrown and discharged fertilizer are then guided by the covering device to fall back into the trench, achieving a thorough mix of soil and fertilizer within the trench. This method tends to result in better soil–fertilizer mixing, as the fertilizer is directly introduced into the trench, where it is immediately combined with the displaced soil.
2.3.4. Scheme and Method of the Simulation Test
2.3.5. Simulation Evaluation Method
- Trenching Power Consumption
- 2.
- Soil–Fertilizer Mixing Uniformity Measurement
- 3.
- Fertilizer Loss Rate
2.4. Field Test Condition and Method
2.4.1. Field Test Condition
2.4.2. Test Methods and Evaluation Indicators
- Power Consumption Test
- 2.
- Fertilization Uniformity Test
- 3.
- Fertilizer Leakage Rate
3. Test Results and Discussion
3.1. EDEM Simulation Results and Discussion
3.1.1. Simulation Analysis of Three Different Fertilization Schemes
3.1.2. Response Surface Analysis
- Regression Analysis of Trenching Power Consumption
- 2.
- Soil–Fertilizer Mixture Uniformity Model Variance and Response Surface Analysis
3.1.3. Optimization and Validation of Seedling Extraction Parameters
3.2. Field Test Results and Discussion
3.2.1. Trenching Power Consumption Test
3.2.2. Soil–Fertilizer Mixture Uniformity
4. Conclusions
Author Contributions
Funding
Institutional Review Board Statement
Data Availability Statement
Acknowledgments
Conflicts of Interest
References
- Hou, Z.; Yang, H. Effects of soil fertilization periods and methods on the growth and fruiting of fruit trees. Pract. Rural Technol. 2019, 11, 48. [Google Scholar]
- Heidarisoltanabadi, M.; Elhami, B.; Imanmehr, A.; Khadivi, A. Determination of the most appropriate fertilizing method for apple trees using multi-criteria decision-making (MCDM) approaches. Food Sci. Nutr. 2023, 12, 1158–1169. [Google Scholar] [CrossRef] [PubMed]
- Sun, J.W.; Chen, Z.X.; Song, R.H.; Fan, S.; Han, X.; Zhang, C.F.; Wang, J.X.; Zhang, H. An intelligent self-propelled double-row orchard trenching and fertilizing machine: Modeling, evaluation, and application. Comput. Electron. Agric. 2025, 229, 109818. [Google Scholar] [CrossRef]
- Li, L.; Wu, T.Y.; Li, Y.S.; Hu, X.; Wang, Z.X.; Liu, J.F.; Qin, W.; Ashraf, U. Deep fertilization improves rice productivity and reduces ammonia emissions from rice fields in China; a meta-analysis. Field Crops Res. 2022, 289, 108704. [Google Scholar] [CrossRef]
- Liu, S.X.; Xu, C.B.; Zhang, H.J.; Jiang, H.; Quan, Z.K.; Wang, J.X. Research Status and Development Analysis of Base-fertilizer Application Equipment of Orchard. Chin. Soc. Agric. Mach. 2020, 51, 99–108. [Google Scholar]
- Sugirbay, A.; Zhao, K.; Liu, G.; Hu, G.; Chen, J.; Mustafin, Z.; Iskakov, R.; Kakabayev, N.; Muratkhan, M.; Khan, V.; et al. Double Disc Colter for a Zero-Till Seeder Simultaneously Applying Granular Fertilizers and Wheat Seeds. Agriculture 2023, 13, 1102. [Google Scholar] [CrossRef]
- Qin, K.; Lang, X.T.; Shen, Z.G.; Wu, Z.M.; Bi, H.J.; Cao, C.M.; Sun, Y.; Ge, J.; Fang, L.F. Design and Experiment of Reciprocating Furrowing and Loosening Machine for Tea Garden. Trans. Chin. Soc. Agric. Mach. 2024, 55, 29–39. [Google Scholar]
- Li, J.; Li, H.C.; Chen, Y.Y.; Lin, P.Y.; Zhang, Q.Q.; Cheng, Y.; Yang, Z.; Huang, G.W. Research on Ditching Mechanism of Self-Excited Vibration Ditching Machine. Agronomy 2023, 13, 905. [Google Scholar] [CrossRef]
- Zeng, Y.; Li, J.; Li, H.C.; Zhang, Q.Q.; Li, C.; Li, Z.; Jiang, R.P.; Mai, C.D.; Ma, Z.; He, H.W. Research on the ditching resistance reduction of self-excited vibrations ditching device based on MBD-DEM coupling simulation. Front. Plant Sci. 2024, 15, 1372585. [Google Scholar] [CrossRef] [PubMed]
- Ye, R.; Ma, X.; Zhao, J.; Liao, J.; Liu, X.; Xi, L.; Su, G. Optimization and Design of Disc-Type Furrow Opener of No-Till Seeder for Green Manure Crops in South Xinjiang Orchards. Agriculture 2023, 13, 1474. [Google Scholar] [CrossRef]
- Chen, W.X.; Ren, J.B.; Huang, W.L.; Chen, L.B.; Weng, W.X.; Chen, C.C.; Zheng, S.H. Design and Parameter Optimization of a Dual-Disc Trenching Device for Ecological Tea Plantations. Agriculture 2024, 14, 704. [Google Scholar] [CrossRef]
- Zhang, G.; Zhang, Z.; Xiao, M.; Bartos, P.; Bohata, A. Soil-Cutting Simulation and Parameter Optimization of Rotary Blade’s Three-Axis Resistances by Response Surface Method. Comput. Electron. Agric. 2019, 164, 104902. [Google Scholar] [CrossRef]
- Matin, M.A.; Hossain, M.I.; Gathala, M.K.; Timsina, J.; Krupnik, T.J. Optimal Design and Setting of Rotary Strip-Tiller Blades to Intensify Dry Season Cropping in Asian Wet Clay Soil Conditions. Soil. Tillage Res. 2021, 207, 104854. [Google Scholar] [CrossRef]
- Dai, F.; Guo, W.J.; Song, X.F.; Zhang, Y.; Shi, R.J.; Wang, F.; Zhao, W.Y. Optimization of mechanized soil covering path based on the agronomic mode of full-film double-ditch with double-width filming. Int. J. Agr. Biol. Eng. 2022, 15, 139–146. [Google Scholar] [CrossRef]
- Guo, D.; Wen, L.; Jia, D.; Cheng, Z.; Ning, M.; Wen, J. Optimal Design and Experiment of Arc-groove Double-spiral Fertilizer Discharge Device. Trans. Chin. Soc. Agric. Mach. 2022, 53, 118–125. [Google Scholar]
- Wang, X.Z.; Fang, W.Q.; Han, D.L.; Chen, X.G. Review of the Research on Soil Disturbance by Tools. Appl. Sci. 2023, 13, 338. [Google Scholar] [CrossRef]
- Niu, Y.; Zhang, J.Y.; Qi, J.T.; Meng, H.W.; Peng, H.J.; Li, J.H. Design and Test of Soil–Fertilizer Collision Mixing and Mulching Device for Manure Deep Application Machine. Agriculture 2023, 13, 709. [Google Scholar] [CrossRef]
- Zhang, H.J.; Xu, C.B.; Liu, S.X.; Jiang, H.; Zhang, C.F.; Wang, J.X. Design and Experiment of Orchard Double Row Ditching-fertilizer Machine with Automatic Depth Adjustment. Trans. Chin. Soc. Agric. Mach. 2021, 52, 62–72. [Google Scholar]
- Yuan, Q.; Xu, L.; Niu, C.; Ma, S.; Yan, C.; Zhao, S.; Liu, F.; Wang, K. Development of organic fertilizer deep applicator soil-fertilizer mixing layered backfill device for orchards. J. Agric. Eng. 2021, 37, 11–19. [Google Scholar]
- Wang, J.W.; Xu, Y.N.; Wang, C.Y.; Xiang, Y.S.; Tang, H. Design and simulation of a trenching device for rice straw burial and trenching based on MBD-DEM. Comput. Electron. Agric. 2023, 207, 107722. [Google Scholar] [CrossRef]
- Zhang, Z. Development and Experiment of Simulating Orchard Trencher Based on the Simulation of Soil Cutting Process by Edged Tool. Master’s Thesis, Shandong Agricultural University, Taian, China, 2020. [Google Scholar]
- Wang, X.Y.; Tang, Y.R.; Lan, H.P.; Liu, Y.; Zeng, Y.; Tang, Z.H.; He, Y.C.; Zhang, Y. Performance Analysis and Testing of Spiral Quantitative Fertiliser Distributors in Orchards. Appl. Sci. 2023, 13, 8941. [Google Scholar] [CrossRef]
- Chen, P.L.; Su, J.H.; Xu, J.; Liu, M.H. Design and Experiment of Hilly Orchard Vertical Spiral Ditching-fertilizing Machine. Trans. Chin. Soc. Agric. Mach. 2024, 55, 223–233+274. [Google Scholar]
- Zhu, X.H.; Zhao, H.S.; Fu, S.K.; Li, X.D.; Guo, W.C.; Zhang, L.X. Design and Test of Applicator for Kiwifruit Orchards to Mix Organic Fertilizer into Soil without Furrowing. Trans. Chin. Soc. Agric. Mach. 2023, 54, 133–142. [Google Scholar]
- Tan, H.C.; Ma, S.; Shen, S.C.; Ma, J.L.; Zhou, H.N.; Xu, L.M. Design and experimentation of a chain reversal trenching and fertilization device for vineyard organic fertilizer. Trans. Chin. Soc. Agric. Eng. 2024, 40, 12–23. [Google Scholar]
- Kang, J.M.; Li, S.J.; Yang, X.J.; Liu, L.J.; Li, C.R. Experimental verification and simulation analysis on power consumption of dise type ditcher. Trans. Chin. Soc. Agric. Eng. 2016, 32, 8–15. [Google Scholar]
- China Academy of Agricultural Mechanization Science. Manual of Agricultural Machinery Design; Machinery Industry Press: Beijing, China, 1998. [Google Scholar]
- Ucgul, M.; Fielke, J.M.; Saunders, C. Three-dimensional discrete element modelling (DEM) of tillage: Accounting for soil cohesion and adhesion. Biosyst. Eng. 2015, 129, 298–306. [Google Scholar] [CrossRef]
- Fotuhi, M.J.; Hazem, Z.D.; Bingül, Z. Adaptive Joint Friction Estimation Model For Laboratory 2 DOF Double Dual Twin Rotor Aerodynamical Helicopter System. In Proceedings of the 2018 6th International Conference on Control Engineering & Information Technology (CEIT), Istanbul, Turkey, 25–27 October 2018; pp. 1–6. [Google Scholar]
- Ma, C.; Meng, H.W.; Zhang, J.; Zhang, C.; Zhao, Y.; Wang, L.H. Research and experiment on the trenching performance of orchard trenching device. Sci. Rep. 2023, 13, 18941. [Google Scholar] [CrossRef] [PubMed]
- JB/T 11908-2014; Agricultural Disc Ditcher. National Standardization Administration: Beijing, China, 2014.
- GB/T 20346.2-2022; Equipment for Distributing Fertilizer—Part 2: Fertilizer Distributor in Lines. National Standardization Administration: Beijing, China, 2022.


















| Representative Equipment | Developer | Type of Fertilizer | Performance | Characteristics |
|---|---|---|---|---|
![]() Self-propelled intelligent orchard trenching and fertilizing machine | Sun et al., China | Organic and chemical fertilizers | Trenching depth: 0~400 mm Trenching width: 200~350 mm Trenching distance: 2~2.5 m | Self-propelled; automatic driving; double-row trenching |
![]() Self-propelled multifunctional fertilizing machine | Yifeng Machinery Co. LTD., China | Organic or chemical fertilizers | Trenching depth: 200~350 mm | Self-propelled |
![]() Chain reversal trenching and fertilization machine | Tan et al., China | Organic fertilizer | Trenching depth: 0~300 mm Trenching width: 0~600 mm | Self-propelled |
![]() Chain reversal trenching machine | Vermeer, America | - | Trenching depth: 760~1220 mm Trenching width: 100~200 mm | Self-propelled |
![]() Chain reversal trenching machine | Kawabe, Japan | - | Trenching depth: 1000~1200 mm Trenching width: 0~120 mm | Self-propelled |
| Main Parameters | Numerical Value |
|---|---|
| Dimension (L × W × H) (mm) | 2000 × 1000 × 1000 |
| Matching power (kw) | 18.8 |
| Maximum driving speed (m/s) | 1.0 |
| Trenching depth (cm) | 0~35 |
| Width of trenching application (cm) | 0~30 |
| Fertilizer tank capacity (m3) | 0.2 |
| Unicyclic fertilizer application (g) | 164 |
| Maximum operating time (h) | 8 |
| Materials | Poisson’s Ratio | Density (kg/m3) | Young’s Modulus (Pa) |
|---|---|---|---|
| Soil | 0.3 | 2600 | 1 × 106 |
| 65 Mn | 0.2 | 7800 | 7 × 109 |
| Fertilizer | 0.25 | 1320 | 1 × 107 |
| Parameter | Restitution Coefficient | Coefficient of Static Friction | Dynamic Friction Coefficient |
|---|---|---|---|
| Soil and soil | 0.5 | 0.4 | 0.15 |
| Soil and 65 Mn | 0.6 | 0.6 | 0.13 |
| Soil and fertilizer | 0.25 | 0.6 | 0.02 |
| Soil and steel | 0.5 | 0.5 | 0.05 |
| Fertilizer and fertilizer | 0.11 | 0.3 | 0.1 |
| Code | Factors | ||
|---|---|---|---|
| Forward Speed x1 (m/s) | Trenching Speed x2 (r/min) | Bending Angle of Trenching Knife x3 (°) | |
| −1 | 0.2 | 250 | 130 |
| 0 | 0.3 | 300 | 135 |
| 1 | 0.4 | 350 | 140 |
| Test Number | Trenching Speed x1/(r/min) | Forward Speed x2/(m/s) | Bending Angle of Trenching Knife x3/(°) | Trenching Power Consumption y1/kW | Soil–Fertilizer Mixing Uniformity y2/% |
|---|---|---|---|---|---|
| 1 | 300 | 0.4 | 130 | 2.19 | 78.01 |
| 2 | 300 | 0.3 | 135 | 2.07 | 76.13 |
| 3 | 300 | 0.3 | 135 | 2.04 | 76.47 |
| 4 | 350 | 0.2 | 135 | 2.19 | 77.73 |
| 5 | 300 | 0.3 | 135 | 2.12 | 76.59 |
| 6 | 300 | 0.2 | 130 | 1.50 | 79.15 |
| 7 | 350 | 0.3 | 140 | 2.02 | 76.12 |
| 8 | 250 | 0.3 | 140 | 1.54 | 77.02 |
| 9 | 300 | 0.3 | 135 | 2.14 | 76.20 |
| 10 | 350 | 0.4 | 135 | 2.88 | 77.34 |
| 11 | 300 | 0.4 | 140 | 1.99 | 76.90 |
| 12 | 300 | 0.2 | 140 | 1.36 | 78.07 |
| 13 | 300 | 0.3 | 135 | 2.05 | 76.37 |
| 14 | 250 | 0.2 | 135 | 1.55 | 78.89 |
| 15 | 250 | 0.4 | 135 | 1.95 | 76.34 |
| 16 | 350 | 0.3 | 130 | 2.51 | 77.49 |
| 17 | 250 | 0.3 | 130 | 1.50 | 78.46 |
| Variance Source | Sum of Squares | Degrees of Freedom | Mean Square | F | p | Significance |
|---|---|---|---|---|---|---|
| Model | 2.46 | 9 | 0.2738 | 134.52 | <0.0001 | ** |
| x1 | 1.17 | 1 | 1.17 | 575.16 | <0.0001 | ** |
| x2 | 0.7260 | 1 | 0.7260 | 356.76 | <0.0001 | ** |
| x3 | 0.0780 | 1 | 0.0780 | 38.34 | 0.0004 | ** |
| x1x2 | 0.0210 | 1 | 0.0210 | 10.33 | 0.0148 | * |
| x1x3 | 0.0702 | 1 | 0.0702 | 34.51 | 0.0006 | ** |
| x2x3 | 0.0009 | 1 | 0.0009 | 0.4423 | 0.5273 | - |
| x12 | 0.0337 | 1 | 0.0337 | 16.57 | 0.0047 | ** |
| x22 | 0.0078 | 1 | 0.0078 | 3.83 | 0.0914 | - |
| x32 | 0.3615 | 1 | 0.3615 | 177.63 | <0.0001 | ** |
| Residual | 0.0142 | 7 | 0.0020 | |||
| Lack of fit | 0.0089 | 3 | 0.0030 | 2.24 | 0.2263 | - |
| Pure error | 0.0053 | 4 | 0.0013 | |||
| Total | 2.48 | 16 |
| Variance Source | Sum of Squares | Degrees of Freedom | Mean Square | F | p | Significance |
|---|---|---|---|---|---|---|
| Model | 15.16 | 9 | 1.68 | 19.44 | 0.0004 | ** |
| x1 | 0.5151 | 1 | 0.5151 | 5.95 | 0.0449 | - |
| x2 | 3.45 | 1 | 3.45 | 39.77 | 0.0004 | ** |
| x3 | 3.13 | 1 | 3.13 | 36.07 | 0.0005 | ** |
| x1x2 | 1.17 | 1 | 1.17 | 13.46 | 0.0080 | ** |
| x1x3 | 0.0012 | 1 | 0.0012 | 0.0141 | 0.9087 | - |
| x2x3 | 0.0002 | 1 | 0.0002 | 0.0026 | 0.9608 | - |
| x12 | 0.2257 | 1 | 0.2257 | 2.60 | 0.1506 | - |
| x22 | 4.14 | 1 | 4.14 | 47.78 | 0.0002 | ** |
| x32 | 2.00 | 1 | 2.00 | 23.07 | 0.0020 | ** |
| Residual | 0.6065 | 7 | 0.0866 | |||
| Lack of fit | 0.4632 | 3 | 0.1544 | 4.31 | 0.0960 | - |
| Pure error | 0.1433 | 4 | 0.0358 | |||
| Total | 15.77 | 16 |
| Number of Tests | Simulation Test (kw) | Orchard Test (kw) | Relative Error (%) |
|---|---|---|---|
| 1 | 1.62 | 1.75 | 7.42 |
| 2 | 1.71 | 1.86 | 8.06 |
| 3 | 2.04 | 2.19 | 6.84 |
| Mean value | 1.79 | 1.93 | 7.44 |
| Number of Tests | Simulation Test (%) | Orchard Test (%) | Relative Error (%) |
|---|---|---|---|
| 1 | 78.68 | 75.74 | 3.73 |
| 2 | 79.64 | 75.93 | 4.65 |
| 3 | 80.96 | 76.81 | 5.12 |
| Mean value | 79.74 | 76.16 | 4.50 |
Disclaimer/Publisher’s Note: The statements, opinions and data contained in all publications are solely those of the individual author(s) and contributor(s) and not of MDPI and/or the editor(s). MDPI and/or the editor(s) disclaim responsibility for any injury to people or property resulting from any ideas, methods, instructions or products referred to in the content. |
© 2025 by the authors. Licensee MDPI, Basel, Switzerland. This article is an open access article distributed under the terms and conditions of the Creative Commons Attribution (CC BY) license (https://creativecommons.org/licenses/by/4.0/).
Share and Cite
Li, J.; Mai, C.; Zeng, Y.; Li, Z.; Jiang, R.; Weng, Q.; Cai, J.; Wang, Q.; Li, C. Development of a Crawler-Type Self-Propelled Machine with Trenching, Fertilizing, and Soil-Covering Components for Hilly Orchard. Agriculture 2025, 15, 430. https://doi.org/10.3390/agriculture15040430
Li J, Mai C, Zeng Y, Li Z, Jiang R, Weng Q, Cai J, Wang Q, Li C. Development of a Crawler-Type Self-Propelled Machine with Trenching, Fertilizing, and Soil-Covering Components for Hilly Orchard. Agriculture. 2025; 15(4):430. https://doi.org/10.3390/agriculture15040430
Chicago/Turabian StyleLi, Jun, Chaodong Mai, Ye Zeng, Zhao Li, Runpeng Jiang, Qinglin Weng, Jiamin Cai, Qian Wang, and Can Li. 2025. "Development of a Crawler-Type Self-Propelled Machine with Trenching, Fertilizing, and Soil-Covering Components for Hilly Orchard" Agriculture 15, no. 4: 430. https://doi.org/10.3390/agriculture15040430
APA StyleLi, J., Mai, C., Zeng, Y., Li, Z., Jiang, R., Weng, Q., Cai, J., Wang, Q., & Li, C. (2025). Development of a Crawler-Type Self-Propelled Machine with Trenching, Fertilizing, and Soil-Covering Components for Hilly Orchard. Agriculture, 15(4), 430. https://doi.org/10.3390/agriculture15040430






