Next Article in Journal
Machine Learning-Based Comparative Analysis on Direct and Indirect Mapping of Soil Texture Types Through Soil Particle Size Fractions Using Multi-Source Remote Sensing
Next Article in Special Issue
Design of Electrical Control System for Precision Rice Hill Direct-Seeding Device and Seeding Performance Comparison Test
Previous Article in Journal
Effect of Angle Between Center-Mounted Blades and Disc on Particle Trajectory Correction in Side-Throwing Centrifugal Spreaders
 
 
Font Type:
Arial Georgia Verdana
Font Size:
Aa Aa Aa
Line Spacing:
Column Width:
Background:
Article

Design and Experimentation of a Low-Damage Combined Full-Feeding Peanut Picking Device

1
College of Engineering, Nanjing Agricultural University, Nanjing 210031, China
2
College of Mechanical and Electrical Engineering, Qingdao Agricultural University, Qingdao 266109, China
3
College of Intelligent Manufacturing, Anhui Science and Technology University, Chuzhou 233100, China
4
College of Mechanical & Electronic Engineering, Shandong Agricultural University, Tai’an 271018, China
*
Authors to whom correspondence should be addressed.
Agriculture 2025, 15(13), 1394; https://doi.org/10.3390/agriculture15131394
Submission received: 12 May 2025 / Revised: 25 June 2025 / Accepted: 26 June 2025 / Published: 28 June 2025

Abstract

To address the issues of high pod damage rate and unpicked pod rate in the picking device of peanut picking combine harvesters during the harvesting of sun-dried peanuts, a low-damage peanut picking device was developed. This device combines flat pin teeth with a two-stage round steel concave screen. Contact models between the picking components and peanut pods, as well as between pods and the concave screen, were analyzed to determine the optimal structural parameters of the picking components and the most suitable concave screen type. Using peanut plants that had been dug, windrowed, and naturally sun-dried in the field for 3–5 days as test material, bench tests were conducted with pod breakage rate and unpicked pod rate as evaluation indices. The installation direction of the picking elements and the combination form of the concave screen were used as experimental factors. The optimal configuration was determined to be flat pin teeth installed with parallel axial forward bending with a tip fillet radius of 6 mm, and a concave screen composed of right round steel + straight round steel with front sparse and rear dense type. Field comparative experiments with a conventional picking device—comprising cylindrical bar teeth and a straight round steel concave screen—showed that the pod breakage rate decreased from 1.92% to 1.17%, and the unpicked pod rate decreased from 1.14% to 0.62%. This study provides a theoretical basis for the structural optimization and performance enhancement of the threshing device in peanut picking combine harvesters.

1. Introduction

Peanut is the fourth largest oilseed crop in the world and one of the most important oilseed crops and cash crops in China [1,2,3,4]. However, the overall mechanization level of peanut production in China is relatively backward, which has become a key factor restricting the development of the peanut industry [5,6,7,8]. Mechanized peanut harvesting methods are mainly divided into three kinds, two-stage harvesting, multi-stage harvesting, and combined harvesting, of which two-stage harvesting (digging and drying + gleaning and picking) has become the preferred harvesting method for farmers in the main producing areas of peanut in China due to the good quality of harvesting and the high efficiency of operation [9,10,11,12,13,14,15,16,17,18].
The picking device is one of the key components of the peanut picking combine harvester, and the mechanical collision damage in the peanut picking process is the most important factor causing peanut breakage. Peanut picking damage will not only cause direct loss of peanuts, but the loss of the intact shell protection of peanut kernels easily breeds mold and pests, storage has potential harm, and the market value is greatly reduced [19,20]. Currently, issues such as high pod damage rate and low picking efficiency are widespread during the peanut picking process, significantly limiting the performance improvement of picking devices [5,9,10,11]. In response to these challenges, Chen et al. [21] designed an axial flow peanut picking device with a screw bending-tooth, to a certain extent, to solve the high damage rate of picking, the ease of tangling, and other issues. Wang et al. [22] designed a small elbow-tooth full-feed peanut picking machine; the use of a curved rod tooth as a picking component can achieve a small amount of feed under the low-damage, high picking rate operation. Li et al. [23] designed a spring tined picking peanut mechanism, through the design of the spring tined picking component and conical concave screen, to effectively improve the problem of more broken pods in the picking process. Wang et al. [24] used Hertz contact theory to analyze the impact of peanut pods and picking teeth in the process of picking, and optimized the parameters of picking drum diameter and speed, so as to reduce the damage of the picking component on the peanut pods. Xu et al. [25] designed a conical segmented concave plate sieve and optimized the working parameters of the pin-tooth longitudinal axial flow peanut picking device through a bench test, which can meet the high operational efficiency and picking rate. Liu et al. [26] designed a pod-picking device matching the combine harvester for peanut seedlings; peanuts were processed under optimized parameters, and field tests showed that the picking and crushing rate of the harvester met the requirements of industry standards. Although the above scholars have made many efforts to optimize the performance of peanut picking devices, most of them have focused on the experiments and investigations on the picking form and working parameters; the lack of research on the optimization of matching the traditional picking components and the concave screen structure, and the lack of low-damage, high picking rate picking technology restricts the development of China’s peanut industry [27,28].
In order to solve the problems of high damage rate and low picking rate during the working process of peanut picking devices in peanut picking combine harvesters, based on the physical properties of peanut pods after digging and laying dry, a full-feed low-damage flat pin teeth matched with a two-stage combined round steel type picking concave screen was designed to explore the intrinsic relationship affecting the performance of peanut picking, and to provide the basis for designing and optimizing parameters of the longitudinal axial flow peanut picking device.

2. Materials and Methods

2.1. Structure and Working Principle

The overall structure and working principle of the low-damage combined full-feed peanut picking device are shown in Figure 1, which mainly include a top cover, flat pin teeth, width plate, picking drum, concave screen, and support frame. Among them, the picking drum is located in the picking chamber composed of the top cover and concave screen. The flat pin teeth are fixed on the width plate through the picking component connecting seat, and are distributed in a spiral shape on the circumferential surface of the picking drum. The top cover is equipped with a spiral deflector to improve the axial conveying capacity of the seedlings and pods. The top cover and the concave plate sieve are fixed to the support frame through the bolted connection. The concave screen is shorter than the length of the picking drum, so that the seedlings and vines after peanut picking can be easily discharged from the back of the drum and be collected.
The working process of low-damage combined full-feed peanut picking device mainly consisted of 2 stages: feeding section and picking section. At work, the power through the picking drum spindle drove picking drum to perform rotary movement, conveying peanut plants to the feeding inlet of the spiral feeding device, which grasps the role of pushing, so that the peanut plants through the spiral blade and conical sleeve shell gap are fed to the picking chamber to complete the feeding process; peanut plants entered the picking chamber, the picking drum on the flat head of the nail teeth grabs the peanut seedling vines or roots to make the plant begin doing the circumferential movement, and under the joint action of the drum picking component, the top cover deflector plate makes the peanut plant do the circular movement. And in the drum picking component, the top cover deflector plate under the joint action of the peanut plant along the axial direction of movement; in the peanut plant to follow the picking drum to do the circular motion process, peanut plant by the rotating flat pin teeth of the hit, comb pull and other active force and the static concave screen scraping, friction and sieve holes on the peanut pod embedded in the pull and other binding effect, so that the peanut plant is the most fragile fruit stalk linkage point instantly separated, complete the peanut pods picking process.

2.2. Design of Key Parameters

2.2.1. Structural Design of Longitudinal Flow Picking Drum

In order to improve the peanut picking efficiency in the picking chamber and at the same time prevent the plants from entering the shaft of the picking drum and causing pod leakage, a closed cylinder and transverse width plate combination picking drum was designed as shown in Figure 2.
The length of the longitudinal flow picking drum has a significant effect on the picking separation capacity; the longer the picking drum, and the more peanut plants allowed to feed, the higher the pod-picking rate, but at the same time, the picking energy consumption increases, the pod breakage rate increases, and peanut vines, rhizomes, and breakage increase. The length of the longitudinal flow picking drum is expressed as follows:
L q / q 0 ,
where L is the length of the picking drum, m; q is the feeding volume of the picking drum, kg/s; q0 is the feeding volume that can be borne by the unit length of the picking drum, which is determined by the test to be 1.5 to 1.8 kg/(s · m).
The feeding rate of the picking device was calculated as 3 kg/s. From Equation (1), the length of the longitudinal axial flow picking drum could be taken in the range of 1.67 to 2.0 m, and taking into account the efficiency of the picking and harvesting machine and the limitation of the dimensions, 1.99 m was taken in the present study, which is slightly less than the upper limit of the length.
Picking drum diameter is too small, easily forming vines in the drum concave surface wrapped around it, narrowing the effective picking area of the concave screen; picking drum diameter can be increased to improve the amount of picking feed and picking efficiency, but when the drum diameter is too large, picking power consumption will also increase. Picking drum tooth root circle diameter (the diameter of the outer contour of the width plate outside the circle) is generally greater than 300 mm; after comprehensive consideration, the selection of tooth root circle diameter D1 was 540 mm.
The diameter of the picking drum D (diameter of the toothed top circle) is
D = D 1 + 2 h Z ,
where D is the diameter of the picking drum, mm; D1 is the diameter of the root circle of the teeth of the picking drum, mm; hZ is the height of the picking component, i.e., the height of the flat pin teeth, taken as 60 mm.
From Equation (2), the diameter of the picking drum is 660 mm.

2.2.2. Design of Structural Parameters of Picking Components

In order to compare the mechanical damage to peanut pods by conventional bend cylindrical bar teeth and flat pin teeth, this study establishes the equation of collision cross-sectional area and compression between peanut pods and picking components in the contact process based on the Hertz contact theory, and determines the range of inverted radius of the head of the flat pin teeth by analyzing and calculating.
  • Analysis of the collision process of conventional bend cylindrical bar teeth
In the process of peanut picking, the conventional bend cylindrical bar teeth cause great damage to the peanut pods, with high pod breakage rate and poor picking effect. Among them, the striking of pods by the edges at the top of the teeth of the bent cylindrical bar teeth is the main reason for the damage to peanut pods. In this study, through the analysis of the collision process between peanut pods and the picking component, a low-damage picking component is designed—flat pin teeth. In order to verify the rationality of the design and determine the inverted radius of the head of the flat pin teeth, the collision between peanut pods and picking components is analyzed theoretically. The collision between the edge at the top of the tooth and the peanut pods of a conventional bend cylindrical bar tooth is shown in Figure 3.
Picking components and peanut pods in the contact area of any normal plane of the smallest radius of curvature are an important factor affecting the damage rate of peanut pods, so the analysis of peanut pods and flat pin tooth head inverted edge of the circle at an angle of 45° collision occurs when the strength of the blow is at its maximum, as shown in Figure 3 and Figure 4; at this time, its collision of the intercept area can be approximately regarded as a line segment AB truncation of cylindrical rod teeth of the oblique intercept section of the ellipse area s1.
To the direction of the long axis of the ellipse for the x-axis, the short axis for the y-axis, and the center of the ellipse as the origin to establish a right-angled coordinate system, the collision cross-sectional area s1 can be expressed as
s 1 = 2 a a + 2 h 1 b 1 x 2 a 2 d x , x ( a , a ) ,
where h1 is the compression of the peanut pods when they collide with the bent cylindrical bar teeth, mm; a is the length of the half-length axis of the elliptical section, mm; b is the length of the half-short axis of the elliptical section, which is equal to the diameter d of the cylindrical bar teeth, and is 15 mm.
Since the collision angle between the peanut pods and bent cylindrical bar teeth is 45°, there is a relationship between the lengths of a and d:
2 a = d / cos 45 ° ,
The diameter of the bent cylindrical bar teeth (d) is 15 mm, which is brought in to obtain
a = 15 2 2   mm ,
This can be obtained by bringing Equation (5) into Equation (3):
s 1 = 225 2 4 π + 4 2 h 1 30 · 15 2 2 h 1 h 1 2 + 225 2 2 · arcsin 2 2 15 h 1 1 ,
  • Analysis of the collision process of flat pin teeth
In order to increase the contact area between the flat pin teeth and the peanut pods at the impact surface, thereby reducing the rigid impact strength of the peanut pods, decreasing the breakage rate of the peanut pods and improving the quality of picking. In this study, the tip of the flat pin teeth was designed as a flat sphere. The collision between the flat pin teeth and the peanut pods is shown in Figure 5.
Similarly, when the collision between peanut pods and flat pin teeth inverted circular edge at an angle of 45° at the maximum hitting strength, by Hertz theory, the two collisions of the cross-sectional area can be approximated as the distance between the two points A′, B′ as the diameter of the area of the circle, the line segment AB′ length l A B , and the collision cross-sectional area of s2, respectively:
l A B = 2 R 2 ( R h 2 ) 2 ,
s 2 = π R 2 R h 2 2 ,
where R is the radius of the inverted circle of the head of the flat pin teeth, mm; h2 is the compression amount of the peanut pod when it collides with the flat pin teeth, mm.
  • Determination of structural parameters of flat pin teeth
Conventional bent cylindrical bar teeth top inverted radius is very small, the collision cross-section area is small, the peanut pods’ impact is intense, and there is a sliding cut role, which easily causes the peanut pods’ higher breakage rate. Increasing the impact contact area is an effective means of reducing mechanical damage to peanut pods. Flat pin teeth increase the contact area of the nail teeth and peanut pods collision, and the top with inverted transition, so that the flat pin teeth and peanut pods form the approximate spherical contact, peanut pods force uniformity increases, and the impact cross-sectional area is large, so as to reduce the breakage rate of peanut pods. Under the same test conditions, flat pin teeth and peanut pods’ impact cross-sectional area s2 is greater than the conventional bent cylindrical bar teeth and peanut pods’ impact cross-sectional area s1. Equations (6) and (8) can be obtained from the following relationship:
s 2 s 1 = 2 π R h 2 π h 2 2 225 2 4 π 4 2 h 1 30 · 15 2 2 h 1 h 1 2 225 2 2 · arcsin 2 2 15 h 1 1 ,
According to the compression test, when the pods of three varieties of peanuts, namely, “Huayu 30”, “Baisha 1016”, and “Silihong”, with a moisture content of 10–20% during the harvesting period, were compressed, the compression deformation ranged from 1.08 to 3.37 mm. In order to avoid rupture of peanut pods under the impact of the picking component, the minimum compression deformation of peanut pods rupture was h min = 1.08 mm; so the peanut pods do not rupture, the amount of compression required is h 1.08 mm, which can be obtained as follows:
R h 2 2 + 225 2 8 h 2 + 2 2 h 1 15 π h 1 · 15 2 2 h 1 h 1 2 + 225 2 4 π h 2 arcsin 2 2 15 h 1 1 ,
where b = 15 mm, and h1, h2, as approximately equal, are taken as the upper limit of 1.08 mm, so R > 4.47 mm can be obtained. In summary, when the flat pin teeth head inverted radius R > 4.47 mm, the flat pin teeth on the peanut pods’ hitting strength are less than the bent cylindrical bar teeth on the peanut pods’ hitting strength. Considering that the diameter of the root cylinder of the flat pin teeth is 16 mm, the inverted radius of the flat pin teeth head should be smaller than the radius of the root cylinder of the pin teeth, so the initial set of the inverted radius of the flat pin teeth head R is in the range of 4.5 to 8 mm, and will be analyzed and optimized with the help of the simulation test on the inverted radius of the flat pin teeth head, and ultimately determine the optimal inverted radius of the flat pin teeth head.

2.2.3. Structural Parameter Design of Segmented Combination Cylindrical Concave Screen

As shown in Figure 6, the concave screen structure mainly consists of side arc plate, coarse arc steel, fine arc steel, horizontal round steel, and concave screen mounting plate. As an important part of the peanut picking device, the concave screen cooperates with the drum to carry out peanut picking operation, and the peanut seedling in high-speed movement is blocked by the relatively static concave screen grating, so that the pods and vines are separated. In the process of picking peanuts, the impact of peanut pods and the inner circle of the horizontal round steel is another main reason for the high rate of pod breakage.
Figure 7 analyzes the collision process of peanut pods with different types of round steel. In the case of ignoring the peanut pod’s own gravity, the collision reaction force of straight transverse circular steel and the collision reaction force of rightward type transverse circular steel that the peanut pod is subjected to are expressed as follows, respectively, as follows:
F 1 = T a ,
F 2 = T b cos α ,
where F1 is the collision counterforce of the peanut pods by the straight transverse round steel, N; F2 is the collision counterforce of the peanut pods by the right round steel, N; Ta is the collision impact of the peanut pods on the straight round steel, N; Tb is the collision impact of the peanut pods on the right round steel, N; and α is the angle of the right round steel and the direction of the axes of the picking concave screen, and 0° < α < 90°.
Under the same conditions, it can be approximated that the collision impact force Ta of the peanut pods on the straight transverse circular steel is equal to the collision impact force Tb of the peanut pods on the right-oriented type transverse circular steel. It is also obtained from Equations (11) and (12):
F 2 F 1 = T a ( cos α 1 ) ,
From Equation (13), F 2 F 1   <   0 , i.e., F 2   <   F 1 .
Under the same conditions, the collision reaction force of the right round steel picking concave screen on the peanut pods is smaller than that of the straight round steel picking concave screen on the peanut pods, i.e., the right round steel picking concave screen helps to reduce the collision reaction force on the peanut pods, thus reducing the pod breakage rate; there is a friction force f between peanut plants and the right round steel, and the friction force f plays a certain role of kneading the peanut pods to improve the picking rate and guarantee the picking quality.
In order to verify that the fruit picking performance of the right round steel picking concave screen is better than that of the straight round steel picking concave screen, and to further investigate the effect of the combination of the right round steel picking concave screen and the straight round steel picking concave screen on the performance of the picking, the concave screen along the axial direction of the picking drum is designed as a two-section combination, and different types of combinations of the concave screen are simulated and tested on the bench. The types and combinations of concave screens are shown in Figure 8.
The six forms of concave screen combinations designed in this study have equal distances between two adjacent transverse round steels in any section of the concave screen. Since the density of peanut plants in the front section of the picking device is relatively large, the density of peanut pods is also large, and the interaction between the concave screen and the peanut pods and between the peanut pods and the pods is strong; the front section of the concave screen can be provided with smaller collision and rubbing density, and the horizontal round steel row is relatively sparse, so as to be conducive to reducing the number of collisions of the pods with the concave screen and to reducing the rate of pod breakage, and to improve the quality of peanut picking. The density of peanut pods in the rear section of the picking device decreases, and the interaction between the concave screen and the peanut pods, and between the peanut pods, is weakened, so it is necessary for the concave screen to provide a larger collision and kneading frequency; and the horizontal round steel arrangement is relatively dense, in order to increase the number of collisions on the unpicked peanut pods and plants, and to increase the rate of the clean picking of the peanut pods. At the same time, it is helpful to control and reduce the fall of the short-stemmed seedling, the broken root, and other impurities, and reduce the operational burden in the subsequent cleaning process.

2.3. EDEM-Based Simulation Optimization of Key Parameters

EDEM is a widely recognized commercial software for particle system simulation, developed by Altair Engineering. Based on advanced granular dynamics algorithms, it can model the flow, collision, and mechanical interactions of bulk materials and is extensively applied in agricultural engineering, mining, and pharmaceuticals. In this study, EDEM 2022 was employed to simulate the dynamic contact behavior between peanut pods and harvesting components via discrete element modeling, supporting parameter optimization.

2.3.1. Model Parameter Setting

In view of the complexity and irregularity of the shape structure and morphology of the peanut plant, and in order to simplify the model, only the peanut pod is taken as the research object in this study. By restraining the movement of peanut pods and simulating and analyzing the collision between pods and picking components, and pods and concave screens in the process of picking, it is proposed to use the method of spherical combination to establish the geometric analysis model of peanut pods. Solidworks 2022 software was used to establish a three-dimensional model of peanut pods and was imported into EDEM software; the calculation was simplified under the premise of ensuring the shape characteristics of the pods, and the analytical model of peanut pods was established by superimposed filling of 22 spherical particles. Determined through the pre-test, the material mechanical properties and material property parameters of peanut pods and picking device after laying out and drying in the appropriate harvest period, in discrete component modeling, are shown in Table 1 and Table 2.

2.3.2. Simulation Optimization of Low-Damage Flat Pin Teeth

As shown in Figure 9, the simulation analysis and optimization of the designed low-damage flat pin teeth are carried out with the rounding radius of the flat pin teeth head as the influencing factor. As can be seen through Section 2.2.2, the range of the inverted rounding radius R of the flat pin teeth head is initially determined to be 4.5–8 mm, the inverted rounding radius is selected to be 5, 6, and 7 mm, respectively, and simulation tests are conducted to compare them with the conventional bend cylindrical bar teeth. In order to analyze the collision between the peanut pods and the picking component, the initial velocity of the peanut pods’ circular motion when entering the picking drum is defined as zero, and the peanut pods’ motion and mechanics are simulated and analyzed at the speeds of the picking drum of 400, 500, and 600 r/min, and under the conditions of the round steel combined picking concave screen.

2.3.3. Simulation Optimization of Concave Screen

Simulation analysis and optimization of two-section combined round steel type peanut picking concave screen are shown in Figure 10. The installation angle of the horizontal round steel on the picking concave screen is taken as the influencing factor for simulation analysis, the types of picking concave screen are selected as straight round steel and right-oriented horizontal round steel, and simulation tests are carried out for comparison. The simulation analysis of peanut pod movement and mechanics is carried out under the conditions that the picking component is flat pin teeth (6 mm rounding radius of the head of the pin teeth), and the drum rotational speeds are 400, 500, and 600 r/min. In order to analyze the collision between the peanut pods and the concave screen, the initial rotational speed of the peanut pods in the picking drum is defined to be the same as the drum rotational speed.

2.4. Bench Test

2.4.1. Bench Test Materials

The test was conducted in September 2023 at the peanut test base in Wujiawa Village, Yishui County, Shandong Province, and a homemade longitudinal-flow peanut picking test rig was used to bench test the designed low-damage combined peanut picking device, as shown in Figure 11. The peanut pod breakage rate and picking clean rate were taken as evaluation indexes to explore the optimal combination of different picking component installation directions and different types of picking concave plate screens. And the field comparison verification test was carried out. The experimental peanut varieties were selected from the widely planted variety Luhua 11 in the Huanghuaihai region, and the selected peanuts had good growth, were harvested by the 4HT-800 peanut digging strip paving harvester with high market retention, and were naturally dried in the field for 3 days; the integrated moisture content of the seedling fruits was 10% to 20%, and the characteristics of the peanut pods are shown in Table 3.

2.4.2. Bench Test Methods

The test was carried out in accordance with DG/T 077-2016 Peanut Harvesting Machinery, NY/T 993-2006 Peanut Picker Operational Quality and related peanut picking combine harvester operational performance evaluation standards. During the test, the peanut seedlings and fruits after drying were evenly placed on a 20 m conveyor belt in accordance with the natural laying state in the field, and the motors of the feeding auger, chain target lifter, and fruit picking roller were started in turn to reach the working speed and start the conveyor belt motor after the operation was stabilized. Peanut plants were transported into the picking device by the conveyor belt through the feeding auger and the chain target lifter. Peanut plants were fed into the longitudinal flow picking device for peanut picking and separation. The peanut pods that finished picking dropped from the gap of the concave screen, and were collected along the receiving plate to the collecting area. Peanut vines that completed the picking operation were thrown from the rear of the picking device.
After the test, the peanut pods in the collection area and the vines behind the picking device were collected and manually sampled. The sample mass was measured using a YP 20K-1 electronic balance with an accuracy of 0.1 g. The pod breakage rate and the unpicked pod rate were then calculated. Each test group was repeated ten times, and the average values were computed. The calculation methods for the relevant indicators are as follows:
S P = W P W Z × 100 % ,
where SP is the pod breakage rate, %; WP is the mass of broken or cracked pods in the measurement area, g; WZ is the total mass of pods in the measurement area, g.
S W = W W W Z × 100 % ,
where SW is the percentage of unpicked net, %; WW is the total mass of unpicked net pods in the measurement area, g; and WZ is the total mass of pods in the measurement area, g.

2.5. Field Experiment

Field experiment was conducted on the basis of bench test. Field comparison experiments were conducted between the designed low-damage combined full-feed peanut picking device and the conventional longitudinal flow picking device to verify the superiority of the low-damage combined full-feed peanut picking device under the complex operation situation in the field.

2.5.1. Experimental Materials

The field experiment was conducted in September 2023 at the test base of full mechanization of peanut production in Yishui County, Shandong Province. The experimental peanut was Huayu 30; some of its characteristics are shown in Table 4.

2.5.2. Experimental Method

The experiment was conducted in accordance with the DG/T 077—2016 standard, Peanut Harvesting Machinery. During normal operation of the test prototype, a 20 m section was selected as the test area. After the harvesting process, manual sampling was performed on the collected peanut pods and extracted materials to calculate the pod breakage rate and the unpicked pod rate. Each test was repeated three times, and the average value was used for analysis.

3. Results and Analysis

3.1. Simulation Results and Analysis

3.1.1. Simulation Results and Analysis of Low-Damage Flat Pin Teeth

An analysis was conducted on the collision between different picking components and peanut pods. The collision force T, collision cross-sectional area S, and impact intensity P were calculated, and the results are shown in Table 5.
As shown in Table 5, under a constant drum speed, the flat pin teeth generate lower collision force and impact intensity on peanut pods compared to the conventional bent cylindrical bar teeth. This indicates that flat pin teeth are more effective in reducing collision force and impact intensity, thereby decreasing the pod breakage rate. As the fillet radius of the flat-headed tooth tip increases, both the collision force and impact intensity on the peanut pods decrease. However, an excessively large fillet radius results in overly low impact intensity, which leads to a reduced pod-picking rate. At all three drum speeds, when the fillet radius of the tooth tip increases from 5 mm to 6 mm, the impact intensity decreases significantly; however, the reduction becomes insignificant when the radius increases from 6 mm to 7 mm. To maintain an adequate pod-picking rate while minimizing damage, the fillet radius of the flat pin tooth tip should not be excessively large. Based on a comprehensive analysis, the optimal fillet radius is determined to be 6 mm.

3.1.2. Simulation Results and Analysis of the Concave Screen

An analysis was conducted on the collision contact force between different picking concave screens and peanut pods. The collision force T was calculated, and the results are presented in Table 6.
As shown in Table 6, under a constant drum speed, the collision force exerted by the right round steel concave screen on peanut pods is consistently lower than that of the straight round steel picking concave screen.
Based on preliminary experiments and literature review, the destructive force required to fracture peanut pods after 3–5 days of field drying ranges from 56.82 to 197.09 N [29], while the breaking force required for the separation of peanut pods from the vine ranges from 7.06 to 25.84 N [30,31]. At high drum speeds, the collision force exerted by the straight round steel concave screen on peanut pods exceeds the lower limit of the destructive force for pod breakage, while the collision force from the right round steel concave screen remains below the pod’s destructive force range. At low drum speeds, the collision force from the straight round steel concave screen is comparable to the destructive force of the peanut pods, while the collision force from the right round steel concave screen remains below the destructive range. Furthermore, under the tested drum speeds, the collision forces of both types of concave screens exceed the upper limit of the breaking force required for separating peanut pods from the vine (25.84 N), indicating that both types of concave screens are capable of meeting the peanut picking requirements.
Simulation results indicate that, from the perspective of peanut pod breakage rate, the right round steel concave screen exerts relatively lower collision forces on the pods while maintaining effective peanut picking performance. This makes it advantageous for reducing the breakage rate of peanut pods.

3.2. Bench Test Results and Analysis

3.2.1. Effects of Different Picking Components and Installation Orientations on Peanut Picking Performance

Peanut picking tests were conducted under the conditions of a feeding rate controlled at 3 kg/s by adjusting the conveyor belt speed, using a right round steel concave screen and a drum speed of 500 r/min. The effects of different installation orientations of the picking components were evaluated. The test results are presented in Table 7.
As shown in Table 7, the pod breakage rate using flat pin teeth picking components is significantly lower than that of the conventional bent cylindrical bar teeth. Furthermore, the breakage rates caused by the flat pin teeth are similar across different installation orientations. However, when the flat pin teeth are installed with an axial backward bend, the unpicked pod rate reaches 1.21%, which exceeds the design standard requirement of 1.2%. Therefore, from the perspective of the pod breakage rate, the designed flat pin teeth are clearly superior to the conventional bent cylindrical bar teeth. The breakage rate with the axial forward bend installation of the flat pin teeth is slightly higher than that with the axial backward bend installation, but no significant difference is observed between the two. In terms of the unpicked pod rate, the axial forward bend installation of the flat pin teeth results in the lowest rate, followed by the conventional bent cylindrical bar teeth, while the axial backward bend installation of the flat pin teeth has the highest unpicked pod rate. However, no significant differences are observed among the three installation methods.
Considering both the breakage rate and unpicked pod rate test results, the optimal installation orientation for the picking components is the flat pin teeth installed with parallel axial forward bending.

3.2.2. Two-Section Combined Round Steel Concave Screen Picking Test

Under the conditions of a feeding rate of 3 kg/s, picking components with flat pin teeth installed with an axial forward bend, and a drum speed of 500 r/min, a two-section combined round steel concave screen picking test was conducted. To select the optimal picking concave screen combination, peanut pods under the picking concave screen were collected, sampled, calculated, compared, and analyzed. The vine stalks behind the discharge port were collected, manually harvested, sampled, and calculated. Some of the experimental scenes are shown in Figure 12.
The test results under different types and combinations of concave screens are shown in Table 8.
As shown in Table 8, there is a significant difference in the peanut pod breakage rate between the straight round steel type and the right round steel type. However, no significant difference exists between the right round steel type and the right round steel + straight round steel type. The breakage rate of peanut pods using the right round steel and the right round steel + straight round steel is lower than that of the conventional straight round steel screen, indicating that the designed right round steel type screen effectively reduces the breakage rate of peanut pods. Among these, the right round steel + straight round steel with uniform density has the lowest breakage rate, which is 43% lower than the conventional straight round steel with uniform density. The right horizontal round steel with uniform density results in a 41% reduction in the breakage rate compared to the straight round steel with uniform density. The right round steel + straight round steel with front sparse and rear dense type reduces the breakage rate by 33% compared to the straight round steel with front sparse and rear dense type. The right round steel with front sparse and rear dense type reduces the breakage rate by 28% compared to the straight round steel with front sparse and rear dense type.
Regarding the unpicked pod rate, there is no significant difference among the conventional straight round steel with uniform density type, right round steel + straight round steel with uniform density, right round steel with uniform density, and the right round steel with front sparse and rear dense type. However, significant differences are observed between the other types of screens. Among them, the straight round steel with front sparse and rear dense type has the lowest unpicked pod rate, which is 31% lower than that of the conventional straight round steel with uniform density. The right round steel + straight round steel with front sparse and rear dense type has the second lowest unpicked pod rate, which is 24% lower than the conventional straight round steel with uniform density, and all meet the design requirements.
The installation angle of the horizontal round steel concave screen has a significant impact on picking performance. During the peanut picking process with the conventional straight round steel concave screen, the impact between peanut pods and the transverse round steel on the inner ring of the screen can be approximated as occurring in the vertical direction. This results in a relatively strong collision force on the pods, leading to a higher breakage rate. In contrast, with the right round steel concave screen, the collision angle between the peanut pods and the transverse round steel is less than 90°, resulting in a reduced impact force and effectively lowering the breakage rate.
The spacing density of the horizontal round steel concave screen also has a significant effect on picking performance. In the conventional uniform density concave screen, the front section of the picking device operates under conditions where the peanut plants and pods are relatively dense, resulting in strong interactions between the concave screen and the peanut pods, as well as among the pods themselves. Increasing the spacing between the horizontal bars in this section reduces the number of impacts per unit time, thereby effectively lowering the breakage rate of the peanut pods. However, as the pods are progressively removed, the pod density in the rear section of the picking device decreases significantly, weakening the interactions. In this case, a higher impact frequency is required to improve threshing effectiveness. Therefore, a novel “sparse-front and dense-rear” concave screen was designed in this study, which increases the bar density in the rear section to enhance the picking completeness. Experimental results validated the correctness of the theoretical analysis and simulation conducted during the design process.
Considering both the peanut pod breakage rate and the unpicked pod rate, the optimal concave screen combination for the picking device was determined to be the “right round steel + straight round steel with front sparse and rear dense type”.

3.3. Field Experiment Results and Analysis

As shown in Figure 13, the field experiment was conducted using the previously described methods to evaluate the performance of the designed low-damage combined full-feeding peanut picking device. The experiments were carried out under operating conditions of a drum speed of 500 r/min and a feeding rate of approximately 3 kg/s. The picking device, equipped with axially forward curved flat pin teeth and right round steel + straight round steel with a front sparse and rear dense type, was tested for verification and comparison in the field. The experiment results are presented in Table 9.
The field experiment results showed that, for the Huayu 30 peanut variety, the designed low-damage peanut picking device reduced the pod breakage rate by 39% and the unpicked pod rate by 46% compared to the conventional picking device.
Field experiments and comparative analysis demonstrated that the designed low-damage combined peanut picking device significantly outperformed the conventional device in terms of both pod breakage rate and unpicked pod rate, thereby validating the rationality of the design.

4. Discussion

Compared with existing studies, our device achieves a better balance between the unpicked pod rate and the pod breakage rate. Field test results show that the unpicked pod rate using the proposed low-damage combined full-feeding peanut picking device was only 0.62%, which demonstrates a clear advantage over the results reported by Chen et al., whose conventional threshing device achieved a pod detachment rate of 98.96%—a 0.42% decrease compared to ours [21]. Furthermore, compared with the peanut root-disk full-feeding longitudinal axial flow picking device developed by Liu et al., whose unpicked pod rate and pod breakage rate were reduced to 0.31% and 0.41%, respectively [26], our study still shows notable advantages in achieving a more balanced and stable harvesting performance.
Although this study systematically analyzed the peanut picking process through discrete element simulation and experimental validation, certain limitations still exist. First, to simplify computation and improve efficiency, only peanut pods were considered in the simulation modeling, with their motion constrained to analyzing impact forces, while the effects of stems and branches were not included. Although this method effectively reflects the stress characteristics of the pods, it does not fully replicate the actual picking environment. Future studies will aim to establish a complete model incorporating the entire plant to more comprehensively investigate how the structural characteristics of the whole plant influence the picking process. Second, the experiments in this study were conducted under a specific pod moisture content range (10–20%) and focused on a locally predominant peanut variety. While this range was determined based on field surveys during the optimal harvesting window, the performance of the picking device under different varieties and moisture conditions requires further validation. Therefore, future research will focus on evaluating the adaptability of the proposed picking device across various peanut cultivars and moisture contents. This will help optimize its versatility and operational stability, providing both theoretical foundation and technical support for broader applications.

5. Conclusions

(1) To address the issues of high pod damage rates and low picking rates in the axial flow peanut harvesting device of the peanut picking combine, a new peanut picking device was designed. This device integrates axially forward curved flat pin teeth with the right round steel + straight round steel with front sparse and rear dense type. This combination effectively meets the low-damage peanut picking requirements after excavation, laying out, and sun-drying of the peanuts.
(2) Based on EDEM software, simulation experiments and analyses were conducted on the performance of the picking device under different picking elements and concave screen types. From the perspective of the impact force on the peanut pods, it was found that the designed flat pin tooth outperforms the traditional bent cylindrical bar teeth, and the right round steel picking concave screen is better than the straight round steel type.
(3) Bench and field validation tests were conducted to investigate the effects of different picking element configurations, installation angles, and concave screen combinations on the performance of the peanut picking device. The bench test results indicated that optimal performance was achieved when the picking element consisted of flat pin teeth installed in a forward axial bending orientation, with a tooth tip fillet radius of 6 mm, and the concave screen was configured with a right round steel + straight round steel with front sparse and rear dense type. Under this optimal configuration, field validation and comparative experiments were carried out. The results showed that, compared with the conventional peanut picking device, the pod breakage rate was reduced from 1.92% to 1.17%, and the unpicked pod rate decreased from 1.14% to 0.62%, both of which were superior to the requirements of relevant industry standards. These results meet the requirements for low-damage peanut harvesting operations.

Author Contributions

Conceptualization, J.Z., N.X. and S.S.; methodology, J.Z., N.Z. and Y.W.; software, J.Z. and N.Z.; validation, N.Z., X.W. and N.X.; formal analysis, N.Z. and Y.W.; investigation, J.Z.; resources, S.S. and X.W.; data curation, J.Z. and N.X.; writing—original draft preparation, J.Z.; writing—review and editing, N.Z.; visualization, N.X.; supervision, S.S.; project administration, N.Z.; funding acquisition, S.S. and X.W. All authors have read and agreed to the published version of the manuscript.

Funding

This work was supported by the National Key R&D Program of China (Program No. 2022YFD2300100); National Natural Science Foundation of China (Grant no. 52405278); Shandong Province Key R&D Program (Program No. 2021CXGC010813).

Institutional Review Board Statement

Not applicable.

Data Availability Statement

The original contributions presented in this study are included in the article. Further inquiries can be directed to the corresponding authors.

Conflicts of Interest

The authors declare no conflicts of interest.

References

  1. Wang, S.; Hu, Z.; Yao, L.; Peng, B.; Wang, B.; Wang, Y. Simulation and parameter optimisation of pickup device for full-feed peanut combine harvester. Comput. Electron. Agric. 2022, 192, 106602. [Google Scholar] [CrossRef]
  2. Pan, L.; Yang, H.; Yu, Z.; Shen, H.; Gu, M.; Luo, W.; Wu, F.; Gu, F.; Ren, G.; Hu, Z. Development and Test of a Self-Propelled Peanut Combine Harvester for Hilly and Mountainous Regions. Agriculture 2025, 15, 457. [Google Scholar] [CrossRef]
  3. Shang, S.Q.; Li, G.Y.; Yang, R.B.; Sun, T.Z.; Wang, Y.Y.; Lian, Z.G. Development of 4HQL-2 type whole-feed peanut combine. Trans. Chin. Soc. Agric. Eng. 2009, 25, 125–130. [Google Scholar]
  4. Wang, Q.; Yu, Z.; Zhang, Y.; Li, J.; Peng, B.; Wang, B.; Hu, Z. Experimental Study of a 4HLB-4 Half-Feed Four-Row Peanut Combine Harvester. Agronomy 2022, 12, 3094. [Google Scholar] [CrossRef]
  5. Wang, B.; Gu, F.; Cao, M.; Xie, H.; Wu, F.; Peng, B.; Hu, Z. Analysis and Evaluation of the Influence of Different Drum Forms of Peanut Harvester on Pod-Pickup Quality. Agriculture 2022, 12, 769. [Google Scholar] [CrossRef]
  6. Wang, B.K.; Zhang, P.; Cao, M.Z.; Gu, F.W.; Wu, F.; Hu, Z.C. Design and Experiment of Pneumatic Conveying Device for Seedlings of Peanut Harvester. Trans. Chin. Soc. Agric. Mach. 2022, 53, 126–137. [Google Scholar]
  7. Wang, S.Y.; Hu, Z.C.; Wu, F.; Yu, Z.Y.; Cao, M.Z.; Gao, X.M. Modeling and experiment of feeding rate for full-feed pea-nut pickup harvester. Trans. Chin. Soc. Agric. Eng. 2019, 35, 29–36. [Google Scholar]
  8. Chen, M.; Zhai, X.; Zhang, H.; Yang, R.; Wang, D.; Shang, S. Study on control strategy of the vine clamping conveying system in the peanut combine harvester. Comput. Electron. Agric. 2020, 178, 105744. [Google Scholar] [CrossRef]
  9. Wang, D.W.; Shang, S.Q.; Han, K. Design and test of 4HJL-2 harvester for peanut picking-up and fruit-picking. Trans. Chin. Soc. Agric. Eng. 2013, 29, 27–36. [Google Scholar]
  10. Yu, Z.Y.; Hu, Z.C.; Cao, M.Z.; Wang, S.Y.; Zhang, P.; Peng, B.L. Design of cleaning device of tangential flow and whole-feed peanut combine harvester. Trans. Chin. Soc. Agric. Eng. 2019, 35, 29–37. [Google Scholar]
  11. Guo, W.H.; Guo, H.; Yu, X.D.; Wang, M.C.; Xing, S.K.; Peng, B. Design and experimental of peanut digger based on two-stage harvesting process. J. Chin. Agric. Mech. 2020, 41, 34–39. [Google Scholar]
  12. Xu, T.; Shen, Y.Z.; Gao, L.X.; Zhang, X.D.; Lu, Z.Y.; Liu, Z.X. Spring-finger Peanut Pickup Mechanism Based on Two-stage Harvest. Trans. Chin. Soc. Agric. Mach. 2016, 47, 90–97, 111. [Google Scholar]
  13. Zhang, J.; Zhao, Z.; Gao, Z.; Tian, Y.; Wang, D.; Xu, N. Peanut Pickup Combine Harvester Seedling Vines Crushing Mechanism Performance Enhancement and Pilot Studies. Agriculture 2024, 14, 1635. [Google Scholar] [CrossRef]
  14. Xu, T.; Gao, L.; Liu, Z. Spring-Finger Motion Law Analysis and Cam Slide Optimal Design of Spring-Finger Cylinder Peanut Pickup Mechanism. Agriculture 2024, 14, 1459. [Google Scholar] [CrossRef]
  15. Ling, J.; Shen, H.; Gu, M.; Hu, Z.; Zhao, S.; Wu, F.; Xu, H.; Gu, F.; Zhang, P. The Design and Optimization of a Peanut-Picking System for a Fresh-Peanut-Picking Crawler Combine Harvester. Agriculture 2024, 14, 1332. [Google Scholar] [CrossRef]
  16. Wang, S.Y.; Hu, Z.C.; Xu, H.B.; Cao, M.Z.; Yu, Z.Y.; Peng, B.L. Design and test of pickup and conveyor device for full-feeding peanut pickup harvester. Trans. Chin. Soc. Agric. Eng. 2019, 35, 20–28. [Google Scholar]
  17. Gao, L.X.; Chen, Z.Y.; Charles, C.; Butts, C.L. Development course of peanut harvest mechanization technology of the United States and enlightenment to China. Trans. Chin. Soc. Agric. Eng. 2017, 33, 1–9. [Google Scholar]
  18. Shi, L.; Wang, B.; Hu, Z.; Yang, H. Mechanism and Experiment of Full-Feeding Tangential-Flow Picking for Peanut Harvesting. Agriculture 2022, 12, 1448. [Google Scholar] [CrossRef]
  19. Liu, L.; Wang, Q.; Liu, H.Z. Application and Its Present on Method for Drying Storage of Peanut. Agric. Prod. Process. 2011, 8, 49–52. [Google Scholar]
  20. Wu, L.X. Researches on Risk Prediction Model of Aflatoxin Contamination in China. Ph.D. Thesis, Chinese Academy of Agricultural Sciences, Wuhan, China, 2019. [Google Scholar]
  21. Chen, Z.Y.; Guan, M.; Gao, L.X.; Chen, L.J.; Ma, F.; Dong, H.S. Design and Test on Axial Flow Peanut Picking Device with Screw Bending-tooth. Trans. Chin. Soc. Agric. Mach. 2016, 47, 106–113. [Google Scholar]
  22. Wang, M.; Yang, R.B.; Shang, S.Q.; Wang, F.J.; Wang, Z.Z. Design Analysis and Test of Key Equipment for Fully Fed Peanut Picking Machine. J. Agric. Mech. Res. 2021, 43, 141–145. [Google Scholar]
  23. Li, S.X.; Shang, S.Q.; Yu, Y.; Wang, D.W.; Yang, R.B.; Hou, Q.S. Researching Design and Experiments of Spring Tined Type Picking Peanut Mechanism. J. Agric. Mech. Res. 2015, 37, 136–139. [Google Scholar]
  24. Wang, B.K.; Hu, Z.C.; Cao, M.Z.; Zhang, P.; Yu, Z.Y.; Zhang, C. Design and Test of Axial-flow Peanut Picking and Harvesting Machine. Trans. Chin. Soc. Agric. Mach. 2021, 52, 109–118. [Google Scholar]
  25. Xu, N.; Shang, S.Q.; Wang, D.W.; He, X.N.; Gao, Z.; Liu, J.Q.; Zhang, Y.D.; Guo, P. Design and Research of Spike Tooth Type Peanut Picking Device with Longitudinal Axial Flow. J. Agric. Mech. Res. 2020, 42, 197–201. [Google Scholar]
  26. Liu, X.; Lü, Q.; Yang, L.; Li, G. Design and Test of Peanut Root-Disk Full-Feeding Longitudinal Axial Flow Pod-Picking Device. Agronomy 2023, 13, 1103. [Google Scholar] [CrossRef]
  27. Chen, Y.Q.; Hu, Z.C.; Wang, H.; Peng, B.L. Restrictive Factors and Development Countermeasure for Peanut Mechanized Harvesting in China. Chin. Agric. Mech. 2012, 4, 14–17, 11. [Google Scholar]
  28. Shen, H.Y.; Luo, W.W.; Wu, F.; Gu, F.W.; Yang, H.G.; Hu, Z.C. Research Progress on Mechanized Harvesting Equipment and Technology for Peanuts. Trans. Chin. Soc. Agric. Mach. 2024, 55, 21–38. [Google Scholar]
  29. Guan, M. Research on Full-Feeding Peanut Picking Test Device and Key Components of Peanut Picker. Ph.D. Thesis, Shenyang Agricultural University, Shenyang, China, 2016. [Google Scholar]
  30. Guan, M.; Shen, Y.Z.; Gao, L.X.; Zhao, B.Q.; Liu, W.W. Mechanical properties of peanut peg after digging and drying. Trans. Chin. Soc. Agric. Eng. 2014, 30, 87–93. [Google Scholar]
  31. Zhang, S.Z.; Li, G.W.; Wang, F.F.; Hu, X.H.; Miao, H.R.; Zhong, W.; Chen, J. Evaluation of Peanut Peg Tensile Force and Screening for Breeding Lines with Low Percentage of Shed Pods. J. Peanut Sci. 2025, 54, 184–189. [Google Scholar]
Figure 1. Structure and working principle diagram of picking device. 1. Top cover; 2. Flat pin teeth; 3. Width plate; 4. Picking drum; 5. Concave screen; 6. Feed inlet.
Figure 1. Structure and working principle diagram of picking device. 1. Top cover; 2. Flat pin teeth; 3. Width plate; 4. Picking drum; 5. Concave screen; 6. Feed inlet.
Agriculture 15 01394 g001
Figure 2. Structure diagram of full-feeding peanut picking drum. 1. Screw feed head; 2. Drum body; 3. Plate; 4. Picking component mounting base; 5. Picking component.
Figure 2. Structure diagram of full-feeding peanut picking drum. 1. Screw feed head; 2. Drum body; 3. Plate; 4. Picking component mounting base; 5. Picking component.
Agriculture 15 01394 g002
Figure 3. Schematics of collision between peanut pod and bent cylindrical bar teeth. (a) Main view; (b) Left view; (c) Crash schematic. 1. Bent cylindrical bar teeth; 2. Peanut pod.
Figure 3. Schematics of collision between peanut pod and bent cylindrical bar teeth. (a) Main view; (b) Left view; (c) Crash schematic. 1. Bent cylindrical bar teeth; 2. Peanut pod.
Agriculture 15 01394 g003
Figure 4. Cross-sectional area map of collision between peanut pod and bent cylindrical bar teeth.
Figure 4. Cross-sectional area map of collision between peanut pod and bent cylindrical bar teeth.
Agriculture 15 01394 g004
Figure 5. The schematic of collision between flat pin teeth and peanut pods. (a) Flat pin teeth; (b) Collision schematic. 1. Flat pin teeth; 2. Peanut pod.
Figure 5. The schematic of collision between flat pin teeth and peanut pods. (a) Flat pin teeth; (b) Collision schematic. 1. Flat pin teeth; 2. Peanut pod.
Agriculture 15 01394 g005
Figure 6. Structure diagram of straight round steel concave screen. 1. Side arc plate; 2. Coarse arc steel; 3. Fine arc steel; 4. Horizontal round steel; 5. Concave screen mounting plate.
Figure 6. Structure diagram of straight round steel concave screen. 1. Side arc plate; 2. Coarse arc steel; 3. Fine arc steel; 4. Horizontal round steel; 5. Concave screen mounting plate.
Agriculture 15 01394 g006
Figure 7. Collision analysis of peanut pods with different types of round steel. (a) Peanut pod collision with straight round steel; (b) Peanut pod collision with right round steel.
Figure 7. Collision analysis of peanut pods with different types of round steel. (a) Peanut pod collision with straight round steel; (b) Peanut pod collision with right round steel.
Agriculture 15 01394 g007
Figure 8. The schematic diagram of different types of peanut picking concave screen and combination form. (a) Conventional straight and horizontal round steel density consistent type; (b) Right round steel + straight round steel density consistent type; (c) Right round steel density consistent type; (d) Straight and horizontal round steel front sparse and back dense type; (e) Right round steel + straight round steel front sparse and back dense type; (f) Right round steel front sparse and back dense type.
Figure 8. The schematic diagram of different types of peanut picking concave screen and combination form. (a) Conventional straight and horizontal round steel density consistent type; (b) Right round steel + straight round steel density consistent type; (c) Right round steel density consistent type; (d) Straight and horizontal round steel front sparse and back dense type; (e) Right round steel + straight round steel front sparse and back dense type; (f) Right round steel front sparse and back dense type.
Agriculture 15 01394 g008
Figure 9. Simulation analysis of different picking components. (a) Flat pin teeth with 5 mm chamfer radius; (b) Flat pin teeth with 6 mm chamfer radius; (c) Flat pin teeth with 7 mm chamfer radius; (d) Conventional bend cylindrical bar teeth.
Figure 9. Simulation analysis of different picking components. (a) Flat pin teeth with 5 mm chamfer radius; (b) Flat pin teeth with 6 mm chamfer radius; (c) Flat pin teeth with 7 mm chamfer radius; (d) Conventional bend cylindrical bar teeth.
Agriculture 15 01394 g009
Figure 10. Simulation results of different picking concave screens. (a) Straight round steel type; (b) Right round steel type.
Figure 10. Simulation results of different picking concave screens. (a) Straight round steel type; (b) Right round steel type.
Agriculture 15 01394 g010
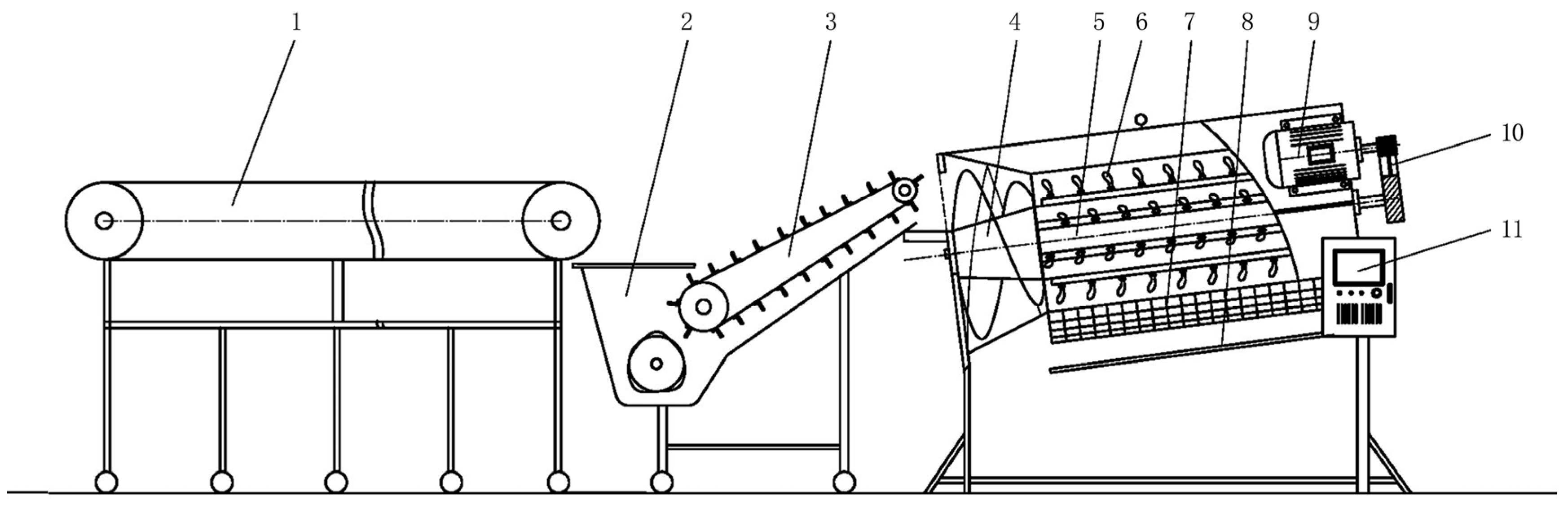
Figure 11. Structure diagram of axial flow peanut picking test bench. 1. Material conveyor belt; 2. Feeding auger; 3. Chain target lifter; 4. Screw feeder; 5. Picking roller; 6. Picking component; 7. Picking concave screen; 8. Material collection plate; 9. Spindle motor; 10. V-belt; 11. Electrical control box.
Figure 11. Structure diagram of axial flow peanut picking test bench. 1. Material conveyor belt; 2. Feeding auger; 3. Chain target lifter; 4. Screw feeder; 5. Picking roller; 6. Picking component; 7. Picking concave screen; 8. Material collection plate; 9. Spindle motor; 10. V-belt; 11. Electrical control box.
Agriculture 15 01394 g011
Figure 12. Bench test. (a) Test bench site; (b) Pod sampling and classification; (c) Unpicked peanut pod statistics.
Figure 12. Bench test. (a) Test bench site; (b) Pod sampling and classification; (c) Unpicked peanut pod statistics.
Agriculture 15 01394 g012
Figure 13. Field experiment. (a) Operation of the peanut picking combine harvester; (b) Unpicked peanut pods; (c) Sampling and weighing of peanut pods; (d) Weighing of broken peanut pods.
Figure 13. Field experiment. (a) Operation of the peanut picking combine harvester; (b) Unpicked peanut pods; (c) Sampling and weighing of peanut pods; (d) Weighing of broken peanut pods.
Agriculture 15 01394 g013
Table 1. Parameters of model material.
Table 1. Parameters of model material.
MaterialPoisson’s RatioShear Modulus/MPaDensity/(kg·m−3)
Pod0.327257
Steel0.2782407830
Table 2. Contact parameters of model material.
Table 2. Contact parameters of model material.
Contact FormCollision Recovery FactorStatic Friction FactorKinetic Friction Factor
Pod-Pod0.500.300.20
Pod-Steel0.370.400.10
Table 3. Characteristic parameters of peanut pods.
Table 3. Characteristic parameters of peanut pods.
ParametersValue
Water content ± SD/%13.94 ± 1.20
Length ± SD/mm33.42 ± 3.12
Width ± SD/mm16.73 ± 2.31
Thicknesses ± SD/mm15.61 ± 2.41
Note: SD is the standard deviation.
Table 4. Peanut plant and peanut pod-related parameters.
Table 4. Peanut plant and peanut pod-related parameters.
ParametersValue
Drying time/d3
Combined plant water content ± SD/%15.09 ± 1.54
Water content of peanut pods ± SD/%14.10 ± 1.23
Ridge spacing/mm760–800
Plant spacing/mm170–230
Pod length ± SD/mm34.54 ± 2.34
Pod width ± SD/mm18.94 ± 1.73
Pod thickness ± SD/mm20.22 ± 1.80
Note: SD is the standard deviation.
Table 5. Simulation results of different picking components.
Table 5. Simulation results of different picking components.
Drum Speed/
(r·min−1)
Flat Pin Teeth (5 mm)Flat Pin Teeth (6 mm)Flat Pin Teeth (7 mm)Conventional
Cylindrical Bar Teeth
T1/
N
S1/
mm2
P1/
MPa
T2/
N
S2/
mm2
P2/
MPa
T3/
N
S3/
mm2
P3/
MPa
T4/
N
S4/
mm2
P4/
MPa
40072.9430.252.4163.0737.031.7052.8343.811.21126.7415.708.07
500129.3330.254.2894.2337.032.5586.3943.811.97146.8315.709.35
600185.3430.256.13146.0737.033.95131.9243.813.01210.2515.7013.39
Table 6. Simulation results of different picking concave screens’ collision force.
Table 6. Simulation results of different picking concave screens’ collision force.
Drum Speed/
(r·min−1)
Collision Force of Different Types of Picking Concave Screens/N
Straight Round Steel TypeRight Round Steel Type
40054.4545.67
50058.5248.90
60064.0853.71
Table 7. Test results of different installation orientations of picking components.
Table 7. Test results of different installation orientations of picking components.
Types and Installation Orientations of Picking ComponentsPod Breakage Rate/%Unpicked Pod Rate/%
Axially Forward Curved Flat Pin Teeth1.841.08
Axially Backward Curved Flat Pin Teeth1.671.21
Conventional Bent Cylindrical Bar Teeth with Axial Forward Bend2.791.14
Table 8. Test results under different types and combinations of concave screens.
Table 8. Test results under different types and combinations of concave screens.
Concave Screen TypesPod Breakage Rate/%Unpicked Pod Rate/%
Conventional Straight Round Steel,
Uniform Density Type
3.141.06
Right Round Steel + Straight Round Steel, Uniform Density Type1.790.98
Right Round Steel, Uniform Density Type1.841.08
Straight Round Steel, Front Sparse and Rear Dense Type2.830.73
Right Round Steel + Straight Round Steel, Front Sparse and Rear Dense Type1.900.81
Right Round Steel, Front Sparse and Rear Dense Type2.051.04
Table 9. Field validation experiment results.
Table 9. Field validation experiment results.
IndicatorsConventional Peanut Picking DeviceLow-Damage Combined Peanut Picking Device
Pod Breakage Rate/%1.921.17
Unpicked Pod Rate/%1.140.62
Disclaimer/Publisher’s Note: The statements, opinions and data contained in all publications are solely those of the individual author(s) and contributor(s) and not of MDPI and/or the editor(s). MDPI and/or the editor(s) disclaim responsibility for any injury to people or property resulting from any ideas, methods, instructions or products referred to in the content.

Share and Cite

MDPI and ACS Style

Zheng, J.; Shang, S.; Zhang, N.; Wu, Y.; Wang, X.; Xu, N. Design and Experimentation of a Low-Damage Combined Full-Feeding Peanut Picking Device. Agriculture 2025, 15, 1394. https://doi.org/10.3390/agriculture15131394

AMA Style

Zheng J, Shang S, Zhang N, Wu Y, Wang X, Xu N. Design and Experimentation of a Low-Damage Combined Full-Feeding Peanut Picking Device. Agriculture. 2025; 15(13):1394. https://doi.org/10.3390/agriculture15131394

Chicago/Turabian Style

Zheng, Jinming, Shuqi Shang, Ning Zhang, Yao Wu, Xiaochan Wang, and Nan Xu. 2025. "Design and Experimentation of a Low-Damage Combined Full-Feeding Peanut Picking Device" Agriculture 15, no. 13: 1394. https://doi.org/10.3390/agriculture15131394

APA Style

Zheng, J., Shang, S., Zhang, N., Wu, Y., Wang, X., & Xu, N. (2025). Design and Experimentation of a Low-Damage Combined Full-Feeding Peanut Picking Device. Agriculture, 15(13), 1394. https://doi.org/10.3390/agriculture15131394

Note that from the first issue of 2016, this journal uses article numbers instead of page numbers. See further details here.

Article Metrics

Back to TopTop