Detection and Imaging of Underground Objects for Distinguishing Explosives by Using a Fluxgate Sensor Array
Abstract
1. Introduction
- (i)
- The BE is exposed to a high level, constant magnetic field, and measurements are made with magnetic field measurement sensors over it. MA is detected, and the BE is interpreted by means of the data obtained [29,30,31,32]. Since an external fixed magnetic field is applied to the BE, the measurement made in this way is named an active measurement.
- (ii)
- The natural magnetic field of the earth is used to detect BE. Magnetic field lines of the earth can be considered linear for short distances. When an object is placed underground, deviations occur in linear magnetic field lines. In other words, different anomalies occur in the region where the object is buried compared to the region where the object is not buried. This measurement is a passive technique, and BEs and IEDs can be detected by evaluating these anomalies [33,34,35,36,37].
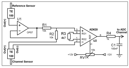
2. System Design
- (i)
- Changing the magnetic field strength and field line angles around a fixed positioned TE100.
- (ii)
- Moving the TE100 at different angles according to constant magnetic field lines.
3. Pattern Recognition of Magnetic Field Data
3.1. Feature Extraction
- *
- Maximum (Max): The element which has the greatest value in the dataset.
- *
- Minimum (Min): The element which has the smallest value in the dataset.
- *
- Standard deviation (): Criterion that is used to quantify the amount of dispersion of a dataset. It is calculated by Equation (1).In the Equation (1), xi is element “i” in the dataset, is the mean value of the dataset, and n is number of elemets in dataset.
- *
- The Kurtosis Coefficient (KC): The sharpness of the peak of a frequency-distribution curve. It is calculated by Equation (2).
- *
- The arithmetic mean (AM): The arithmetic mean of the numeric values in the dataset.
3.2. Classification Algorithm
4. Experiments
5. Results and Discussion
6. Conclusions
- *
- Yılmaz et al. performed passive measurements in their studies, used the MA method, and classified five different types of mines at 85.8% [37]. In our novel study, 10 different types of explosives were classified with 95% performance.
- *
- In the study of Nazlıbilek et al., active measurements were made the MA method was used, and the explosives were detected and visualized [29]. In our study, passive measurements were made, explosives were detected, and real time imaging was performed.
- *
- Ege et al. used a fluxgate sensor network in their study and reported that buried bodies having ferromagnetic content could be detected by passive measurements [33]. However, the position of the sensor network affected the results negatively. In our study, independent measurements without being effected by position were made with fluxgate sensors.
- *
Author Contributions
Funding
Acknowledgments
Conflicts of Interest
References
- Ege, Y.; Kakilli, A.; Kılıç, O.; Calik, H.; Citak, H.; Nazlibilek, S.; Kalender, O. Performance Analysis of Techniques Used for Determining Land Mines. Int. J. Geosci. 2014, 5, 1163–1189. [Google Scholar] [CrossRef][Green Version]
- Hussein, E.; Waller, E. Landmine detection: The problem and the challenge. Appl. Radiat. Isot. 2000, 53, 557–563. [Google Scholar] [CrossRef]
- Fatah, A.; Arcilesi, R.; Clindock, J. Guide for the Selection of Explosives Detection and Blast Mitigation Equipment for Emergency First Responders; Preparedness Directorate Office of Grants and Training: Washington, WA, USA, 2008. [Google Scholar]
- Baysoy, D. Numerical Evaluation of a Mine Detection System Based on Nuclear Techniques. Ph.D. Thesis, Yıldız Technical University, İstanbul, Turkey, 2010. [Google Scholar]
- Gonzalez-Huici, M.A.; Giovanneschi, F. A combined strategy for landmine detection and identification using synthetic GPR responses. J. Appl. Geophys. 2013, 99, 154–165. [Google Scholar] [CrossRef]
- Hoarau, Q.; Ginolhac, G.; Atto, A.M.; Nicolas, J.M.; Ovarlez, J.P. Robust adaptive detection of buried pipes using GPR. In Proceedings of the 2016 24th European Signal Processing Conference (EUSIPCO), Budapest, Hungary, 29 August–2 September 2016; pp. 533–537. [Google Scholar] [CrossRef]
- van der Merwe, A.; Gupta, I.J. A novel signal processing technique for clutter reduction in GPR measurements of small, shallow land mines. IEEE Trans. Geosci. Remote Sens. 2000, 38, 2627–2637. [Google Scholar] [CrossRef]
- Chan, L.; Peters, L.; Moffatt, D. Improved performance of a subsurface radar target identification system through antenna design. IEEE Trans. Antennas Propag. 1981, 29, 307–311. [Google Scholar] [CrossRef]
- Kolba, M.P.; Jouny, I.I. Buried land mine detection using complex natural resonances on GPR data. In Proceedings of the IEEE International Geoscience and Remote Sensing Symposium, Toulouse, France, 21–25 July 2003; Volume 2, pp. 761–763. [Google Scholar] [CrossRef]
- Dumanian, A.J.; Rappaport, C.M. Enhanced detection and classification of buried mines with an UWB multistatic GPR. In Proceedings of the 2005 IEEE Antennas and Propagation Society International Symposium, Washington, DC, USA, 3–8 July 2005; Volume 3B, pp. 88–91. [Google Scholar] [CrossRef]
- Mohana, M.A.; Abbas, A.M.; Gomaa, M.L.; Ebrahim, S.M. Discrimination between landmine and mine-like targets using wavelets and spectral analysis. NRIAG J. Astron. Geophys. 2013, 2, 54–66. [Google Scholar] [CrossRef][Green Version]
- Missaoui, O.; Frigui, H.; Gader, P. Land-Mine Detection With Ground-Penetrating Radar Using Multistream Discrete Hidden Markov Models. IEEE Trans. Geosci. Remote Sens. 2011, 49, 2080–2099. [Google Scholar] [CrossRef]
- Montoya, T.P.; Smith, G.S. Land mine detection using a ground-penetrating radar based on resistively loaded Vee dipoles. IEEE Trans. Antennas Propag. 1999, 47, 1795–1806. [Google Scholar] [CrossRef]
- Ramachandran, G.; Gader, P.D.; Wilson, J.N. GRANMA: Gradient Angle Model Algorithm on Wideband EMI Data for Land-Mine Detection. IEEE Geosci. Remote. Sens Lett. 2010, 7, 535–539. [Google Scholar] [CrossRef]
- Xiao, W.; Yi, X.; Pan, F.; Li, R.; Xia, T. Chapter 2—Acoustic, Electromagnetic and Optical Sensing and Monitoring Methods. In Underground Sensing; Pamukcu, S., Cheng, L., Eds.; Academic Press: Cambridge, MA, USA, 2018; pp. 43–139. [Google Scholar] [CrossRef]
- Ostafin, M.; Nogaj, B. 14N-NQR based device for detection of explosives in landmines. Measurement 2007, 40, 43–54. [Google Scholar] [CrossRef]
- Blauch, A.; Schiano, J.; Ginsberg, M. Landmine detection using feedback NQR. Proc. SPIE 1999, 3710, 1–4. [Google Scholar] [CrossRef]
- Deas, R.; Cervantes, C.; Schaedel, S. Landmine Detection by Nuclear Quadrupole Resonance(NQR); US Army RDECOM CERDEC Night Vision and Electronic Sensors Directorate Fort Belvoir: Fort Belvoir, VA, USA, 2004; pp. 1–5. [Google Scholar]
- Akseli, I.; Mani, G.N.; Cetinkaya, C. Non-destructive acoustic defect detection in drug tablets. Int. J. Pharm. 2008, 360, 65–76. [Google Scholar] [CrossRef] [PubMed]
- Behboodian, A.; Scott, W.R.; McClellan, J.H. Signal processing of elastic surface waves for localizing buried land mines. In Proceedings of the Conference Record of the Thirty-Third Asilomar Conference on Signals, Systems, and Computers (Cat. No.CH37020), Grove, CA, USA, 24–27 October 1999; Volume 2, pp. 827–830. [Google Scholar] [CrossRef]
- Zeng, Y.Q.; Liu, Q.H. Acoustic detection of buried objects in 3-D fluid saturated porous media: Numerical modeling. IEEE Trans. Geosci. Remote Sens. 2001, 39, 1165–1173. [Google Scholar] [CrossRef]
- Chu, P.C.; Cornelius, M.; Wegstaff, M. Effect of Suspended Sediment on Acoustic Detection Using the Navy’s CASS-GRAB Model. In Proceedings of the OCEANS 2005 MTS/IEEE, Washington, DC, USA, 19–23 September 2005; pp. 1–7. [Google Scholar] [CrossRef]
- Baysoy, D.; Subaşı, M. Landmine Detection with the Neutron-Induced. In Proceedings of the X National Congress of Nuclear Science and Technologies Congress, Muğla, Türkiye, 6–9 October 2009; pp. 61–69. [Google Scholar]
- Elsheikh, N.A. Multi-parameter optimization of a (3He-252Cf-3He) neutron backscattering sensor for landmine detection. J. Radiat. Res. Appl. Sci. 2017, 10, 122–127. [Google Scholar] [CrossRef]
- Bom, V.R.; Datema, C.P.; van Eijk, C.W.E. DUNBLAD, the Delft University Neutron Backscatter LAnd-mine Detector, a status report. AIP Conf. Proc. 2003, 680, 935–938. [Google Scholar] [CrossRef]
- Kabessa, Y.; Eyal, O.; Bar-On, O.; Korouma, V.; Yagur-Kroll, S.; Belkin, S.; Agranat, A.J. Standoff detection of explosives and buried landmines using fluorescent bacterial sensor cells. Biosens. Bioelectron. 2016, 79, 784–788. [Google Scholar] [CrossRef]
- Miri-Hakimabad, H.; Panjeh, H.; Vejdani-Noghreiyan, A. Experimental optimization of a landmine detection facility using PGNAA method. Nucl. Sci. Tech. 2008, 19, 109–112. [Google Scholar] [CrossRef]
- Csikai, J.; Dóczi, R.; Király, B. Investigations on landmine detection by neutron-based techniques. Appl. Radiat. Isot. 2004, 61, 11–20. [Google Scholar] [CrossRef]
- Nazlibilek, S.; Kalender, O.; Ege, Y. Mine Identification and Classification by Mobile Sensor Network Using Magnetic Anomaly. IEEE Trans. Instrum. Meas. 2011, 60, 1028–1036. [Google Scholar] [CrossRef]
- Ege, Y.; Kalender, O.; Nazlibilek, S. Direction finding of moving ferromagnetic objects inside water by magnetic anomaly. Sens. Actuators A Phys. 2008, 147, 52–59. [Google Scholar] [CrossRef]
- Nazlibilek, S.; Ege, Y.; Kalender, O. A multi-sensor network for direction finding of moving ferromagnetic objects inside water by magnetic anomaly. Measurement 2009, 42, 1402–1416. [Google Scholar] [CrossRef]
- Söyler, S.; Kurt, E.; Dağ, O. Optimization of the Magnetic Anomaly Signals from a New Land Mine Detection Device. In Proceedings of the 11th International Conference on Applications of Electrical and Computer Engineering, Athens, Greece, 7–9 March 2012; pp. 178–183. [Google Scholar]
- Ege, Y.; Çoramık, M.; Kabadayı, M.; Çıtak, H.; Kalender, O.; Yürüklü, E.; Kurt, U.; Nazlıbilek, S. Anomaly detection with low magnetic flux: A fluxgate sensor network application. Measurement 2016, 81, 43–56. [Google Scholar] [CrossRef]
- Nazlibilek, S.; Ege, Y.; Kalender, O.; Sensoy, M.G.; Karacor, D.; Sazlı, M.H. Identification of materials with magnetic characteristics by neural networks. Measurement 2012, 45, 734–744. [Google Scholar] [CrossRef]
- Ege, Y.; Sensoy, M.G.; Kalender, O.; Nazlibilek, S. Numerical Analysis for Remote Identification of Materials With Magnetic Characteristics. IEEE Trans. Instrum. Meas. 2011, 60, 3140–3152. [Google Scholar] [CrossRef]
- Jordanova, N. Applications of Soil Magnetism; Elseiver: Amsterdam, The Netherlands, 2017. [Google Scholar]
- Yilmaz, C.; Kahraman, H.T.; Söyler, S. Passive Mine Detection and Classification Method Based on Hybrid Model. IEEE Access 2018, 6, 47870–47888. [Google Scholar] [CrossRef]
- Gürkan, S.; Karapınar, M.; Doğan, S. Design of a data acquisition system for passive detection of buried explosives. In Proceedings of the 4th International Conference on Electrical and Electronic Engineering (ICEEE), Ankara, Turkey, 8–10 April 2017; pp. 338–341. [Google Scholar]
- Silva, J.S.; Guerra, I.F.L.; Bioucas-Dias, J.; Gasche, T. Landmine Detection Using Multispectral Images. IEEE Sens. J. 2019, 19, 9341–9351. [Google Scholar] [CrossRef]
- Jiang, Z.; Ni, F.; Yang, D.; Li, C.; Yang, F.; Liu, H. A Hybrid Mapping Method with Position and Stiffness for Manipulator Teleoperation. Appl. Sci. 2019, 9, 5005. [Google Scholar] [CrossRef]
- Xu, H.; Zhou, J.; Asteris, P.G.; Jahed Armaghani, D.; Tahir, M.M. Supervised Machine Learning Techniques to the Prediction of Tunnel Boring Machine Penetration Rate. Appl. Sci. 2019, 9, 3715. [Google Scholar] [CrossRef]
- Dudaa, R.; Hart, P.E. Pattern Classification and Scene Analysis; Wiley: Hoboken, NJ, USA, 1973. [Google Scholar]
- Franco-Lopez, H.; Ek, A.; Bauer, M. Estimation and mapping of forest stand density, volume, and cover type using the k-nearest neighbors method. Remote. Sens. Environ. 2001, 77, 251–274. [Google Scholar] [CrossRef]
- Wu, X.; Kumar, V.; Ross Quinlan, J.; Ghosh, J.; Yang, Q. Top 10 algorithms in data mining. Knowl. Inf. Syst. 2008, 14, 1–37. [Google Scholar] [CrossRef]
- Shi, C.T. Signal Pattern Recognition Based on Fractal Features and Machine Learning. Appl. Sci. 2018, 8, 1327. [Google Scholar] [CrossRef]
- Islam, M.R.; Kim, Y.H.; Kim, J.Y.; Kim, J.M. Detecting and Learning Unknown Fault States by Automatically Finding the Optimal Number of Clusters for Online Bearing Fault Diagnosis. Appl. Sci. 2019, 9, 2326. [Google Scholar] [CrossRef]
- Baratloo, A.; Hosseini, M.; Negida, A.; Ashal, G.E. Part 1: Simple Definition and Calculation of Accuracy, Sensitivity and Specificity. Emergency 2015, 3, 48–49. [Google Scholar] [PubMed]
- Weka 3: Machine Learning Software in Java. 2019. Available online: https://www.cs.waikato.ac.nz/ml/weka/index.html (accessed on 10 November 2019).
- Altman, D.G.; Bland, J.M. Statistics Notes: Diagnostic tests 1: Sensitivity and specificity. BMJ 1994, 308, 1552. [Google Scholar] [CrossRef]
- McHugh, M. Interrater reliability: The kappa statistic. J. Croat. Soc. Med. Biochem. Lab. Med. 2002, 22, 276–282. [Google Scholar] [CrossRef]













| Max | Min | KC | AM | ||
|---|---|---|---|---|---|
| Group 1 | √ | √ | √ | ||
| Group 2 | √ | √ | √ | ||
| Group 3 | √ | √ | √ | ||
| Group 4 | √ | √ | √ | √ | |
| Group 5 | √ | √ | √ | √ | |
| Group 6 | √ | √ | √ | √ | |
| Group 7 | √ | √ | √ | ||
| Group 8 | √ | √ | |||
| Group 9 | √ | √ | |||
| Group 10 | √ | √ | |||
| Group 11 | √ | √ | √ | √ | √ |
| Feature Groups | ||||||||||||
|---|---|---|---|---|---|---|---|---|---|---|---|---|
| 1 | 2 | 3 | 4 | 5 | 6 | 7 | 8 | 9 | 10 | 11 | ||
| k→3 | 0.5 | 0.55 | 0.55 | 0.64 | 0.56 | 0.59 | 0.64 | 0.56 | 0.57 | 0.53 | 0.7 | |
| TP | 66 | 67 | 65 | 70 | 70 | 65 | 66 | 69 | 67 | 67 | 74 | |
| FP | 14 | 13 | 15 | 10 | 10 | 15 | 14 | 11 | 13 | 13 | 6 | |
| TN | 35 | 37 | 39 | 40 | 35 | 41 | 43 | 36 | 38 | 36 | 40 | |
| FN | 17 | 15 | 13 | 12 | 17 | 11 | 9 | 16 | 14 | 16 | 12 | |
| ACC | 0.77 | 0.79 | 0.79 | 0.83 | 0.8 | 0.8 | 0.83 | 0.8 | 0.8 | 0.78 | 0.86 | |
| k→5 | 0.48 | 0.48 | 0.48 | 0.49 | 0.55 | 0.51 | 0.58 | 0.61 | 0.56 | 0.52 | 0.57 | |
| TP | 67 | 67 | 62 | 63 | 71 | 63 | 63 | 70 | 68 | 66 | 66 | |
| FP | 13 | 13 | 18 | 17 | 9 | 17 | 17 | 10 | 12 | 14 | 14 | |
| TN | 33 | 33 | 37 | 37 | 34 | 38 | 42 | 38 | 37 | 36 | 39 | |
| FN | 19 | 19 | 15 | 15 | 18 | 14 | 10 | 14 | 15 | 16 | 13 | |
| ACC | 0.76 | 0.76 | 0.75 | 0.76 | 0.8 | 0.77 | 0.8 | 0.82 | 0.8 | 0.77 | 0.8 | |
| k→7 | 0.42 | 0.42 | 0.34 | 0.57 | 0.5 | 0.4 | 0.6 | 0.6 | 0.54 | 0.42 | 0.61 | |
| TP | 68 | 68 | 60 | 66 | 70 | 63 | 65 | 68 | 69 | 64 | 68 | |
| FP | 12 | 12 | 20 | 14 | 10 | 17 | 15 | 12 | 11 | 16 | 12 | |
| TN | 29 | 29 | 31 | 39 | 32 | 32 | 42 | 39 | 35 | 32 | 12 | |
| FN | 23 | 23 | 21 | 13 | 20 | 20 | 10 | 13 | 17 | 20 | 40 | |
| ACC | 0.73 | 0.73 | 0.69 | 0.8 | 0.77 | 0.72 | 0.81 | 0.81 | 0.79 | 0.73 | 0.61 | |
| Mean Values | ||||||||||||
| : | 0.53 | TP: | 67 | FP: | 13 | TN: | 36 | |||||
| FN: | 16 | ACC: | 0.78 | |||||||||
| Feature Groups | ||||||||||||
|---|---|---|---|---|---|---|---|---|---|---|---|---|
| 1 | 2 | 3 | 4 | 5 | 6 | 7 | 8 | 9 | 10 | 11 | ||
| k→3 | 0.82 | 0.67 | 0.71 | 0.8 | 0.75 | 0.81 | 0.87 | 0.67 | 0.85 | 0.89 | 0.83 | |
| TP | 76 | 67 | 71 | 78 | 77 | 73 | 75 | 65 | 75 | 76 | 78 | |
| FP | 4 | 13 | 9 | 2 | 3 | 7 | 5 | 15 | 5 | 4 | 2 | |
| TN | 45 | 44 | 43 | 42 | 40 | 47 | 49 | 46 | 48 | 49 | 44 | |
| FN | 7 | 8 | 9 | 10 | 12 | 5 | 3 | 6 | 4 | 3 | 8 | |
| ACC | 0.92 | 0.84 | 0.86 | 0.91 | 0.89 | 0.91 | 0.94 | 0.84 | 0.93 | 0.95 | 0.92 | |
| k→5 | 0.67 | 0.54 | 0.63 | 0.75 | 0.7 | 0.66 | 0.79 | 0.52 | 0.72 | 0.82 | 0.76 | |
| TP | 73 | 65 | 68 | 74 | 74 | 70 | 72 | 60 | 74 | 77 | 73 | |
| FP | 7 | 15 | 12 | 6 | 6 | 10 | 8 | 20 | 6 | 3 | 7 | |
| TN | 39 | 38 | 41 | 43 | 40 | 41 | 47 | 41 | 41 | 44 | 44 | |
| FN | 13 | 14 | 11 | 9 | 12 | 11 | 5 | 11 | 11 | 8 | 8 | |
| ACC | 0.85 | 0.78 | 0.83 | 0.89 | 0.86 | 0.84 | 0.9 | 0.77 | 0.87 | 0.92 | 0.89 | |
| k→7 | 0.71 | 0.53 | 0.52 | 0.69 | 0.72 | 0.58 | 0.64 | 0.48 | 0.7 | 0.79 | 0.73 | |
| TP | 73 | 68 | 66 | 70 | 74 | 67 | 65 | 61 | 70 | 74 | 72 | |
| FP | 7 | 12 | 14 | 10 | 6 | 13 | 15 | 19 | 10 | 6 | 8 | |
| TN | 41 | 35 | 36 | 43 | 41 | 39 | 44 | 38 | 43 | 45 | 43 | |
| FN | 11 | 17 | 16 | 9 | 11 | 13 | 8 | 14 | 9 | 7 | 9 | |
| ACC | 0.86 | 0.78 | 0.77 | 0.86 | 0.87 | 0.8 | 0.83 | 0.75 | 0.86 | 0.9 | 0.87 | |
| Mean Values | ||||||||||||
| : | 0.71 | TP: | 71 | FP: | 9 | TN: | 43 | |||||
| FN: | 9 | ACC: | 0.86 | |||||||||
© 2019 by the authors. Licensee MDPI, Basel, Switzerland. This article is an open access article distributed under the terms and conditions of the Creative Commons Attribution (CC BY) license (http://creativecommons.org/licenses/by/4.0/).
Share and Cite
Gürkan, S.; Karapınar, M.; Doğan, S. Detection and Imaging of Underground Objects for Distinguishing Explosives by Using a Fluxgate Sensor Array. Appl. Sci. 2019, 9, 5415. https://doi.org/10.3390/app9245415
Gürkan S, Karapınar M, Doğan S. Detection and Imaging of Underground Objects for Distinguishing Explosives by Using a Fluxgate Sensor Array. Applied Sciences. 2019; 9(24):5415. https://doi.org/10.3390/app9245415
Chicago/Turabian StyleGürkan, Serkan, Mustafa Karapınar, and Seydi Doğan. 2019. "Detection and Imaging of Underground Objects for Distinguishing Explosives by Using a Fluxgate Sensor Array" Applied Sciences 9, no. 24: 5415. https://doi.org/10.3390/app9245415
APA StyleGürkan, S., Karapınar, M., & Doğan, S. (2019). Detection and Imaging of Underground Objects for Distinguishing Explosives by Using a Fluxgate Sensor Array. Applied Sciences, 9(24), 5415. https://doi.org/10.3390/app9245415

