Abstract
In this paper, a hydraulic breaker system is suggested with optimized impact forces and with active control to improve the system’s energy efficiency. While performing operations such as demolition, rock pulverization, and ground hammering, the consistent breaking force causes energy dissipation due to the various strengths of the bedrock. Moreover, if the ground condition is not monitored, this may lead to catastrophic damage to the whole system. Moreover, frequent part changes can result in fatal malfunction. Therefore, a novel rock breaker is needed that is able to predict target properties of the rock in order to perform at the optimal impact force. The characteristics of rock forecasts obtained by a proximity sensor can determine the depth at which the piston stroke will reach the object. Moreover, a cascade control system for multiple levels of impact points, included operating and monitoring modules, is developed by applying ICT convergence through a wireless communication system. Consequently, adequate results were obtained from the applied field test on the feasibility of the suggested breaking system, thus confirming the possibility of applying this system in conventional heavy industries.
1. Introduction
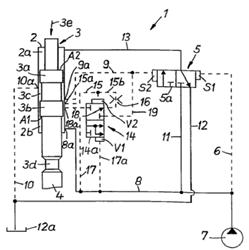
Hydraulic breakers are widely used, typically attached to excavators in heavy industries and construction for the deactivation and removal of building structures, road demolition, water supply and drainage construction, foundation works, and the destruction of quarry stones. The breaking system is composed of the main body and the bracket which houses the system. Figure 1 shows the primary components and assembly of a hydraulic breaker. The main body consists of the head cap, cylinder, front head, and valve housing. The excavators discharge the pressurized hydraulic oil into the main valve, which is located at the top of the hydraulic breaker. The cylinder moves from the top to bottom and back and forth according to the oil pressure due to differences in the cross-sectional area. Lastly, the piston impacts the chisel, which makes direct contact with the rock to break it down.
Figure 1.
Hydraulic breaker and components.
The means of the impact process have been developed and performed as manual preset strokes—either mechanically manual long strokes or short strokes. Recently, mechanical, automatic long and short strokes have been investigated, and are widely used in heavy industries [1,2,3].
A few studies have reported the use of electro hydraulic control [4,5,6] for breaking systems [7,8], as listed in Table 1. Moreover, there in an increasing demand for the improvement of construction equipment efficiency, coinciding with the emergence of new environmental regulation standards in many countries.
Table 1.
Weaknesses of conventional hydraulic breakers.
A hydraulic breaker that can predict the strength of rock using an ICT-converged electronic auto-adjusted stroke was investigated and verified by practical operating field tests under conventional conditions so as to validate the proposed system’s usability, durability, and efficiency.
2. A Novel Hydraulic Breaker
While operating in the manual stroke condition, the piston strokes deeper than usual since the impact rock may have low strength. Based on this phenomenon, the suggested system was fabricated to detect the piston depth and verify the stroke length automatically. In the case of impacting hard rock, the piston employs longer strokes and retains the position of the chisel to smash the hard enough to break it. Meanwhile, shorter and higher-frequency strokes are employed for weaker substances so as to decrease the amount of unnecessary shocks and vibration for the improvement of productivity and durability.
2.1. System Composition and Analysis
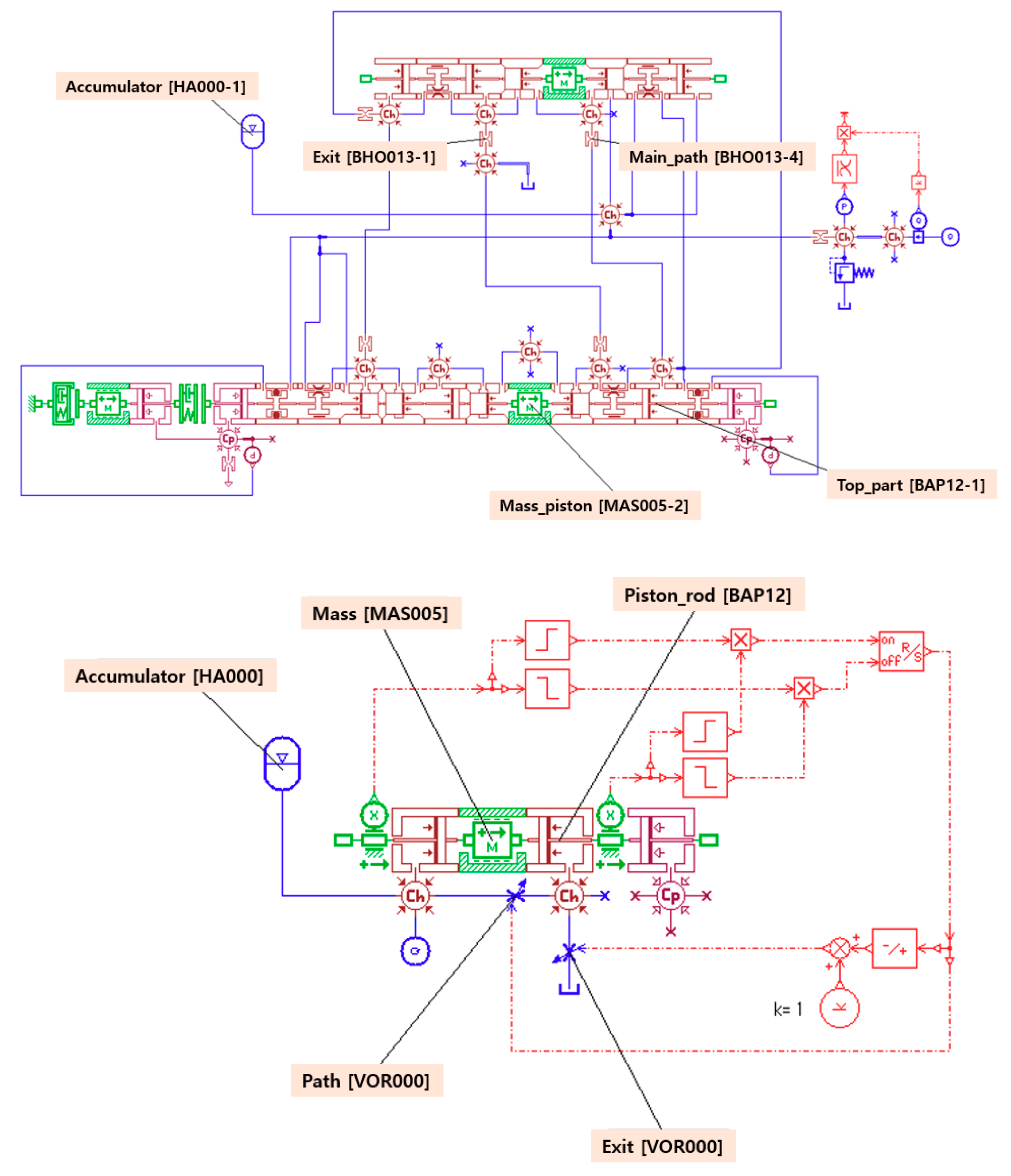
A schematic diagram of the proposed hydraulic breaker is shown in Figure 2. The suggested auto-adjusted stroke system has two proximity sensors (S1, S2) to collect the position data and two signal ports for transferring the control signal to the main and solenoid valves.
Figure 2.
Schematic diagrams of hydraulic breakers (left: conventional/right: developed).
When the proximity sensor detects a shortened position, the data in the breaking system signals for the operation of the multi-port (short middle) solenoid valve. In contrast, when the signal indicates the longer position of the piston, the system works as a conventional hydraulic breaker.
2.2. System Analysis
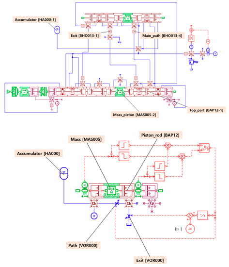
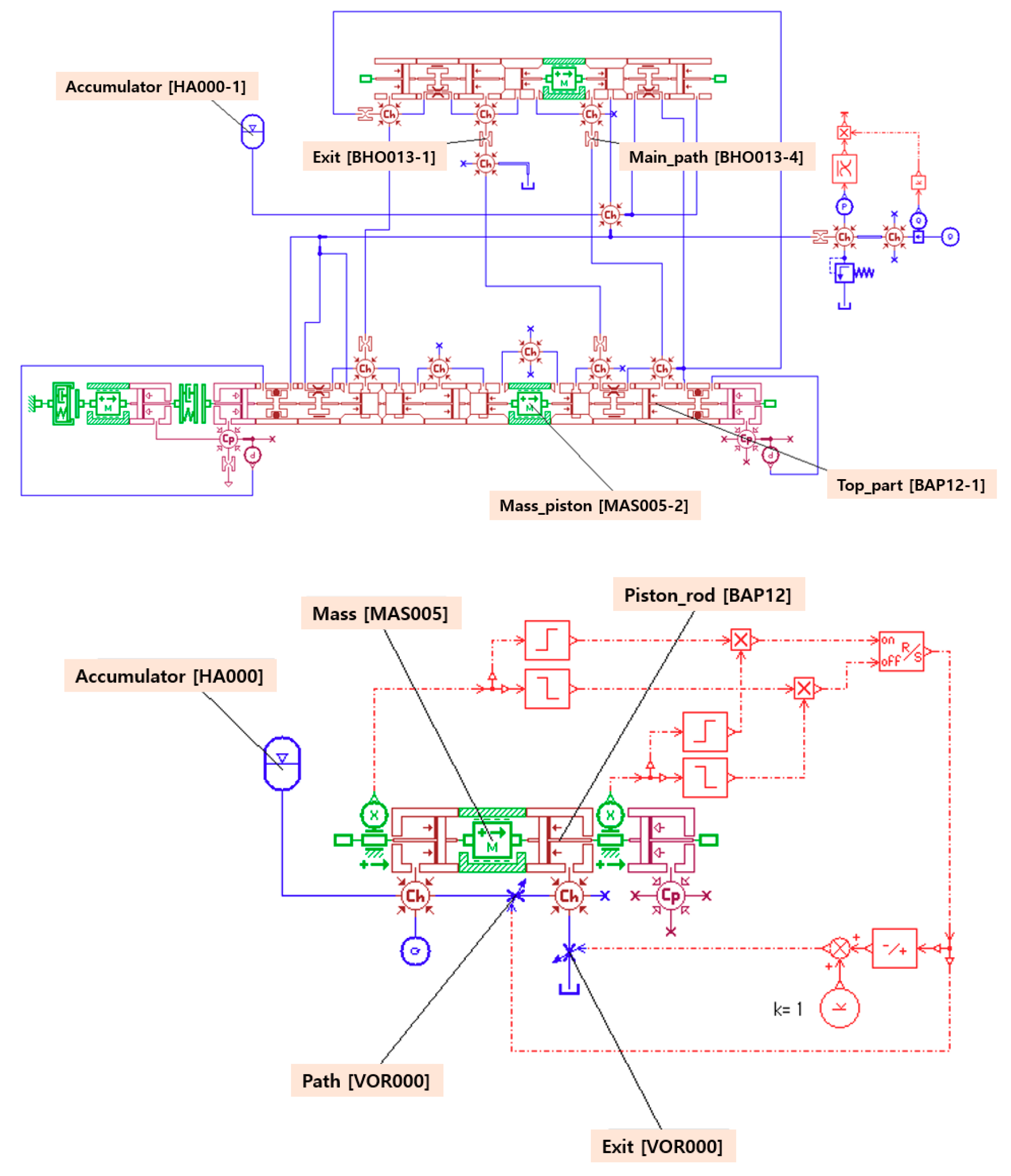
In order to guarantee a reliable mode of operation for the auto-adjusted stroke hydraulic breaker, modeling and numerical simulations [8] have to be investigated quantitatively and discussed. Figure 3 shows a simplified model of the hydraulic breaker [9]. The piston velocity optimization was carried out using AMEsim using Design of Exploration (DOE) [10,11]. As a result of the DOE analysis, it was found that the significant factors affecting the piston stroke velocity are the flow channel, piston cross-sectional area, and output channel. According to these analyses, the chisel velocity was modified from 8.7 m/s to 10.3 m/s, as indicated by the optimized result shown in Figure 4.
Figure 3.
Breaker modeling (top: conventional/bottom: developed).
Figure 4.
Simplified hydraulic breaker model: (a) velocity; (b) displacement; (c) pressure.
2.3. Cascade Control
The suggested adjustable hydraulic control is mainly composed of sensors for measuring the depth of the piston (chisel) (Figure 5) and a solenoid valve for controlling the displacement of the stroke as determined by the algorithm (Figure 6). In addition, the micro control unit (MCU) for the communication and monitoring of the system in real time as well as the operation time after setting the stroke mode are shown in Figure 7.
Figure 5.
Proximity sensor, solenoid valve, controller, and display panel with control keys.
Figure 6.
System of the hydraulic breaker.
Figure 7.
Schematic diagram of the control system logic.
While impacting the bedrock, signals from the proximity sensor can identify that the flow line is close to the solenoid valve when the system determined that the rock is hard, and the piston is set in the long stoke range mode and retain this position.
When one sensor is employed for rock property detection, for mid-strength rock it sets a medium stroke with a middle position, controlled from the solenoid valve. When two sensors are used to detect and send the signal, the controller can recognize soft rock to provide the shortest stroke. Figure 8 shows the proximity sensor data for the properties of each rock type.
Figure 8.
Proximity sensor data of each rock type.
The MCU controls two proximity sensors and two solenoid valves in the adjustable stroke hydraulic breaker. The schematic diagram of the control system logic is shown in Figure 7.
The standard for determining the rock strength used in this investigation is listed in Table 2. The properties conform to criteria of the rock according to the compressive strength, as authorized by the Ministry of Land, Infrastructure, and Transport. The MCU consists of an atmega128 micro controller with ZigBee wireless communication to receive/transmit the status to the display and control panel. The operator can also select the manual mode to maintain the stroke in the control panel, which is shown using an LCD visual indicator.
Table 2.
Criteria of the rock according to uniaxial compressive strength.
3. Performance Evaluation and Field Test
To validate the performance of the cascade control system, a flow meter and pressure sensor were installed to measure the impact frequency, energy, and efficiency. Experiments and a field test were performed at the Korea Institute of Machinery and Materials (KIMM).
An adequate field test was operated manually to determine the result of each stroke. The impact frequency was calculated by inversing five consecutive operating cycle times, as in Equation (1). The impact energy () computed in Equation (2) from the wave over25 operating cycles with constant speed was shown to have pulse shape definiteness with no interference from other data.
The deformation measured the initial to final operation time from the selected wave, excepting preloading time of equipment, using the arithmetic mean as shown in Equation (3). The specifications of the products used in the experiment are listed in Table 3. The experimental conditions included an environmental temperature of 22 ± 10 °C and 50 ± 30% relative humidity.
Table 3.
Specifications of products used in the experiment.
The variables of the equations are listed in Table 4, including the units.
Table 4.
Description of variables.
A field test was carried out to confirm the possibility of applying this system in conventional heavy industries, as shown in Figure 9. Attached to the system were the pressure sensor, flow rate sensor, temperature meter, and strain gauge. The actual experiment evaluated the performance of the hydraulic breaker in long and short stroke modes.
Figure 9.
Control system and site for the experiment; the blue circle indicates the strain gauge.
Figure 10 shows the impact frequencies. While in the long stroke mode, there were five impacts in 1.2–2.2 s. In the short stoke mode, there were four impacts in 1.5–2 s. Using the strain gauge composed of a Wheatstone bridge, and the measured voltage value is converted into impact energy through Equations (2) and (3), as shown in Figure 11.
Figure 10.
Experiment result graph of the impact frequency (upper: long/lower: short).

Figure 11.
Result graphs of the impact energy (upper: long/lower: short).
In the long stroke mode, the energy was observed to reach about 6583 J, while it reached 3102 J in the short stroke mode. The result shows that the impact efficiency improved 7%, as shown in Table 5. Furthermore, the amount of impact energy in the short stroke mode is suitable for breaking up soft rock with a strength of 70–100 MPa.
Table 5.
Results of the impact efficiency.
The ICT convergence system was adapted and verified to transmit between the controller and the hydraulic breaker, due to the harsh conditions of the operation field such as high levels of vibration and impact. An additional test applying wireless communication was certified by Korea Conformity Laboratories (KCL). All of the results qualified for a condition up to 85 °C temperature and 50–150 °C in the thermal shock test, up to 30G in the triaxial shock test, and distances of less than 30 m for the salt spray tests.
4. Conclusions
The novel predictable rock breaker suggested features an adjustable stroke for optimal impact energy with improved efficiency and productivity. The cascade control using ICT convergence wa provided to the electro hydraulic control system to ensure wireless communication between the display panel and the manipulator in both manual and automatic modes. Moreover, the impact frequency range was extended from 5 to 9 Hz in the long stroke mode, and the impact energy increased from 50 to 57%. Consequently, the field test results validated the feasibility of the suggested breaking system and confirmed the possibility of applying the proposed system in conventional heavy industries.
Author Contributions
B.-J.Y. and K.-S.L. designed and performed the experiments and analysis; J.-H.L. built up the research project, contributed to the search process, and wrote the paper.
Funding
This work was supported by the National Research Foundation of Korea (NRF) grant funded by the Korea government (MSIT) (No. 2017R1C1B5076487).
Conflicts of Interest
The authors declare no conflict to interest.
References
- Jeong, E.; Seo, B.; Ahn, K. Trend of Electro-Hydraulic System Technology for Construction Equipment. Drive Control 2018, 15, 3–79. [Google Scholar]
- Yang, S.Y.; Ou, Y.B.; Guo, Y.; Wu, X.M. Analysis and optimization of the working parameters of the impact mechanism of hydraulic rock drill based on a numerical simulation. Int. J. Precis. Eng. Manuf. 2017, 18, 971–977. [Google Scholar] [CrossRef]
- Gao, L.-Q. Hydraulic Rock Drill Theory Design and Application; Mechanical Industry Press: Beijing, China, 1998; pp. 6–20. [Google Scholar]
- Brecher, C.; Japer, D.; Fey, M. Analysis of New, Energy-Efficient Hydraulic Unit for Machine Tools. Int. Précis. Eng. Manuf. Green Tech. 2017, 4, 5–11. [Google Scholar] [CrossRef]
- Tan, Z.H.; Chen, Z.F.; Pei, X.F.; Guo, X.X.; Pei, S.H. Development of Integrated Electro-Hydraulic Braking System and Its ABS Application. Int. J. Précis. Eng. Manuf. 2016, 17, 337–346. [Google Scholar] [CrossRef]
- Dinh, X.; Ahn, K.K. Adaptive tracking control of a quad rotor unmanned vehicle. Int. J. Précis. Eng. Manuf. 2017, 18, 163–173. [Google Scholar] [CrossRef]
- Koh, S.; Lim, J. Computer Simulation and Experiment of a Hydraulic Breaker. Trans. Korean Soc. Mech. Eng. 1994, 1, 502–506. [Google Scholar]
- Park, J.-W.; Kim, H.-E. Development of the Test System for Measuring the Impact Energy of a Hydraulic Breaker. Proc. JFPS Int. Symp. Fluid Power 2005, 2005, 75–79. [Google Scholar] [CrossRef][Green Version]
- Kim, G.; Yoon, B.; Joo, J. Theoretical Model Optimization of Hydraulic Breaker using AMESim. Korean Soc. Fluid Power Constr. Equip. 2016, 11, 182–183. [Google Scholar]
- Jeong, E.A.; Kim, J.U.; Yeom, H.K.; Yun, S.N. A Study on the Flow Characteristics of Reed Valve with Variable Geometric Variations for Cryogenic Linear Expander. Drive Control 2015, 12, 48–53. [Google Scholar] [CrossRef][Green Version]
- Lim, H.; Kim, N.; Lee, J. Displacement Measuring System of Hydraulic Cylinder using Proximity Sensor. Available online: http://www.riss.kr/link?id=A100539781 (accessed on 13 August 2019).
© 2019 by the authors. Licensee MDPI, Basel, Switzerland. This article is an open access article distributed under the terms and conditions of the Creative Commons Attribution (CC BY) license (http://creativecommons.org/licenses/by/4.0/).



