Design of a Road Simulator for Motorcycle Applications
Abstract
:1. Introduction
- Fed in terms of heave, roll, and pitch
- Aimed at resonance frequency tracking
- Aimed at reproducing an acceleration/load history vs. time as recorded in road testing.
2. Materials and Methods
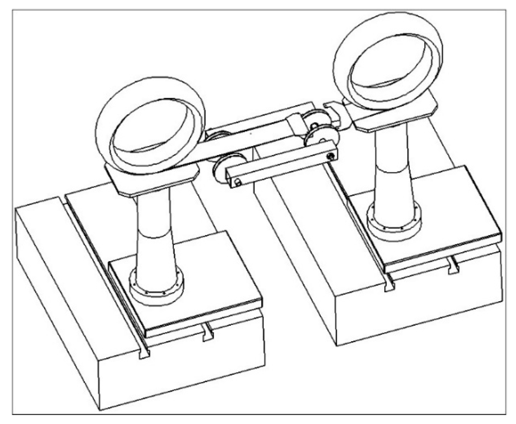
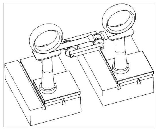
2.1. Support System Requirements and Design
2.2. Power and Braking Torque Application
2.3. Power and Braking Torque Control; Data Acquisition
3. Results
3.1. Sweep Test
3.2. Road Surface Reproduction
4. Discussion
5. Conclusions
Author Contributions
Conflicts of Interest
References
- Spickenreuther, M.; Bersiner, F.; Fricke, E. Realistic driving experience of new vehicle concepts on the bmw ride simulator. In Proceedings of the 7th International Styrian Noise, Vibration and Harshness Congress: The European Automotive Noise Conference (SNVH 2012), Graz, Austria, 13–15 June 2012. [Google Scholar] [CrossRef]
- Wang, B.; Guo, X.; Li, M.; Yang, B.; Xu, Z. Road simulation algorithm based on iterative learning control. Quiche Gongcheng/Autom. Eng. 2010, 32, 686–689. [Google Scholar]
- Marchesin, F.P.; Barbosa, R.S.; Alves, M.A.L.; Gadola, M.; Chindamo, D.; Benini, C. Upright mounted pushrod: The effects on racecar handling dynamics, The Dynamics of Vehicles on Roads and Track. In Proceedings of the 24th Symposium of the International Association for Vehicle System Dynamics(IAVSD 2015), Graz, Austria, 17–21 August 2015; pp. 543–552. [Google Scholar]
- Jayasurya, H.P.W.; Sangpradit, K. Dynamic performance and ride comfort evaluation of the seat suspension system in a small agricultural tractor to attenuate low-frequency vibration transmission. Agric. Eng. Int. CIGR J. 2014, 16, 207–216. [Google Scholar]
- Uberti, S.; Gadola, M.; Chindamo, D.; Romano, M.; Galli, F. Design of a double wishbone front suspension for an orchard-vineyard tractor: Kinematic analysis. J. Terramech. 2015, 57, 23–39. [Google Scholar] [CrossRef]
- Kharul, R.; Balakrishnan, S.; Karedla, D.; You, S.S. Virtual testing and correlation for a motorcycle design. SAE Int. J. Mater. Manuf. 2010, 3, 541–549. [Google Scholar] [CrossRef]
- Benini, C.; Gadola, M.; Chindamo, D.; Uberti, S.; Marchesin, F.P.; Barbosa, R.S. The influence of suspension components friction on race car vertical dynamics. Veh. Syst. Dyn. 2017, 55, 338–350. [Google Scholar] [CrossRef]
- Uberti, S.; Gadola, M. Design of a new high-end street bike. In Proceedings of the 11th International Design Conference (DESIGN 2010), Dubrovnik, Croatia, 17–20 May 2010; pp. 1741–1752. [Google Scholar]
- Tuluie, R.; Ericksen, G.S. Racing motorcycle design process using physical and virtual testing methods. In Proceedings of the Motorsports Engineering Conference and Exposition, Dearborn, MI, USA, 13–16 November 2000. [Google Scholar]
- Nehaoua, L.; Hima, S.; Arioui, H.; Seguy, N.; Espié, S. Design and modeling of a new motorcycle riding simulator. In Proceedings of the IEEE American Control Conference, New York, NY, USA, 11–13 July 2007; pp. 176–181. [Google Scholar]
- Cossalter, V.; Lot, R.; Maso, M.; Massaro, M.; Sartori, R. A Motorcycle Riding Simulator for the Improvement of the Rider Safety; Proc. of FISITA World Automotive Congress: Munich, Germany, 2008. [Google Scholar]
- Cossalter, V.; Doria, A.; Lot, R. Development and Validation of a Motorcycle Riding Simulator. In Proceedings of the FISITA, Barcellona, Spain, 8–24 May 2004. [Google Scholar]
- Cossalter, V.; Lot, R.; Massaro, M.; Sartori, R. Development and validation of an advanced motorcycle riding simulator. J. Automob. Eng. 2011, 225, 705–720. [Google Scholar] [CrossRef]
- Cossalter, V.; Lot, R.; Rota, S. Objective and subjective evaluation of an advanced motorcycle riding simulator. Eur. Transp. Res. Rev. 2010, 2, 223–233. [Google Scholar] [CrossRef]
- Cossalter, V.; Lot, R.; Massaro, M.; Sartori, R. Development and Testing of Assistant Rider Systems with the UNIPD Motorcycle Riding Simulator; 19th Congress of Theoretical and Applied Mechanics: Ancona, Italy, 2009; ISBN 9788896378083. [Google Scholar]
- Previati, G.; Gobbi, M.; Mastinu, G. Measurement of the inertia tensor-A review. In Proceedings of the 73rd Annual Conference of the Society of Allied Weight Engineers, Inc., Long Beach, CL, USA, 17–24 May 2014. [Google Scholar]
- Cossalter, V. Cinematica e Dinamica Della Motocicletta; Edizioni Progetto: Padova, Italy, 1997. [Google Scholar]
- Chindamo, D.; Gadola, M. Reproduction of real-world road profiles on a four-poster rig for indoor vehicle chassis and suspension durability testing. Adv. Mechan. Eng. 2017, in press. [Google Scholar] [CrossRef]
- Plummer, A.R. Control techniques for structural testing: A review. J. Syst. Control Eng. 2007, 221, 139–169. [Google Scholar] [CrossRef]
- Hay, N.C.; Roberts, D.E. Iterative control in automotive testing. J. Syst. Control Eng. 2007, 221, 223. [Google Scholar]
- Dodds, C.; Plummer, A. Laboratory Road Simulation for Full Vehicle Testing: A Review. SAE Tech. Paper 2001. [Google Scholar] [CrossRef]
- Cossalter, V.; Doria, A.; Formentini, M.; Peretto, M. Experimental and numerical analysis of the influence of tyres properties on the straight running stability of a sport-touring motorcycle. Veh. Syst. Dyn. 2012, 50, 357–375. [Google Scholar] [CrossRef]
















© 2017 by the authors. Licensee MDPI, Basel, Switzerland. This article is an open access article distributed under the terms and conditions of the Creative Commons Attribution (CC BY) license (http://creativecommons.org/licenses/by/4.0/).
Share and Cite
Chindamo, D.; Gadola, M.; Armellin, D.; Marchesin, F. Design of a Road Simulator for Motorcycle Applications. Appl. Sci. 2017, 7, 1220. https://doi.org/10.3390/app7121220
Chindamo D, Gadola M, Armellin D, Marchesin F. Design of a Road Simulator for Motorcycle Applications. Applied Sciences. 2017; 7(12):1220. https://doi.org/10.3390/app7121220
Chicago/Turabian StyleChindamo, Daniel, Marco Gadola, Dario Armellin, and Felipe Marchesin. 2017. "Design of a Road Simulator for Motorcycle Applications" Applied Sciences 7, no. 12: 1220. https://doi.org/10.3390/app7121220
APA StyleChindamo, D., Gadola, M., Armellin, D., & Marchesin, F. (2017). Design of a Road Simulator for Motorcycle Applications. Applied Sciences, 7(12), 1220. https://doi.org/10.3390/app7121220

