Next Article in Journal
Negotiating Virtually and Face-to-Face: Experience from a Serious Game Conducted in Person and via Smartphone Application
Previous Article in Journal
FinOps-Aware Budget-Constrained Optimization for Cloud Resource Management
 
 
Font Type:
Arial Georgia Verdana
Font Size:
Aa Aa Aa
Line Spacing:
Column Width:
Background:
Article

Integrated Mine Geophysics for Identifying Zones of Geological Instability

1
Department of Mineral Deposit Development, Abylkas Saginov Karaganda Technical University, 56 Nursultan Nazarbayev Avenue, Office 406, Karaganda 100027, Kazakhstan
2
Faculty of Civil Engineering and Resource Management, AGH University of Krakow, Mickiewicza 30 Av., 30-059 Kraków, Poland
*
Authors to whom correspondence should be addressed.
Appl. Sci. 2026, 16(7), 3303; https://doi.org/10.3390/app16073303 (registering DOI)
Submission received: 26 February 2026 / Revised: 21 March 2026 / Accepted: 23 March 2026 / Published: 29 March 2026

Abstract

The safety and stability of underground coal mining are largely determined by the structural features of coal seams and surrounding rocks. Geological heterogeneities such as faults, fracture zones, and lithological variations strongly influence the distribution of rock pressure and the occurrence of geodynamic hazards. This highlights the need for reliable geophysical methods capable of identifying such zones under mining conditions. Electrical prospecting represents a promising diagnostic approach, as it is highly sensitive to changes in the physical properties of rocks. Unlike conventional geological mapping, it enables the detection of hidden structures and weakened zones often invisible to direct observation. Advances in instrumentation and data processing have further expanded the applicability of electrical methods in complex environments. This study introduces a methodology of electrical prospecting observations for the diagnosis of coal seams. The analysis focuses on conductivity anomalies that reflect tectonic disturbances, fracture systems, and lithological heterogeneities. Field investigations demonstrated the sensitivity of the method to local environmental variations. Comparison with geological records confirmed the validity of the approach: the identified anomalous zones correlated well with documented tectonic features. The methodology showed a stable performance and revealed potential for integration into mine monitoring systems. It allows the identification of areas associated with elevated rock pressure and possible geodynamic activity, thereby contributing to safer underground operations. In the longer term, electrical prospecting may be applied to other coal deposits, including those with a high gas content and complex structure. The development of automated interpretation tools and machine learning algorithms could further increase processing efficiency and improve predictive reliability. Overall, the results confirm that electrical prospecting in mining environments can become an effective instrument for enhancing safety and building more accurate geological–geophysical models of coal seams.

1. Introduction

In recent years, there has been a significant increase in research in the field of mine geophysics aimed at improving the efficiency of exploration and mineral extraction. Modern mining enterprises face increasingly complex geological conditions, which necessitate the introduction of innovative methods of geophysical analysis.
The purpose of this study is the development and testing of mine geophysics methods for identifying geological inconsistencies in coal seams. To achieve this goal, the following objectives were set:
  • To conduct a critical analysis of mine geophysics methods and their applicability for detecting geological disturbances.
  • To develop and adapt a methodology for the application of electrical prospecting under underground conditions.
  • To analyze the obtained results and compare them with the data of previous studies in this field.
Recent international studies further confirm the importance of integrating structural characterization with stability assessment. In particular, Zhang et al. showed that reaming anchorage of an inverted wedge-shaped hole bottom can substantially enhance anchorage performance and improve the stability of argillaceous cemented roadways, emphasizing the practical value of detailed characterization of the rock mass structure before support design [1]. In turn, Zhu et al. demonstrated that probabilistic analysis of two-layer undrained slopes makes it possible to identify failure mechanisms that may remain undetected in deterministic calculations, thereby highlighting the necessity of accounting for geological variability and uncertainty in geomechanical assessments [2,3,4].

2. Materials and Methods

Mine electrical prospecting is a geophysical exploration method used in the mining industry to investigate the geological structure of mine workings, determine the boundaries of ore bodies, and identify zones of water inflow and tectonic disturbances. It is particularly important in underground operations, as it provides data without drilling, thereby reducing costs and minimizing accident risks. Electrical prospecting is applied not only at the stage of deposit exploration but also for operational control, hazard forecasting, and monitoring the stability of mine workings.
Several methods of mine electrical prospecting are distinguished. The resistivity method is based on measuring the specific electrical resistivity of rocks and is applied to delineate ore bodies, fault zones, water-bearing areas, and to control the stability of underground excavations. An example of equipment used for this method is presented in Figure 1.
The natural electric field method analyzes naturally occurring electrical fields in rocks and is applied to the exploration of sulfide ores, tectonic disturbance zones, and areas of increased water saturation. The induced polarization method records the ability of minerals to accumulate electric charge and is primarily used in the search for ore deposits, particularly sulfides. Electromagnetic methods, including vertical electrical sounding, electromagnetic sounding, and variable-field electromagnetic surveys, are employed to investigate conductive minerals such as sulfides and graphite, as well as to detect metallic structures within the underground space. In addition, pulse and radio-wave technologies are applied to construct three-dimensional models of the internal structure of the rock mass [5]. Modern digital data-processing techniques enhance the accuracy of interpretation and accelerate analysis.
The advantages of mine electrical prospecting include high precision in delineating ore body boundaries, monitoring water-bearing zones, and the ability to provide rapid assessment of geological conditions without drilling operations. The method is also used to control the stability of mine workings, forecast collapses, gas-dynamic phenomena, coal and gas outbursts, and sudden water inflows. The application of geophysical methods within the framework of geodynamic diagnostics of the rock mass makes it possible to identify hazardous zones in a timely manner and to obtain an objective picture of the stress–strain state of rocks” [6].
During the course of this study, a series of mine electrical prospecting surveys was carried out using low-frequency electrical prospecting equipment SHERS-4, manufactured by JSC Research and Production Enterprise Geofizpribor-MS (Krasnodar, Russia), presented in Figure 2. The internal design of this station is shown in Figure 3. The investigation focused on areas with a high probability of tectonic disturbances, identified on the basis of preliminary geological data analysis.
During the study, three electrical prospecting methods were applied in order to evaluate their advantages and limitations, which will serve as a basis for developing an improved methodology for electrical prospecting under underground mining conditions. Data processing was carried out using the “ZondRes2D” software. Zond is designed for two-dimensional interpretation of profile and areal data obtained from electrical prospecting, magnetic prospecting, and gravity surveying. Its user-friendly interface and broad data visualization capabilities make it possible to solve both forward and inverse problems in electrical, magnetic, and gravity methods with high efficiency.
For modeling the geological section, electrical prospecting data were used. Zond employs a simple and clear data file format. The program also allows for the import and display of measurement results obtained by other methods, which supports a more integrated approach to data interpretation. Modeling is one of the most important stages in the interpretation of potential fields. The program provides three main model types: a gridded (block) model, a polygonal model, and an arbitrarily layered model.

2.1. Resistivity Method for Identifying Zones with Different Conductivity

The resistivity method operates on a straightforward principle: a direct current is passed through the rock mass and its distribution is analyzed. Dense and dry rocks exhibit low conductivity, whereas fractured or water-saturated zones conduct current much more efficiently. This contrast forms the basis of the diagnostic approach, enabling the identification of boundaries between areas with different conductivity and the detection of zones where the rock mass structure is disturbed and may present a hazard.
The main advantage of the resistivity method lies in its simplicity and practicality: the equipment is not complicated and can be effectively used directly in underground workings. However, it also has certain limitations: the method does not always detect small-scale anomalies, is highly dependent on the quality of electrode contact with the rock, and may produce ambiguous results in complex or heterogeneous rock masses.
Nevertheless, its value is confirmed by recent studies. For example, 7. Chlebowski et al. demonstrated that three-dimensional electrical resistivity tomography combined with magnetotellurics provides a deeper understanding of geothermal and hydrological systems, addressing challenges that until recently were considered too complex for classical electrical prospecting [7].
This method was implemented as follows. In the conveyor roadway (Figure 3), the current electrodes A and B were installed, while in the ventilation roadway, the potential electrodes M and N were placed.
The measurement procedure was as follows: technological holes were prepared in the support lining of the roadway walls. The spacing between the current electrodes was 3 m, and the spacing between the potential electrodes was the same. The current and potential electrodes were positioned in different roadways, parallel to each other. The measurement interval was 5 m. At each point, voltage measurements were then recorded in mV. The measurement results are presented in Figure 4.
Interpretation of the electrical resistivity measurements showed that the studied rock mass is characterized by pronounced geoelectrical heterogeneity, reflecting differences in the degree of disturbance, density, and, probably, water saturation of the rocks. In the central part of the profile, a zone of increased resistivity is distinguished, which may be associated with denser, less fractured, and relatively dry rocks maintaining a more stable condition. On both sides of this zone, areas of reduced resistivity are observed and can be interpreted as zones of increased fracturing, loosening, and possible moisture saturation of the rock mass. Sharp transitions between high-resistivity and low-resistivity areas indicate boundaries between zones with different geomechanical states and may correspond to structurally weakened areas. The spatial coincidence of these anomalies with the linear elements shown in the scheme suggests their relationship with disturbances in the rock mass structure [8]. The obtained results indicate the complex internal structure of the studied area and confirm that the resistivity method makes it possible to identify both relatively stable rock blocks and potentially hazardous weakened zones associated with fracturing and water saturation.

2.2. Induced Polarization Method for Assessing Anomalous Zones with High Mineral Concentration

The induced polarization (IP) method can be explained quite simply: when an electric current is passed through the rock and then switched off, the rock continues to “respond” for some time. This phenomenon resembles an echo, but electrical—the rock stores charge and releases it gradually. Such an effect typically occurs in rocks rich in sulfide minerals, graphite, or other substances capable of accumulating electrical charge. With this method, it is possible not only to measure how well the rock conducts electricity but also to determine its capacity for polarization. This provides geophysicists with additional data to distinguish between rock types and construct a more accurate picture of the subsurface structure.
The key strength of the IP method is its sensitivity: it can detect anomalies that indicate the presence of valuable minerals, thereby refining the geological model of the rock mass. A recent study by Qi et al. (2025) showed how IP parameters can be linked to other geophysical characteristics when investigating the so-called Critical Zone—the near-surface layer of the Earth where the most active processes of water–mineral–biota interaction occur [9]. Such an approach allows for deeper insights into subsurface processes.
However, the method also has weaknesses: it requires more complex equipment, careful signal processing, and in dry or poorly saturated rocks the effect may be almost undetectable. Therefore, in underground mining conditions, the IP method does not always achieve its full potential.
The method was implemented in a modification of electrical sounding adapted to underground mine workings. It is based on a four-electrode measurement array in which electrodes A–B serve as current electrodes and electrodes M–N as potential electrodes. A characteristic feature of this approach is the condition (AB\gg MN), where the spacing between the current electrodes significantly exceeds the spacing between the measuring electrodes. In practical investigations, the ratio (AB/MN) is usually maintained within the range of 5–20, which ensures an appropriate balance between the depth of investigation and the accuracy of local potential difference measurements. Increasing the spacing between the current electrodes A–B promotes deeper penetration of the electric current into the rock mass, whereas the relatively small spacing between the potential electrodes M–N makes it possible to record local variations in the electrical field. If the M–N spacing is excessively large, measurement accuracy decreases; if it is too small, the sensitivity of the method is reduced.
In the present case, the spacing between the potential electrodes M–N was 5 m, whereas the spacing between the current electrodes A–B was varied successively and amounted to 50, 100, and 150 m. Such variation in the A–B spacing made it possible to investigate the rock mass at different depths, since the effective depth of investigation is approximately one-third of the distance between the current electrodes. Measurements were carried out in the conveyor drift, and, given the limitations associated with implementing the classical depth-sounding scheme under underground mine conditions, additional symmetrical observations were also performed in the ventilation drift. This made it possible to increase the informativeness of the acquired data and to provide a more reliable characterization of the distribution of electrical properties within the rock mass. Interpretation of the electrical sounding results obtained using the four-electrode A–B–M–N array showed that the distribution of the electrical field along the investigated section of the rock mass is heterogeneous, reflecting differences in the structure and physical condition of the rocks. The curve of potential difference variation, ΔU, clearly reveals a local anomaly within the interval between stations st5 and st8, where the values increase sharply relative to the background level. Considering the applied measurement scheme, in which increasing the spacing between the current electrodes A–B allows deeper parts of the rock mass to be involved in the investigation, while the small spacing between the potential electrodes M–N makes it possible to record local variations in the electrical field, this anomaly can be interpreted as a zone with altered electrical properties of the rocks. The increased ΔU values within Zone A indicate the presence of a section distinguished from the surrounding rock mass by its electrical conductivity, which may be associated with the development of fracturing, loosening, and possible moisture saturation of the rocks. The sharp rise in the curve at the entrance to the anomalous area and its subsequent decrease after passing the maximum indicate relatively distinct boundaries of the identified heterogeneity. In contrast to the background sections, characterized by a more stable signal level, the zone of anomalous response reflects a local disturbance in the continuity of the rock mass. The obtained results indicate the complex internal structure of the investigated area and confirm that the applied modification of electrical sounding makes it possible to identify potentially weakened zones associated with disturbance and changes in the rock condition, which is important for assessing the stability of mine workings and identifying potentially hazardous intervals. The measurement results are presented in Figure 5.

2.3. Electromagnetic Methods for Detecting Conductive Minerals and Metallic Structures

Electromagnetic (EM) methods are based on the principle that rocks respond differently to alternating electromagnetic fields. When such a signal is transmitted into the rock mass, it interacts with the medium: in some areas it passes freely, in others it attenuates, and in highly conductive zones it becomes strongly distorted. The nature of these variations allows the detection of hidden conductive objects, such as metal supports, cables, zones of sulfide mineralization, or coal seams [10]. This is particularly valuable in underground conditions, as it enables the rapid identification of local heterogeneities without drilling or other labor-intensive operations.
A key advantage of the EM method is its non-contact nature: it is sufficient to position antennas or coils and record the response. This simplifies fieldwork and improves safety, since complex installations are often impractical in mines and workings. The method is also highly sensitive, capable of detecting even small conductive bodies that may be difficult to recognize with other techniques.
However, the method also has limitations. In underground environments, the signal is often contaminated by noise: metal supports, cables, and operating machinery distort the electromagnetic field and complicate data interpretation. Another drawback is the limited depth of penetration: the deeper the target, the more the signal attenuates, reducing the likelihood of reliable detection. For this reason, electromagnetic surveys are more commonly used for local mapping and refining the position of known anomalies rather than for deep exploration.
Recent trends indicate that the potential of this approach is broader than previously assumed. For instance, the review by Vallée compiles numerous examples of magnetic and electromagnetic methods applied in mineral exploration [11]. The authors emphasize that in recent years, new technologies such as drone-based EM surveys have been actively implemented. These advances provide access to previously hard-to-reach areas, accelerate surveys, enhance safety, and most importantly, expand the range of geological tasks that can be addressed using such methods [12]. Thus, electromagnetic methods are no longer viewed merely as auxiliary techniques but are increasingly becoming an essential tool of integrated geophysical diagnostics.
To trace the intercepted fault, an electromagnetic method was implemented from the surface. The survey profiles were positioned above the disturbed zone, and the following procedure was applied: the transmitting line consisted of a current generator connected to a loop, while the receiving line included a receiver coil and a recording device. The size of the transmitting loop was 100 m. Measurements were carried out in volts at a spacing interval of 10 m. The electrode layout is shown in Figure 6, while the resulting 2D inversion, expressed in Ω·m, is presented in Figure 7.
Interpretation of the presented EMI intensity section shows that the investigated area is characterized by a strongly heterogeneous distribution of the electromagnetic response along the profile. The most pronounced anomaly is identified in the central part of the section, approximately within the interval of 50–145 m along the profile, where an elongated subhorizontal zone of increased signal intensity, represented by yellow, orange, and red colors, is clearly traced. The maximum development of this anomaly is observed in the middle part of the profile, approximately within the range of 80–130 m, which indicates the presence of a zone with altered electrophysical properties within the rock mass. Considering the nature of the electromagnetic method, such an anomaly may be associated with a disturbed section of the rock mass characterized by increased fracturing, loosening, and possible moisture saturation of the rocks. These conditions usually lead to an enhanced electromagnetic response and the formation of a distinct elongated anomaly on the section. The host rocks above and below the anomalous interval, as well as at the profile flanks, are mainly characterized by lower EMI intensity values, reflecting a more homogeneous and relatively undisturbed state of the rock mass. At the same time, local areas of increased signal are observed at the profile flanks, especially in its initial and final parts, which may be caused by edge effects, structural heterogeneity of the rock mass, or the presence of additional weakened zones. In general, the central elongated anomaly is interpreted as the zone of the intercepted fault above which the survey profiles were positioned. This interpretation is in good agreement with the results obtained by electrical methods, where contrast anomalies were also identified within disturbed intervals, reflecting changes in the state of the rocks. The obtained data indicate that the central part of the profile contains a potentially weakened zone of the rock mass that should be taken into account when assessing the stability of mine workings and predicting hazardous areas.
During the interpretation of geophysical data, special attention was paid to the influence of noise interference typical of underground mining conditions. The main sources of signal distortion were metallic support elements, power cables, operating machinery, ventilation equipment, and local electromagnetic interference. To reduce the influence of these factors, repeated measurements were carried out at control sections, and the obtained records were compared in order to identify stable anomalous manifestations. During data processing, only those anomalies that were reproducible during repeated observations and maintained spatial consistency with the geological structure of the site were taken into account. This approach made it possible to reduce the probability of false interpretation caused by technogenic interference and to increase the reliability of identifying disturbed zones within the rock mass.

3. Results

For the investigations, low-frequency electrical prospecting equipment SHERS-4, designed in an intrinsically safe configuration, was used. The set includes a measuring unit, a generator, EP-1 type contact electrodes, as well as a set of supply and receiving lines (Figure 8).
Electrical prospecting surveys were conducted at the Saranskaya mine along a profile consisting of 12 survey stations. Each station represented a separate observation point where current and potential electrodes were installed. For the measurements, the classical “dipole–dipole” configuration was chosen, as it is widely recognized as one of the most informative for studying local heterogeneities within the rock mass. Current was injected into the rock using the SHERS-4 system, while the potential electrodes recorded voltage variations resulting from current flow through the mass.
The work was carried out step by step. After installing the electrodes at each station, current was applied and the rock response was recorded [10,12]. The potential electrode pair was then moved further along the profile, allowing the entire interval to be “scanned” and a section of the rock mass’s electrical properties to be constructed. To minimize random errors, multiple measurements were performed at each point and the results were averaged. Special attention was given to electrode contact preparation: reliable connection with the rock was crucial for signal quality and stability [13,14,15]. Any weakening of contact could lead to noise or data distortion, making technical control at this stage particularly important.
During the survey, potential difference values (ΔU) were recorded. This parameter reflects the degree of resistance of the rock mass to electrical current flow [16]. Under normal conditions, the graph appeared relatively uniform: in homogeneous and weakly disturbed parts of the seam, the values remained stable and within the expected ranges. However, the first series of measurements already revealed pronounced variability in conductivity along the profile. The maximum ΔU amplitude exceeded 100 μV, which, under underground mining conditions, is a significant value and indicates the presence of zones with contrasting electrical properties.
The most pronounced anomaly—referred to as Zone A—was identified between survey stations 5 and 8. In this interval, the measured parameters deviated sharply from the background values: resistivity decreased significantly, while potential readings became less stable. Such a pattern is typically associated with structural disturbance of the rock mass and may indicate increased fracturing, local lithological variations, or the presence of a tectonic fault. In underground mining conditions, such zones are considered potentially hazardous, as they may affect the stability of workings, alter the gas-dynamic environment, or act as channels for groundwater filtration [14].
The results of the study made it possible to delineate background sections of the seam with stable characteristics and to localize an interval with a distinct anomaly, which was later confirmed during mining operations. It was established that the anomalous zone was associated with a tectonic disturbance. The electrical prospecting data were compared with seismic tomography results, which allowed the structure of the disturbance to be refined and improved the accuracy of geological condition forecasting [17,18].
The analysis of the relationship between potential difference and survey stations, shown in Figure 9, revealed that the most pronounced anomaly occurs within the interval of stations 5–8—designated as Zone A. In this segment, the potential values deviate significantly from the background level: rock resistivity decreases, and the curve acquires an unstable, “broken” character. On the graph, this is expressed as a sharp increase in the amplitude of ΔU, which exceeds 100 μV, followed by a decline. Such a configuration of the curve usually indicates not random noise but an actual change in rock mass properties, associated with increased fracturing, lithological variation, or the development of a tectonic disturbance [19].
It is important to note that the dynamics within Zone A differ from background behavior: while stable sections of the profile appear smooth and predictable, the interval between stations 5 and 8 demonstrates abrupt changes. This makes the section particularly indicative. In underground mining conditions, such zones cannot be overlooked, as they may reduce the stability of workings, affect the gas-dynamic situation, and serve as channels for groundwater infiltration [20].
The anomaly is also clearly expressed on the “depth–ΔU” diagram (Figure 10). In this case, the actual values are consistently higher than the calculated background trend, and the deviation persists throughout the entire interval. Such stability confirms that the effect is not caused by a local disturbance but represents a distinct geological feature.
A comparative analysis of the profile by survey stations and the depth section made it possible to delineate stable, “quiet” zones of the seam and to localize the interval with a pronounced anomaly. Its presence was later confirmed by mining operations and correlated with a tectonic disturbance. The comparison of electrical prospecting data with seismic tomography results further refined the geometry of the faults and improved the reliability of geological condition forecasting.
Seismic survey data were also used as part of the integrated geophysical investigation. The seismic work was carried out using an inter-workings transmission scheme, in which the source and receivers were placed in adjacent mine workings, making it possible to record the features of elastic wave propagation through the investigated section of the rock mass. This approach provided information on the distribution of rock velocity characteristics in the inter-workings space and made it possible to identify zones with altered physical and mechanical properties caused by disturbance, fracturing, loosening, or changes in the stress state of the rock mass. The results of the seismic measurements are presented in Figure 11.
After extraction of the given longwall panel, a comparative analysis of the electrical and seismic survey results was performed against the actual mining and geological conditions identified during roadway development. The comparison showed that the anomalous zones identified by the geophysical methods were generally in good agreement with the disturbances actually exposed in the rock mass, and the degree of interpretation agreement was about 80%. This indicates a sufficiently high reliability of the applied integrated approach for predicting disturbed zones.
At the same time, the electrical methods proved effective for identifying contrast zones with altered electrophysical properties, which made it possible to preliminarily delineate areas of expected disturbance and weakening within the rock mass. In turn, the seismic survey provided a higher level of detail regarding the structure of individual elements of the disturbance, making it possible to refine their position, geometry, and internal structure. This allowed not only the general disturbed zone to be identified more confidently, but also its local components, including highly fractured areas, loosening zones, and the probable boundaries of individual blocks [11].
The combined use of electrical and seismic methods therefore demonstrated high informativeness in the investigation of the rock mass under underground mining conditions. The electrical survey ensured reliable identification of anomalous sections through changes in the electrical properties of the rocks, whereas the seismic survey made it possible to detail their internal structure and refine the geometric parameters of the disturbance. The obtained results confirm the expediency of integrated application of these methods in order to improve the reliability of geological disturbance prediction and the assessment of potentially hazardous zones within extraction areas.

4. Discussion

Analysis of the potential difference distribution showed that the identified local anomalies are not random deviations but reflect the complex internal structure of the rock mass. Their detection underscores the need for an integrated approach to assessing the stress state of rocks. As noted by Wang, the accumulation of critical stresses in the Earth’s crust can provoke not only rock bursts but also induced seismic phenomena [21]. This conclusion is particularly important for the interpretation of the identified Zone A, since such local disturbances may serve as stress concentrators and become sources of hazardous dynamic processes. In this sense, the results of electrical prospecting align with the general concept of the stress state of the rock mass, while the anomalous zone itself requires special attention during further mining operations.
Modern geophysical practice confirms the effectiveness of using electrical prospecting methods to identify such zones. Arai (2021) demonstrated that combining electrical and electromagnetic approaches allows refining the boundaries of geological faults and confidently localizing mineralization zones [22]. The observed anomaly fully corresponds to this logic: the spatial confinement of deviations to a specific profile interval indicates the tectonic nature of the identified object. Thus, our data fit organically into the global experience of applying electrical prospecting methods in structurally complex geological settings.
The practical aspect is equally important. As shown by Liu Chunlin et al. (2024), the use of geophysical methods in Chinese coal basins makes it possible not only to identify hazardous zones but also to assess the potential for sustainable methane extraction [23]. By analogy, it can be argued that anomalies of the Zone A type have a dual meaning: on the one hand, they mark potentially dangerous zones in terms of rock mass stability, and on the other, they may indicate areas of increased gas content, opening prospects for their economic utilization. This approach shifts the very perspective of analysis: instead of treating anomalies exclusively as threats, they can also be interpreted as indicators of resources.
Comparison with models developed by Gong Yu-Fei and colleagues (2023) allows for an even deeper understanding of the physical nature of anomalous zones [24]. These authors demonstrated that areas of reduced resistivity are closely linked to changes in the mechanical properties of coal and host rocks. Our results confirm this pattern: the interval with maximum ΔU deviations coincides with presumed zones of tectonic disturbance and increased fracturing. Thus, experimental data and theoretical models complement each other, creating a more comprehensive picture of the geomechanical features of the studied site.
Comparison with contemporary international research also demonstrates the consistency of approaches. For instance, Wang et al. (2022), in their case study of coal deposits in Northeastern China, showed that the integration of various geophysical methods—magnetotellurics, CSAMT, and aeromagnetic surveys—makes it possible to confidently identify deep structures [25]. Unlike their work, which focused on a regional scale, our methodology is oriented toward a detailed study of local anomalies in underground conditions. But together, these two approaches illustrate an important trend: maximum effectiveness is achieved by combining deep and local methods.
Assemov et al. (2024), in their monitoring of an earth dam in Kazakhstan, showed that electrical methods are extremely sensitive to local heterogeneities [26]. Their results in engineering–hydrogeological tasks resonate with our observations in mining conditions: in both cases, recording ΔU as an indicator of conductivity changes plays a key role.
It is also interesting to compare with the studies of Li et al. (2024), where a combination of ERT, MRS, and SP was applied to monitor groundwater in coal mining areas [27]. Their approach showed that even relatively weak anomalies in the distribution of electric potentials can precisely indicate zones of increased moisture or water saturation. In our case, ΔU also acts as a sensitive indicator, but in relation to tectonic disturbances.
The review by Liu et al. (2024) emphasizes the importance of geophysical research for the sustainable development of abandoned mines and shows that zones with contrasting electrical properties should be prioritized for study [23]. This once again confirms the importance of identifying Zone A and similar areas. Finally, Yu et al. (2022) highlight the difficulties of interpreting hydrogeological structures in coal mines and the need to combine different methods [28], which directly correlates with our practice of integrating electrical prospecting and seismic tomography.
Overall, the combination of literature data and the results obtained allows us to conclude that local zones with pronounced electrical anomalies perform a dual function. On the one hand, they increase geodynamic risks, creating threats to safe mining operations. On the other hand, such zones are of interest for resource geoenergetics, as they are associated with increased fracturing and gas saturation. This dual significance makes their study particularly important and requires not only their identification but also a comprehensive analysis using various geophysical methods.

5. Conclusions

The conducted study has demonstrated that mine geophysics is capable of addressing key diagnostic tasks of the geological environment under conditions of underground mining and serves as a fundamental tool for improving industrial safety. The application of a combined set of methods—electrical prospecting and mine seismics—made it possible not only to identify zones of tectonic disturbances but also to significantly enhance the accuracy of constructing the geological–geophysical model of coal seams and host rocks. A specific case study showed that integrating data on the distribution of rock mass conductivity with seismic observations provides a holistic and multidimensional view of the internal structure of the mass, which is especially important for coal basins characterized by high geodynamic activity.
Electrical prospecting methods confirmed their exceptional sensitivity to changes in the medium’s conductivity. Recording anomalies in ΔU allowed the localization of zones associated with tectonic faults, fractured areas, and local lithological heterogeneities. An important result is that electrical data not only reflect the current state of the rock mass but also indirectly indicate stress accumulation. Seismic surveys, in turn, reliably delineated structural boundaries and deep anomalies, which made it possible to refine the spatial confinement of risk zones. Taken together, both methods demonstrated a high degree of complementarity and confirmed the necessity of their integration when solving problems of underground geophysics.
The study revealed several technical limitations, including the need for equipment calibration when the lithological composition of the mass changes, as well as the influence of noise and interferences inherent to mine conditions. However, these limitations do not reduce the overall significance of the findings and can be minimized through advances in signal processing, the use of adaptive filters, and the integration of geophysical systems with digital twin technologies for mining enterprises. A promising direction involves the development of automated interpretation algorithms based on machine learning methods, which will improve processing speed and forecasting reliability.
Future research prospects include expanding the geographic scope of observations to other coal basins of Kazakhstan and neighboring countries, as well as adapting the methodology to deposits with varying degrees of metamorphism, fracturing, and gas content. Incorporating additional methods (GPR, microseismic monitoring, and induced polarization techniques) into the workflow will help create a more universal system of diagnosis and prediction of rock mass conditions. Importantly, the development of integrated approaches that account for electrical, seismic, and hydrogeological parameters paves the way for building a systemic geophysical monitoring framework capable of not only recording the current state of the rock mass but also predicting its behavior over time.
The results of the study confirm that the integrated use of mine geophysics methods is an effective tool for detailed investigation of the geological structure of coal deposits, improving the accuracy of hazardous zone prediction, and minimizing operational risks. This work demonstrates that the integration of electrical prospecting and seismic methods not only strengthens the scientific understanding of processes within the rock mass but also provides a solid foundation for industrial implementation aimed at improving safety, reducing costs, and ensuring the sustainable development of the coal industry.

Author Contributions

Conceptualization, N.Z. and D.A.; Methodology, D.A. and A.S.; Software, N.G.; Validation, R.M. and K.S.; Formal Analysis, D.A. and N.I.; Investigation, D.A. and A.S.; Data Curation, N.G. and N.I.; Visualization, N.G.; Writing—Original Draft Preparation, D.A.; Writing—Review & Editing, N.Z., R.M. and K.S.; Supervision, N.Z.; Project Administration, R.M.; Funding Acquisition, N.Z. All authors have read and agreed to the published version of the manuscript.

Funding

This research was supported by the Science Committee of the Ministry of Science and Higher Education of the Republic of Kazakhstan as part of the program-targeted funding for the implementation of the scientific and scientific-technical program IRN BR24992803 «Development of a rational mining technology based on the impact on the anthropogenic state of the host rock mass».

Data Availability Statement

The original contributions presented in this study are included in the article. Further inquiries can be directed to the corresponding authors.

Conflicts of Interest

The authors declare no conflicts of interest.

References

  1. Zhang, H.; Li, G.; Xu, Y.; Zhang, K.; Li, M. Mechanism and application of reaming anchorage of inverted wedge-shaped hole bottom in argillaceous cemented roadway. Sci. Rep. 2026, 16, 5094. [Google Scholar] [CrossRef]
  2. Zhu, D.; Griffiths, D.V.; Fenton, G.A.; Huang, J. Probabilistic stability analyses of two-layer undrained slopes. Comput. Geotech. 2025, 182, 107178. [Google Scholar] [CrossRef]
  3. Yaroslavtsev, A.G.; Klestov, I.M. Features of processing mine seismology data for P- and S-wave separation. Eng. Min. Geophys. 2020, 3, 101–106. (In Russian) [Google Scholar] [CrossRef]
  4. Liu, F.; Wang, Y.; Kou, M.; Liang, C. Applications of Microseismic Monitoring Technique in Coal Mines: A State-of-the-Art Review. Appl. Sci. 2024, 14, 1509. [Google Scholar] [CrossRef]
  5. Ge, M. Efficient mine microseismic monitoring. Int. J. Coal Geol. 2005, 64, 44–56. [Google Scholar] [CrossRef]
  6. Małkowski, P.; Niedbalski, Z. A comprehensive geomechanical method for the assessment of rockburst hazards in underground mining. Int. J. Min. Sci. Technol. 2020, 30, 345–355. [Google Scholar] [CrossRef]
  7. Chlebowski, D.; Burtan, Z. Geophysical and analytical determination of overstressed zones in exploited coal seam: A case study. Acta Geophys. 2021, 69, 701–710. [Google Scholar] [CrossRef]
  8. Zhou, B.; Guo, H. Applications of Geophysical Logs to Coal Mining—Some Illustrative Examples. Resources 2020, 9, 11. [Google Scholar] [CrossRef]
  9. Qi, Y.; Wu, Y. Revisiting the Relationship Between Induced Polarization and Surface Conductivity: Ratios from Laboratory to Field. J. Geophys. Res. Solid Earth 2025, 130, e2024JB030406. [Google Scholar] [CrossRef]
  10. Wang, P.; Li, F.; Lu, K.; Huang, W. Detection of water-rich areas and seepage channels via transient electromagnetic surveys, electrical resistivity tomography, and self-potential measurements in the Xiaogangou Coal Mine, Xinjiang, China. Sci. Rep. 2025, 15, 15905. [Google Scholar] [CrossRef]
  11. Vallée, M.A.; Moussaoui, M.; Khan, K. Case Studies of Magnetic and Electromagnetic Techniques Covering the Last Fifteen Years. Minerals 2024, 14, 1286. [Google Scholar] [CrossRef]
  12. Sadchikov, A.V.; Zamaliyev, N.M.; Akhmatnurov, D.R.; Musin, R.A.; Ganyukov, N.Y. Application of Underground Geophysical Methods for Solving Mining and Geological Problems. Gorn. Informatsionno-Anal. Byulleten 2025, 6, 109–124. [Google Scholar] [CrossRef]
  13. Li, S.; Liu, B.; Nie, L.; Liu, Z.; Tian, M.; Wang, S.; Su, M.; Guo, Q. Detecting and monitoring of water inrush in tunnels and coal mines using direct current resistivity method: A review. J. Rock Mech. Geotech. Eng. 2015, 7, 469–478. [Google Scholar] [CrossRef]
  14. Sun, M.; Ou, J.; Li, T.; Cao, C.; Liu, R. Application of Electrical Resistivity Tomography (ERT) in detecting abandoned mining tunnels along expressways. Appl. Sci. 2025, 15, 2289. [Google Scholar] [CrossRef]
  15. Zhang, J.; Yang, C.; Liu, S.; Li, C. Detection of geological anomalies in coal mining working faces via DC resistivity technique. J. Pet. Geosci. 2023, 13, 1299–1313. [Google Scholar] [CrossRef]
  16. Yang, Y.; Zhao, C.; Di, Y.; Li, Q. Geological exploration of coal mine burnt rock and water accumulation areas using transient electromagnetic and high-density resistivity methods: A case study in Jiangjun Gobi No. 1 open-pit coal mine. Sci. Rep. 2024, 14, 5105. [Google Scholar] [CrossRef]
  17. Zhu, C.; Zhu, G.; Gong, Y.; Zhang, L. Monitoring of overlying aquifer water richness in coal mining by the time-lapse electrical method. Energies 2024, 17, 1946. [Google Scholar] [CrossRef]
  18. Pace, F.; Vergnano, A.; Godio, A.; Romano, G.; Capozzoli, L.; Baneschi, I.; Doveri, M.; Santilano, A. A new repository of electrical resistivity tomography and related datasets for subsurface imaging. Earth Syst. Sci. Data 2024, 16, 3171–3192. [Google Scholar] [CrossRef]
  19. Rupesh, R.; Tiwari, P.; Sharma, S.P. Estimation of geotechnical parameters for coal reserves using resistivity data: Quasi-3D ERT study. Minerals 2024, 14, 102. [Google Scholar] [CrossRef]
  20. Chen, D.; Wang, X.; Bai, J.; Chu, Y.; Wang, X.; Zhao, J.; Li, M. An overview of ahead geological detection technologies in mining operations: Electric potential, resistivity, and seismic wave applications. Geod. Geophys. 2025, 58, 2503240. [Google Scholar] [CrossRef]
  21. Wang, N.; Wang, Z.; Sun, Q.; Hui, J. Coal Mine Goaf Interpretation: Survey, Passive Electromagnetic Methods and Case Study. Minerals 2023, 13, 422. [Google Scholar] [CrossRef]
  22. Arai, E. Modern geophysical methods for metal exploration. Geol. Ore Depos. 2021, 71, 470–491. [Google Scholar] [CrossRef]
  23. Liu, C.; Li, G.; Yu, C. Geophysical exploration methods and sustainable utilization of coalbed methane in abandoned mines of Shanxi Province. Sustainability 2024, 16, 2677. [Google Scholar] [CrossRef]
  24. Gong, Y.-F.; Zhu, C.-Y.; Zhu, G.-W. Analysis of physical parameters of coal- and rock-like materials based on constructing geophysical models of mines. Appl. Geophys. 2023, 20, 116–120. [Google Scholar] [CrossRef]
  25. Wang, K.; Ge, X.; Ning, J.; Li, J.; Zhao, X. Multidisciplinary geophysical investigations over deep coal-bearing strata: A case study in Yangjiazhangzi, Northeast China. Energies 2022, 15, 5689. (In English) [Google Scholar] [CrossRef]
  26. Assemov, K.; Akhmetov, Y.; Orazov, D. Application of electrical prospecting methods for monitoring the condition of an earth dam in the Almaty Region of Kazakhstan. Infrastructures 2024, 9, 163. [Google Scholar] [CrossRef]
  27. Li, K.; Yan, J.; Li, F.; Lu, K.; Yu, Y.; Li, Y.; Zhang, L.; Wang, P.; Li, Z.; Yang, Y.; et al. Non-invasive geophysical methods for monitoring subsurface water content in coal mining areas: Integration of ERT, MRS, and SP techniques. Sci. Rep. 2024, 14, 7320. (In English) [Google Scholar] [CrossRef]
  28. Yu, C.; Chen, W.; Zhang, X.; Lei, K. Review and challenges in the geophysical mapping of coal mine water structures. J. Geosci. 2022, 2022, 4578072. [Google Scholar] [CrossRef]
Figure 1. Multi-Electrode Geophysical resistivity Meter.
Figure 1. Multi-Electrode Geophysical resistivity Meter.
Applsci 16 03303 g001
Figure 2. SHERS-4 mine electric exploration station.
Figure 2. SHERS-4 mine electric exploration station.
Applsci 16 03303 g002
Figure 3. Layout of current and potential electrodes in the conveyor and ventilation drifts.
Figure 3. Layout of current and potential electrodes in the conveyor and ventilation drifts.
Applsci 16 03303 g003
Figure 4. Interpreted section of the electrical resistivity distribution in the rock mass.
Figure 4. Interpreted section of the electrical resistivity distribution in the rock mass.
Applsci 16 03303 g004
Figure 5. Distribution of potential difference ΔU along the investigated section of the conveyor drift and identification of anomalous Zone A.
Figure 5. Distribution of potential difference ΔU along the investigated section of the conveyor drift and identification of anomalous Zone A.
Applsci 16 03303 g005
Figure 6. Layout of the transmitting and receiving lines for the surface electromagnetic survey over the fault zone.
Figure 6. Layout of the transmitting and receiving lines for the surface electromagnetic survey over the fault zone.
Applsci 16 03303 g006
Figure 7. Interpretation section of EMI intensity along the profile across the intercepted fault zone.
Figure 7. Interpretation section of EMI intensity along the profile across the intercepted fault zone.
Applsci 16 03303 g007
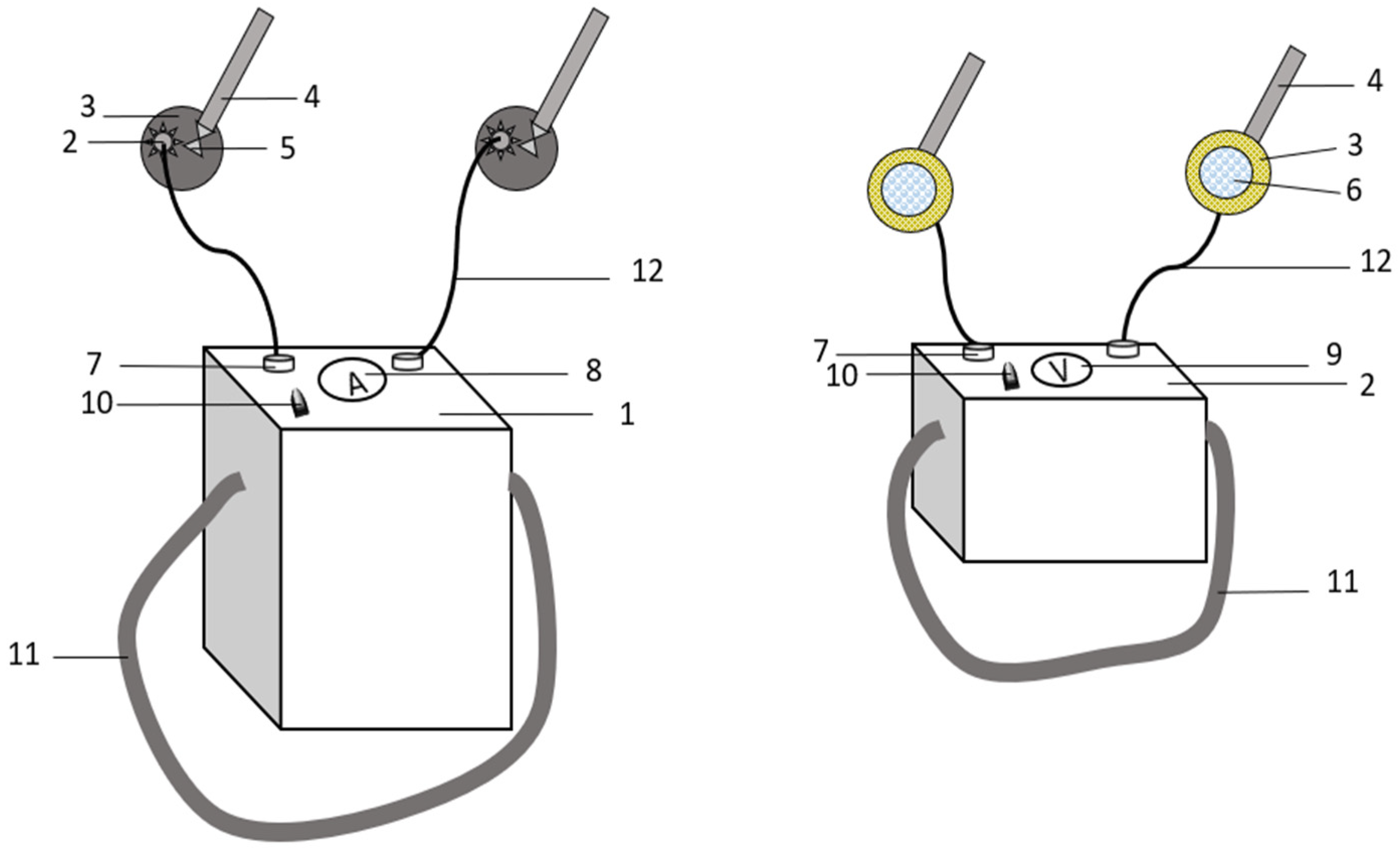
Figure 8. Design of the Electrical Prospecting Station. 1—generator, 2—recording unit, 3—metal casing, 4—handle, 5—hinge, 6—porous material, 7—terminals, 8—ammeter, 9—voltmeter, 10—toggle switch, 11—shoulder strap, 12—connecting wires.
Figure 8. Design of the Electrical Prospecting Station. 1—generator, 2—recording unit, 3—metal casing, 4—handle, 5—hinge, 6—porous material, 7—terminals, 8—ammeter, 9—voltmeter, 10—toggle switch, 11—shoulder strap, 12—connecting wires.
Applsci 16 03303 g008
Figure 9. Dependence of potential difference on survey stations.
Figure 9. Dependence of potential difference on survey stations.
Applsci 16 03303 g009
Figure 10. Dependence of depth on potential difference.
Figure 10. Dependence of depth on potential difference.
Applsci 16 03303 g010
Figure 11. Seismic tomography section of the disturbed zone identified between mine workings. The upper part of the figure represents the receiving points, while the lower part shows the excitation points. The illustrated lines correspond to the propagation and interaction of waves between these points.
Figure 11. Seismic tomography section of the disturbed zone identified between mine workings. The upper part of the figure represents the receiving points, while the lower part shows the excitation points. The illustrated lines correspond to the propagation and interaction of waves between these points.
Applsci 16 03303 g011
Disclaimer/Publisher’s Note: The statements, opinions and data contained in all publications are solely those of the individual author(s) and contributor(s) and not of MDPI and/or the editor(s). MDPI and/or the editor(s) disclaim responsibility for any injury to people or property resulting from any ideas, methods, instructions or products referred to in the content.

Share and Cite

MDPI and ACS Style

Zamaliyev, N.; Sadchikov, A.; Akhmatnurov, D.; Mussin, R.; Skrzypkowski, K.; Ganyukov, N.; Issina, N. Integrated Mine Geophysics for Identifying Zones of Geological Instability. Appl. Sci. 2026, 16, 3303. https://doi.org/10.3390/app16073303

AMA Style

Zamaliyev N, Sadchikov A, Akhmatnurov D, Mussin R, Skrzypkowski K, Ganyukov N, Issina N. Integrated Mine Geophysics for Identifying Zones of Geological Instability. Applied Sciences. 2026; 16(7):3303. https://doi.org/10.3390/app16073303

Chicago/Turabian Style

Zamaliyev, Nail, Alexander Sadchikov, Denis Akhmatnurov, Ravil Mussin, Krzysztof Skrzypkowski, Nikita Ganyukov, and Nazym Issina. 2026. "Integrated Mine Geophysics for Identifying Zones of Geological Instability" Applied Sciences 16, no. 7: 3303. https://doi.org/10.3390/app16073303

APA Style

Zamaliyev, N., Sadchikov, A., Akhmatnurov, D., Mussin, R., Skrzypkowski, K., Ganyukov, N., & Issina, N. (2026). Integrated Mine Geophysics for Identifying Zones of Geological Instability. Applied Sciences, 16(7), 3303. https://doi.org/10.3390/app16073303

Note that from the first issue of 2016, this journal uses article numbers instead of page numbers. See further details here.

Article Metrics

Back to TopTop