Safety Design of Rotary Drilling Rig Mast Based on Multi-Condition Analysis
Abstract
1. Introduction
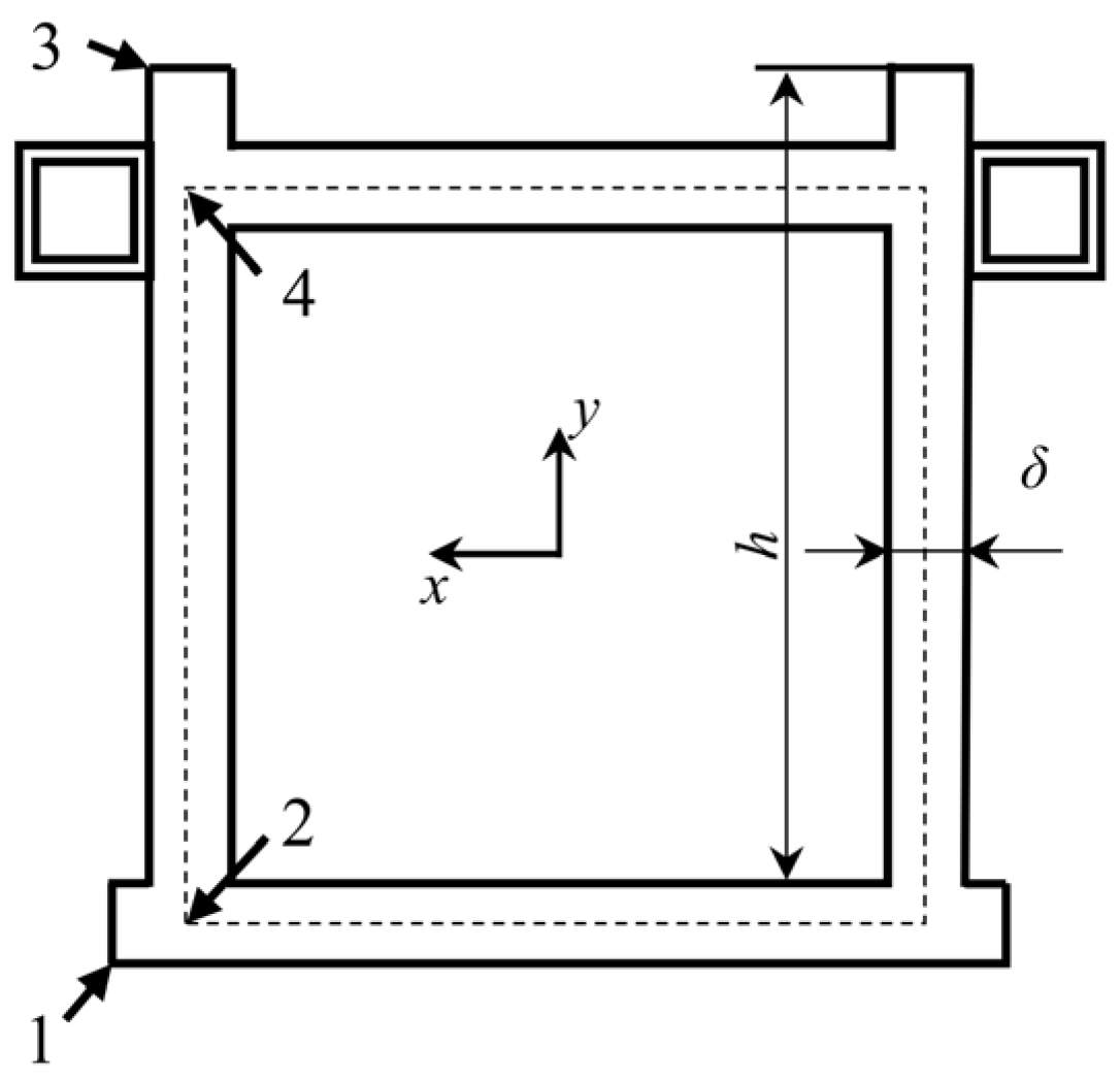
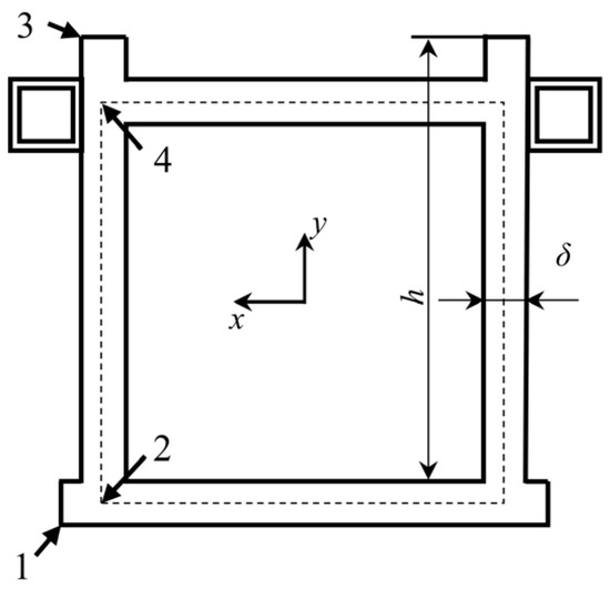
2. Classification of Working Conditions and Structural Mechanics Model
2.1. Classification of Operating Conditions
2.2. Mechanical Model
2.2.1. Drilling Mechanical Model
2.2.2. Lifting Mechanical Model
2.3. Load-Bearing Capacity Analysis
2.3.1. Strength Analysis
- Drilling Model
- Lifting Model
2.3.2. Stiffness Analysis
2.3.3. Overall Stability
2.3.4. Fatigue Strength
3. Fuzzy Comprehensive Evaluation
3.1. Evaluation System
3.2. Quantification Mechanism of Safety Indicators
3.3. Method of Weight Assignment
3.3.1. Analytic Hierarchy Process
3.3.2. CRITIC Method
- First, construct the evaluation matrix. Supposing there are several elements and multiple evaluation indicators, an evaluation matrix can be constructed based on this information, as shown in Equation (14).
- 2.
- Next, perform standardization on the input matrix as shown in Equation (15), denoted as the standard matrix. This operation normalizes the original matrix into a standardized form.
- 3.
- Finally, based on the standardized matrix, calculate the standard deviation sj of each indicator (see Equation (16)), the correlation coefficient rij between each pair of indicators (see Equation (17)), and the potential conflict indicator ej (see Equation (18)). The weight of each indicator can then be calculated as shown in Equation (19).
3.3.3. Weight Combination
3.4. Comprehensive Safety Evaluation
4. Optimization Model and Algorithm
4.1. Optimization Model
4.2. Improved Salp Swarm Algorithm
5. Engineering Application
5.1. Load-Bearing Capacity Check and Safety Score
5.2. Optimization Results
6. Conclusions
- This study developed a safety evaluation system for rotary drilling rig masts which quantifies the safety score of a mast and provides a scientific basis for its design safety evaluation. The system comprehensively considers multiple factors such as strength, stiffness, stability, and fatigue, providing a holistic reflection of the mast’s safety performance.
- By incorporating safety evaluation as a constraint in the optimization design, compared to conventional optimization methods, although there is a slight increase in weight (7.3%), the safety performance is significantly improved, with the safety score increasing by 14.74%. This design approach not only meets the lightweight requirements but also ensures the structural safety of the mast, enhancing safety assurance and providing a more reliable optimization solution for the rotary drilling rig mast design. Through this optimization method, a good balance between safety and lightweight can be achieved while maintaining economic feasibility.
Author Contributions
Funding
Institutional Review Board Statement
Informed Consent Statement
Data Availability Statement
Conflicts of Interest
References
- Wang, Y.; Ma, C.; Wang, C.; Zhang, H.; Fan, S. Characteristics analysis and optimization design of bridge crane based on improved particle swarm optimization algorithm. J. Low Freq. Noise Vib. Act. Control 2023, 42, 253–271. [Google Scholar] [CrossRef]
- Qi, Q.; Xu, H.; Xu, G.; Dong, Q.; Xin, Y. Comprehensive research on energy-saving green design scheme of crane structure based on computational intelligence. AIP Adv. 2021, 11, 075314. [Google Scholar] [CrossRef]
- Yu, Y.; Liu, Z.; Lu, Y.; Zhang, P.; Liu, H. Optimal design of main girder structure of bridge crane based on equal life concept driven by data. J. Mech. Sci. Technol. 2023, 37, 4767–4786. [Google Scholar] [CrossRef]
- Ren, Y.; Liu, X.; Wang, B. Mass Optimization of Crane Box Girder Considering Both Ribs and Diaphragms using APDL. Int. J. Steel Struct. 2024, 24, 672–692. [Google Scholar] [CrossRef]
- Qu, X.; Xu, G.; Fan, X.; Bi, X. Intelligent optimization methods for the design of an overhead travelling crane. Chin. J. Mech. Eng. 2015, 28, 187–196. [Google Scholar] [CrossRef]
- Dörterler, M.; Şahin, İ.; Gökçe, H. A grey wolf optimizer approach for optimal weight design problem of the spur gear. Eng. Optim. 2019, 51, 1013–1027. [Google Scholar] [CrossRef]
- Li, Y.; Xiang, D.; Li, Q.; Wang, J. Research and application on rapidly lightweight design system of cranes. J. Mech. Eng. 2018, 54, 205–213. [Google Scholar] [CrossRef]
- Kulka, J.; Mantič, M.; Grega, R.; Siman, M.; Kopas, M.; Maláková, S. Optimisation of Box Girder Design of Overhead Cranes. Appl. Sci. 2024, 14, 9926. [Google Scholar] [CrossRef]
- Okasha, N.M. System reliability based multi-objective design optimization of bridges. Struct. Eng. Int. 2016, 26, 324–332. [Google Scholar] [CrossRef]
- Wang, M.; Beeh, E.; Höfer, A.; Friedrich, H. Function integration for lightweight chassis based on axiomatic design and design structure matrix. Int. J. Automot. Technol. 2018, 19, 969–979. [Google Scholar] [CrossRef]
- Zhu, Z.; Luo, Y.; Xiao, H.; Xiong, C.; Chen, C. Research on the crane safety assessment method based on the cloud model and ICWGT. Appl. Sci. 2022, 12, 4399. [Google Scholar] [CrossRef]
- Sadeghi, S.; Soltanmohammadlou, N.; Rahnamayiezekavat, P. A systematic review of scholarly works addressing crane safety requirements. Saf. Sci. 2021, 133, 105002. [Google Scholar] [CrossRef]
- Li, A.; Zhao, Z. Crane safety assessment method based on entropy and cumulative prospect theory. Entropy 2017, 19, 44. [Google Scholar] [CrossRef]
- Li, A.; Zhao, Z. An improved model of variable fuzzy sets with normal membership function for crane safety evaluation. Math. Probl. Eng. 2017, 2017, 3190631. [Google Scholar] [CrossRef]
- Barozzi, G.; Cosentino, N.; Lanzoni, L.; Tarantino, A. Safety assessment of historic timber structural elements. Case Stud. Constr. Mater. 2018, 8, 530–541. [Google Scholar] [CrossRef]
- Ruud, S.; Mikkelsen, Å. Risk-based rules for crane safety systems. Reliab. Eng. Syst. Saf. 2008, 93, 1369–1376. [Google Scholar] [CrossRef]
- Zhang, M.; Huang, C.; Chen, K.; Liu, J.; Gan, Y.; Zhao, J. Research on Safety Evaluation of Quayside Container Crane Metal Structure Based on 04-FCE. J. Phys. Conf. Ser. 2019, 1345, 032034. [Google Scholar] [CrossRef]
- He, M. Fatigue Analysis for the Mast of Rotary Drilling Rig Based on ANSYS. Master’s Thesis, Xi’an University of Architecture and Technology, Xi’an, China, 2017. [Google Scholar]
- Kang, H.-M.; He, Q.-H.; Xie, S.-Y.; Zhu, J.-X. Mechanics analysis of rotary drilling rig under drilling-bucket-lifting conditions. Eng. Mech. 2010, 27, 214–218. [Google Scholar]
- Qian, W. Edge detection in x-ray images of drill mast welds based on an improved Scharr operator. Weld. Int. 2024, 38, 574–581. [Google Scholar] [CrossRef]
- Dong, Q.; Xu, G.; Ren, H.; Wang, A. Fatigue remaining life estimation for remanufacturing truck crane Jib structure based on random load spectrum. Fatigue Fract. Eng. Mater. Struct. 2017, 40, 706–731. [Google Scholar] [CrossRef]
- Zhan, H. FEA of the Leader of the Rotating Drilling Rigsand Probe into the Reliability. Master’s Thesis, Daqing Petroleum University, Daqing, China, 2005. [Google Scholar]
- GB/T 3811-2008; Design Rules for Cranes. National Standards of the People’s Republic of China: Beijing, China, 2008.
- Xu, G. Design of Metal Structure for Mechanical Equipment, 3rd ed.; China Machine Press: Beijing, China, 2018. [Google Scholar]
- Yang, H.; Ren, Y.; Xu, G. Optimization of Rotary Drilling Rig Mast Structure Based on Multi-Dimensional Improved Salp Swarm Algorithm. Appl. Sci. 2024, 14, 10040. [Google Scholar] [CrossRef]
- Akter, M.; Jahan, M.; Kabir, R.; Karim, D.S.; Haque, A.; Rahman, M.; Salehin, M. Risk assessment based on fuzzy synthetic evaluation method. Sci. Total Environ. 2019, 658, 818–829. [Google Scholar] [CrossRef] [PubMed]
- Jiskani, I.M.; Cai, Q.; Zhou, W.; Lu, X. Assessment of risks impeding sustainable mining in Pakistan using fuzzy synthetic evaluation. Resour. Policy 2020, 69, 101820. [Google Scholar] [CrossRef]
- Jingwen, L.; Jiangang, Q.; Yuanming, D.; Xu, F.; Xiaoli, L. Safety Evaluation Method of Antifloating Anchor System Based on Comprehensive Weighting Method and Gray-Fuzzy Theory. Math. Probl. Eng. 2020, 2020, 3216948. [Google Scholar] [CrossRef]
- Zhang, Q.; Liu, C.; Guo, S.; Wang, W.; Luo, H.; Jiang, Y. Evaluation of the rock burst intensity of a Cloud Model based on the CRITIC method and the Order Relation Analysis Method. Min. Metall. Explor. 2023, 40, 1849–1863. [Google Scholar] [CrossRef]
- He, B.; Zhao, Z.; Qiu, F. Overhead crane bridge structure design optimization based on safety assessment. Proc. Inst. Mech. Eng. Part E J. Process Mech. Eng. 2024. [Google Scholar] [CrossRef]









| Labels | Working Condition | Clarification |
|---|---|---|
| B1 | Drilling Condition | The working principle of the rotary drilling rig under the drilling condition is as follows: the power head provides torque to the drill rod and drill bit, while the pressure cylinder applies downward force, enabling the drill rod and bit to penetrate the ground and advance drilling operations [19]. |
| B2 | Out-of-Hole Lifting Condition | The working principle of the rotary drilling rig under the lifting condition outside the hole is as follows: the main hoist lifts the drill rod and bit to the ground surface, while the weight of the power head is supported by the pressure cylinder [19]. |
| B3 | In-Hole Lifting Condition | The working principle of the rotary drilling rig under the in-hole lifting condition is as follows: the main hoist incrementally lifts the drill rod and bit within the borehole using a wire rope. |
| B4 | Dumping Condition | The working principle of the rotary drilling rig in the dumping condition is as follows: the power head drives the drill rod in alternating forward and reverse rotations to release the soil. |
| B5 | Shaking Condition | The working principle of the rotary drilling rig in the shaking condition is as follows: the main hoist undergoes continuous start-stop cycles, allowing the drill rod and bit to move up and down. This process utilizes inertia to release soil from the drill. |
| B6 | Traveling Condition | The working principle of the rotary drilling rig in the walking condition is as follows: the drill rod is fully retracted and the mast is raised to its upper position, allowing the rig to move to the next drilling site. |
| B7 | Rotation Condition | The working principle of the rotary condition is as follows: the drill rod is retracted and the upper structure of the rig rotates relative to the chassis. |
| Force | Constraint | ||
|---|---|---|---|
| the weight of the mast | GM | the large disc is fixed at the hinge support | FOz |
| the rotary disk’s deadweight | GRD | ||
| the main pulley frame | GMPF | FOy | |
| the back wheel’s deadweight | GBW | ||
| the torque of the power head | MPH | the inclined cylinder is connected via a movable hinge | FMLC |
| the pressure cylinder pressurization | FPCP | ||
| the wind load | Fw | ||
| Force | Constraint | ||
|---|---|---|---|
| the weight of the mast | GM | the large disc is fixed at the hinge support | FOz |
| the rotary disk’s deadweight | GRD | ||
| the main pulley frame | GMPF | FOy | |
| the back wheel’s deadweight | GBW | ||
| the self-weight of the power head | GPH | the inclined cylinder is connected via a movable hinge | FMLC |
| the self-weight of the pressurized cylinder | GPC | ||
| the wind load | Fw | ||
| the lifting force of the main winch | FT | ||
| Section | Stress Categories | Formula | Point 1 | Point 2 | Point 3 | Point 4 |
|---|---|---|---|---|---|---|
| Critical Section | Normal Stress | (1) | √ | √ | √ | √ |
| Constrained Bending Normal Stress | √ | √ | ||||
| Constrained Torsional Normal Stress | √ | √ | ||||
| Bending Shear Stress | (2) | √ | √ | |||
| Torsional Shear Stress | (3) | √ | √ |
| Section | Stress Categories | Formula | Point 1 | Point 2 | Point 3 | Point 4 |
|---|---|---|---|---|---|---|
| Critical Section | Normal Stress | (6) | √ | √ | √ | √ |
| Constrained Bending Normal Stress | √ | √ | ||||
| Bending Shear Stress | (2) | √ | √ |
| Static Strength | Poor Value | Medium Value | Good Value | Excellent Value |
| Stiffness | ||||
| Overall Stability | ||||
| Fatigue Strength |
| Poor | Fair | Good | Excellent |
|---|---|---|---|
| Scale | Implication |
|---|---|
| 1 | Equally important |
| 3 | Slightly more important |
| 5 | Significantly more important |
| 7 | Very important |
| 9 | Extremely important |
| Number of Indicators | 3 | 4 | 5 | 6 | 7 |
|---|---|---|---|---|---|
| 0.539 | 0.916 | 1.143 | 1.292 | 1.375 |
| Name | Formula | Descriptive | |
|---|---|---|---|
| 1 | Variable upper and lower bound constraints | The variables can take values within the specified upper and lower bounds. | |
| 2 | Strength | The stress under the maximum loading condition must be less than the stress limit. | |
| 3 | Stiffness | The maximum slenderness ratio must be less than the allowable slenderness ratio. | |
| 4 | Overall stability | The overall stability must be less than the allowable limit value. | |
| 5 | Fatigue Strength | The maximum range of calculated design stress must be less than the range of the design stress limit. | |
| 6 | Safety evaluation | Each working condition must undergo a safety assessment, ensuring that the overall safety score is no less than 80. |
| Parameter | Value | Unit |
|---|---|---|
| Maximum Output Torque | 500 | kN·m |
| Maximum Pressing Force of Pressurizing Cylinder | 500 | kN |
| Maximum Lifting Force of Pressurizing Cylinder | 500 | kN |
| Maximum Lifting Force of Main Hoist | 600 | kN |
| Static Strength | 345 | 395 | 445 | 495 |
| Stiffness | 60 | 100 | 140 | 180 |
| Overall Stability | 345 | 395 | 445 | 495 |
| Fatigue Strength | 223 | 253 | 283 | 313 |
| Parameters | Calculated Values | Limit Value | Unit |
|---|---|---|---|
| Strength | 289 | 495 | MPa |
| 354 | |||
| Stiffness | 147 | 180 | |
| Fatigue Strength | 234 | 313 | MPa |
| Nominal Euler Critical Load | 4245 | kN | |
| Overall Stability | 434 | 495 | MPa |
| Safety Score | 89.4 | 80 |
| x1 | x2 | x3 | x4 | |
|---|---|---|---|---|
| Range of variation/mm | 0–750 | 0–750 | [12, 16, 20, 24] | |
| x1 | x2 | x3 | x4 | Objective Function | Safety Score | |
|---|---|---|---|---|---|---|
| Original design | 750 | 750 | 24 | 24 | 45,056 | 89.4 |
| Optimized design | 750 | 750 | 16 | 24 | 39,248 | 72.6 |
| Safety-optimized design | 749 | 749 | 20 | 24 | 42,108 | 83.3 |
Disclaimer/Publisher’s Note: The statements, opinions and data contained in all publications are solely those of the individual author(s) and contributor(s) and not of MDPI and/or the editor(s). MDPI and/or the editor(s) disclaim responsibility for any injury to people or property resulting from any ideas, methods, instructions or products referred to in the content. |
© 2025 by the authors. Licensee MDPI, Basel, Switzerland. This article is an open access article distributed under the terms and conditions of the Creative Commons Attribution (CC BY) license (https://creativecommons.org/licenses/by/4.0/).
Share and Cite
Yang, H.; Ren, Y.; Yang, H.; Xu, G. Safety Design of Rotary Drilling Rig Mast Based on Multi-Condition Analysis. Appl. Sci. 2025, 15, 1704. https://doi.org/10.3390/app15041704
Yang H, Ren Y, Yang H, Xu G. Safety Design of Rotary Drilling Rig Mast Based on Multi-Condition Analysis. Applied Sciences. 2025; 15(4):1704. https://doi.org/10.3390/app15041704
Chicago/Turabian StyleYang, Heng, Yuhang Ren, Haorong Yang, and Gening Xu. 2025. "Safety Design of Rotary Drilling Rig Mast Based on Multi-Condition Analysis" Applied Sciences 15, no. 4: 1704. https://doi.org/10.3390/app15041704
APA StyleYang, H., Ren, Y., Yang, H., & Xu, G. (2025). Safety Design of Rotary Drilling Rig Mast Based on Multi-Condition Analysis. Applied Sciences, 15(4), 1704. https://doi.org/10.3390/app15041704
