Design and Verification of Multiphase Multilevel Traction Inverter
Abstract
1. Introduction
2. Materials and Methods
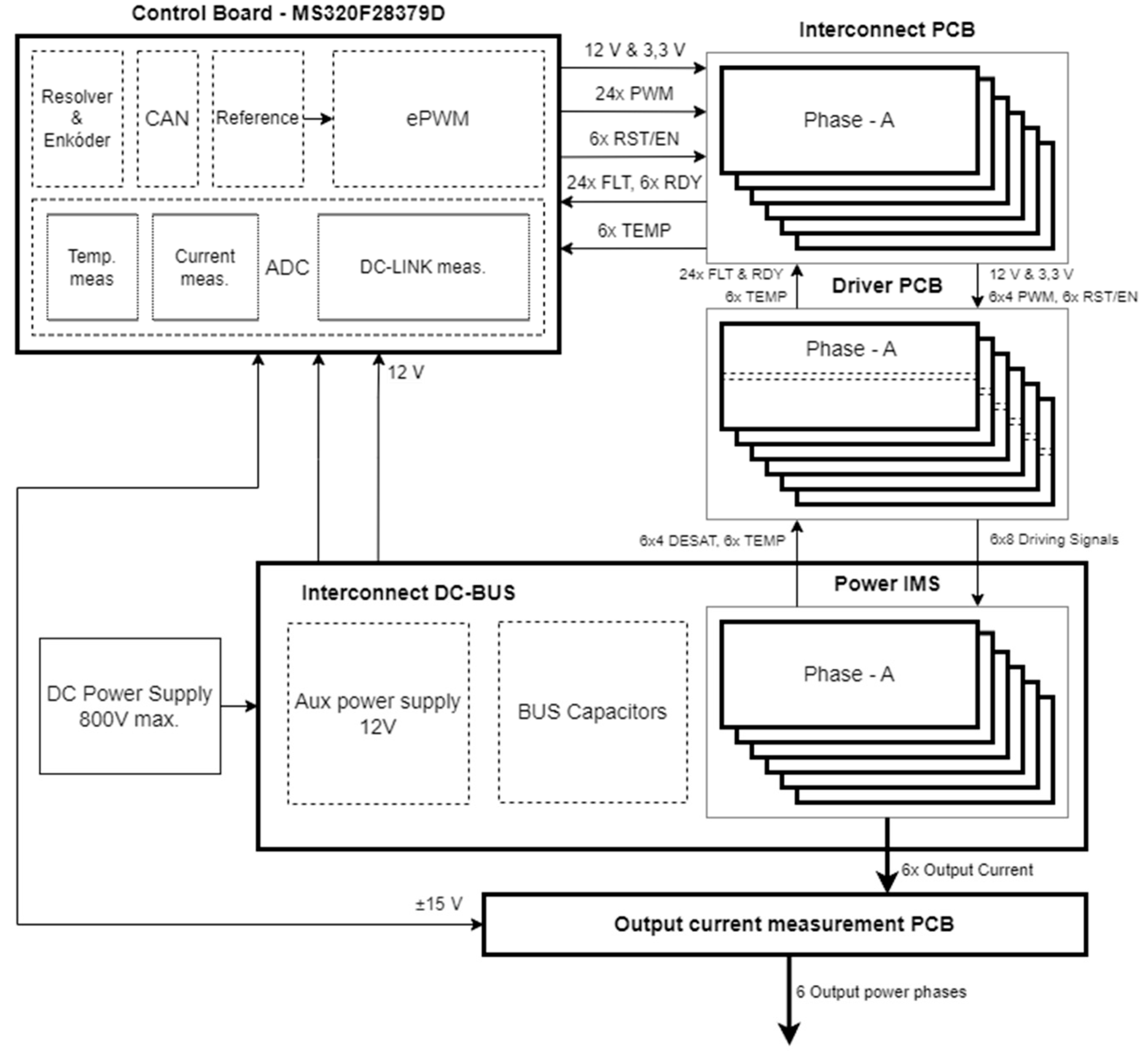
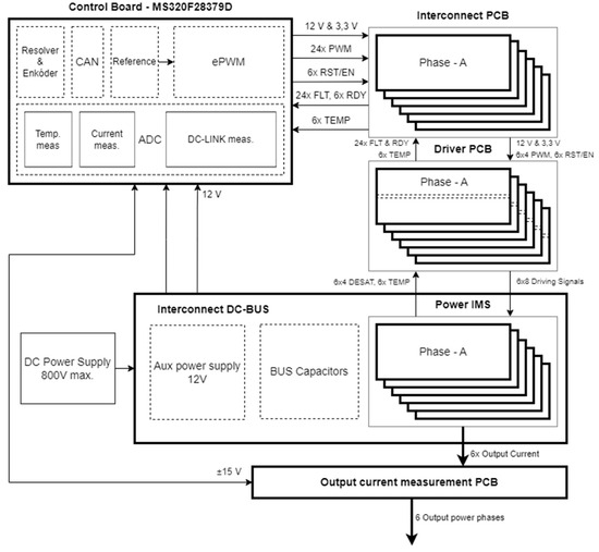
2.1. Hardware Design Procedure
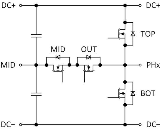
- Power module design stage:
- Driver design stage:
- Driver interconnection PCB design stage:
- Distribution BUS-BAR PCB:
- Control board design stage:
- +15 V for resolver driver
- +15 V/−15 V for current sensors
- Isolated 5 V for CAN drivers
- 3.3 V for DSP
- 1.2 V for DSP Core
2.2. Control Algorithm
3. Verification of the TNPC Converter
3.1. Test Plan
- PWM signals verification without power modules connected using Logic analyzer
- Verification of the soft start
- Output waveform measurement at reduced input voltage
- Verification of current and voltage sensors and their calibration
- Initial temperature verification (components overheating)
- Prototype verification with gradual increasing of input voltage and modulation index
- Measurement of voltages, currents and temperatures at critical components
3.2. Test Procedure
4. Conclusions
Author Contributions
Funding
Institutional Review Board Statement
Informed Consent Statement
Data Availability Statement
Conflicts of Interest
References
- Hasan, N.S.; Rosmin, N.; Osman, D.A.A.; Jamal, A.H.M. Reviews on multilevel converter and modulation techniques. Renew. Sustain. Energy Rev. 2017, 80, 163–174, ISSN 1364-0321. [Google Scholar] [CrossRef]
- Wang, J.; Yang, B.; Zhao, J.; Deng, Y.; He, X.; Xu, Z. Development of a compact 750KVA three-phase NPC three-level universal inverter module with specifically designed busbar. In Proceedings of the 25th Annual IEEE Applied Power Electronics Conference and Exposition (APEC), Palm Springs, CA, USA, 21–25 February 2010; pp. 1266–1271. [Google Scholar] [CrossRef]
- Rodriguez, J.; Lai, J.S.; Peng, F.Z. Multilevel inverters: A survey of topologies, controls, and applications. IEEE Trans. Ind. Electron. 2002, 49, 724–738. [Google Scholar] [CrossRef]
- Gupta, K.K.; Jain, S. A Novel Multilevel Inverter Based on Switched DC Sources. IEEE Trans. Ind. Electron. 2014, 61, 3269–3278. [Google Scholar] [CrossRef]
- Zhang, Y.; Li, K.; Zhang, L. Hybrid ANPC Grid-Tied Inverter Design with Passivity-Based Sliding Mode Control Strategy. Energies 2024, 17, 3655. [Google Scholar] [CrossRef]
- Odeh, C.I.; Lewicki, A.; Morawiec, M.; Jąderko, A. Enhanced Four-Level Active Nested Neutral Point-Clamped Inverter. Energies 2024, 17, 3213. [Google Scholar] [CrossRef]
- Su, S.; Xie, Q.; Wang, M.; Wang, Y.; Chen, J.; Hu, Z. Simple Voltage Balancing Control of Four-Level Inverter. Electronics 2024, 13, 3878. [Google Scholar] [CrossRef]
- Mikkili, S.; Krishna, R.V.; Bonthagorla, P.K.; Senjyu, T. Performance Analysis of Modular Multilevel Converter with NPC Sub-Modules in Photovoltaic Grid-Integration. Appl. Sci. 2022, 12, 1219. [Google Scholar] [CrossRef]
- Latran, M.B.; Teke, A. Investigation of multilevel multifunctional grid connected inverter topologies and control strategies used in photovoltaic systems. Renew. Sustain. Energy Rev. 2015, 42, 361–376, ISSN 1364-0321. [Google Scholar] [CrossRef]
- Memon, A.J.; Mahar, M.A.; Larik, A.S.; Shaikh, M.M. A Comprehensive Review of Reduced Device Count Multilevel Inverters for PV Systems. Energies 2023, 16, 5638. [Google Scholar] [CrossRef]
- Annoukoubi, M.; Essadki, A.; Akarne, Y. Model predictive control of multilevel inverter used in a wind energy conversion system application. e-Prime—Adv. Electr. Eng. Electron. Energy 2024, 9, 100717, ISSN 2772-6711. [Google Scholar] [CrossRef]
- Sadigh, A.K.; Masoud, B.S. Topologies and Control Strategies of Multilevel Converters. In Modeling and Control of Sustainable Power Systems. Green Energy and Technology; Wang, L., Ed.; Springer: Berlin/Heidelberg, Germany, 2012. [Google Scholar] [CrossRef]
- Takacs, K.; Frivaldsky, M. Hardware in the loop modeling of T-type voltage source inverter for vehicle to grid applications. Transp. Res. Procedia 2023, 74, 825–830, ISSN 2352-1465. [Google Scholar] [CrossRef]
- Zhao, S.; Zhang, L.; Liu, Y.; Yu, P. Overview of Multilevel Inverter Topologies and Modulation Methods. In Proceedings of the 5th International Conference on Electrical Engineering and Information Technologies for Rail Transportation (EITRT), Qingdao, China, 22–24 October 2021; Springer: Singapore; Volume 864. [Google Scholar] [CrossRef]
- Chandwani, H.B.; Matnani, M.K. A review of modulation techniques for hybrid multilevel inverter. In Proceedings of the 1st International Conference on Emerging Technology Trends in Electronics, Communication & Networking, Surat, India, 19–21 December 2012; pp. 1–7. [Google Scholar] [CrossRef]
- Wang, Y.; Aksoz, A.; Geury, T.; Ozturk, S.B.; Kivanc, O.C.; Hegazy, O. A Review of Modular Multilevel Converters for Stationary Applications. Appl. Sci. 2020, 10, 7719. [Google Scholar] [CrossRef]
- Castellazzi, A.; Gurpinar, E.; Wang, Z.; Suliman Hussein, A.; Garcia Fernandez, P. Impact of Wide-Bandgap Technology on Renewable Energy and Smart-Grid Power Conversion Applications Including Storage. Energies 2019, 12, 4462. [Google Scholar] [CrossRef]
- Svarna, V.; Frivaldsky, M. Silicon Carbide Technology: State-of-the-Art; ELEKTRO (ELEKTRO): Zakopane, Poland, 2024; pp. 1–5. [Google Scholar] [CrossRef]
- Biel, Z.; Pcola, M.; Ondrejicka, J.; Franko, M.; Frivaldsky, M. Efficiency Comparison of Si Igbt and Sic Mosfet Based Three-Phase Inverters. Commun.—Sci. Lett. Univ. Zilina 2023, 25, C56–C61. [Google Scholar] [CrossRef]
- Simcak, J.; Frivaldsky, M.; Resutik, P. Performance evaluation of multilevel multiphase inverters by piece-wised linearized simulation models. Automatika 2024, 65, 1127–1138. [Google Scholar] [CrossRef]
- Simcak, J.; Frivaldsky, M.; Resutik, P.; Kindl, V.; Skala, B.; Zavrel, M. Evaluation of the Efficiency Performance of 3-Phase and 6-Phase Voltage Source Inverter; ELEKTRO (ELEKTRO): Zakopane, Poland, 2024; pp. 1–4. [Google Scholar] [CrossRef]
- Simcak, J.; Frivaldsky, M.; Resutik, P. The Power Analysis of Semiconductor Devices in Multi-Phase Traction Inverter Topologies Applicable in the Automotive Industry. Commun.—Sci. Lett. Univ. Zilina 2024, 26, C21–C38. [Google Scholar] [CrossRef]






















| Topology/Parameter | VSI | NPC | TNPC |
|---|---|---|---|
| Losses | Highest | Moderate | Lowest |
| Voltage stress | Highest | Moderate | Lowest |
| Efficiency | Lowest | Moderate | Highest |
| Complexity | Lowest | More complex | Most complex |
| THD | Highest | Reduced | Lowest |
| Diodes count (6 ph) | 0 | 24 | 0 |
| MOSFETs count (6 ph) | 24 | 48 | 48 |
| Price | Lowest | Highest | Moderate |
| Parameter | Value |
|---|---|
| Number of phases [-] | 6 |
| Nominal power output [kW] | 100 |
| Maximum input voltage [V] | 800 |
| Cooling method | Liquid |
| Mandatory Sensors | Resolver/Encoder |
| Design Target | High power density |
| Parameter | Value |
|---|---|
| Number of phases [-] | 6 |
| Dimensions (w × l × h) [mm] | 344 × 365 × 116 |
| Weight [kg] | 7.2 |
| Nominal power output [kW] | 100 |
| Maximum input voltage [V] | 800 |
| Maximum output phase RMS current [A] | 75 |
| Power density [kW/L] | 6.86 |
| Specific power [kW/kg] | 13.75 |
| Device | Type |
|---|---|
| Main power supply | 2 parallel Chroma 62150H-600S |
| Auxiliary power supply | Rigol DP832 |
| Input power analyzer | Chroma 66204 |
| Output power analyzer | Yokogawa WT1800 |
| Resistive load part | 6 × 14 Ω power resistors |
| Inductive load part | 6 × 4.3 mH/25 A |
| Switching Frequency | Efficiency at 20 kW |
|---|---|
| 10 kHz | 99.37% |
| 20 kHz | 99.29% |
| 30 kHz | 99.18% |
| Switching Frequency | Average Module Temperature at 20 kW |
|---|---|
| 10 kHz | 30.71 °C |
| 20 kHz | 46.25 °C |
| 30 kHz | 53.58 °C |
Disclaimer/Publisher’s Note: The statements, opinions and data contained in all publications are solely those of the individual author(s) and contributor(s) and not of MDPI and/or the editor(s). MDPI and/or the editor(s) disclaim responsibility for any injury to people or property resulting from any ideas, methods, instructions or products referred to in the content. |
© 2024 by the authors. Licensee MDPI, Basel, Switzerland. This article is an open access article distributed under the terms and conditions of the Creative Commons Attribution (CC BY) license (https://creativecommons.org/licenses/by/4.0/).
Share and Cite
Resutík, P.; Praženica, M.; Kaščák, S. Design and Verification of Multiphase Multilevel Traction Inverter. Appl. Sci. 2024, 14, 10562. https://doi.org/10.3390/app142210562
Resutík P, Praženica M, Kaščák S. Design and Verification of Multiphase Multilevel Traction Inverter. Applied Sciences. 2024; 14(22):10562. https://doi.org/10.3390/app142210562
Chicago/Turabian StyleResutík, Patrik, Michal Praženica, and Slavomír Kaščák. 2024. "Design and Verification of Multiphase Multilevel Traction Inverter" Applied Sciences 14, no. 22: 10562. https://doi.org/10.3390/app142210562
APA StyleResutík, P., Praženica, M., & Kaščák, S. (2024). Design and Verification of Multiphase Multilevel Traction Inverter. Applied Sciences, 14(22), 10562. https://doi.org/10.3390/app142210562

