Hierarchical QAM and Inter-Layer FEC for Multi-View Video Plus Depth Format in Two-Way Relay Channels
Abstract
1. Introduction
2. Related Works and the Key Contribution of This Paper
2.1. Layered Video Coding Techniques
2.2. Conventional Stereoscopic Video (CSV) Transmission
2.3. HQAM and IL-FEC
2.4. TWRC and Network Coding
2.5. Key Contributions of This Paper
- Combination of HM and IL-FEC: This paper specifically integrates HQAM and IL-FEC to address the unique dual-layer data structure of 3D video in the MVD format. This combination provides differentiated protection levels for color and depth data, which is essential for maintaining the visual quality of 3D video under various transmission conditions.
- Appropriate Hierarchical Value (): The study uniquely explores the impact of a different value in hierarchical modulation on video quality, providing a systematic way to adjust the value to achieve appropriate SSIM in different relay settings.
- Efficient Use of Relay Resources: By reducing the number of relayed bitstreams by half, the proposed method improves relay efficiency without compromising video quality, which is a significant advancement over previous methods.
- Comprehensive Performance Evaluation: The use of both SSIM and BER as performance metrics offers a holistic view of the method’s effectiveness in ensuring high-quality 3D video transmission.
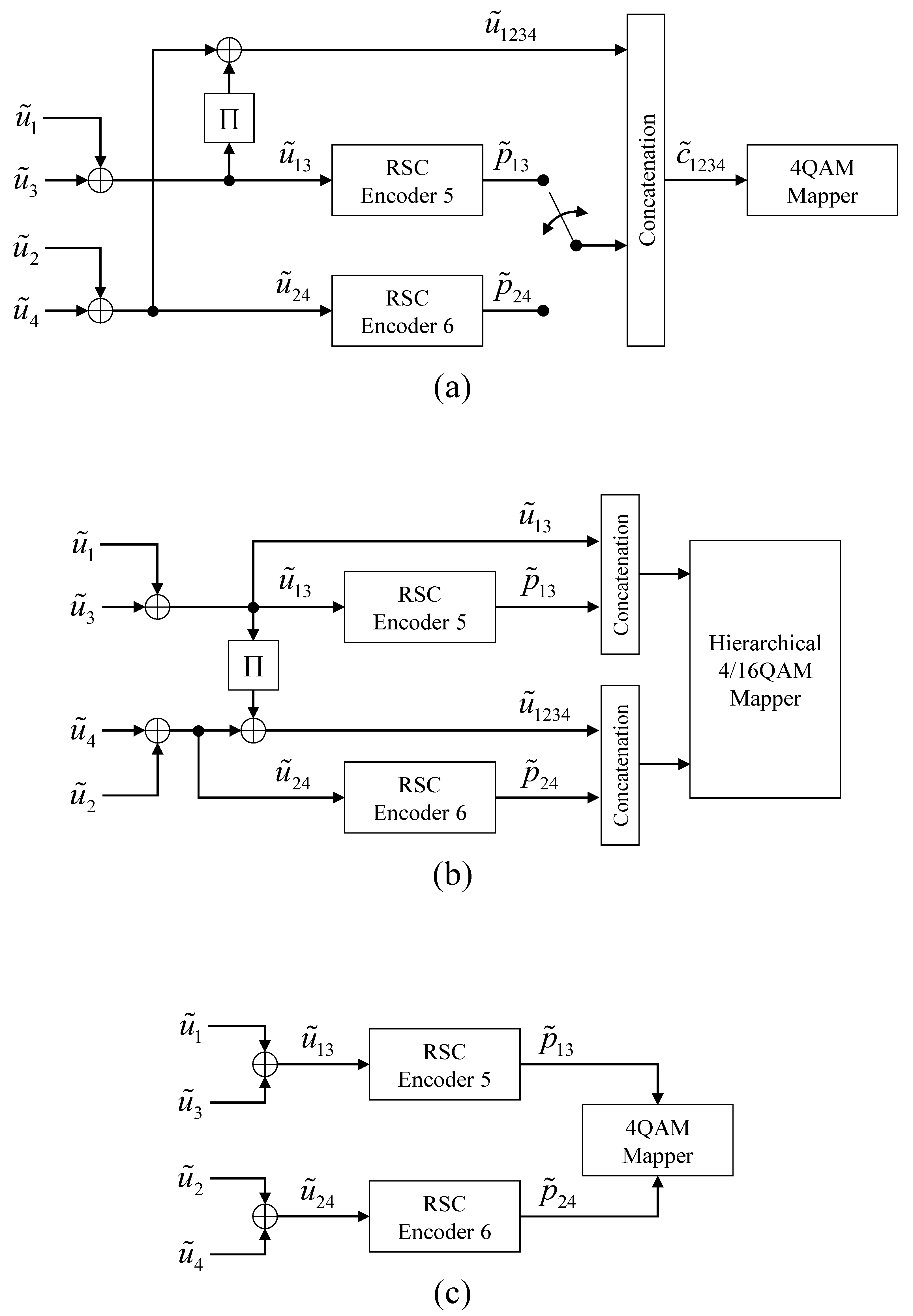
3. System Description
4. Performance Evaluation
4.1. Bit Error Rate Performance
- The qualities of left and right views may be improved as the hierarchical value increases because the increased makes the 2D color streams stronger. However, the quality improvement becomes saturated at any moment.
- Relay positioning significantly affected the performance, with central locations providing balanced protection to both streams due to equal path gains, while asymmetric placements favored the nearer stream.
- Increasing the does not necessarily improve the quality of the virtual center view. This is because the virtual view is typically generated by synthesizing the color views and the related depth maps. In other words, since the quality of the depth maps, which are degraded due to the increased , also affects the quality of the virtual center view, increasing the may not always be good for the quality.
- It can be found that the higher modulation level (e.g., 16QAM) is more sensitive to the effect of path loss. Therefore, the proposed and the second referenced methods may show improved qualities of left and right views compared to that of the first reference method, regardless of the relay location.
- However, in the case of the virtual center view, perhaps only certain values in the proposed method are expected to show improved quality. This is because only a certain value of the proposed method reaches the target BERs of the 2D color and depth streams, respectively, regardless of the relay location (e.g., in Figure 6).
4.2. SSIM Performance
5. Conclusions
Author Contributions
Funding
Institutional Review Board Statement
Informed Consent Statement
Data Availability Statement
Conflicts of Interest
References
- Merkle, P.; Smolic, A.; Muller, K.; Wiegand, T. Multi-View Video Plus Depth Representation and Coding. In Proceedings of the 2007 IEEE International Conference on Image Processing, San Antonio, TX, USA, 16 September–19 October 2007; Volume 1, pp. I-201–I-204. [Google Scholar] [CrossRef]
- Chan, Y.L.; Fu, C.H.; Chen, H.; Tsang, S.H. Overview of current development in depth map coding of 3D video and its future. IET Signal Process. 2020, 14, 1–14. [Google Scholar] [CrossRef]
- Zhang, X.; Zhao, Y.; Tillo, T.; Lin, C.; Xiao, J.; Wang, A. Packetization strategies for MVD-based 3D video transmission. In Proceedings of the 2016 Visual Communications and Image Processing (VCIP), Chengdu, China, 27–30 November 2016; pp. 1–4. [Google Scholar] [CrossRef]
- Zhang, X.; Zhao, Y.; Tillo, T.; Lin, C. A packetization strategy for interactive multiview video streaming over lossy networks. Signal Process. 2018, 145, 285–294. [Google Scholar] [CrossRef]
- Bi, C.; Liang, J. Joint Source-Channel Coding of JPEG 2000 Image Transmission Over Two-Way Multi-Relay Networks. IEEE Trans. Image Process. 2017, 26, 3594–3608. [Google Scholar] [CrossRef] [PubMed]
- You, D.; Kim, D.H.; Salah, H.; Fitzek, F.H.P. Hierarchical FEC and Modulation in Network-coded Two-way Relay Channel. In Proceedings of the European Wireless 2019; 25th European Wireless Conference, Aarhus, Denmark, 2–4 May 2019; pp. 1–6. [Google Scholar]
- Bouteggui, M.; Merazka, F.; Kurt, G.K. Effective capacity of two way relay channels under retransmission schemes. AEU Int. J. Electron. Commun. 2020, 124, 153321. [Google Scholar] [CrossRef]
- Hu, Z.; Xu, Y.; Deng, Y.; Zhang, Z. Distance-Enhanced Hybrid Hierarchical Modulation and QAM Modulation Schemes for UAV Terahertz Communications. Drones 2024, 8, 300. [Google Scholar] [CrossRef]
- Zhu, J.; Zhou, S.; Zhao, M. QAMA: Hierarchical QAM based Downlink Multiple Access with a Simple Receiver. IEEE Trans. Wirel. Commun. 2024, 1. [Google Scholar] [CrossRef]
- Huo, Y.; Hellge, C.; Wiegand, T.; Hanzo, L. A Tutorial and Review on Inter-Layer FEC Coded Layered Video Streaming. IEEE Commun. Surv. Tutor. 2015, 17, 1166–1207. [Google Scholar] [CrossRef]
- You, D.; Kim, D.H. Combined Inter-layer FEC and Hierarchical QAM for Stereoscopic 3D Video Transmission. Wirel. Pers. Commun. 2020, 110, 1619–1636. [Google Scholar] [CrossRef]
- Zhang, Y. Adaptive Unequal Error Protection for Scalable Video Streaming. Ph.D. Thesis, University of Southampton, Southampton, UK, 2020. [Google Scholar]
- You, D.; Kim, D.H. Normalization Factor for Three-Level Hierarchical 64QAM Scheme. J. Korean Inst. Commun. Inf. Sci. 2016, 41, 77–79. [Google Scholar] [CrossRef]
- Hausl, C.; Hagenauer, J. Iterative Network and Channel Decoding for the Two-Way Relay Channel. In Proceedings of the 2006 IEEE International Conference on Communications, Istanbul, Turkey, 11–15 June 2006; Volume 4, pp. 1568–1573. [Google Scholar] [CrossRef]
- Hausl, C.; Dupraz, P. Joint Network-Channel Coding for the Multiple-Access Relay Channel. In Proceedings of the 2006 3rd Annual IEEE Communications Society on Sensor and Ad Hoc Communications and Networks, Reston, VA, USA, 28 September 2006; Volume 3, pp. 817–822. [Google Scholar] [CrossRef]
- Vetro, A.; Wiegand, T.; Sullivan, G.J. Overview of the Stereo and Multiview Video Coding Extensions of the H.264/MPEG-4 AVC Standard. Proc. IEEE 2011, 99, 626–642. [Google Scholar] [CrossRef]
- Vitthaladevuni, P.; Alouini, M.S. BER computation of 4/M-QAM hierarchical constellations. IEEE Trans. Broadcast. 2001, 47, 228–239. [Google Scholar] [CrossRef]
- Ochiai, H.; Mitran, P.; Tarokh, V. Design and Analysis of Collaborative Diversity Protocols for Wireless Sensor Networks. In Proceedings of the IEEE Vehicular Technology Conference (VTC) Fall, Los Angeles, CA, USA, 26–29 September 2004. [Google Scholar] [CrossRef]
- Ng, S.X.; Li, Y.; Hanzo, L. Distributed Turbo Trellis Coded Modulation for Cooperative Communications. In Proceedings of the IEEE International Conference on Communications (ICC), Dresden, Germany, 14–18 June 2009. [Google Scholar] [CrossRef][Green Version]
- Hagenauer, J.; Offer, E.; Papke, L. Iterative Decoding of Binary Block and Convolutional Codes. IEEE Trans. Inf. Theory 1996, 42, 429–445. [Google Scholar] [CrossRef]
- Fehn, C. Depth-image-based rendering (DIBR), compression, and transmission for a new approach on 3D-TV. In Proceedings of the Stereoscopic Displays and Virtual Reality Systems XI, San Jose, CA, USA, 19–22 January 2004; Bolas, M.T., Woods, A.J., Merritt, J.O., Benton, S.A., Eds.; International Society for Optics and Photonics, SPIE: Bellingham, WA, USA, 2004; Volume 5291, pp. 93–104. [Google Scholar] [CrossRef]
- Zinger, S.; Do, L.; de With, P. Free-viewpoint depth image based rendering. J. Vis. Commun. Image Represent. 2010, 21, 533–541. [Google Scholar] [CrossRef]
- Chen, X.; Liang, H.; Xu, H.; Ren, S.; Cai, H.; Wang, Y. Virtual View Synthesis Based on Asymmetric Bidirectional DIBR for 3D Video and Free Viewpoint Video. Appl. Sci. 2020, 10, 1562. [Google Scholar] [CrossRef]
- Tanimoto, M.; Fujii, T.; Fukushima, N. 1D Parallel Test Sequences for MPEG-FTV. ISO/IEC JTC1/SC29/WG11, Doc. M15378, April 2008. [Google Scholar]
- Stankiewicz, O.; Wegner, K.; Tanimoto, M.; Domanski, M. Enhanced View Synthesis Reference Software (VSRS) for Free-Viewpoint Television. ISO/IEC JTC 1/SC 29/WG 11, Doc. M31520, October 2013. [Google Scholar]
- Chang, T.C.; Xu, S.S.D.; Su, S.F. SSIM-Based Quality-on-Demand Energy-Saving Schemes for OLED Displays. IEEE Trans. Syst. Man Cybern. Syst. 2016, 46, 623–635. [Google Scholar] [CrossRef]
- Zhu, L.; Ma, W.; Zhang, R. Movable Antennas for Wireless Communication: Opportunities and Challenges. IEEE Commun. Mag. 2024, 62, 114–120. [Google Scholar] [CrossRef]
- Zhang, R.; Cheng, L.; Zhang, W.; Guan, X.; Cai, Y.; Wu, W.; Zhang, R. Channel Estimation for Movable-Antenna MIMO Systems Via Tensor Decomposition. IEEE Wirel. Commun. Lett. 2024, 1. [Google Scholar] [CrossRef]
- Schwarz, S.; Preda, M.; Baroncini, V.; Budagavi, M.; Cesar, P.; Chou, P.A.; Cohen, R.A.; Krivokuća, M.; Lasserre, S.; Li, Z.; et al. Emerging MPEG Standards for Point Cloud Compression. IEEE J. Emerg. Sel. Top. Circuits Syst. 2019, 9, 133–148. [Google Scholar] [CrossRef]











Disclaimer/Publisher’s Note: The statements, opinions and data contained in all publications are solely those of the individual author(s) and contributor(s) and not of MDPI and/or the editor(s). MDPI and/or the editor(s) disclaim responsibility for any injury to people or property resulting from any ideas, methods, instructions or products referred to in the content. |
© 2024 by the authors. Licensee MDPI, Basel, Switzerland. This article is an open access article distributed under the terms and conditions of the Creative Commons Attribution (CC BY) license (https://creativecommons.org/licenses/by/4.0/).
Share and Cite
You, D.; Kim, S.-H.; Kim, D.H. Hierarchical QAM and Inter-Layer FEC for Multi-View Video Plus Depth Format in Two-Way Relay Channels. Appl. Sci. 2024, 14, 8741. https://doi.org/10.3390/app14198741
You D, Kim S-H, Kim DH. Hierarchical QAM and Inter-Layer FEC for Multi-View Video Plus Depth Format in Two-Way Relay Channels. Applied Sciences. 2024; 14(19):8741. https://doi.org/10.3390/app14198741
Chicago/Turabian StyleYou, Dongho, Sung-Hoon Kim, and Dong Ho Kim. 2024. "Hierarchical QAM and Inter-Layer FEC for Multi-View Video Plus Depth Format in Two-Way Relay Channels" Applied Sciences 14, no. 19: 8741. https://doi.org/10.3390/app14198741
APA StyleYou, D., Kim, S.-H., & Kim, D. H. (2024). Hierarchical QAM and Inter-Layer FEC for Multi-View Video Plus Depth Format in Two-Way Relay Channels. Applied Sciences, 14(19), 8741. https://doi.org/10.3390/app14198741

