Structural Behaviour of Axially Loaded Concrete-Filled Steel Tube Columns during the Top-Down Construction Method
Abstract
1. Introduction
2. Experimental Investigation
2.1. Test Setup and Procedure
2.2. Specimen Details
2.3. Results of Experimental Tests
3. FEM Modelling
3.1. Concrete Material Model
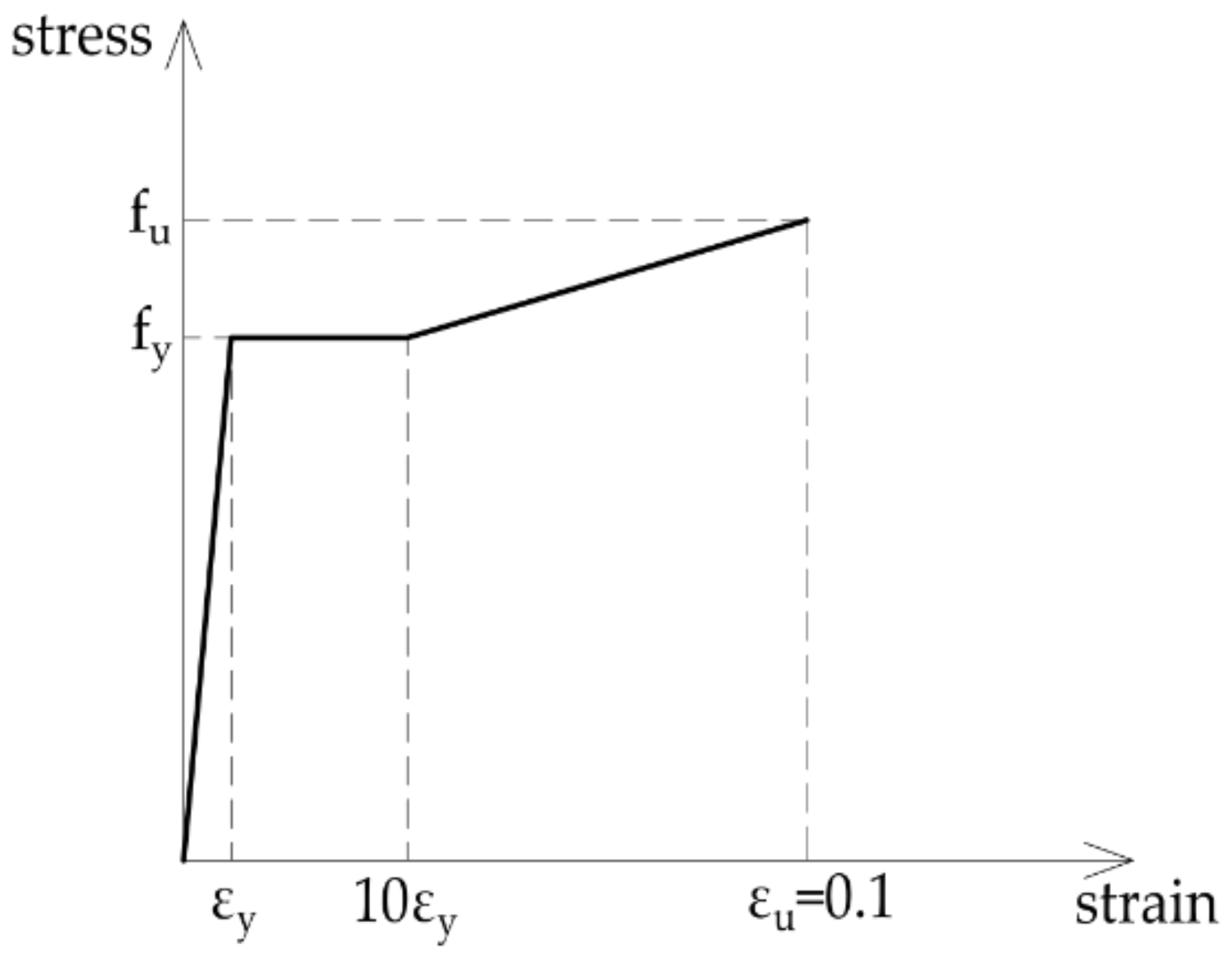
3.2. Steel Material Model
3.3. Constitutive Model for Soil
3.4. Validation of Finite Element Model
4. Comparison of Critical Buckling Force with Design Codes
5. Conclusions
- Experimental and numerical tests demonstrated that the effective buckling column length equals approximately 0.8 L;
- The preliminary numerical study on the influence of different pile sizes on the CFT column stability was demonstrated that the effective buckling column length remains within the range of 0.72 L–0.86 L. When piles with larger diameters are used compared to the CFT column diameter, the boundary conditions at the column/pile connection are closer to the fixed support. More precise conclusions will be derived from an ongoing study;
- Referring to the predictions obtained by three design codes (EC4, ACI and AS), they all give good predictions compared to the test results (with effective buckling length taken as 0.8 L). ACI and AS codes are slightly conservative, while the results obtained with the effective stiffness of the composite cross-section according to the first-order analysis (EC4,I) give an unsafe prediction. Therefore, it is recommended that the effective stiffness according to the second-order analysis (EC4,II) be used for accurate predictions and safety reasons.
Author Contributions
Funding
Institutional Review Board Statement
Informed Consent Statement
Data Availability Statement
Acknowledgments
Conflicts of Interest
References
- Kostic, S.M.; Filippou, F.C.; Lee, C.-L. An Efficient Beam-Column Element for Inelastic 3D Frame Analysis. In Computational Methods in Earthquake Engineering; Papadrakakis, M., Fragiadakis, M., Plevris, V., Eds.; Springer: Dordrecht, The Netherlands, 2013; Volume 2, pp. 49–67. [Google Scholar]
- Zhang, T.; Gong, Y.-Z.; Ding, F.-X.; Liu, X.-M.; Yu, Z.-W. Experimental and numerical investigation on the behavior of concrete-filled rectangular steel tubes under bending. Struct. Eng. Mech. 2021, 78, 231–253. [Google Scholar] [CrossRef]
- Agibayeva, A.; Lee, D.; Ju, H.; Zhang, D.; Kim, J.R. Application of steel-concrete composite pile foundation system as energy storage medium. Struct. Eng. Mech. 2021, 77, 753–763. [Google Scholar] [CrossRef]
- Dundu, M. Compressive strength of circular concrete filled steel tube columns. Thin-Walled Struct. 2012, 56, 62–70. [Google Scholar] [CrossRef]
- Shan, Z.W.; Su, R.K.L. Axial strengthening of RC columns by direct fastening of steel plates. Struct. Eng. Mech. 2021, 77, 705–720. [Google Scholar] [CrossRef]
- Uenaka, K. Concrete filled double skin square tubular stub columns subjected to compression load. Struct. Eng. Mech. 2021, 77, 745–751. [Google Scholar] [CrossRef]
- Won, D.; Kim, S.; Seo, J.; Kang, Y.-J. Experimental Study of Composite Hollow RC Column under Uniaxial Compressive Load. Appl. Sci. 2019, 9, 373. [Google Scholar] [CrossRef]
- Landović, A.; Bešević, M. Experimental Research on Reinforced Concrete Columns Strengthened with Steel Jacket and Concrete Infill. Appl. Sci. 2021, 11, 4043. [Google Scholar] [CrossRef]
- Yan, J.-B.; Dong, X.; Zhu, J.-S. Compressive behaviours of CFST stub columns at low temperatures relevant to the Arctic environment. Constr. Build. Mater. 2019, 223, 503–519. [Google Scholar] [CrossRef]
- Yan, J.-B.; Dong, X.; Zhu, J.-S. Behaviours of stub steel tubular columns subjected to axial compression at low temperatures. Constr. Build. Mater. 2019, 228, 116788. [Google Scholar] [CrossRef]
- Cai, Z.; Wang, Z.; Lin, K.; Sun, Y.; Zhuo, W. Seismic Behavior of a Bridge with New Composite Tall Piers under Near-Fault Ground Motion Conditions. Appl. Sci. 2020, 10, 7377. [Google Scholar] [CrossRef]
- Rhim, H.-C.; Kim, K.-M.; Kim, S.-W. Development of an optimum pre-founded column system for top-down construction. J. Civ. Eng. Manag. 2012, 18, 735–743. [Google Scholar] [CrossRef][Green Version]
- Lazovic, M.; Deretic-Stojanovic, B.; Radovanovic, J. Stability of double elastically wedged CFT columns. In Proceedings of the 5th International Congress of Serbian Society of Mechanics, Arandjelovac, Serbia, 15–17 June 2015. [Google Scholar]
- Lazovic, M.; Radovanovic, J.; Deretic-Stojanovic, B. Bearing capacity and stability of elastically fixed CFT columns. Tech. Gaz. 2017, 24, 967–973. [Google Scholar] [CrossRef][Green Version]
- Khodair, Y.; Abdel-Mohti, A. Numerical Analysis of Pile–Soil Interaction under Axial and Lateral Loads. Int. J. Concr. Struct. Mater. 2014, 8, 239–249. [Google Scholar] [CrossRef]
- Kumar, P.S.; Karuppaiah, K.B.; Parameswaran, P. Buckling behavior of partially embedded reinforced concrete piles in sand. J. Eng. Appl. Sci. 2007, 2, 22–26. [Google Scholar]
- De Oliveira, W.L.A.; De Nardin, S.; de Cresce El Debs, A.L.H.; El Debs, M.K. Influence of concrete strength and length/diameter on the axial capacity of CFT columns. J. Constr. Steel Res. 2009, 65, 2103–2110. [Google Scholar] [CrossRef]
- EN 1994-1-1; Design of Composite Steel and Concrete Structures—Part 1.1: General Rules and Rules for Buildings, Eurocode 4. European Committeee for Standardization: Bruxelles, Belgium, 2009.
- Michael, S. ABAQUS/Standard User’s Manual, Version 6.9; Dassault Systèmes Simulia Corp: Providence, RI, USA, 2009. [Google Scholar]
- Plaxis 3D. Scientific Manual; National Academies Press: Washington, DC, USA, 2016. [Google Scholar]
- Moon, J.; Roeder, C.W.; Lehman, D.E.; Lee, H.-E. Analytical modeling of bending of circular concrete-filled steel tubes. Eng. Struct. 2012, 42, 349–361. [Google Scholar] [CrossRef]
- EN 1992-1-1; Eurocode 2: Design of Concrete Structures—Part 1-1: General Rules and Rules for Buildings. European Committee for Standardization: Bruxelles, Belgium, 2010.
- Saenz, L.P. Discussion of Paper “Equation for Stress-Strain Curve of Concrete” by Desai, P. and Krishnan, S.J. Am. Concr. Inst. 1964, 61, 1229–1235. [Google Scholar]
- Hu, H.T.; Schnobrich, W.C. Constitutive Modeling of Concrete by Using Nonassociated Plasticity. J. Mater. Civ. Eng. 1989, 1, 199–216. [Google Scholar] [CrossRef]
- Hu, H.-T.; Huang, C.-S.; Wu, M.-H.; Wu, Y.-M. Nonlinear Analysis of Axially Loaded Concrete-Filled Tube Columns with Confinement Effect. J. Struct. Eng. 2003, 129, 1322–1329. [Google Scholar] [CrossRef]
- Ellobody, E.; Young, B.; Lam, D. Behaviour of normal and high strength concrete-filled compact steel tube circular stub columns. J. Constr. Steel Res. 2006, 62, 706–715. [Google Scholar] [CrossRef]
- Tao, Z.; Wang, Z.-B.; Yu, Q. Finite element modelling of concrete-filled steel stub columns under axial compression. J. Constr. Steel Res. 2013, 89, 121–131. [Google Scholar] [CrossRef]
- Poulos, H.G.; Davis, E.H. Pile Foundation Analysis and Design; Wiley: New York, NY, USA, 1980. [Google Scholar]
- Randolph, M.F.; Wroth, C.P. Analysis of Deformation of Vertically Loaded Piles. J. Geotech. Eng. Div. 1978, 104, 1465–1488. [Google Scholar] [CrossRef]
- ACI. Building Code Requirements for Structural Concrete (ACI 318-95)—ACI Committee 318; American Concrete Institute: Farmington Hills, MI, USA, 2011. [Google Scholar]
- AS 3600; Reinforced Concrete Structures. Standards Australia: Sydney, Australia, 2009.
- AS 4100; Steel Structures. Standards Australia: Sydney, Australia, 2016.












| Dimensions | D/t | L/D | Concrete | Steel | |||||
|---|---|---|---|---|---|---|---|---|---|
| Specimen | D [mm] | t [mm] | L [mm] | - | - | fc’ [MPa] | Ec [GPa] | fy [MPa] | E [GPa] |
| CS1 | 101.6 | 2.7 | 4000 | 37.630 | 39.370 | 26.70 | 31.95 | 355 | 210 |
| CS2 | 101.6 | 4.0 | 4000 | 25.400 | 39.370 | 26.70 | 31.95 | 355 | 210 |
| CS3 | 114.3 | 2.7 | 4000 | 42.333 | 34.996 | 26.70 | 31.95 | 355 | 210 |
| CS4 | 114.3 | 4.0 | 4000 | 28.575 | 34.996 | 26.70 | 31.95 | 355 | 210 |
| Specimen | U0.35L [mm] | U0.40L [mm] | U0.50L [mm] | Pcr [kN] |
|---|---|---|---|---|
| CS1 | 25.38 | 25.77 | 24.16 | 266.7 |
| CS2 | 35.01 | 35.56 | 33.34 | 343.0 |
| CS3 | 27.28 | 27.71 | 25.98 | 402.9 |
| CS4 | 38.81 | 39.43 | 36.97 | 503.8 |
| Strain Gauge | Strains |
|---|---|
| M 1.1 | −444.47·10−6 |
| M 1.2 | −1807.70·10−6 |
| M 1.3 | −590.75·10−6 |
| M 1.4 | −360.00·10−6 |
| Property | Parameter | Unit | Fill (Light Blue) | Muddy Clay (Green) | Refuelled Sand (Yellow) |
|---|---|---|---|---|---|
| The thickness of the soil layer | d | m | 6.40 | 3.20 | 11.40 |
| Unsaturated weight | γunsat | kN/m3 | 20.00 | 19.00 | 19.00 |
| Stiffness | E50ref | kN/m2 | 8000.00 | 3000.00 | 30,000.00 |
| Eoedref | kN/m2 | 8000.00 | 3000.00 | 30,000.00 | |
| Ourref | kN/m2 | 24,000.00 | 9000.00 | 90,000.00 | |
| Poisson ratio | νur | - | 0.30 | 0.30 | 0.30 |
| Power | m | - | 0.50 | 0.50 | 0.50 |
| Reference pressure | pref | kN/m2 | 100.00 | 100.00 | 100.00 |
| Cohesion | c′ | kN/m2 | 5.00 | 15.00 | 5.00 |
| Friction angle | φ′ | ° | 30.00 | 20.00 | 31.00 |
| Dilatancy angle | Ψ | ° | 15.00 | 17.50 | 18.50 |
| Lateral pressure coefficient | K0 | - | 1-sinφ′ | ||
| Failure ratio | Rf | - | 0.9 | ||
| Specimen | Leff, num/L | Pcr,num [kN] | Pcr/Pcr,num |
|---|---|---|---|
| CS1 | 0.789 | 251.6 | 1.060 |
| CS2 | 0.795 | 327.3 | 1.048 |
| CS3 | 0.802 | 373.6 | 1.078 |
| CS4 | 0.811 | 483.7 | 1.042 |
| Median | 0.799 | - | 1.054 |
| Specimen | Pile Diameters [mm] | Leff, num/L | Pcr,num [kN] |
|---|---|---|---|
| Ø350 | 0.845 | 233.6 | |
| CS1 | Ø450 | 0.789 | 251.6 |
| Ø600 | 0.724 | 273.7 | |
| Ø350 | 0.850 | 309.4 | |
| CS2 | Ø450 | 0.795 | 327.3 |
| Ø600 | 0.727 | 356.2 | |
| Ø350 | 0.853 | 347.4 | |
| CS3 | Ø450 | 0.802 | 373.6 |
| Ø600 | 0.731 | 406.9 | |
| Ø350 | 0.857 | 451.2 | |
| CS4 | Ø450 | 0.811 | 483.7 |
| Ø600 | 0.734 | 528.3 |
| Specimen | NTEST/NEC4, I | NTEST/NEC4, II | NTEST/NACI/AS |
|---|---|---|---|
| CS1 | 0.934 | 1.087 | 1.141 |
| CS2 | 0.938 | 1.076 | 1.074 |
| CS3 | 0.946 | 1.106 | 1.182 |
| CS4 | 0.928 | 1.069 | 1.081 |
| Median | 0.936 | 1.081 | 1.111 |
Publisher’s Note: MDPI stays neutral with regard to jurisdictional claims in published maps and institutional affiliations. |
© 2022 by the authors. Licensee MDPI, Basel, Switzerland. This article is an open access article distributed under the terms and conditions of the Creative Commons Attribution (CC BY) license (https://creativecommons.org/licenses/by/4.0/).
Share and Cite
Lazovic Radovanovic, M.M.; Nikolic, J.Z.; Radovanovic, J.R.; Kostic, S.M. Structural Behaviour of Axially Loaded Concrete-Filled Steel Tube Columns during the Top-Down Construction Method. Appl. Sci. 2022, 12, 3771. https://doi.org/10.3390/app12083771
Lazovic Radovanovic MM, Nikolic JZ, Radovanovic JR, Kostic SM. Structural Behaviour of Axially Loaded Concrete-Filled Steel Tube Columns during the Top-Down Construction Method. Applied Sciences. 2022; 12(8):3771. https://doi.org/10.3390/app12083771
Chicago/Turabian StyleLazovic Radovanovic, Marija M., Jelena Z. Nikolic, Janko R. Radovanovic, and Svetlana M. Kostic. 2022. "Structural Behaviour of Axially Loaded Concrete-Filled Steel Tube Columns during the Top-Down Construction Method" Applied Sciences 12, no. 8: 3771. https://doi.org/10.3390/app12083771
APA StyleLazovic Radovanovic, M. M., Nikolic, J. Z., Radovanovic, J. R., & Kostic, S. M. (2022). Structural Behaviour of Axially Loaded Concrete-Filled Steel Tube Columns during the Top-Down Construction Method. Applied Sciences, 12(8), 3771. https://doi.org/10.3390/app12083771
