Metro Emergency Passenger Flow Prediction on Transfer Learning and LSTM Model
Abstract
:1. Introduction
1.1. Passenger Flow Forecast
1.2. Emergency Passenger Flow
1.3. Transfer Learning
2. Materials and Methods
2.1. Time Series Analysis
2.2. Factors of Emergency Passenger Flow
3. Prediction Model for Emergency Event
3.1. Calculation Process
3.2. Loss Function
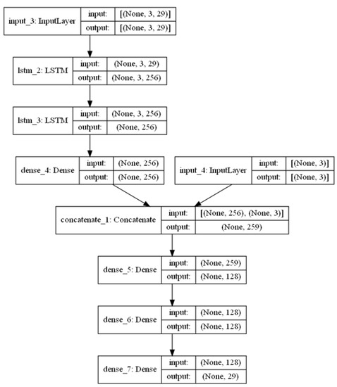
3.3. LSTM Network Structure
3.4. Model Training Procedure
4. Simulation and Results
4.1. Data Pretreatment
4.2. Simulation Setup
- All data sets were randomly divided into a training set and test set, accounting for 70% and 30% respectively;
- The normal passenger flow training set data are used as input to train the network, and the normal passenger flow test set is used to verify the network performance to obtain the normal passenger flow prediction network ;
- Freeze the LSTM part of network , use the training set of emergency passenger flow, train the network again based on network , and then use the test set of emergency passenger flow to verify the network performance, and get the prediction network .
4.3. Results and Analysis
4.3.1. Normal Passenger Flow
- The purpose of this paper is to predict in advance the passenger flow congestion problem that may occur when there is an emergency passenger flow;
- The samples with small passenger flow are often in the starting station or the early morning when the subway is running. For these samples, most of the input passenger flow is 0, so accurate results cannot be obtained.
4.3.2. Emergency Passenger Flow
4.3.3. None Transfer Learning
5. Summary
Author Contributions
Funding
Institutional Review Board Statement
Informed Consent Statement
Data Availability Statement
Conflicts of Interest
References
- Sun, S.; Zhang, C.; Yu, G. A Bayesian Network Approach to Traffic Flow Forecasting. IEEE Trans. Intell. Transp. Syst. 2006, 7, 124–132. [Google Scholar] [CrossRef]
- Cai, L.; Yu, Y.; Zhang, S.; Song, Y.; Xiong, Z.; Zhou, T. A Sample-Rebalanced Outlier-Rejected-Nearest Neighbor Regression Model for Short-Term Traffic Flow Forecasting. IEEE Access 2020, 8, 22686–22696. [Google Scholar] [CrossRef]
- Sun, Y.; Leng, B.; Guan, W. A novel wavelet-SVM short-time passenger flow prediction in Beijing subway system. Neurocomputing 2015, 166, 109–121. [Google Scholar] [CrossRef]
- Li, H.; Wang, Y.; Xu, X.; Qin, L.; Zhang, H. Short-term passenger flow prediction under passenger flow control using a dynamic radial basis function network. Appl. Soft Comput. 2019, 83, 105620. [Google Scholar] [CrossRef]
- Zhang, J.; Chen, F.; Shen, Q. Cluster-Based LSTM Network for Short-Term Passenger Flow Forecasting in Urban Rail Transit. IEEE Access 2019, 7, 147653–147671. [Google Scholar] [CrossRef]
- Yu, W.; Zhifei, W.; Hongye, W.; Junfeng, Z.; Ruilong, F. Prediction of passenger flow based on CNN-LSTM hybrid model. In Proceedings of the 12th International Symposium on Computational Intelligence and Design (ISCID), Hangzhou, China, 14–15 December 2019; pp. 132–135. [Google Scholar]
- Jiao, F.; Huang, L.; Song, R.; Huang, H. An Improved STL-LSTM Model for Daily Bus Passenger Flow Prediction during the COVID-19 Pandemic. Sensors 2021, 21, 5950. [Google Scholar] [CrossRef] [PubMed]
- Zhao, M.; Zhang, X.; Jin, Y. Wavelet embedded attentive Bi-LSTM for short-term passenger flow forecasting. In Proceedings of the IEEE Seventh International Conference on Big Data Computing Service and Applications (BigDataService), Oxford, UK, 23–26 August 2021; pp. 177–183. [Google Scholar]
- Gao, H.; Xu, J.; Li, S.; Xu, L. Forecast of passenger flow under the interruption of urban rail transit operation. In Lecture Notes in Electrical Engineering: Proceedings of the 4th International Conference on Electrical and Information Technologies for Rail Transportation (EITRT); Springer: New York, NY, USA, 2019; pp. 283–291. [Google Scholar]
- Pan, S.J.; Yang, Q. A Survey on Transfer Learning. IEEE Trans. Knowl. Data Eng. 2010, 22, 1345–1359. [Google Scholar] [CrossRef]
- Wang, C.; Mahadevan, S. Heterogeneous domain adaptation using manifold alignment. In Proceedings of the 22nd International Joint Conference on Artificial Intelligence, Barcelona, Spain, 16–22 July 2011; Volume 2, pp. 541–546. [Google Scholar]
- Zhou, J.T.; Tsang, I.W.; Pan, S.J.; Tan, M. Heterogeneous domain adaptation for multiple classes. In Proceedings of the International Conference on Artificial Intelligence and Statistics, Reykjavic, Iceland, 22–25 April 2014; pp. 1095–1103. [Google Scholar]
- Zhou, J.T.; Pan, S.; Tsang, I.W.; Yan, Y. Hybrid heterogeneous transfer learning through deep learning. In Proceedings of the National Conference on Artificial Intelligence, Québec City, QC, Canada, 27–31 July 2014; Volume 3, pp. 2213–2220. [Google Scholar]
- Raghu, M.; Zhang, C.; Kleinberg, J.; Bengio, S. Transfusion: Understanding Transfer Learning for Medical Imaging, NeurIPS. arXiv 2019, arXiv:1902.07208. [Google Scholar]
- Guo, Y.; Shi, H.; Kumar, A.; Grauman, K.; Rosing, T.; Feris, R. SpotTune: Transfer learning through adaptive fine-tuning. In Proceedings of the IEEE/CVF Conference on Computer Vision and Pattern Recognition (CVPR), Long Beach, CA, USA, 15–20 June 2019; pp. 4805–4814. [Google Scholar]
- Devlin, J.; Chang, M.-W.; Lee, K.; Toutanova, K. BERT: Pre-training of Deep Bidirectional Transformers for Language Understanding. arXiv 2018, arXiv:1810.04805. [Google Scholar]
- Houlsby, N.; Giurgiu, A.; Jastrzebski, S.; Morrone, B.; De Laroussilhe, Q.; Gesmundo, A.; Attariyan, M.; Gelly, S. Parameter-Efficient Transfer Learning for NLP. In Proceedings of the 36th International Conference on Machine Learning (Proceedings of Machine Learning Research), Long Beach, CA, USA, 9–15 June 2019; Volume 97, pp. 2790–2799. [Google Scholar]
- Gordon, M.; Duh, K.; Andrews, N. Compressing BERT: Studying the Effects of Weight Pruning on Transfer Learning. In Proceedings of the Rep4NLP 2020 Workshop at ACL 2020 Conference, Online, 19 July 2020. [Google Scholar]
- Mozafari, M.; Farahbakhsh, R.; Crespi, N. A BERT-Based Transfer learning approach for hate speech detection in online social media. In COMPLEX NETWORKS 2019: Complex Networks and Their Applications VIII; Springer: Berlin, Germany, 2019; Volume 1, pp. 928–940. [Google Scholar]
- Xiao, D.; Huang, Y.; Qin, C.; Liu, Z.; Li, Y.; Liu, C. Transfer learning with convolutional neural networks for small sample size problem in machinery fault diagnosis. Proc. Inst. Mech. Eng. Part C J. Mech. Eng. Sci. 2019, 233, 5131–5143. [Google Scholar] [CrossRef]











| Input | Symbol | Form |
|---|---|---|
| passenger flow | matrix | |
| time period | t | 0~24 |
| whether workdays | wd | 0 (no) or 1 (yes) |
| fault level | 0~9, 0 means no fault. |
| Station | 1 | 2 | 3 | 4 | 5 | 6 |
|---|---|---|---|---|---|---|
| real flow | 0 | 5 | 50 | 500 | 5000 | 50,000 |
| predict flow | 1 | 4 | 49 | 498 | 4998 | 49,998 |
| error | 1 | 1 | 1 | 2 | 2 | 2 |
| MPE | err | 0.2 | 0.02 | 0.004 | 0.0004 | 0.00004 |
| WMPE | 0.00002 | 0.00002 | 0.00002 | 0.00004 | 0.00004 | 0.00004 |
| MAPE | 0.03741 | |||||
| WMAPE | 0.00016 |
| Sample Size | Error Rate | |
|---|---|---|
| >500 | 585,289 | 12.95% |
| <1000 | 44,254 | 147.82 |
| 1000~5000 | 230,557 | 19.75% |
| >5000 | 325,854 | 4.91% |
Publisher’s Note: MDPI stays neutral with regard to jurisdictional claims in published maps and institutional affiliations. |
© 2022 by the authors. Licensee MDPI, Basel, Switzerland. This article is an open access article distributed under the terms and conditions of the Creative Commons Attribution (CC BY) license (https://creativecommons.org/licenses/by/4.0/).
Share and Cite
Ma, J.; Zeng, X.; Xue, X.; Deng, R. Metro Emergency Passenger Flow Prediction on Transfer Learning and LSTM Model. Appl. Sci. 2022, 12, 1644. https://doi.org/10.3390/app12031644
Ma J, Zeng X, Xue X, Deng R. Metro Emergency Passenger Flow Prediction on Transfer Learning and LSTM Model. Applied Sciences. 2022; 12(3):1644. https://doi.org/10.3390/app12031644
Chicago/Turabian StyleMa, Jingye, Xin Zeng, Xiaoping Xue, and Ranran Deng. 2022. "Metro Emergency Passenger Flow Prediction on Transfer Learning and LSTM Model" Applied Sciences 12, no. 3: 1644. https://doi.org/10.3390/app12031644
APA StyleMa, J., Zeng, X., Xue, X., & Deng, R. (2022). Metro Emergency Passenger Flow Prediction on Transfer Learning and LSTM Model. Applied Sciences, 12(3), 1644. https://doi.org/10.3390/app12031644
