Smart Digital Forensic Readiness Model for Shadow IoT Devices
Abstract
:1. Introduction
2. Background
2.1. IoT Digital Forensic Challenges
2.2. Digital Forensic Readiness for IoT
2.3. Risks of Shadow IoT Devices and the Requirements for Digital Forensic Readiness
- Managing gateway security connections: In a situation where a shadow IoT device joins an enterprise network through an external communication mode such as WiFi or Bluetooth, it will be very difficult for the security gateway to control and manage this connection. Should the IoT device be vulnerable in nature, it could pose a gross impending danger to the network if an adversary leverages on a known vulnerability to sniff out and obtain sensitive data from the enterprise network. It then becomes highly imperative for organizations to proactively employ DFR to identify and gather potential digital evidence. Due to the high risk associated with the presence of shadow IoT devices in the enterprise network, neglecting to gather evidence while the device is still within the network may have catastrophic consequences. For example, shadow IoT devices may premeditate attacks or be used to launch attack(s) on the enterprise network. They quickly become untraceable as their lifespan on the network is always short.
- Managing the possibility of cross-contamination of legitimate IoT devices: The possibility of cross-contamination of legitimate IoT devices connected to the enterprise network is virtually inevitable if vulnerable shadow IoT devices are present. This can pose a great danger to the health and availability of the enterprise network. Hence, the accurate identification of shadow IoT devices, and the monitoring and capturing of their activities as potential digital evidence and as a readiness process in case of any harm to the enterprise network cannot be overemphasized.
- Profiling network activities: The readiness process for shadow IoT devices will serve as a measure to assist cybersecurity incident responders, IoT forensic experts and cybercrime investigators in profiling enterprise networks so as to identify and analyze the network activities of shadow IoT devices that violate an organization’s security policies.
- Managing digital forensic investigation (DFI) costs: The DFI process is made easy when potential digital evidence is available. As indicated earlier, the lifespan of shadow IoT devices on the organization’s network is short. This may have critical cost implications as potential digital evidence (PDE) may become untraceable when DFI is difficult to conduct. At the occurrence of a crime or breech in the organization’s policies involving a shadow IoT device, DFI could become tedious because the device might not leave a trace of its activities on the enterprise network.
3. Conceptual Model for Digital Forensic Readiness in Shadow IoT Devices
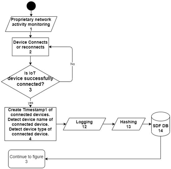
3.1. Stage A: Device Connection
3.2. Stage B: Device Identification
3.3. Stage C: Shadow IoT Device Monitoring
3.3.1. Shadow IoT Device Feature Analysis
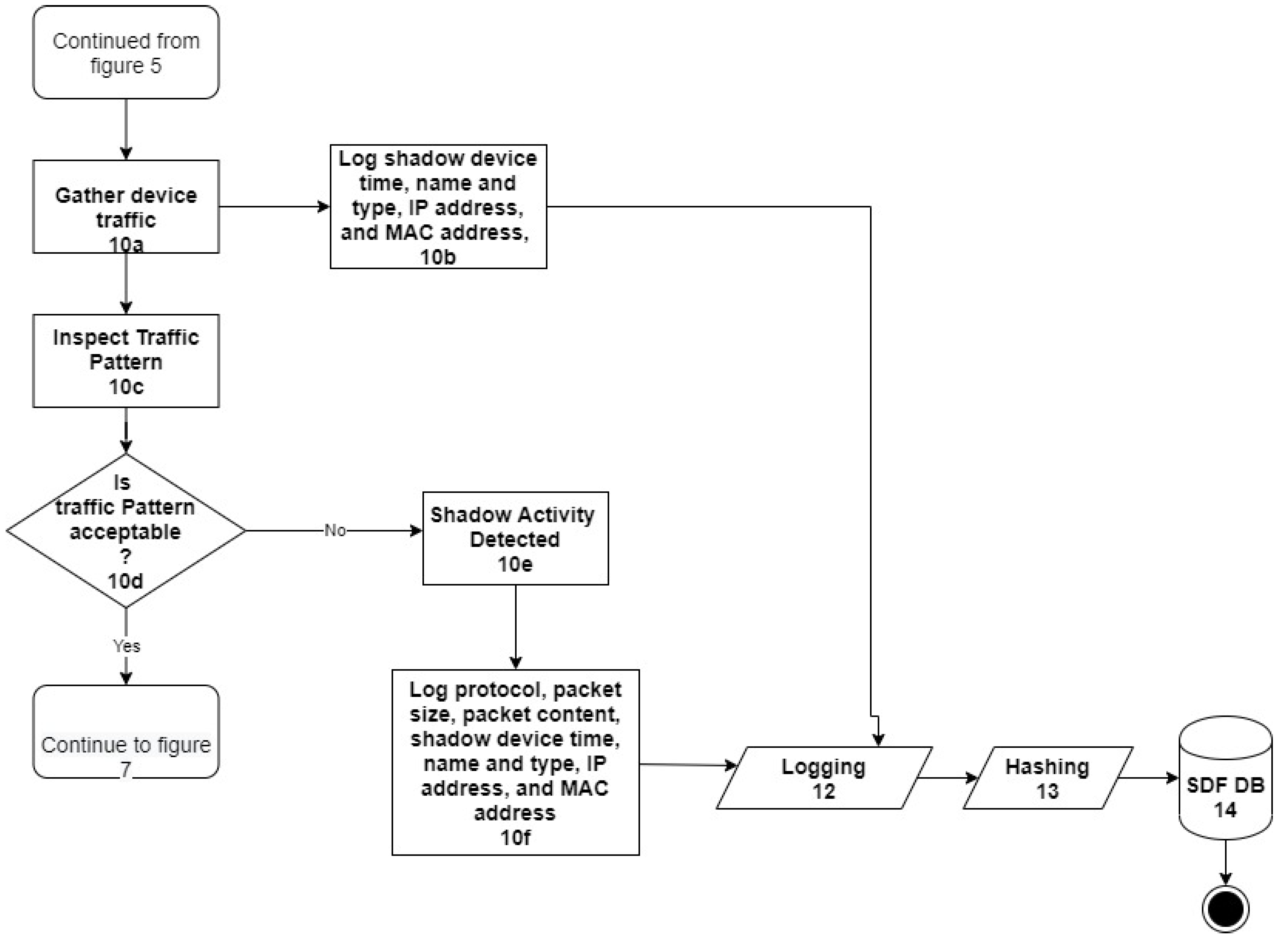
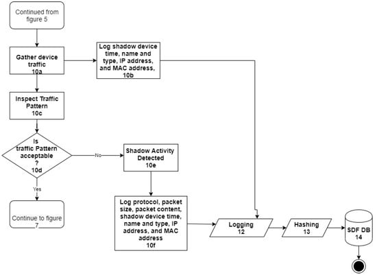
3.3.2. Shadow IoT Device Traffic Analysis
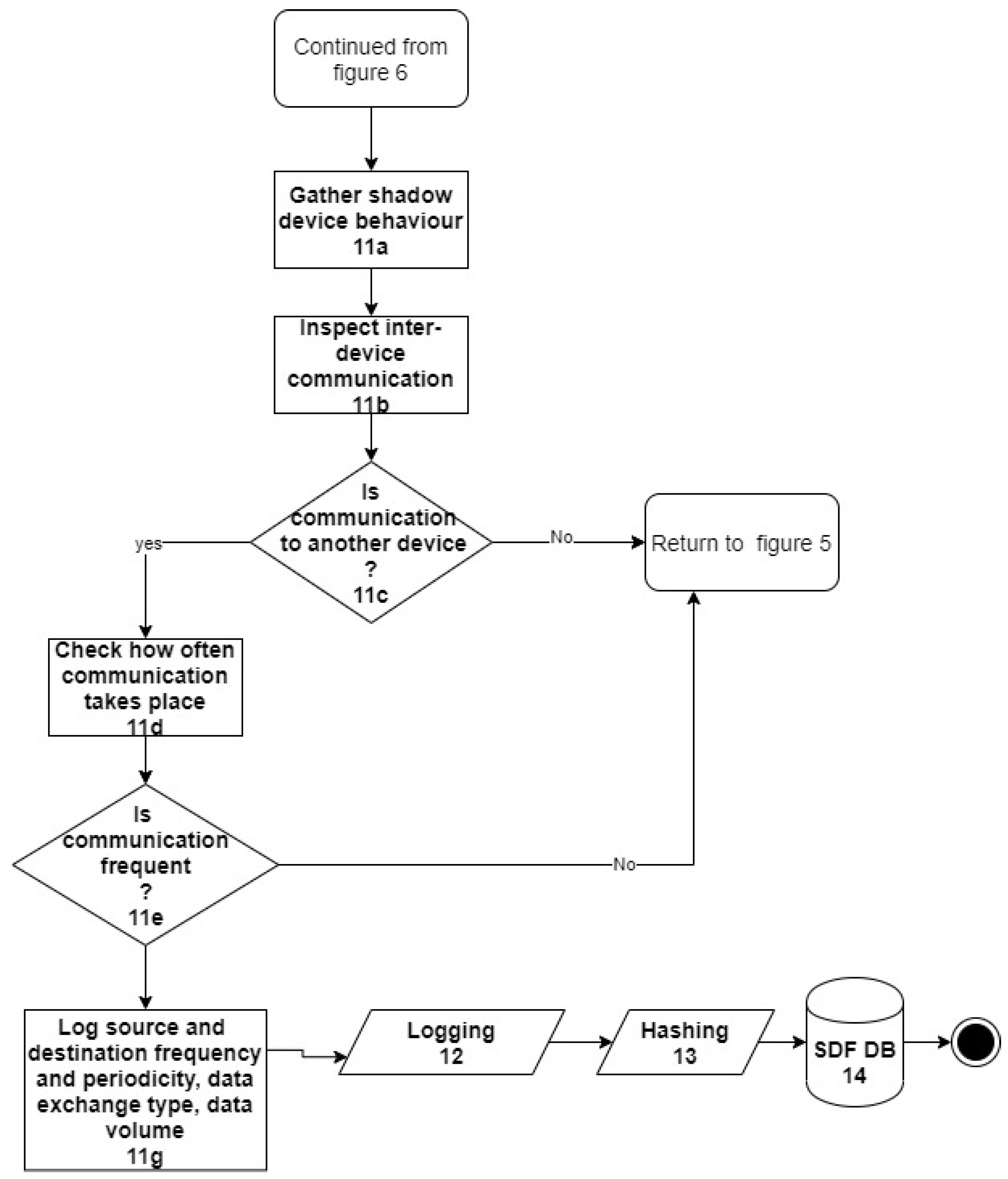
3.3.3. Shadow IoT Device Behaviour Monitoring
3.4. Stage D: Digital Evidence Gathering
3.5. Stage E: Digital Evidence Preservation
3.6. Stage F: Digital Evidence Secure Storage
3.7. Formal Specification of the SIoTDFR Model
Formal Model Algorithm of SIoTDFR
| Algorithm 1. Formal model algorithm of SIoTDFR. |
| Device connection stage (CD) |
| Start/initiate NM |
| If (NM) |
| Begin |
| For any device Di ϵ D |
| If DC(Di) |
| PDi = GetPDE(Di) |
| ProcessPDE(PDi) |
| Endif |
| End for |
| End |
| End |
| Device Identification stage (ID) |
| For any Device Di ϵ D |
| If !(Di ϵ WD) |
| Begin |
| ISWD(Di) = false |
| PDi = GetPDE(Di) |
| ProcessPDE(PDi) |
| End |
| Endif |
| End for |
| Shadow Device Monitoring (MSD) |
| Feature_Analysis (Di) |
| If PF (Di) == 0 |
| Begin |
| GetPDE(Di) where PDE = {packet length, protocol used, packet count, total packet} |
| ProcessPDE(Di) |
| End |
| Else |
| Begin |
| Traffic_analysis(Di) |
| If TP(Di)==0 |
| Begin |
| If ISSA(Di)= True |
| GetPDE(Di) where PDE = {protocol, packet size, packet content, interarrival time, DT, DN, T, IP, MAC } |
| ProcessPDE(Di) |
| End |
| Else |
| Begin |
| Behaviour_monitorng() |
| If ISCOM(Di) ==True |
| GetPDE(Di) where PDE = {source IP, destination IP, source frequency. source periodicity, data exchange type, data volume, destination periodicity} |
| ProcessPDE(Di) |
| End |
| Endif |
| End |
| Endif |
4. Evaluation of the SIoTDFR Model
5. Conclusions
Author Contributions
Funding
Institutional Review Board Statement
Informed Consent Statement
Data Availability Statement
Conflicts of Interest
References
- Gupta, A. IoT—Connected Devices Network. Available online: https://jktech.com/insight/blogs/ (accessed on 4 August 2021).
- Onag, G. Analysts Say COVID-19 Pandemic Will Spur IoT Adoption; FutureIoT: Singapore, 2020. [Google Scholar]
- Cox, G. Managing the risks of shadow IoT. Netw. Secur. 2019, 2019, 14–17. [Google Scholar] [CrossRef]
- Atlam, H.F.; Alenezi, A.; Alassafi, M.O.; Alshdadi, A.A.; Wills, G.B. Security, cybercrime and digital forensics for IoT. In Principles of Internet of Things (IoT) Ecosystem: Insight Paradigm; Springer International Publishing: Cham, Switzerland, 2020; pp. 551–577. [Google Scholar]
- Karabiyik, U.; Akkaya, K. Digital forensics for IoT and WSNS. In Mission-Oriented Sensor Networks and Systems: Art and Science; Springer International Publishing: Cham, Switzerland, 2019; pp. 171–207. [Google Scholar]
- Al-Fuqaha, A.; Guizani, M.; Mohammadi, M.; Aledhari, M.; Ayyash, M. Internet of Things: A Survey on Enabling Technologies, Protocols, and Applications. IEEE Commun. Surv. Tutor. 2015, 17, 2347–2376. [Google Scholar] [CrossRef]
- Leiner, B.M.; Cerf, V.G.; Clark, D.D.; Kahn, R.E.; Kleinrock, L.; Lynch, D.C.; Postel, J.; Roberts, L.G.; Wolff, S. A brief history of the Internet. ACM SIGCOMM Comput. Commun. Rev. 2009, 39, 22–31. [Google Scholar] [CrossRef]
- Stoyanova, M.; Nikoloudakis, Y.; Panagiotakis, S.; Pallis, E.; Markakis, E.K. A Survey on the Internet of Things (IoT) Forensics: Challenges, Approaches, and Open Issues. IEEE Commun. Surv. Tutor. 2020, 22, 1191–1221. [Google Scholar] [CrossRef]
- Kumar, R.; Goyal, R. On cloud security requirements, threats, vulnerabilities and countermeasures: A survey. Comput. Sci. Rev. 2019, 33, 1–48. [Google Scholar] [CrossRef]
- Alabdulsalam, S.; Schaefer, K.; Kechadi, T.; Le-Khac, N.-A. Internet of Things Forensics—Challenges and a Case Study. In Advances in Digital Forensics XIV; Springer International Publishing: Cham, Switzerland, 2018; pp. 35–48. [Google Scholar]
- Hameed, S.; Khan, F.I.; Hameed, B. Understanding Security Requirements and Challenges in Internet of Things (IoT): A Review. J. Comput. Netw. Commun. 2019, 2019, 9629381. [Google Scholar] [CrossRef] [Green Version]
- Kigwana, I.; Venter, H.S. A Digital Forensic Readiness Architecture for Online Examinations. S. Afr. Comput. J. 2018, 30, 1–39. [Google Scholar] [CrossRef] [Green Version]
- Zulkipli, N.H.N.; Wills, G.B. An Exploratory Study on Readiness Framework in IoT Forensics. Procedia Comput. Sci. 2021, 179, 966–973. [Google Scholar] [CrossRef]
- Collie, J. A Strategic Model for Forensic Readiness. Athens J. Sci. 2018, 5, 167–182. [Google Scholar] [CrossRef]
- Kebande, V.R.; Mudau, P.P.; Ikuesan, R.A.; Venter, H.S.; Choo, K.-K.R. Holistic digital forensic readiness framework for IoT-enabled organizations. Forensic Sci. Int. Rep. 2020, 2, 100117. [Google Scholar] [CrossRef]
- Kebande, V.R.; Ray, A. A generic digital forensic investigation framework for internet of things (IoT). In Proceedings of the 2016 IEEE 4th International Conference on Future Internet of Things and Cloud (FiCloud), Vienna, Austria, 22–24 August 2016; pp. 356–362. [Google Scholar]
- Valjarević, A.; Venter, H.; Petrović, R. ISO/IEC 27043: 2015—Role and application. In Proceedings of the 2016 24th Telecommunications Forum (TELFOR), Belgrade, Serbia, 22–23 November 2016; pp. 1–4. [Google Scholar]
- Kebande, V.R.; Karie, N.M.; Venter, H.S. Adding Digital Forensic Readiness as a Security Component to the IoT Domain. Int. J. Adv. Sci. Eng. Inf. Technol. 2018, 8, 1–11. [Google Scholar] [CrossRef] [Green Version]
- Moussa, A.N.; Ithnin, N.B.; Miaikil, O.A. Conceptual forensic readiness framework for infrastructure as a service consumers. In Proceedings of the 2014 IEEE Conference on Systems, Process and Control (ICSPC 2014), Kuala Lumpur, Malaysia, 12–14 December 2014; pp. 162–167. [Google Scholar]
- Pooe, A.; Labuschagne, L. A conceptual model for digital forensic readiness. In Proceedings of the 2012 Information Security for South Africa, Johannesberg, South Africa, 15–17 August 2012; pp. 1–8. [Google Scholar] [CrossRef]
- Oriwoh, E.; Sant, P. The forensics edge management system: A concept and design. In Proceedings of the 2013 IEEE 10th International Conference on Ubiquitous Intelligence and Computing and 2013 IEEE 10th International Conference on Autonomic and Trusted Computing, Vietri sul Mare, Italy, 18–21 December 2013; pp. 544–550. [Google Scholar]
- Kebande, V.R.; Karie, N.M.; Venter, H. A generic Digital Forensic Readiness model for BYOD using honeypot technology. In Proceedings of the 2016 IST-Africa Week Conference, Durban, South Africa, 11–13 May 2016; pp. 1–12. [Google Scholar]
- Rizal, R.; Hikmatyar, M. Investigation Internet of Things (IoT) Device using Integrated Digital Forensics Investigation Framework (IDFIF). J. Phys. Conf. Ser. 2019, 1179. [Google Scholar] [CrossRef]
- Arshad, H.; Omlara, E.; Abiodun, I.O.; Aminu, A. A semi-automated forensic investigation model for online social networks. Comput. Secur. 2020, 97, 101946. [Google Scholar] [CrossRef]
- Ali, M.I.; Kaur, S.; Khamparia, A.; Gupta, D.; Kumar, S.; Khanna, A.; Al-Turjman, F. Security challenges and cyber forensic ecosystem in IOT driven BYOD environment. IEEE Access 2020, 8, 172770–172782. [Google Scholar] [CrossRef]
- Wiyono, R.T.; Cahyani, N.D.W. Performance Analysis of Decision Tree C4. 5 as a Classification Technique to Conduct Network Forensics for Botnet Activities in Internet of Things. In Proceedings of the 2020 International Conference on Data Science and Its Applications (ICoDSA), Bandung, Indonesia, 5–6 August 2020; pp. 1–5. [Google Scholar]
- Lee, S.J.; Kim, G.B. K-FFRaaS: A Generic Model for Financial Forensic Readiness as a Service in Korea. IEEE Access 2021, 9, 130094–130110. [Google Scholar] [CrossRef]
- Sadineni, L.; Pilli, E.S.; Battula, R.B. Ready-IoT: A Novel Forensic Readiness Model for Internet of Things. In Proceedings of the 2021 IEEE 7th World Forum on Internet of Things (WF-IoT), New Orleans, LA, USA, 14 June–31 July 2021; pp. 89–94. [Google Scholar]
- Nortje, J.G.; Myburgh, D.C. The Search and Seizure of Digital Evidence by Forensic Investigators in South Africa. Potchefstroom Electron. Law J. Potchefstroomse Elektron. Regsblad 2019, 22, 1–42. [Google Scholar] [CrossRef]
- Losavio, M.M.; Chow, K.P.; Koltay, A.; James, J. The Internet of Things and the Smart City: Legal challenges with digital forensics, privacy, and security. Secur. Priv. 2018, 1, e23. [Google Scholar] [CrossRef] [Green Version]







| Name | Notation | Name | Notation |
|---|---|---|---|
| Device | D | Timestamp for device D | TD |
| Proprietary network activity monitoring | NM | Device connection | DC() |
| Device name | Dn | Device type | DT |
| Potential digital evidence (PDE) | P | MAC address | MAC |
| Hash function for PDE Pi | Hash(Pi) | Logging function for PDE Pi | Logp(Pi) |
| Secure Storage for PDE | SStore(Pi) | Shadow Devices | SD |
| Whitelisted Devices | WD | IP address | IP |
| ISWD | Is whitelisted device | ISWD() | {True, False} is a Boolean function |
| GetPDE() | Get PDE for D | CD | Device connection stage |
| ID | Device identification stage | MSD | Shadow device monitoring stage |
| PF | Packet feature | PF() | {True, False} is a Boolean function |
| TP | Traffic pattern | TP() | {True, False} is a Boolean function |
| ISSA | Is shadow activity | ISSA() | {True, False} is a Boolean function |
| ISCOM | Is communication | ISCOM() | {True, False} is a Boolean function |
| D = {WD, SD} |
|---|
| where WD = {WD1, WD2, …, WDn} where nϵN set of whitelisted IoT devices |
| SD = {SD1, SD2, …, SDm} where mϵM set of shadow IoT devices |
| ProcessPDE(P) is a 3-staged function defined as ProcessPDE(P) = {Logp(P), Hash(P), SStore(P)} |
| GetPDE() = {} that collects the PDE |
| The proposed model SIoTDFR is a three (3)—tuple staged model defined as |
| SIoTDFR(SD) = {CD, ID, MSD} |
| Where CD = Device connection stage |
| ID = Device identification stage |
| MSD = Shadow device monitoring stage |
| Article | Network Connection Type | Problem Addressed | Captured PDE | Methodology | Standard |
|---|---|---|---|---|---|
| [20] | Model for digital forensic readiness | Digital forensic readiness framework | Classification of Organizational process, policy, people, and technology | None | |
| [21] | Smart home network | Forensics Edge Management System (FEMS) for smart IoT home | Events, threshold detection, data compression | Not defined | None |
| [22] | BYOD inclusive network | Digital forensic readiness model | Not defined | Honeypot technology | ISO/IEC 27043:2015 |
| [23] | IoT network | Flooding attack detection | Attack detection | Test bed | None |
| [24] | Online social network | Cyberbullying | Tweets, replies, quotes, retweet, profile data, direct message | Formal theory | ISO/IEC 27043:2015, ISO/IEC 27050–1:2016 and ISO/IEC 27050–2:2018 |
| [25] | BYOD for smart city infrastructure | Malicious BYOD activities | BYOD endpoint activities inside the network and VPN connected BYOD interface | Simulated environment | None |
| [26] | Botnet inclusive network | Identify and classify attack and assist trace of botnet activity on IoT network | Network flow | Decision tree | None |
| [27] | Financial companies | Identified causes of incidents such as DDoS attack, Data breach, forgery and falsification | Logs, account lists, history of electronic data, remote management history | Conceptualized | ISO/IEC 27043:2015 |
| [28] | IoT network | Forensic readiness model for IoT, link layer dataset | Network parameters and traffic | Simulation on Cooja Provenance graph | None |
| Our Work | Shadow IoT device inclusive network | IoT Device identification, IoT device monitoring | Device time stamp, IP address, MAC address, device type, protocol, packet size, packet content, device communication frequency, data exchange type, data volume, periodicity, source and destination address | Simulation on Contiki cooja | ISO/IEC:2701573:2015 |
Publisher’s Note: MDPI stays neutral with regard to jurisdictional claims in published maps and institutional affiliations. |
© 2022 by the authors. Licensee MDPI, Basel, Switzerland. This article is an open access article distributed under the terms and conditions of the Creative Commons Attribution (CC BY) license (https://creativecommons.org/licenses/by/4.0/).
Share and Cite
Fagbola, F.I.; Venter, H.S. Smart Digital Forensic Readiness Model for Shadow IoT Devices. Appl. Sci. 2022, 12, 730. https://doi.org/10.3390/app12020730
Fagbola FI, Venter HS. Smart Digital Forensic Readiness Model for Shadow IoT Devices. Applied Sciences. 2022; 12(2):730. https://doi.org/10.3390/app12020730
Chicago/Turabian StyleFagbola, Funmilola Ikeolu, and Hein S. Venter. 2022. "Smart Digital Forensic Readiness Model for Shadow IoT Devices" Applied Sciences 12, no. 2: 730. https://doi.org/10.3390/app12020730
APA StyleFagbola, F. I., & Venter, H. S. (2022). Smart Digital Forensic Readiness Model for Shadow IoT Devices. Applied Sciences, 12(2), 730. https://doi.org/10.3390/app12020730

