Enhanced Performance of Concrete Dispersedly Reinforced with Sisal Fibers
Abstract
:1. Introduction
1.1. Background
1.2. Rationale
2. Materials and Methods
2.1. Materials
2.2. Methods
- -
- Rise in temperature—3 h;
- -
- Isothermal exposure—6 h;
- -
- Cooling in a closed chamber—15 h.
- -
- Batching of concrete components was carried out on a “VLTE-2100” scale (“NPP Gosmetr”, St. Petersburg, Russia) with an accuracy of 0.05 g;
- -
- Then, the concrete components were loaded sequentially into the concrete mixer: first water, then Portland cement, sand and crushed stone, and then fiber;
- -
- After loading the components into the concrete mixer, mixing was carried out until a homogenized mixture was obtained;
- -
- After the preparation of the mixture, it was unloaded into metal molds of standard sizes (Figure 3) and then compacted on a laboratory vibration platform;
- -
- Then, the samples in the molds for 1 day were placed in a chamber for heat and moisture treatment, after which they were removed from the molds and continued to gain strength in natural conditions for 14 days;
- -
- Fifteen days after manufacture, the samples were destroyed on the “IP-1000” press (OOO “NPK TEKHMASH”, Neftekamsk, Republic of Bashkortostan, Russia) and a tensile testing machine (“IMASH LLC”, Armavir, Russia) in accordance with the requirements of GOST 10180, “Concretes. Methods for strength determination using reference specimens” [70], and GOST 24452, “Concretes. Methods of prismatic, compressive strength, modulus of elasticity and Poisson’s ratio determination” [71].
- -
- Control and evaluation of the strength of concrete were carried out in accordance with GOST 18105-2018, “Concretes. Rules for control and assessment of strength” [72].
3. Results and Discussion
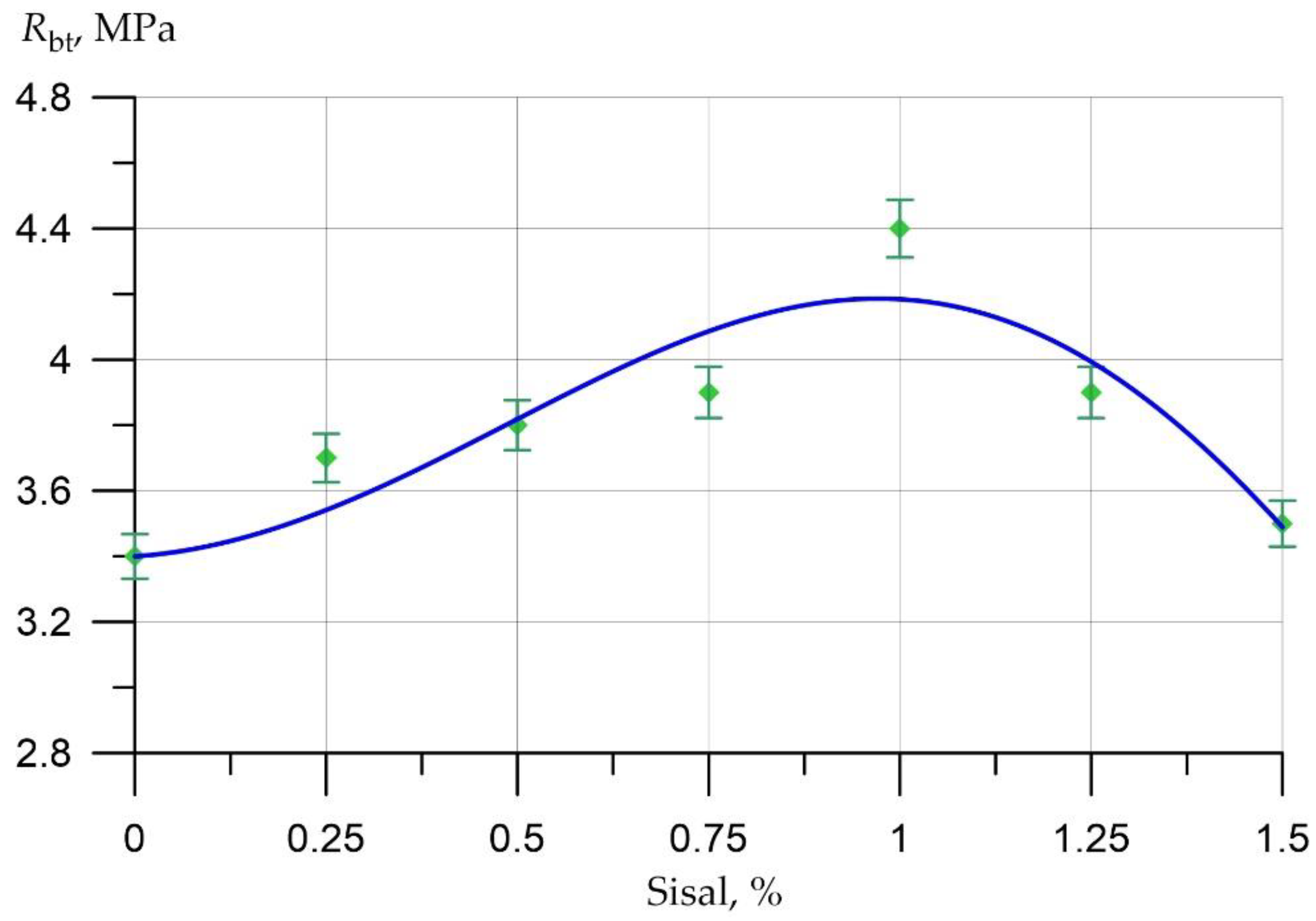
3.1. Study of the Effect of Dispersed Fiber Reinforcement with Sisal Fibers on the Physical, Mechanical and Deformation Characteristics of Normal Weight Concrete at Different Percentages of Fiber Reinforcement
3.2. Analysis of the Structure of Normal Weight Concrete, Dispersed Reinforced with Sisal Fibers
4. Conclusions
- (1)
- Based on the results of the analysis of literary sources, the possibility of mass use of natural fibers as a fiber-dispersed reinforcement of concrete and reinforced concrete structures of buildings and structures, as well as finishing and landscaping elements, has been established.
- (2)
- A technology was developed for the use of such materials in concretes, dispersed-reinforced with sisal fibers.
- (3)
- The main parameters and characteristics of the sisal fiber used for fiber reinforcement of concrete and other components of the fiber-reinforced concrete mixture are determined.
- (4)
- The optimal dosage of sisal fibers in concrete was determined, equal to 1% by weight of cement.
- (5)
- The increases in the strength characteristics of the obtained fiber-reinforced concrete samples at the optimal dosage of fiber in an amount of 1% by weight of cement were 22% for compressive strength, 27% for axial compressive strength, 33% for tensile strength in bending and 29% for axial tensile strength.
- (6)
- The increases in deformation characteristics were 25% for deformations under axial compression, 42% for deformations under axial tension and 15% for the elastic modulus.
- (7)
- Dependences between the composition, structure and properties of concretes, dispersed-reinforced with sisal fibers, were determined.
Author Contributions
Funding
Institutional Review Board Statement
Informed Consent Statement
Data Availability Statement
Acknowledgments
Conflicts of Interest
References
- Ahmad, J.; Manan, A.; Ali, A.; Khan, M.W.; Asim, M.; Zaid, O. A Study on Mechanical and Durability Aspects of Concrete Modified with Steel Fibers (SFs). Civ. Eng. Archit. 2020, 8, 814–823. [Google Scholar] [CrossRef]
- Smirnova, O. Compatibility of Shungisite Microfillers with Polycarboxylate Admixtures in Cement Compositions. ARPN J. Eng. Appl. Sci. 2019, 14, 600–610. Available online: https://www.researchgate.net/publication/331768977_Compatibility_of_shungisite_microfillers_with_polycarboxylate_admixtures_in_cement_compositions (accessed on 19 August 2022).
- Said, A.; Elsayed, M.; Abd El-Azim, A.; Althoey, F.; Tayeh, B.A. Using Ultra-High Performance Fiber Reinforced Concrete in Improvement Shear Strength of Reinforced Concrete Beams. Case Stud. Constr. Mater. 2022, 16, e01009. [Google Scholar] [CrossRef]
- Liu, C.; Fang, D.; Zhao, L. Reflection on earthquake damage of buildings in 2015 Nepal earthquake and seismic measures for post-earthquake reconstruction. Structures 2021, 30, 647–658. [Google Scholar] [CrossRef]
- Liu, C.; Fang, D.; Zhao, L.; Zhou, J. Seismic fragility estimates of steel diagrid structure with performance-based tests for high-rise buildings. J. Build. Eng. 2022, 52, 104459. [Google Scholar] [CrossRef]
- Pawaskar, P.D.; Naik, P.P.; James, K.R.; Pawaskar, P.D.; Shirodkar, V.R. Utilization of waste pet bottles in concrete as an innovative composite building material. NOVYI MIR Res. J. 2021, 6, 57–72. Available online: https://www.researchgate.net/publication/358130887_Utilization_of_waste_PET_bottles_in_concrete_as_an_innovative_composite_building_material (accessed on 19 August 2022).
- Rahman, M.T.; Mohajerani, A.; Giustozzi, F. Recycling of Waste Materials for Asphalt Concrete and Bitumen: A Review. Materials 2020, 13, 1495. [Google Scholar] [CrossRef]
- Committee, A.C.I. Building Code Requirements for Structural Concrete (ACI 318-08) and Commentary; American Concrete Institute: Farmington Hills, MI, USA, 2008. [Google Scholar]
- Ahmad, J.; Martínez-García, R.; de-Prado-Gil, J.; Irshad, K.; El-Shorbagy, M.A.; Fediuk, R.; Vatin, N.I. Concrete with Partial Substitution of Waste Glass and Recycled Concrete Aggregate. Materials 2022, 15, 430. [Google Scholar] [CrossRef]
- Huang, S.; Wang, H.; Ahmad, W.; Ahmad, A.; Ivanovich Vatin, N.; Mohamed, A.M.; Deifalla, A.F.; Mehmood, I. Plastic Waste Management Strategies and Their Environmental Aspects: A Scientometric Analysis and Comprehensive Review. Int. J. Environ. Res. Public Health 2022, 19, 4556. [Google Scholar] [CrossRef]
- Pérez, E.; Famá, L.; Pardo, S.G.; Abad, M.J.; Bernal, C. Tensile and fracture behaviour of PP/wood flour composites. Compos. Part B Eng. 2012, 43, 2795–2800. [Google Scholar] [CrossRef]
- Castoldi, R.D.S.; de Souza, L.M.S.; Silva, F.D.A. Comparative study on the mechanical behavior and durability of polypropylene and sisal fiber reinforced concretes. Constr. Build. Mater. 2019, 211, 617–628. [Google Scholar] [CrossRef]
- Bourmaud, A.; Baley, C. Nanoindentation contribution to mechanical characterization of vegetal fibers. Compos. Part B Eng. 2012, 43, 2861–2866. [Google Scholar] [CrossRef]
- Chandramohan, D.; Marimuthu, K. A Review on Natural Fibers. Sci. Res. 2011, 8, 194–206. Available online: https://www.researchgate.net/publication/215560184_A_Review_on_Natural_Fibers (accessed on 19 August 2022).
- Shih, Y.F.; Cai, J.X.; Kuan, C.S.; Hsieh, C.F. Plant fibers and wasted fiber/epoxy green composites. Compos. Part B Eng. 2012, 43, 2817–2821. [Google Scholar] [CrossRef]
- Singh, S.; Khairandish, M.I.; Razahi, M.M.; Kumar, R.; Chohan, J.S.; Tiwary, A.; Sharma, S.; Li, C.; Ilyas, R.A.; Asyraf, M.R.M.; et al. Preference Index of Sustainable Natural Fibers in Stone Matrix Asphalt Mixture Using Waste Marble. Materials 2022, 15, 2729. [Google Scholar] [CrossRef] [PubMed]
- Sinitsky, O.; Trabelsi, N.; Priel, E. The Mechanical Response of Epoxy–Sisal Composites Considering Fiber Anisotropy: A Computational and Experimental Study. Fibers 2022, 10, 43. [Google Scholar] [CrossRef]
- Tan, S.; Liang, Y.; Huang, Y.; Xi, J.; Huang, X.; Yang, X.; Yi, K. Phylogeny and Expression Atlas of the NITRATE TRANSPORTER 1/PEPTIDE TRANSPORTER FAMILY in Agave. Plants 2022, 11, 1434. [Google Scholar] [CrossRef]
- Aguado, R.; Tarrés, Q.; Pèlach, M.À.; Mutjé, P.; de la Fuente, E.; Sanchez-Salvador, J.L.; Negro, C.; Delgado-Aguilar, M. Micro- and Nano-fibrillated Cellulose from Annual Plant-Sourced Fibers: Comparison between Enzymatic Hydrolysis and Mechanical Refining. Nanomaterials 2022, 12, 1612. [Google Scholar] [CrossRef]
- Pirah, S.; Wang, X.; Javed, M.; Simair, K.; Wang, B.; Sui, X.; Lu, C. Lignocellulose Extraction from Sisal Fiber and Its Use in Green Emulsions: A Novel Method. Polymers 2022, 14, 2299. [Google Scholar] [CrossRef]
- Jamshaid, H.; Mishra, R.K.; Raza, A.; Hussain, U.; Rahman, M.L.; Nazari, S.; Chandan, V.; Muller, M.; Choteborsky, R. Natural Cellulosic Fiber Reinforced Concrete: Influence of Fiber Type and Loading Percentage on Mechanical and Water Absorption Performance. Materials 2022, 15, 874. [Google Scholar] [CrossRef]
- Rokbi, M.; Baali, B.; Rahmouni, Z.E.A.; Latelli, H. Mechanical Properties of Polymer Concrete Made with Jute Fabric and Waste Marble Powder at Various Woven Orientations. Int. J. Environ. Sci. Technol. 2019, 16, 5087–5094. [Google Scholar] [CrossRef]
- Gao, C.; Fu, Q.; Huang, L.; Yan, L.; Gu, G. Jute Fiber-Reinforced Polymer Tube-Confined Sisal Fiber-Reinforced Recycled Aggregate Concrete Waste. Polymers 2022, 14, 1260. [Google Scholar] [CrossRef] [PubMed]
- Aruna, M. Mechanical Behaviour of Sisal Fibre Reinforced Cement Composites. Int. J. Mater. Metall. Eng. 2014, 8, 650–653. [Google Scholar] [CrossRef]
- Sabarish, K.V.; Paul, P.; Bhuvaneshwari; Jones, J. An experimental investigation on properties of sisal fiber used in the concrete. Mater. Today Proc. 2020, 22, 439–443. [Google Scholar] [CrossRef]
- Thomas, B.C.; Jose, Y.S. A study on characteristics of sisal fiber and its performance in fiber reinforced concrete. Mater. Today Proc. 2022, 51, 138–1242. [Google Scholar] [CrossRef]
- Ren, G.; Yao, B.; Huang, H.; Gao, X. Influence of sisal fibers on the mechanical performance of ultra-high performance concretes. Constr. Build. Mater. 2021, 286, 122958. [Google Scholar] [CrossRef]
- Veigas, M.G.; Najimi, M.; Shafei, B. Cementitious composites made with natural fibers: Investigation of uncoated and coated sisal fibers. Case Stud. Constr. Mater. 2022, 16, e00788. [Google Scholar] [CrossRef]
- Zuccarello, B.; Bongiorno, F.; Militello, C. Basalt Fiber Hybridization Effects on High-Performance Sisal-Reinforced Biocomposites. Polymers 2022, 14, 1457. [Google Scholar] [CrossRef]
- Huang, X.; Xu, B.; Tan, S.; Huang, Y.; Xi, J.; Qin, X.; Chen, T.; Chen, H.; Yang, X.; Yi, K. Transcriptome Sequencing of Agave angustifolia Reveals Conservation and Diversification in the Expression of Cinnamyl Alcohol Dehydrogenase Genes in Agave Species. Agriculture 2022, 12, 1003. [Google Scholar] [CrossRef]
- Bekele, A.E.; Lemu, H.G.; Jiru, M.G. Study of Machinability in Drilling Operation of Enset–Sisal Hybrid Polyester Composite. J. Compos. Sci. 2022, 6, 205. [Google Scholar] [CrossRef]
- Mathi, S.S.; Karthikeyan, S.; Johnpaul, V.; Riyas, P.R.; Chidambaram, N.; Vegumathie, M. Experimental investigation on self compacting concrete with sisal fibre. Mater. Today Proc. 2021; in press. [Google Scholar] [CrossRef]
- Hasan, K.M.F.; Horváth, P.G.; Alpár, T. Potential Natural Fiber Polymeric Nanobiocomposites: A Review. Polymers 2020, 12, 1072. [Google Scholar] [CrossRef] [PubMed]
- Pantano, A.; Militello, C.; Bongiorno, F.; Zuccarello, B. Analysis of the Parameters Affecting the Stiffness of Short Sisal Fiber Biocomposites Manufactured by Compression-Molding. Polymers 2022, 14, 154. [Google Scholar] [CrossRef] [PubMed]
- Arriaga, J.; Medellin, G.; Ojeda, E.; Salles, P. Shoreline Detection Accuracy from Video Monitoring Systems. J. Mar. Sci. Eng. 2022, 10, 95. [Google Scholar] [CrossRef]
- Bekele, A.E.; Lemu, H.G.; Jiru, M.G. Exploration of Mechanical Properties of Enset–Sisal Hybrid Polymer Composite. Fibers 2022, 10, 14. [Google Scholar] [CrossRef]
- De Lima, T.E.S.; de Azevedo, A.R.G.; Marvila, M.T.; Candido, V.S.; Fediuk, R.; Monteiro, S.N. Potential of Using Amazon Natural Fibers to Reinforce Cementitious Composites: A Review. Polymers 2022, 14, 647. [Google Scholar] [CrossRef]
- Vieira, L.M.G.; Dobah, Y.; dos Santos, J.C.; Panzera, T.H.; Campos Rubio, J.C.; Scarpa, F. Impact Properties of Novel Natural Fibre Metal Laminated Composite Materials. Appl. Sci. 2022, 12, 1869. [Google Scholar] [CrossRef]
- Joyklad, P.; Yooprasertchai, E.; Wiwatrojanagul, P.; Chaiyasarn, K.; Ali, N.; Hussain, Q. Use of Natural and Synthetic Fiber-Reinforced Composites for Punching Shear of Flat Slabs: A Comparative Study. Polymers 2022, 14, 719. [Google Scholar] [CrossRef]
- Acosta-Calderon, S.; Gordillo-Silva, P.; García-Troncoso, N.; Bompa, D.V.; Flores-Rada, J. Comparative Evaluation of Sisal and Polypropylene Fiber Reinforced Concrete Properties. Fibers 2022, 10, 31. [Google Scholar] [CrossRef]
- Almeida, F.; Cunha, V.M.C.F.; Miranda, T.; Cristelo, N. Indirect Tensile Behaviour of Fibre Reinforced Alkali-Activated Composites. Fibers 2018, 6, 30. [Google Scholar] [CrossRef]
- Okeola, A.A.; Abuodha, S.O.; Mwero, J. Experimental Investigation of the Physical and Mechanical Properties of Sisal Fiber-Reinforced Concrete. Fibers 2018, 6, 53. [Google Scholar] [CrossRef]
- Silva, W.V.; Silva, R.; Bezerra, L.M.; Freitas, C.A.S.; Bonilla, J. Experimental Analysis of Space Trusses Using Spacers of Concrete with Steel Fiber and Sisal Fiber. Materials 2020, 13, 2305. [Google Scholar] [CrossRef] [PubMed]
- Huang, J.; Tian, G.; Huang, P.; Chen, Z. Flexural Performance of Sisal Fiber Reinforced Foamed Concrete under Static and Fatigue Loading. Materials 2020, 13, 3098. [Google Scholar] [CrossRef] [PubMed]
- Mahmood, A.; Noman, M.T.; Pechočiaková, M.; Amor, N.; Petrů, M.; Abdelkader, M.; Militký, J.; Sozcu, S.; Hassan, S.Z.U. Geopolymers and Fiber-Reinforced Concrete Composites in Civil Engineering. Polymers 2021, 13, 2099. [Google Scholar] [CrossRef] [PubMed]
- Ahmad, J.; Majdi, A.; Deifalla, A.F.; Ben Kahla, N.; El-Shorbagy, M.A. Concrete Reinforced with Sisal Fibers (SSF): Overview of Mechanical and Physical Properties. Crystals 2022, 12, 952. [Google Scholar] [CrossRef]
- Stephens, D. Natural fiber reinforced concrete blocks. In Proceedings of the 20th WEDC Conference Affordable Water Supply and Sanitation, Colombo, Sri Lanka, 18–20 June 1994; pp. 317–321. [Google Scholar]
- Feng, J.; Sun, W.; Zhai, H.; Wang, L.; Dong, H.; Wu, Q. Experimental Study on Hybrid Effect Evaluation of Fiber Reinforced Concrete Subjected to Drop Weight Impacts. Materials 2018, 11, 2563. [Google Scholar] [CrossRef] [PubMed]
- Marar, K.; Eren, O.; Çelik, T. Relationship between impact energy and compression toughness energy of high-strength fiber reinforced concrete. Mater. Lett. 2001, 47, 297–304. [Google Scholar] [CrossRef]
- Halpin, J.C.; Kardos, J.L. The Halpin-Tsai equations: A review. Polym. Eng. Sci. 1976, 16, 344–352. [Google Scholar] [CrossRef]
- Chamis, C.C. Mechanics of composite materials: Past, present, and future. J. Compos. Technol. Res. ASTM 1989, 11, 3–14. [Google Scholar] [CrossRef]
- Hashin, Z.; Rosen, B.W. The elastic moduli of fiber reinforced materials. J. Appl. Mech. Trans. ASME 1964, 31, 223–232. [Google Scholar] [CrossRef]
- Christensen, R.M. A critical evaluation for a class of micromechanics models. J. Mech. Phys. Solids 1990, 38, 379–404. [Google Scholar] [CrossRef]
- Mori, T.; Tanaka, K. Average stress in matrix and average elastic energy of materials with misfitting inclusions. Acta Mettallurgica 1973, 21, 571–574. [Google Scholar] [CrossRef]
- Doghri, I. Mechanics of Deformable Solids. Linear, Nonlinear, Analytical and Computational Aspects; Springer: Berlin, Germany, 2000; ISBN 978-3-662-04168-0. [Google Scholar] [CrossRef]
- Eshelby, J.D. The determination of the elastic field of an ellipsoidal inclusion and related problems. Proc. R. Soc. Lond. Ser. A 1957, 241, 376–396. [Google Scholar] [CrossRef]
- Nemat-Nasser, S.; Hori, M. Micromechanics: Overall Properties of Heterogeneous Solids, 2nd ed.; North Holland: Amsterdam, The Netherlands, 1999; Volume 812, ISBN-13: 978-0444500847. [Google Scholar]
- Huang, Z.M. Simulation of the mechanical properties fibrous composites by the bridging micromechanics model. Compos. Part A Appl. Sci. Manuf. 2001, 32, 143–172. [Google Scholar] [CrossRef]
- Huang, Z.M. Micromechanical prediction of ultimate strength of transversely isotropic fibrous composites. Int. J. Solids Struct. 2001, 38, 4147–4172. [Google Scholar] [CrossRef]
- Shcherban’, E.M.; Stel’makh, S.A.; Beskopylny, A.; Mailyan, L.R.; Meskhi, B. Increasing the Corrosion Resistance and Durability of Geopolymer Concrete Structures of Agricultural Buildings Operating in Specific Conditions of Aggressive Environments of Livestock Buildings. Appl. Sci. 2022, 12, 1655. [Google Scholar] [CrossRef]
- Beskopylny, A.N.; Stel’makh, S.A.; Shcherban’, E.M.; Mailyan, L.R.; Meskhi, B.; El’shaeva, D.; Varavka, V. Developing Environmentally Sustainable and Cost-Effective Geopolymer Concrete with Improved Characteristics. Sustainability 2021, 13, 13607. [Google Scholar] [CrossRef]
- Beskopylny, A.N.; Shcherban’, E.M.; Stel’makh, S.A.; Mailyan, L.R.; Meskhi, B.; El’shaeva, D. The Influence of Composition and Recipe Dosage on the Strength Characteristics of New Geopolymer Concrete with the Use of Stone Flour. Appl. Sci. 2022, 12, 613. [Google Scholar] [CrossRef]
- Shcherban’, E.M.; Stel’makh, S.A.; Beskopylny, A.; Mailyan, L.R.; Meskhi, B.; Varavka, V. Nanomodification of Lightweight Fiber Reinforced Concrete with Micro Silica and Its Influence on the Constructive Quality Coefficient. Materials 2021, 14, 7347. [Google Scholar] [CrossRef]
- Mailyan, L.R.; Beskopylny, A.N.; Meskhi, B.; Stel’makh, S.A.; Shcherban, E.M.; Ananova, O. Optimization of Composition and Technological Factors for the Lightweight Fiber-Reinforced Concrete Production on a Combined Aggregate with an Increased Coefficient of Structural Quality. Appl. Sci. 2021, 11, 7284. [Google Scholar] [CrossRef]
- Stel’makh, S.A.; Shcherban’, E.M.; Beskopylny, A.; Mailyan, L.R.; Meskhi, B.; Dotsenko, N. Enchainment of the Coefficient of Structural Quality of Elements in Compression and Bending by Combined Reinforcement of Concrete with Polymer Composite Bars and Dispersed Fiber. Polymers 2021, 13, 4347. [Google Scholar] [CrossRef]
- Shcherban’, E.M.; Stel’makh, S.A.; Beskopylny, A.; Mailyan, L.R.; Meskhi, B.; Shuyskiy, A. Improvement of Strength and Strain Characteristics of Lightweight Fiber Concrete by Electromagnetic Activation in a Vortex Layer Apparatus. Appl. Sci. 2022, 12, 104. [Google Scholar] [CrossRef]
- Stel’makh, S.A.; Shcherban’, E.M.; Beskopylny, A.; Mailyan, L.R.; Meskhi, B.; Varavka, V. Quantitative and Qualitative Aspects of Composite Action of Concrete and Dispersion-Reinforcing Fiber. Polymers 2022, 14, 682. [Google Scholar] [CrossRef] [PubMed]
- Meskhi, B.; Beskopylny, A.N.; Stel’makh, S.A.; Shcherban’, E.M.; Mailyan, L.R.; Beskopylny, N.; Dotsenko, N. Theoretical and Experimental Substantiation of the Efficiency of Combined-Reinforced Glass Fiber Polymer Composite Concrete Elements in Bending. Polymers 2022, 14, 2324. [Google Scholar] [CrossRef] [PubMed]
- Beskopylny, A.N.; Stel’makh, S.A.; Shcherban’, E.M.; Mailyan, L.R.; Meskhi, B.; Varavka, V.; Beskopylny, N.; El’shaeva, D. A Study on the Cement Gel Formation Process during the Creation of Nanomodified High-Performance Concrete Based on Nanosilica. Gels 2022, 8, 346. [Google Scholar] [CrossRef] [PubMed]
- GOST 10180; Concretes. Methods for Strength Determination Using Reference Specimens. GOST: Geneva, Switzerland, 2022. Available online: https://docs.cntd.ru/document/1200100908 (accessed on 19 August 2022).
- GOST 24452; Concretes. Methods of Prismatic, Compressive Strength, Modulus of Elasticity and Poisson’s Ratio Determination. GOST: Geneva, Switzerland, 2022. Available online: https://docs.cntd.ru/document/9056198 (accessed on 19 August 2022).
- GOST 18105; Concretes. Rules for Control and Assessment of Strength. GOST: Geneva, Switzerland, 2022. Available online: https://docs.cntd.ru/document/1200164028 (accessed on 19 August 2022).















| Raw Materials’ Characteristics | Real Value | 
|---|---|
| Portland cement grade “PC 500 D0” (Novoroscement, Novorossiysk, Russia) | |
| Specific surface, m2/kg | 330 | 
| Normal density cement paste gotten after adding water, % | 25 | 
| Fineness of grinding, passage through a sieve No. 008, % | 95.7 | 
| Setting time, min | |
| - start | 165 | 
| - end | 230 | 
| Tensile strength in bending, MPa: | |
| - 2 days | 4.6 | 
| - 28 days | 7.6 | 
| Compressive strength, MPa: | |
| - 2 days | 24.5 | 
| - 28 days | 55.2 | 
| C3S, % | 67 | 
| C2S, % | 15 | 
| C3A, % | 7 | 
| C4AF, % | 11 | 
| Quartz sand (Arkhipovsky quarry, Arkhipovskoe, Russia) | |
| Size modulus | 1.73 | 
| Bulk density, kg/m3 | 1578 | 
| True density, kg/m3 | 2675 | 
| Content of dust and clay particles, % | 1.1 | 
| Clay content in lumps, % | 0.15 | 
| Content of organic and contaminants | absent | 
| Granite crushed stone (Pavlovsknerud, Pavlovsk, Russia) according to GOST 8269.0, “Mountainous rock road-metal and gravel, industrial waste products for construction works methods of physical and mechanical tests” | |
| Fraction size, mm | 5–10 | 
| Bulk density, kg/m3 | 1487 | 
| True density, g/cm3 | 2.65 | 
| Crushability, % by weight | 11.6 | 
| The content of grains of lamellar (flaky) and acicular forms, % by weight | 9.1 | 
| Voidness, % | 44 | 
| Indicator | Real Value | 
|---|---|
| Fiber diameter (μm) | 20 ± 1.2 | 
| Fiber titer (Tex, g/km) | 21 ± 1.2 | 
| Fiber length (mm) | 30 ± 2 | 
| Fiber length to diameter ratio | 200–400 | 
| Fiber density (g/cm3) | 1.5 | 
| Porosity after cutting (%) | 12–14 | 
| Cellulose content (%) | 66–78 | 
| Lignin content (%) | 8–11 | 
| Crystallinity (%) | 68–70 | 
| Tensile strength (MPa) | 381 ± 23.6 | 
| Ultimate strain at break (%) | 2.45 ± 0.1 | 
| Modulus of elasticity (GPa) | 28.5 ± 1.8 | 
| Relative fiber strength (cN/Tex) | 17.7 ± 0.9 | 
| Orientation angle (°) | 10–25 | 
| Parameter | PC, kg/m3 | Water, L/m3 | Crashed Stone, kg/m3 | Sand, kg/m3 | ρcm, kg/m3 | 
|---|---|---|---|---|---|
| Parameter value | 375 | 210 | 1028 | 701 | 2314 | 
| Concrete Characteristics | Change in % (∆) with the Content of Dispersed Reinforcement with Sisal Fibers, % of the Mass of Cement | ||||||
|---|---|---|---|---|---|---|---|
| 0 | 0.25 | 0.50 | 0.75 | 1.00 | 1.25 | 1.50 | |
| Rb.cub, MPa | 0 | +5.8 | +10.0 | +14.3 | +21.9 | +8.8 | +0.6 | 
| Rb, MPa | 0 | +6.0 | +13.0 | +21.1 | +26.9 | +11.6 | +1.7 | 
| Rbtb, MPa | 0 | +10.9 | +14.5 | +21.8 | +32.7 | +18.2 | +5.4 | 
| Rbt, MPa | 0 | +8.8 | +11.8 | +14.7 | +29.4 | +14.7 | +2.9 | 
| εbR, mm/m × 10−3 | 0 | +5.8 | +10.1 | +19.3 | +24.6 | +16.9 | +4.8 | 
| εbtR, mm/m × 10−4 | 0 | +9.6 | +24.8 | +32.0 | +42.4 | +21.6 | +2.4 | 
| Eb = Ebt, GPa | 0 | +2.7 | +7.9 | +11.9 | +14.9 | +7.0 | +0.6 | 
| Publisher’s Note: MDPI stays neutral with regard to jurisdictional claims in published maps and institutional affiliations. | 
© 2022 by the authors. Licensee MDPI, Basel, Switzerland. This article is an open access article distributed under the terms and conditions of the Creative Commons Attribution (CC BY) license (https://creativecommons.org/licenses/by/4.0/).
Share and Cite
Beskopylny, A.N.; Stel’makh, S.A.; Shcherban, E.M.; Mailyan, L.R.; Meskhi, B.; Shilov, A.A.; Beskopylny, N.; Chernil’nik, A. Enhanced Performance of Concrete Dispersedly Reinforced with Sisal Fibers. Appl. Sci. 2022, 12, 9102. https://doi.org/10.3390/app12189102
Beskopylny AN, Stel’makh SA, Shcherban EM, Mailyan LR, Meskhi B, Shilov AA, Beskopylny N, Chernil’nik A. Enhanced Performance of Concrete Dispersedly Reinforced with Sisal Fibers. Applied Sciences. 2022; 12(18):9102. https://doi.org/10.3390/app12189102
Chicago/Turabian StyleBeskopylny, Alexey N., Sergey A. Stel’makh, Evgenii M. Shcherban, Levon R. Mailyan, Besarion Meskhi, Alexandr A. Shilov, Nikita Beskopylny, and Andrei Chernil’nik. 2022. "Enhanced Performance of Concrete Dispersedly Reinforced with Sisal Fibers" Applied Sciences 12, no. 18: 9102. https://doi.org/10.3390/app12189102
APA StyleBeskopylny, A. N., Stel’makh, S. A., Shcherban, E. M., Mailyan, L. R., Meskhi, B., Shilov, A. A., Beskopylny, N., & Chernil’nik, A. (2022). Enhanced Performance of Concrete Dispersedly Reinforced with Sisal Fibers. Applied Sciences, 12(18), 9102. https://doi.org/10.3390/app12189102
 
         
                                                







 
       