Application of Component-Based Mechanical Models and Artificial Intelligence to Bolted Beam-to-Column Connections
Abstract
1. Introduction
2. State of the Art
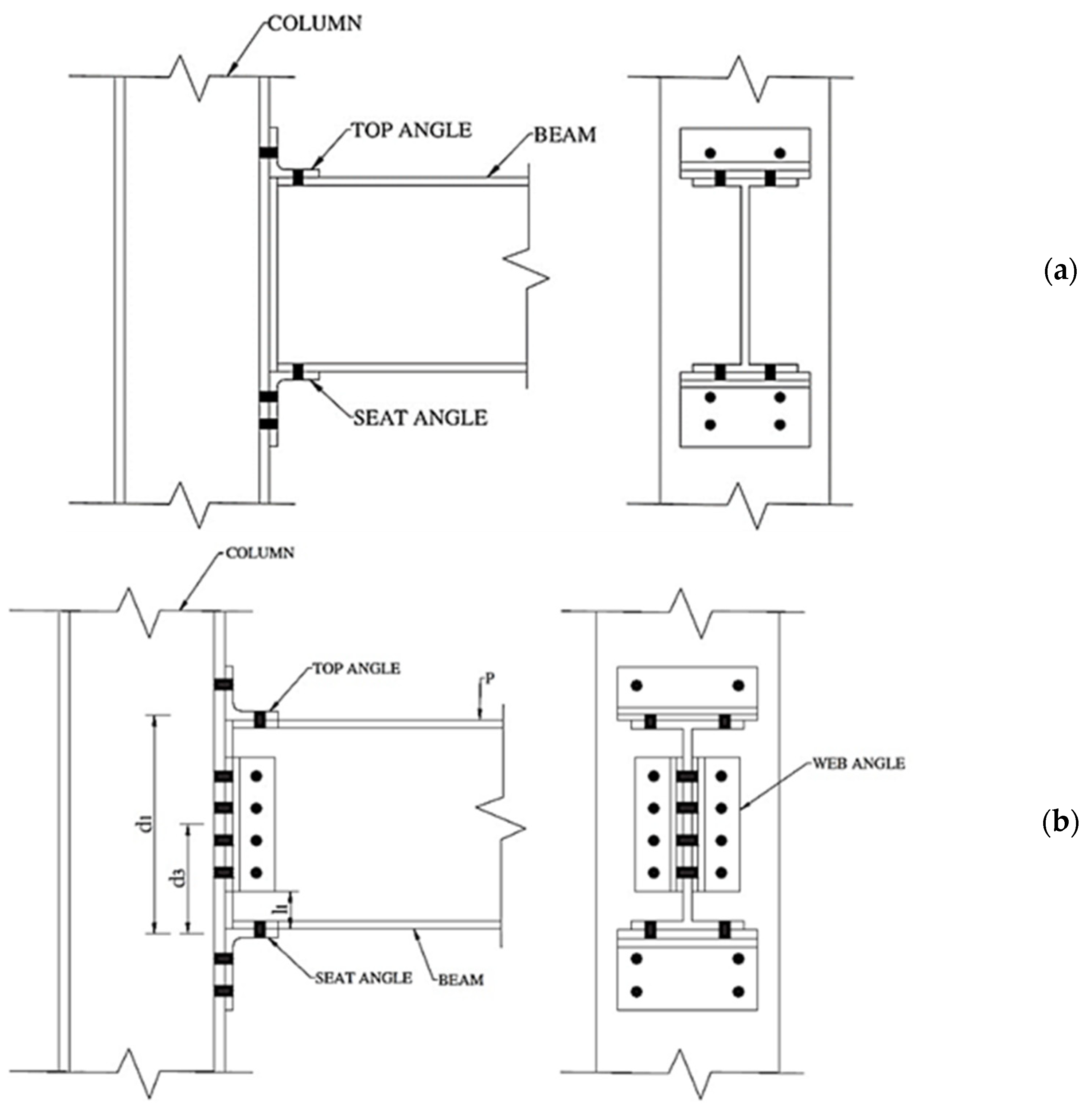
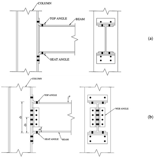
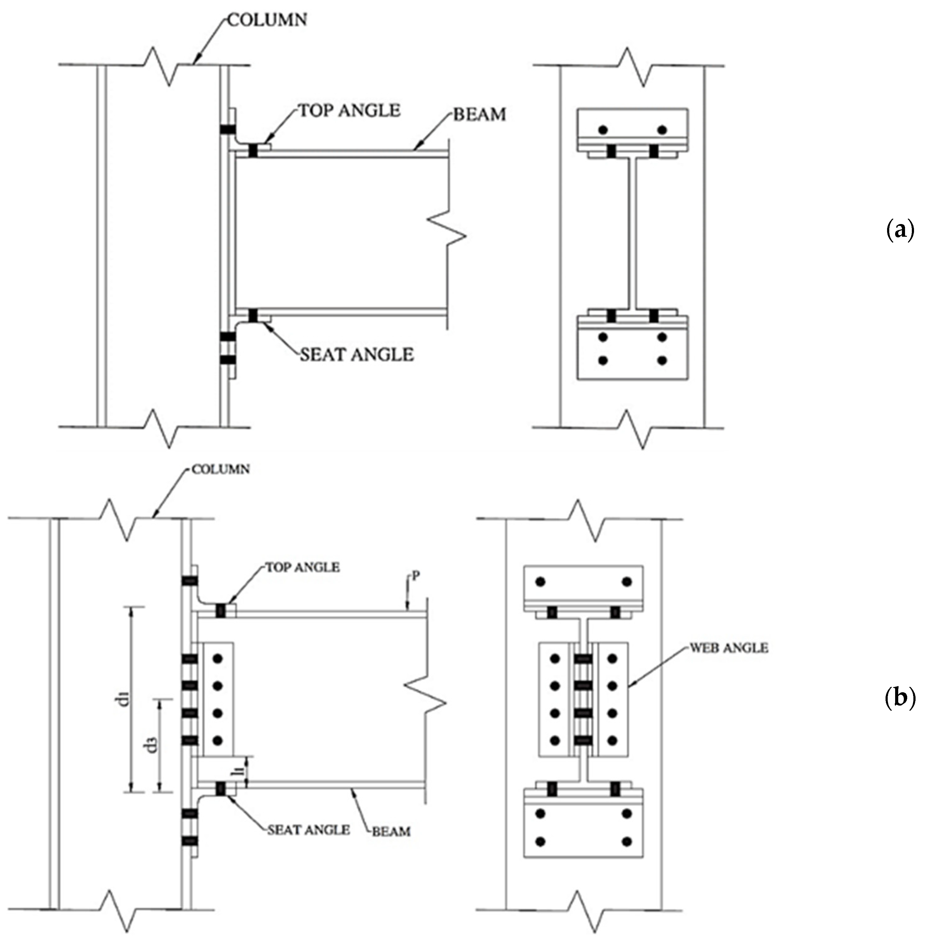
3. Data Bank Development
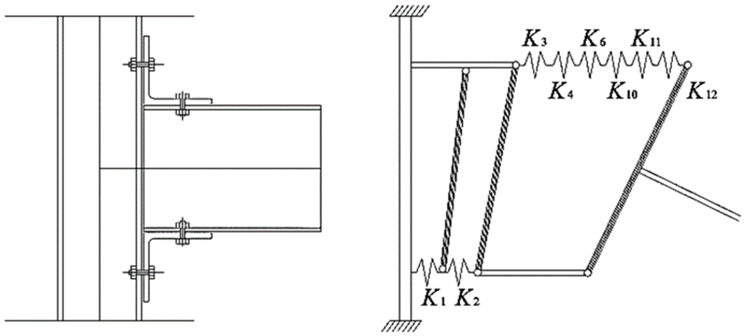
4. Component-Based Mechanical Models for TSACWs
4.1. Initial Stiffness
4.2. Ultimate Moment Capacity
5. Informational Based Modeling
5.1. Artificial Bee Colony (ABC) Algorithm
- A food source is determined by employed bees in their memory within the neighborhood.
- The collected information of food sources by employed bees is shared with onlookers within the hive, and subsequently, the optimum food sources will be selected by onlookers.
- A food source will be selected by onlookers themselves within the neighborhood of the food sources.
- An employed bee becomes a scout once the food source has been abandoned and starts to search for a new food source randomly.
5.2. Training the ANN and Methodology
- the moment inertia ratio of the column to the connected beam (Icol/Ib);
- the thickness of the top (thtc) and bottom (thbc) flange cleat;
- the maximum thickness of right or left web cleat (Max-thwc);
- the bolt size (db);
- the ratio of column to beam yield strength (fy,c/fy,b).
6. Results and Discussion
6.1. Accuracy of Proposed ABC-ANN Model
6.2. Sensitivity Analysis
7. Concluding Remarks
- both the EC3 and KK component-based models failed to capture the underlying mechanism for estimating Sj,ini and Mn parameters. As a result, these were either underestimated or overestimated for the reference specimens. On the other hand, the herein developed ABC-ANN model proved to offer a reliable prediction of required parameters, as also emphasized by the ratio of observational to computational values (R2), and thus suggesting the high potential and accuracy of the proposal.
- The ANN model combined with the ABC algorithm established an excellent agreement with the available experimental database. The results highlighted that the ANN model may be a reliable alternative to a component-based mechanical model to estimate the mechanical behavior of bolted beam-to-column connections. Using the values of weights and biases between the different ANN layers, the two output parameters (Sj,ini and Mn) can be accurately predicted.
- The sensitivity analysis confirmed that (apart from the yield strength fy that necessarily depends on material properties) the thickness of the top flange (thtc) has a significant influence, while the moment inertia ratio of column to beam (Icol/Ib) has the least effect on both the predicted output parameters, Sj,ini and Mn.
Author Contributions
Funding
Institutional Review Board Statement
Informed Consent Statement
Data Availability Statement
Conflicts of Interest
References
- ANSI/AISC. AISC 358-05 Prequalified Connections for Special and Intermediate Steel Moment Frames for Seismic Applications; American Institute of Steel Construction Inc.: Chicago, IL, USA, 2005. [Google Scholar]
- Madas, P.J.; Elnashai, A.S. A component-based model for beam-column connections. In Proceedings of the 10th World Conference of Earthquake Engineering, Madrid, Spain, 19–24 July 1992; pp. 4495–4499. [Google Scholar]
- Chisala, M.L. Modelling M–φ curves for standard beam-to-column connections. Eng. Struct. 1999, 21, 1066–1075. [Google Scholar] [CrossRef]
- Kim, J.; Ghaboussi, J.; Elnashai, A.S. Mechanical and informational modeling of steel beam-to-column connections. Eng. Struct. 2010, 32, 449–458. [Google Scholar] [CrossRef]
- Pinheiro, L.; Silveira, R.A. Computational procedures for nonlinear analysis of frames with semi-rigid connections. Lat. Am. J. Solids Struct. 2005, 2, 339–367. [Google Scholar]
- Hasan, M.J.; Ashraf, M.; Uy, B. Moment-rotation behaviour of top-seat angle bolted connections produced from austenitic stainless steel. J. Constr. Steel Res. 2017, 136, 149–161. [Google Scholar] [CrossRef]
- Lacey, A.W.; Chen, W.; Hao, H.; Bi, K. Review of bolted inter-module connections in modular steel buildings. J. Build. Eng. 2019, 23, 207–219. [Google Scholar] [CrossRef]
- Chen, Z.; Liu, J.; Yu, Y. Experimental study on interior connections in modular steel buildings. Eng. Struct. 2017, 147, 625–638. [Google Scholar] [CrossRef]
- Chua, Y.; Liew, J.R.; Pang, S. Modelling of connections and lateral behavior of high-rise modular steel buildings. J. Constr. Steel Res. 2020, 166, 105901. [Google Scholar] [CrossRef]
- Lacey, A.W.; Chen, W.; Hao, H.; Bi, K. New interlocking inter-module connection for modular steel buildings: Simplified structural behaviours. Eng. Struct. 2021, 227, 111409. [Google Scholar] [CrossRef]
- Thai, H.-T.; Vo, T.P.; Nguyen, T.-K.; Pham, C.H. Explicit simulation of bolted endplate composite beam-to-CFST column connections. Thin-Walled Struct. 2017, 119, 749–759. [Google Scholar] [CrossRef]
- Natesan, V.; Madhavan, M. Experimental study on beam-to-column clip angle bolted connection. Thin-Walled Struct. 2019, 141, 540–553. [Google Scholar] [CrossRef]
- En, B. 1-8: 2005. Eurocode 3: Design of Steel Structures-Part 1-8: Design of Joints; British Standards Institution: London, UK, 2005. [Google Scholar]
- Kong, Z.; Kim, S.-E. Moment-rotation behavior of top-and seat-angle connections with double web angles. J. Constr. Steel Res. 2017, 128, 428–439. [Google Scholar] [CrossRef]
- Calado, L.; De Matteis, G.; Landolfo, R. Experimental response of top and seat angle semi-rigid steel frame connections. Mater. Struct. 2000, 33, 499–510. [Google Scholar] [CrossRef]
- Wang, T.; Song, G.; Liu, S.; Li, Y.; Xiao, H. Review of Bolted Connection Monitoring. Int. J. Distrib. Sens. Netw. 2013, 9, 871213. [Google Scholar] [CrossRef]
- Jiang, L.; Rasmussen, K.; Zhang, H. Experimental investigation of full-range action-deformation behaviour of top-and-seat angle and web angle connections. In Proceedings of the 9th international conference on Advances in Steel Structures, Hong Kong, China, 5–7 December 2018. [Google Scholar]
- Yan, S.; Jiang, L.; Rasmussen, K.J. Full-range behaviour of double web angle connections. J. Constr. Steel Res. 2020, 166, 105907. [Google Scholar] [CrossRef]
- Kong, Z.; Kim, S.-E. Numerical Estimation for Initial Stiffness and Ultimate Moment of Top-Seat Angle Connections without Web Angle. J. Struct. Eng. 2017, 143, 04017138. [Google Scholar] [CrossRef]
- Hasan, M.J.; Al-Deen, S.; Ashraf, M. Behaviour of top-seat double web angle connection produced from austenitic stainless steel. J. Constr. Steel Res. 2019, 155, 460–479. [Google Scholar] [CrossRef]
- Kim, J.H. Hybrid Mathematical and Informational Modeling of Beam-to-Column Connections; University of Illinois at Urbana-Champaign: Champaign, IL, USA, 2010. [Google Scholar]
- Moradi, S.; Alam, M.S. Finite-Element Simulation of Posttensioned Steel Connections with Bolted Angles under Cyclic Loading. J. Struct. Eng. 2016, 142, 04015075. [Google Scholar] [CrossRef]
- Amadio, C.; Bedon, C.; Fasan, M.; Pecce, M.R. Refined numerical modelling for the structural assessment of steel-concrete composite beam-to-column joints under seismic loads. Eng. Struct. 2017, 138, 394–409. [Google Scholar] [CrossRef]
- Málaga-Chuquitaype, C.; Elghazouli, A. Component-based mechanical models for blind-bolted angle connections. Eng. Struct. 2010, 32, 3048–3067. [Google Scholar] [CrossRef]
- Azizinamini, A.; Radziminski, J.B. Static and Cyclic Performance of Semirigid Steel Beam-to-Column Connections. J. Struct. Eng. 1989, 115, 2979–2999. [Google Scholar] [CrossRef]
- Pucinotti, R. Cyclic mechanical model of semirigid top and seat and double web angle connections. Steel Compos. Struct. 2006, 6, 139–157. [Google Scholar] [CrossRef]
- Azizinamini, A.; Bradburn, J.; Radziminski, J. Initial stiffness of semi-rigid steel beam-to-column connections. J. Constr. Steel Res. 1987, 8, 71–90. [Google Scholar] [CrossRef]
- Kishi, N. Moment-Rotation Relation of Top-and Seat-Angle with Double Web-Angle Connections; School of Civil Engineering, Purdue University: West Lafayette, IN, USA, 1987. [Google Scholar]
- Kishi, N.; Chen, W. Moment-Rotation Relations of Semirigid Connections with Angles. J. Struct. Eng. 1990, 116, 1813–1834. [Google Scholar] [CrossRef]
- Pucinotti, R. Top-and-seat and web angle connections: Prediction via mechanical model. J. Constr. Steel Res. 2001, 57, 663–696. [Google Scholar] [CrossRef]
- Shen, J.; Astaneh-Asl, A. Hysteresis model of bolted-angle connections. J. Constr. Steel Res. 2000, 54, 317–343. [Google Scholar] [CrossRef]
- De Stefano, M.; De Luca, A.; Astaneh-Asl, A. Modeling of Cyclic Moment-Rotation Response of Double-Angle Connections. J. Struct. Eng. 1994, 120, 212–229. [Google Scholar] [CrossRef]
- Danesh, F.; Pirmoz, A.; Daryan, A.S. Effect of shear force on the initial stiffness of top and seat angle connections with double web angles. J. Constr. Steel Res. 2007, 63, 1208–1218. [Google Scholar] [CrossRef]
- Pirmoz, A. Moment–rotation behavior of bolted top–seat angle connections. J. Constr. Steel Res. 2009, 65, 973–984. [Google Scholar] [CrossRef]
- SALEM, A.H. Behavior and Design of Steel I-beam-to-Column Flushed Rigid Bolted Connections; The American University: Cairo, Egypt, 2011. [Google Scholar]
- Weynand, K.; Huter, M.; Kirby, P.A.; Simoes da Silva, L.A.P. SERICON–Databank on Joints in Building Frames. In Proceedings of the 1st COST C1 Workshop—International Conference on Control of the Semi-Rigid Behaviour of Civil Engineering Structural Connections, Liège, Belgium, 17–19 September 1998; pp. 217–228. [Google Scholar]
- Kishi, N.; Chen, W.-F. Data Base of Steel Beam-to-Column Connections; Structural Engineering Area, School of Civil Engineering, Purdue University: West Lafayette, IN, USA, 1986. [Google Scholar]
- Astaneh, A. Demand and supply of ductility in steel shear connections. J. Constr. Steel Res. 1989, 14, 1–19. [Google Scholar] [CrossRef]
- Construction, A.I.O.S. Seismic Provisions for Structural Steel Buildings; American Institute of Steel Construction: Chicago, IL, USA, 2002. [Google Scholar]
- Komuro, M.; Kishi, N.; Chen, W. Elasto-Plastic FE Analysis on Moment-Rotation Relations of Top-and Seat-Angle Connections; Connections in Steel Structures V: Amsterdam, The Netherlands, 2004; pp. 111–120. [Google Scholar]
- Faella, C.; Piluso, V.; Rizzano, G. Prediction of the Flexural Resistance of Bolted Connections with Angles; IABSE Reports; 1996; pp. 309–318. Available online: https://structurae.net/en/literature/conference-paper/prediction-of-the-flexural-resistance-of-bolted-connections-with-angles (accessed on 1 February 2021).
- Flood, I.; Kartam, N. Neural Networks in Civil Engineering. I: Principles and Understanding. J. Comput. Civ. Eng. 1994, 8, 131–148. [Google Scholar] [CrossRef]
- Kulkarni, P.; Londhe, S.; Deo, M. Artificial Neural Networks for Construction Management: A Review. Soft Comput. Civ. Eng. 2017, 1, 70–88. [Google Scholar]
- Asteris, P.G.; Nikoo, M. Artificial bee colony-based neural network for the prediction of the fundamental period of infilled frame structures. Neural Comput. Appl. 2019, 31, 4837–4847. [Google Scholar] [CrossRef]
- Hasanzade-Inallu, A.; Zarfam, P.; Nikoo, M. Modified imperialist competitive algorithm-based neural network to determine shear strength of concrete beams reinforced with FRP. J. Central South Univ. 2019, 26, 3156–3174. [Google Scholar] [CrossRef]
- Haykin, S. Neural Networks: A Comprehensive Foundation; Prentice Hall: Upper Saddle River, NJ, USA, 1999. [Google Scholar]
- Bishop, C.M. Pattern Recognition and Machine Learning; Springer: New York, NY, USA, 2006. [Google Scholar]
- Najimi, M.; Ghafoori, N.; Nikoo, M. Modeling chloride penetration in self-consolidating concrete using artificial neural network combined with artificial bee colony algorithm. J. Build. Eng. 2019, 22, 216–226. [Google Scholar] [CrossRef]
- Karaboga, D.; Basturk, B. On the performance of artificial bee colony (ABC) algorithm. Appl. Soft Comput. 2008, 8, 687–697. [Google Scholar] [CrossRef]
- Karaboga, D.; Akay, B. A comparative study of Artificial Bee Colony algorithm. Appl. Math. Comput. 2009, 214, 108–132. [Google Scholar] [CrossRef]
- Asteris, P.; Plevris, V. Neural Network Approximation of the Masonry Failure under Biaxial Compressive Stress. In Proceedings of the SEECCM III-3rd South-East European Conference on Computational Mechanics-an ECCOMAS and IACM Special Interest Conference, Kos Island, Greece, 12–14 June 2013. [Google Scholar]
- Li, J.; Heap, A.D. A Review of Spatial Interpolation Methods for Environmental Scientists; Record 2008/23; Geoscience Australia: Canberra, Australia, 2008; p. 137. [Google Scholar]












| Test | Beam | Column | Size of Bolts (mm) | Top Cleat (mm) | Web Cleat (mm) | Yield Stress of Angle (N/mm2) |
|---|---|---|---|---|---|---|
| 8S1 | H210 × 134 × 6.4 ×10.2 | H310 × 254 × 9.1 × 16.3 | 19.1 | L152 × 89 × 7.9 | L102 ×89 × 6.4 | 285.4 |
| 8S2 | H210 × 134 × 6.4 ×10.2 | H310 × 254 × 9.1 × 16.3 | 19.1 | L152 × 89 × 9.5 | L102 × 89 × 6.4 | 285.4 |
| 8S3 | H210 × 134 × 6.4 × 10.2 | H310 × 254 × 9.1 × 16.3 | 19.1 | L152 × 89 × 7.9 | L102 × 89 × 6.4 | 285.4 |
| 8S4 | H210 × 134 × 6.4 × 10.2 | H310 × 254 × 9.1 × 16.3 | 19.1 | L152 × 152 × 9.5 | L102 × 89 × 6.4 | 285.4 |
| 8S5 | H210 × 134 × 6.4 × 10.2 | H310 × 254 × 9.1 × 16.3 | 19.1 | L152 × 102 × 9.5 | L102 × 89 × 6.4 | 285.4 |
| 8S6 | H210 × 134 × 6.4 × 10.2 | H310 × 254 × 9.1 × 16.3 | 19.1 | L152 × 102 × 7.9 | L102 × 89 × 6.4 | 285.4 |
| 8S7 | H210 × 134 × 6.4 × 10.2 | H310 × 254 × 9.1 × 16.3 | 19.1 | L152 × 102 × 9.5 | L102 × 89 × 6.4 | 285.4 |
| 8S8 | H210 × 134 × 6.4 × 10.2 | H310 × 254 × 9.1 × 16.3 | 22.2 | L152 × 89 × 7.9 | L102 × 89 × 6.4 | 277 |
| 8S9 | H210 × 134 × 6.4 × 10.2 | H310 × 254 × 9.1 × 16.3 | 22.2 | L152 × 89 × 9.5 | L102 × 89 × 6.4 | 277 |
| 8S10 | H210 × 134 × 6.4 × 10.2 | H310 × 254 × 9.1 × 16.3 | 22.2 | L152 × 89 × 12.7 | L102 × 89 × 6.4 | 277 |
| 14S1 | H358 × 172 × 7.9 × 13.1 | H323 × 310 × 14 × 22.9 | 19.1 | L152 × 102 × 9.5 | L102 × 89 × 6.4 | 285 |
| 14S2 | H358 × 172 × 7.9 × 13.1 | H323 × 310 × 14 × 22.9 | 19.1 | L152 × 102 × 12.7 | L102 × 89 × 6.4 | 365 |
| 14S3 | H358 × 172 × 7.9 × 13.1 | H323 × 310 × 14 × 22.9 | 19.1 | L152 × 102 × 9.5 | L102 × 89 × 6.4 | 285 |
| 14S4 | H358 × 172 × 7.9 × 13.1 | H323 × 310 × 14 × 22.9 | 19.1 | L152 × 102 × 9.5 | L102 × 89 × 9.5 | 285 |
| 14S5 | H358 × 172 × 7.9 × 13.1 | H323 × 310 × 14 × 22.9 | 19.1 | L152 × 102 × 9.5 | L102 × 89 × 6.4 | 277 |
| 14S6 | H358 × 172 × 7.9 × 13.1 | H323 × 310 × 14 × 22.9 | 19.1 | L152 × 102 × 12.7 | L102 × 89 × 6.4 | 277 |
| 14S8 | H358 × 172 × 7.9 × 13.1 | H323 × 310 × 14 × 22.9 | 19.1 | L152 × 102 × 15.9 | L102 × 89 × 6.4 | 277 |
| 14S9 | H358 × 172 × 7.9 × 13.1 | H323 × 310 × 14 × 22.9 | 19.1 | L152 × 102 × 12.7 | L102 × 89 × 6.4 | 277 |
| Statistical Index | Type | Max | Min | Avg. | STD | |
|---|---|---|---|---|---|---|
| Icol/Ib | Input | 20.00 | 0.29 | 2.59 | 3.95 | |
| thtc | (mm) | Input | 15.90 | 0.00 | 8.10 | 4.79 |
| thbc | (mm) | Input | 15.90 | 0.00 | 8.70 | 4.45 |
| Max-thwc | (mm) | Input | 15.00 | 0.00 | 6.17 | 4.50 |
| db | (mm) | Input | 24.00 | 16.00 | 19.51 | 1.69 |
| fy,c/fy,b | Input | 1.13 | 0.79 | 0.99 | 0.08 | |
| Sj,ini | (kNm/rad) | Output | 36,365.00 | 1633.00 | 12,021.75 | 9108.08 |
| Mn/Mp,beam | Output | 0.95 | 0.13 | 0.43 | 0.19 | |
| Type | Statistical Index | Sj,ini (kNm/rad) | Mn/Mp,beam |
|---|---|---|---|
| Train | R2 | 0.922 | 0.955 |
| y = ax + b | y = 0.8107x + 2,037.8 | y = 0.9319x + 0.033 | |
| RMSE | 3542.657 | 0.058 | |
| AAE % | 0.292 | 0.108 | |
| EF | 0.848 | 0.911 | |
| VAF % | 0.849 | 0.912 | |
| Test | R2 | 0.939 | 0.954 |
| y = ax + b | y = 0.9406x + 2860.1 | y = 0.8749x + 0.0303 | |
| RMSE | 3790.584 | 0.065 | |
| AAE % | 0.422 | 0.109 | |
| EF | 0.817 | 0.892 | |
| VAF % | 0.878 | 0.908 | |
| All | R2 | 0.918 | 0.953 |
| y = ax + b | y = 0.8287x + 2257.6 | y = 0.9142x + 0.0348 | |
| RMSE | 3592.297 | 0.059 | |
| AAE % | 0.317 | 0.108 | |
| EF | 0.842 | 0.908 | |
| VAF % | 0.843 | 0.908 |
| No. | Name | Features of Neural Network | ||||||
|---|---|---|---|---|---|---|---|---|
| Number of Input | Number of Output | Neural Network | Hidden Layer | Node | Learning Role | Transfer Function | ||
| 1 | ABC-ANN-s | 6 | 1 | FF | 2 | 7-6 | Levenberg–Marquardt | tansig |
| 2 | ABC-ANN-m | 6 | 1 | FF | 2 | 7-6 | Levenberg–Marquardt | tansig |
| No. | Name | Features of ABC Algorithm | |||
|---|---|---|---|---|---|
| Number of Bees | Source Number | Onlooker Number | Max Number of Cycles | ||
| 1 | ABC-ANN-S | 50 | 25 | 25 | 100 |
| 2 | ABC-ANN-M | 30 | 15 | 15 | 150 |
| Sj,ini (kNm/rad) | Mn (kNm) | ||||||
|---|---|---|---|---|---|---|---|
| Test | Test/EC3 | Test/KK | Test/ABC-ANN-S | Test | Test/EC3 | Test/KK | Test/ABC-ANN-M |
| 6000 | 0.62 | 0.81 | 1.32 | 43.6 | 1.11 | 1.22 | 0.91 |
| 13,846 | 0.44 | 1.49 | 0.57 | 44.9 | 0.93 | 0.95 | 0.92 |
| 10,099 | 0.49 | 1.03 | 0.78 | 54.2 | 1.11 | 1.22 | 0.73 |
| 1633 | 1.32 | 1.34 | 1.23 | 21.7 | 1.17 | 1.21 | 1.9 |
| 8089 | 1.65 | 1.26 | 0.98 | 43.3 | 1.02 | 1.09 | 0.95 |
| 4490 | 1.80 | 1.13 | 1.33 | 33.1 | 1.25 | 1.37 | 1.2 |
| 4638 | 1.17 | 0.96 | 1.7 | 47.4 | 1.34 | 1.47 | 0.87 |
| 6060 | 1.50 | 1.43 | 1.32 | 50.4 | 1.87 | 2.07 | 1.6 |
| 10,029 | 1.61 | 1.94 | 0.98 | 54.6 | 1.56 | 1.67 | 0.97 |
| 30,222 | 2.74 | 4.09 | 0.99 | 74.7 | 1.35 | 1.37 | 0.95 |
| 21,623 | 1.74 | 0.99 | 0.88 | 83.7 | 1.08 | 1.11 | 1.19 |
| 26,919 | 1.05 | 0.87 | 0.88 | 168.8 | 0.75 | 1.12 | 1.01 |
| 11,022 | 0.87 | 0.51 | 0.66 | 80.9 | 1.30 | 1.31 | 1.25 |
| 23,852 | 1.67 | 1.07 | 0.8 | 101.3 | 1.03 | 1.06 | 0.99 |
| 22,672 | 1.78 | 0.97 | 0.84 | 119.9 | 1.22 | 1.57 | 0.81 |
| 25,247 | 0.97 | 0.76 | 0.94 | 127.4 | 1.00 | 1.03 | 0.99 |
| 58,679 | 1.43 | 1.27 | 1.14 | 186.9 | 1.045 | 1.07 | 0.96 |
| 24,169 | 0.93 | 0.72 | 0.99 | 123.8 | 0.97 | 1.00 | 1.02 |
| Avg. | 1.32 | 1.26 | 1.01 | 1.17 | 1.27 | 1.02 | |
| STD | 0.56 | 0.78 | 0.27 | 0.25 | 0.28 | 0.19 | |
| IW | b1 | ||||||
| 0.4817 | 0.1907 | −0.2197 | −0.4365 | 0.5490 | −0.5109 | 0.9004 | |
| −0.3810 | 0.0292 | 0.5892 | −0.2042 | −0.7789 | 0.7893 | 0.5127 | |
| 0.0253 | 0.0070 | −0.7712 | 0.5666 | −0.1401 | 0.8548 | 0.3646 | |
| 0.8274 | −0.7504 | −0.8258 | 0.9904 | −0.4542 | −0.4942 | −0.1958 | |
| 0.5154 | −1.0000 | 0.3092 | 0.4735 | −0.5747 | 0.0010 | 0.0809 | |
| −0.8149 | −0.0035 | −0.6034 | 0.3425 | 1.0000 | −0.0460 | −0.4586 | |
| −0.4572 | 1.0000 | 0.3426 | 0.9226 | −0.1067 | −0.9320 | 1.0000 | |
| LW1 | b2 | ||||||
| −0.8055 | −0.7453 | 0.8586 | −0.3097 | 0.5595 | 0.4411 | −0.8149 | −0.2254 |
| 0.9575 | −1.0000 | −0.7036 | 0.8996 | −0.2134 | −0.8109 | −0.2879 | 0.8898 |
| −0.6931 | −0.0147 | 0.1303 | −0.3631 | 0.3113 | −0.3478 | −0.5636 | 0.0838 |
| -0.4409 | −0.7401 | 0.4323 | −0.9174 | 0.3017 | −0.6847 | −1.0000 | 0.5783 |
| -0.4875 | −0.0611 | 0.3553 | −0.8939 | 1.0000 | −0.5234 | −0.5076 | 0.2355 |
| 0.5268 | −1.0000 | −0.7456 | −0.1620 | 0.1855 | −0.1735 | −0.2715 | 0.2381 |
| LW2 | b3 | ||||||
| −0.8122 | −0.2114 | 0.4500 | 0.1232 | −0.9455 | −0.1440 | −0.8268 | |
| IW | b1 | |||||||
| 0.5052 | 0.026 | −0.048 | −0.457 | −0.601 | 0.880 | −0.263 | ||
| 0.0611 | −0.002 | 0.231 | 1.000 | −0.039 | −0.041 | −0.096 | ||
| 0.8044 | 0.613 | 0.636 | −0.597 | 0.068 | −0.707 | 0.830 | ||
| −0.0309 | 0.840 | 1.000 | 0.972 | 0.503 | 0.902 | 0.328 | ||
| −0.0211 | −0.668 | 0.193 | 0.190 | 0.841 | 0.214 | 0.582 | ||
| −0.8067 | −0.706 | 0.351 | −0.533 | −0.137 | 0.048 | 0.332 | ||
| 0.6398 | 0.751 | 0.515 | −0.311 | 0.908 | −1.000 | −0.874 | ||
| LW1 | b2 | |||||||
| −0.8170 | 0.552 | −0.907 | −0.003 | 0.750 | −0.879 | −0.423 | −0.870 | |
| −0.8032 | 0.822 | −1.000 | −0.435 | 0.052 | −0.235 | 0.438 | −0.286 | |
| −0.7108 | −0.702 | −0.572 | −0.039 | 0.144 | 0.154 | 0.653 | 0.159 | |
| −0.3023 | −0.827 | 0.142 | 0.368 | 0.149 | 0.385 | 0.467 | −0.822 | |
| 0.6028 | 0.679 | −0.656 | −0.584 | −0.243 | −0.078 | 0.546 | 0.176 | |
| 0.9051 | −0.554 | −0.576 | −0.672 | 0.981 | −0.221 | −0.992 | 0.303 | |
| LW2 | b3 | |||||||
| −0.4997 | −0.239 | 0.875 | −0.930 | −0.243 | −0.643 | −0.930 | ||
Publisher’s Note: MDPI stays neutral with regard to jurisdictional claims in published maps and institutional affiliations. |
© 2021 by the authors. Licensee MDPI, Basel, Switzerland. This article is an open access article distributed under the terms and conditions of the Creative Commons Attribution (CC BY) license (http://creativecommons.org/licenses/by/4.0/).
Share and Cite
Faridmehr, I.; Nikoo, M.; Pucinotti, R.; Bedon, C. Application of Component-Based Mechanical Models and Artificial Intelligence to Bolted Beam-to-Column Connections. Appl. Sci. 2021, 11, 2297. https://doi.org/10.3390/app11052297
Faridmehr I, Nikoo M, Pucinotti R, Bedon C. Application of Component-Based Mechanical Models and Artificial Intelligence to Bolted Beam-to-Column Connections. Applied Sciences. 2021; 11(5):2297. https://doi.org/10.3390/app11052297
Chicago/Turabian StyleFaridmehr, Iman, Mehdi Nikoo, Raffaele Pucinotti, and Chiara Bedon. 2021. "Application of Component-Based Mechanical Models and Artificial Intelligence to Bolted Beam-to-Column Connections" Applied Sciences 11, no. 5: 2297. https://doi.org/10.3390/app11052297
APA StyleFaridmehr, I., Nikoo, M., Pucinotti, R., & Bedon, C. (2021). Application of Component-Based Mechanical Models and Artificial Intelligence to Bolted Beam-to-Column Connections. Applied Sciences, 11(5), 2297. https://doi.org/10.3390/app11052297
