Environmental Impact of Discharge Patterns and Ambient Wind on the Jet Discharge from a Mechanical Upper Vent of a Tunnel
Abstract
:1. Introduction
2. Mathematical Model
2.1. Governing Equations and Numerical Algorithm
- (1)
- Because the pollutant discharge rate was far lower than the speed of sound at the upper vents, the compressibility of discharge airflow can be ignored. This process can be regarded as the steady turbulent flow of incompressible fluid [23]. In addition, the influence of ambient temperature on the discharge airflow was temporarily omitted.
- (2)
- The fluid was set as a continuum, and no spaces existed between particles. The total fluid mass flowing through each cross section per unit time remained unchanged.
- (3)
- Considering the higher contribution rate of NO2 than of CO, NO2 was used as the main source of pollution to study the diffusion of pollutants.
2.2. Computational Geometry, Domain, and Grid
2.3. Boundary Conditions
3. Scale Model Test
4. Numerical Simulation Results and Discussions
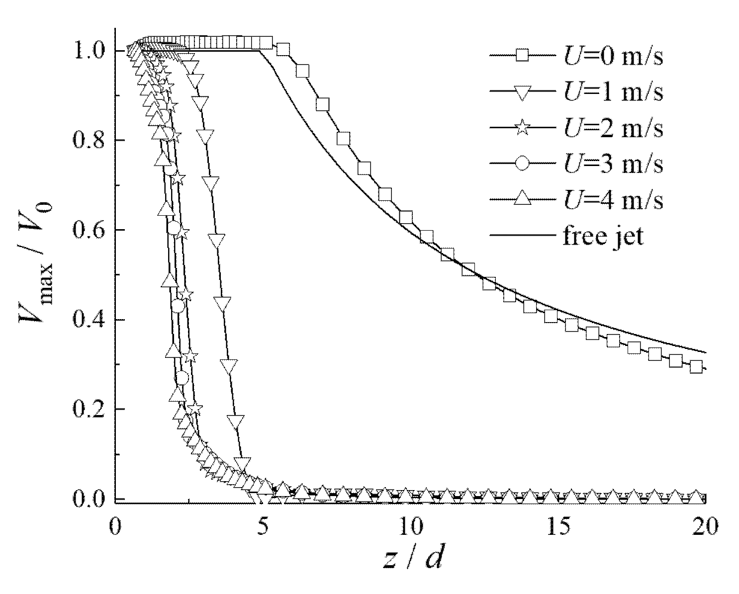
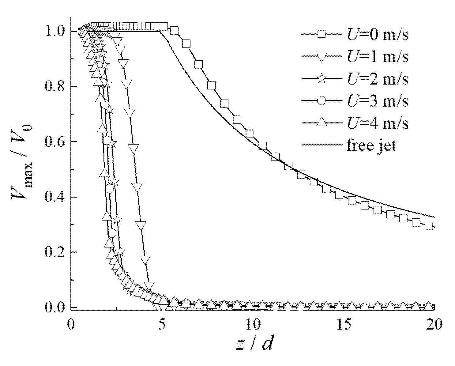
4.1. Characteristics of the Air Flow in the Vertical Pollution Discharge Pattern
4.2. Characteristics of the Air Flow in the Horizontal Pollution Discharge Pattern
4.3. Variation of the Environmental Impact Radius with Ambient Wind Velocity
5. Conclusions
- (1)
- The pollutant emission of the upper vent under a vertical discharge pattern can be considered as the free buoyant jet diffusion under the impact of the momentum of ambient wind. The maximum concentration of pollutants Cmax gradually decreased with the increase in the horizontal distance r from the upper vent under varied ambient wind velocities U. The environmental impact radius rcriti of the pollutant increased with the increase of U when U ≤ 3 m/s, and was free from the impact of U after U > 3 m/s.
- (2)
- The emission under the horizontal discharge pattern can be regarded as the semi-confined buoyant jet diffusion under the impact of the momentum of ambient wind. Cmax first remained unchanged with the rising of the horizontal distance r from the upper vent under various U, and then gradually decreased. The attenuation rate of Cmax was nearly independent of the impact of U in the range approaching the upper vent. However, when it was far from the upper vent, the greater the value of U, the faster the attenuation of Cmax, and the smaller the environmental impact radius rcriti.
- (3)
- When the discharge capacity was constant, the environmental impact radius of the upper vent under both vertical and horizontal discharge patterns decreased with the increase of the discharge velocity V0. When there was ambient wind, V0 was more sensitive to the impact of rcriti for the vertical outlet, whereas V0 was more sensitive to the impact of rcriti for the horizontal outlet when there was no ambient wind. Moreover, the environmental impact radius, rcriti, of the vertical outlet was smaller than that of the horizontal outlet for the range of parameters considered.
- (4)
- It is worth noting that the upper vent featuring “emission in high concentration and low wind velocity” can improve more significantly the environmental air quality inside a longitudinal ventilation tunnel when the total air volume and discharge capacity are constant. In this regard, the annual environment wind velocity of the tunnel and the impact of the upper vent on the environment inside and outside the tunnel should be considered before designing top vents for tunnels.
Author Contributions
Funding
Institutional Review Board Statement
Informed Consent Statement
Data Availability Statement
Conflicts of Interest
References
- Du, T.; Yang, D.; Peng, S.N.; Xiao, Y.M. A method for design of smoke control of urban traffic link tunnel (UTLT) using longitudinal ventilation. Tunn. Undergr. Space Technol. 2015, 48, 35–42. [Google Scholar] [CrossRef]
- Gong, C.J.; Ding, W.Q.; Soga, K.; Mosalam, K.M. Failure mechanism of joint waterproofing in precast segmental tunnel linings. Tunn. Undergr. Space Technol. 2019, 84, 334–352. [Google Scholar] [CrossRef]
- Wang, M.N.; Wang, X.; Yu, L.; Deng, T. Field measurements of the environmental parameter and pollutant dispersion in urban undersea road tunnel. Build. Environ. 2019, 149, 100–108. [Google Scholar] [CrossRef]
- Zhang, H.H.; Hou, Y.G.; Wu, K.J.; Zhang, T.H.; Wu, K.; Zhang, X. Study on Mechanism of Series-Flow of Pollutants between Consecutive Tunnels by Numerical Simulation. Appl. Sci. 2019, 9, 4125. [Google Scholar] [CrossRef] [Green Version]
- Zhang, X.; Zhang, T.H.; Zhu, K.; Huang, Z.Y.; Wu, K. Numerical Research on the Mixture Mechanism of Polluted and Fresh Air at the Staggered Tunnel Portals. Appl. Sci. 2018, 8, 1365. [Google Scholar] [CrossRef] [Green Version]
- Jin, S.K.; Jin, J.L.; Gong, Y.F. A theoretical explanation of natural ventilation at roof openings in urban road tunnels. Tunn. Undergr. Space Technol. 2020, 98, 103345. [Google Scholar] [CrossRef]
- Bari, S.; Naser, J. Simulation of airflow and pollution levels caused by severe traffic jam in a road tunnel. Tunn. Undergr. Space Technol. 2010, 25, 70–77. [Google Scholar] [CrossRef]
- Raaschou-Nielsen, O.; Andersen, Z.J.; Jensen, S.S.; Ketzel, M.; Sorensen, M.; Hansen, J.; Loft, S.; Tjonne, A.; Overvad, K. Traffic air pollution and mortality from cardiovascular disease and all causes: A Danish cohort study. Environ. Health 2012, 11, 60. [Google Scholar] [CrossRef] [PubMed] [Green Version]
- Hoek, G.; Krishnan, R.M.; Beelen, R.; Peters, A.; Ostro, B.; Brunekreef, B.; Kaufman, J.D. Long-term air pollution exposure and cardio-respiratory mortality. Environ. Health 2016, 12, 43. [Google Scholar] [CrossRef] [Green Version]
- Zhong, X.C.; Zeng, Z. Distribution of Harmful Gas Concentration in Highway Tunnel with Natural Ventilation. J. Railw. Eng. Soc. 2006, 9, 44–49. [Google Scholar]
- Huo, Z.Y.; Long, E.S.; Wang, J. Influence of Urban Highway Tunnel Upper Vents Groups Number on Natural Ventilation Efficiency. Lect. Notes Electr. Eng. 2014, 263, 357–363. [Google Scholar]
- Jin, S.K.; Jin, J.L.; Gong, Y.F. Natural ventilation of urban shallowly-buried road tunnels with roof openings. Tunn. Undergr. Space Technol. 2017, 63, 217–227. [Google Scholar] [CrossRef]
- Guo, Q.; Zhu, H.; Zhang, Y.; Shen, Y.; Zhang, Y.P.; Yan, Z.G. Smoke flow in full-scale urban road tunnel fires with large cross-sectional vertical shafts. Tunn. Undergr. Space Technol. 2020, 104, 103536. [Google Scholar] [CrossRef]
- Fan, C.G.; Chen, J.; Zhou, Y.; Li, L.J.; Zhang, J.Q.; Fan, M.H.; Liu, X.P. A simple method to improve smoke exhaust effectiveness of a shallow-buried urban tunnel fire with natural ventilation. Combust. Sci. Technol. 2021, 193, 355–378. [Google Scholar] [CrossRef]
- Fan, C.G.; Chen, J.; Mao, Z.L.; Zhou, Y.; Mao, S.H. A numerical study on the effects of naturally ventilated shaft and fire locations in urban tunnels. Fire Mater. 2019, 43, 949–960. [Google Scholar] [CrossRef]
- Yao, Y.Z.; Zhang, S.G.; Shi, L.; Cheng, X.D. Effects of shaft inclination angle on the capacity of smoke exhaust under tunnel fire. Indoor Built Environ. 2019, 28, 77–87. [Google Scholar] [CrossRef]
- Fan, C.G.; Ji, J.; Wang, W.; Sun, J.H. Effects of vertical shaft arrangement on natural ventilation performance during tunnel fires. Int. J. Heat Mass Transf. 2014, 73, 158–169. [Google Scholar] [CrossRef]
- Yu, J.; Tian, L.; Zhuang, W.; Yang, J. Prediction of the Pollutant Diffusion Discharged from Wind Tower of the City Traffic Tunnel. Tunn. Undergr. Space Technol. 2014, 42, 112–121. [Google Scholar] [CrossRef]
- Huang, Y.; Gong, X.; Peng, Y.; Lin, X.; Kim, C. Effects of the Ventilation Duct Arrangement and Duct Geometry on Ventilation Performance in a Subway Tunnel. Tunn. Undergr. Space Technol. 2011, 26, 725–733. [Google Scholar] [CrossRef]
- Launder, B.E.; Spalding, D.B. The numerical computation of turbulent flows. Int. J. Numer. Methods Fluids. 1974, 15, 127–146. [Google Scholar] [CrossRef]
- Stathopoulos, T. Computational Wind Engineering: Past Achievements and Future Challenges. J. Wind Eng. Ind. Aerodyn. 1997, 67–68, 509–532. [Google Scholar] [CrossRef]
- Rollet-Miet, P.; Laurence, D.; Ferziger, J. LES and RANS of Turbulent Flow in Tube Bundles. Int. J. Heat Fluid Flow 1999, 20, 241–254. [Google Scholar] [CrossRef] [Green Version]
- Yang, Y.R.; He, C.; Zeng, Y.H. Numerical simulation for the pollution effect between portals of twin highway tunnels. Mod. Tunn. Technol. 2009, 46, 94–98. [Google Scholar]
- Tabatabaian, M. CFD Module: Turbulent Flow Modeling; Mercury Learning & Information: Duxbury, MA, USA, 2015; p. 43. [Google Scholar]
- Lou, W.J.; Liang, H.C.; Li, Z.H.; Zhang, L.G.; Bian, R.; Zhang, S.W. Research on Wind Environment of Residential Districts in Hangzhou Based on Numerical Simulation. Acta Aerodyn. Sin. 2018, 36, 791–797. [Google Scholar]
- Jiang, W.M.; Yu, H.B.; Xie, G.L.; Wu, J.; Zhu, H.G.; Sun, H.N. An experiment study on environmental impact of automobile exhaust from urban transportation tunnels. ACTA Sci. Circumstantiae 1998, 18, 188–193. [Google Scholar]
- Wang, F.J. Computational Fluid Dynamics Analysis, 1st ed.; Tsinghua University Press: Beijing, China, 2004; pp. 21–22. [Google Scholar]
- Wang, Y.Q.; Xia, F.Y.; Xie, Y.L. Physical Model Experiment on Complementary Ventilation of Extra-long Highway Tunnel. China J. Highw. Transp. 2014, 27, 84–90. [Google Scholar]
- Panitz, T.; Wasan, D.T. Flow Attachment to Solid Surfaces: The Coanda Effect. AIChE J. 1972, 18, 51–57. [Google Scholar] [CrossRef]





















| ρ | Mass Density |
|---|---|
| μ | coefficient of dynamic viscosity |
| xi | coordinate component |
| ui, uj | time-averaged velocity (i, j = 1, 2, 3) |
| ui′, uj′ | fluctuating velocity (i, j = 1, 2, 3) |
| p | static pressure |
| Si | source terms including gravity |
| σρ | turbulent Schmidt number |
| g | gravitational acceleration |
| cs | volume concentration of the component s |
| Ds | diffusion coefficient of the component s |
| Ss | mass of the component produced by chemical reaction per unit time and per unit volume in the system, namely, productivity |
| Cμ | σk | σε | C1ε | C2ε | C3ε |
| 0.09 | 0.24 | 0.15 | 1.44 | 1.92 | 0.2 |
Publisher’s Note: MDPI stays neutral with regard to jurisdictional claims in published maps and institutional affiliations. |
© 2021 by the authors. Licensee MDPI, Basel, Switzerland. This article is an open access article distributed under the terms and conditions of the Creative Commons Attribution (CC BY) license (https://creativecommons.org/licenses/by/4.0/).
Share and Cite
Zhang, X.; Wu, K.; Zhu, K. Environmental Impact of Discharge Patterns and Ambient Wind on the Jet Discharge from a Mechanical Upper Vent of a Tunnel. Appl. Sci. 2021, 11, 9858. https://doi.org/10.3390/app11219858
Zhang X, Wu K, Zhu K. Environmental Impact of Discharge Patterns and Ambient Wind on the Jet Discharge from a Mechanical Upper Vent of a Tunnel. Applied Sciences. 2021; 11(21):9858. https://doi.org/10.3390/app11219858
Chicago/Turabian StyleZhang, Xin, Ke Wu, and Kai Zhu. 2021. "Environmental Impact of Discharge Patterns and Ambient Wind on the Jet Discharge from a Mechanical Upper Vent of a Tunnel" Applied Sciences 11, no. 21: 9858. https://doi.org/10.3390/app11219858
APA StyleZhang, X., Wu, K., & Zhu, K. (2021). Environmental Impact of Discharge Patterns and Ambient Wind on the Jet Discharge from a Mechanical Upper Vent of a Tunnel. Applied Sciences, 11(21), 9858. https://doi.org/10.3390/app11219858

