Optimization of Shear Resistance in Horizontal Joints of Prefabricated Shear Walls through Post-Cast Epoxy Resin Concrete Applications
Abstract
1. Introduction
2. Experimental Overview
2.1. Specimen Design and Production
2.2. Basic Mechanical Properties of Materials
2.3. Loading Scheme
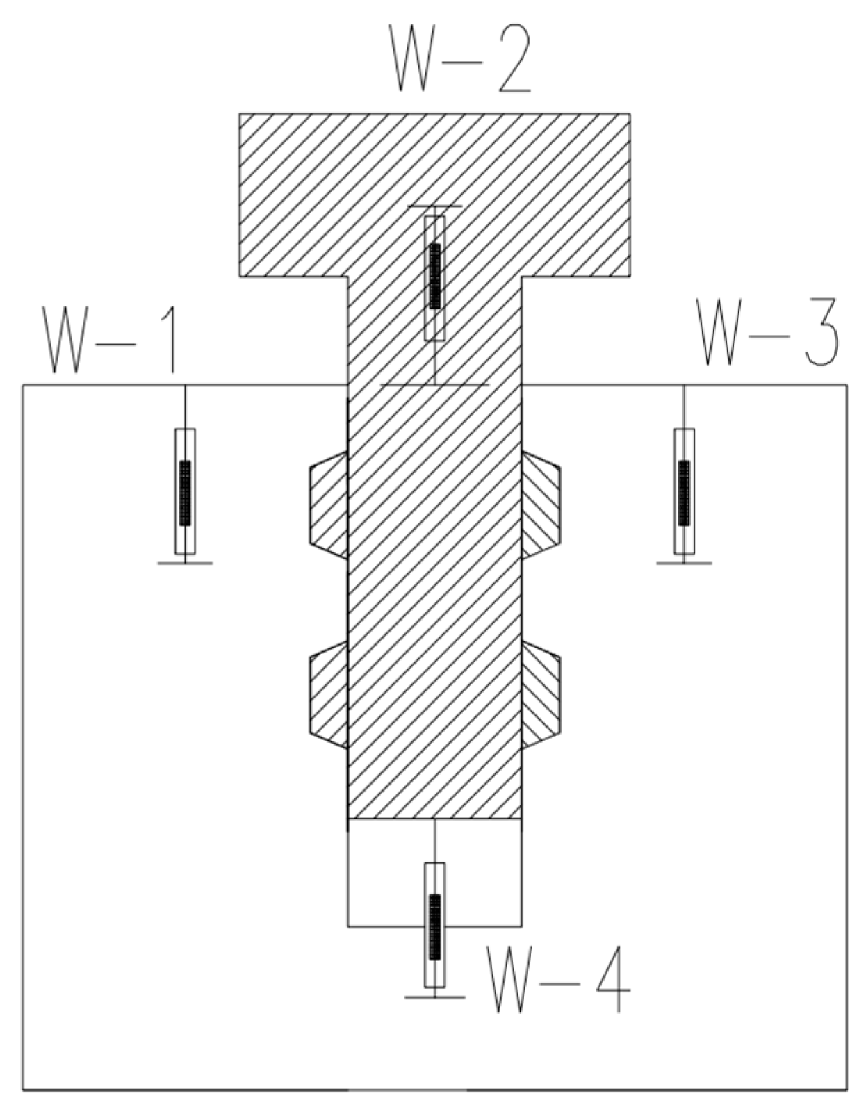
2.4. Displacement Measurement Scheme
3. Analysis of Experimental Phenomena and Results
3.1. Effect of Buckle Length on Joint Shear Performance
3.1.1. Specimens with Post-Poured Epoxy Concrete and Bonding Surface with Keyway
3.1.2. After Pouring Ordinary Concrete Specimens with Joint Surfaces without Keyways
3.1.3. Mechanism Analysis
3.2. Effect of Post-Poured Concrete Type on Joint Shear Performance
3.3. Effect of Keyway on Joint Shear Performance
3.4. Comparison and Analysis of Monolithic Cast Specimen and Assembled Specimen
- (1)
- The shear stiffness of the test specimen featuring a keyway and poured epoxy resin concrete at the joint is comparable to that of the entire poured test specimen. However, the shear strength of the test specimen exceeds that of the complete poured test specimen. Specifically, the shear strength of the specimen with a buckle length of 60 mm exhibits an increase of 70%, while the specimen with a buckle length of 80 mm shows an increase of 59%. Furthermore, specimens with a bonding length of 100 mm demonstrate an improvement of 32%. These results suggest that the incorporation of keyways on the bonding surface, along with the use of epoxy resin concrete as a joint material, are effective strategies for enhancing the shear resistance of the interface between new and old concrete. Additionally, it is recommended that the bonding length of the ring reinforcement not exceed a certain limit, ideally being approximately one-third of the total width of the horizontal joint.
- (2)
- The shear stiffness and shear bearing capacity of the post-poured ordinary concrete specimens at the joint are lower than those of the fully poured specimens. Specifically, the shear bearing capacity of the specimens featuring a keyway decreases by 23%, while the specimens without a keyway and with a rib length of 60 mm exhibit a decrease of 47%. Furthermore, the specimens with a rib length of 100 mm demonstrate a reduction of 62%. This indicates that an increase in buckle length adversely affects the shear performance of the joint surface, assuming a constant retaining length of the annulus. Additionally, the load-displacement curve for the test specimen without a keyway does not exhibit a different decreasing section; rather, it shows a prolonged peak load holding time and significant shear displacement. This suggests that the shear resistance of the joint surface is predominantly attributed to the pin force provided by the reinforcement at the joint surface. Upon the loss of this pin force, the bearing capacity experiences an immediate decline from the peak value, thereby illustrating the brittle property of shear failure.
4. Development and Verification of Finite Element Model
4.1. Material Constitutive Model
4.2. Model Establishment
4.3. Verification of Model
5. Finite Element Analysis of Factors Affecting Horizontal Joint Shear Performance
5.1. Effect of Precast Partial Concrete Strength
5.2. Effect of Horizontal Joint Annulus Reinforcement Ratio
5.3. Effect of Horizontal Joint Insertion Reinforcement Ratio
5.4. Effect of Horizontal Binding Force
6. Conclusions
- (1)
- When epoxy resin concrete is employed as the post-cast material in prefabricated components, it exhibits excellent bonding performance with the ordinary concrete of the prefabricated sections. Additionally, incorporating a keyway on the joint surface significantly enhances the interlock between the old and new concrete, thereby improving the shear resistance of the joint surface. Therefore, the shear bearing capacity and stiffness of horizontal joints with epoxy resin concrete and keyways can match or even exceed those of fully cast specimens.
- (2)
- An increase in the buckle length of the ring reinforcement negatively affects the shear bearing capacity of the joint surface. When ordinary concrete is used as the post-cast material alongside a large buckle length, the shear stiffness may also be compromised. This study recommends that the buckle length of the ring reinforcement be approximately one-third of the total width of the horizontal joint to optimize performance.
- (3)
- As the strength of the precast concrete increases, there is a corresponding increase in bearing capacity, but a decrease in ductility. The rate of increase in bearing capacity initially rises and then diminishes. Therefore, it is recommended that the strengths of the precast concrete and the post-cast epoxy concrete be closely matched to achieve the optimal strength design.
- (4)
- The shear capacity of the wall improves with higher reinforcement ratios in both the horizontal joint ring reinforcement and the inserted reinforcement. The effect of the ring reinforcement is more significant than that of the inserted reinforcement. However, when the reinforcement ratio surpasses a certain threshold, the wall’s ductility decreases markedly. It is advised that the diameter of the ring reinforcement be between 10 mm and 12 mm, with a reinforcement ratio ranging from 0.79% to 1.13%.
- (5)
- Increasing the lateral horizontal constraint force on the specimen enhances both stiffness and shear capacity. However, it also reduces ductility, particularly when the constraint force reaches 500 kN, leading to a significant decrease in ductility. Therefore, it is recommended that the axial compression ratio of the wall not exceed 0.5.
7. Outlook
- (1)
- Focusing on key parameters, such as joint surface roughness, keyway slotting angle, and the number of keyways, to conduct more detailed experimental and numerical simulation studies and develop construction recommendations for shear walls composed of post-cast epoxy resin concrete.
- (2)
- Based on the findings, proposing a set of formulas to calculate the bearing capacity of the horizontal joint in walls using ring reinforcement buckle connection technology, thereby providing theoretical support for practical engineering applications.
- (3)
- Investigating the durability of joints in prefabricated shear walls with post-cast epoxy resin concrete and optimizing construction technology.
Author Contributions
Funding
Data Availability Statement
Conflicts of Interest
References
- Cholewicki, A. Loadbearing capacity and deformability of vertical joints in structural walls of large panel buildings. Build. Sci. 1971, 6, 163–184. [Google Scholar] [CrossRef]
- Hemamalini, S.; Vidjeapriya, R.; Jaya, K.P. Performance of precast shear wall connections under monotonic and cyclic loading: A state-of-the-art review. Iran. J. Sci. Technol. Trans. Civ. Eng. 2021, 45, 1307–1328. [Google Scholar] [CrossRef]
- Hu, R.; Fang, Z.; Shi, C.; Benmokrane, B.; Su, J. A review on seismic behavior of ultra-high performance concrete members. Adv. Struct. Eng. 2021, 24, 1054–1069. [Google Scholar] [CrossRef]
- Basereh, S.; Okumus, P.; Aaleti, S. Seismic retrofit of reinforced concrete shear walls to ensure reparability. In Proceedings of the Structures Congress 2020, St. Louis, MO, USA, 5–8 April 2020; American Society of Civil Engineers: Reston, VA, USA, 2020; pp. 498–509. [Google Scholar]
- Sharma, S.; Aaleti, S.; Okumus, P. Experimental testing of RC shear wall seismic retrofit using selective weakening, self-centering and Ultra High performance concrete. Resilient Cities Struct. 2023, 2, 76–90. [Google Scholar] [CrossRef]
- Han, W.L.; Zhao, Z.Z.; Qian, J.R. Global experimental response of a three-story, full-scale precast concrete shear wall structure with reinforcing bars spliced by grouted couplers. PCI J. 2019, 64, 65–80. [Google Scholar] [CrossRef]
- Xiong, F.; Malla, P.; Cai, G.; Larbi, A.S.; Zhong, Y.; Tufail, R.F.; Chen, W.; Huang, W. Numerical analysis of precast concrete shear walls with horizontal bolted joints under seismic loads. J. Earthq. Eng. 2022, 26, 4737–4760. [Google Scholar] [CrossRef]
- Pall, A.S.; Marsh, C.; Fazio, P. Friction joints for seismic control of large panel structures. J. Prestress. Concr. Inst. 1980, 25, 38–61. [Google Scholar] [CrossRef]
- Yu, Z.-W.; Peng, X.-D.; Guo, W.; Peng, M.-P. Seismic performance of precast concrete shear wall with U-type reinforcements ferrule connection. Zhejiang Daxue Xuebao (Gongxue Ban)/J. Zhejiang Univ. (Eng. Sci.) 2015, 49, 975–984. [Google Scholar]
- Yu, Z.; Peng, X.; Guo, W.; Peng, M. New node connection mode and seismic performance of precast concrete shear wall structure. Xi’an Jianzhu Keji Daxue Xuebao/J. Xi’an Univ. Archit. Technol. 2015, 47, 160–164+191. [Google Scholar]
- Yu, Z.; Lv, X.; Yu, Y.; Ding, F.; Peng, X. Seismic performance of precast concrete columns with improved u-type reinforcement ferrule connections. Int. J. Concr. Struct. Mater. 2019, 13, 54. [Google Scholar] [CrossRef]
- Issa, C.A.; Debs, P. Experimental study of epoxy repairing of cracks in concrete. Constr. Build. Mater. 2007, 21, 157–163. [Google Scholar] [CrossRef]
- Rahman, M.M.; Akhtarul Islam, M. Application of epoxy resins in building materials: Progress and prospects. Polym. Bull. 2022, 79, 1949–1975. [Google Scholar] [CrossRef]
- Yu, T. The Experimental Study of Repairing Concrete Cracks with Epoxy Resin Grouting. Master’s Thesis, Beijing University of Technology, Beijing, China, 2016. (In Chinese). [Google Scholar]
- Xiang, Q.; Xiao, F. Applications of epoxy materials in pavement engineering. Constr. Build. Mater. 2020, 235, 117529. [Google Scholar] [CrossRef]
- Zhang, W.; Guan, X.; Ren, J.; Gu, X. Experimental study on chloride permeability of concrete surface-treated with epoxy resin. J. Build. Mater. 2008, 11, 340–344. [Google Scholar]
- Natarajan, S.; Neelakanda Pillai, N.; Murugan, S. Experimental investigations on the properties of epoxy-resin-bonded cement concrete containing sea sand for use in unreinforced concrete applications. Materials 2019, 12, 645. [Google Scholar] [CrossRef]
- Qian, Y.; Li, Z.; Jin, Y.; Wang, R. Experimental Study on Axial Tension Members of a New Epoxy Resin Concrete. Sci. Adv. Mater. 2021, 13, 2005–2015. [Google Scholar] [CrossRef]
- El-Mandouh, M.A.; El-Maula, A.S.A. Shear strength of epoxy-modified reinforced concrete beams. Innov. Infrastruct. Solut. 2021, 6, 105. [Google Scholar] [CrossRef]
- Chen, P.; Liu, Z.; Zhou, X.; Xu, S.; Wang, J. Research on Work Performance of Monolithic Precast Concrete Shear Walls with Post-Cast Epoxy Resin Concrete. Buildings 2024, 14, 1675. [Google Scholar] [CrossRef]
- Julio, E.N.B.S.; Branco, F.A.B.; Silva, V.D. Concrete-to-concrete bond strength. influence of the roughness of the substrate surface. Constr. Build. Mater. 2004, 18, 675–681. [Google Scholar] [CrossRef]
- Rizkalla, S.H.; Serrette, R.L.; Heuvel, J.S.; Attiogbe, E.K. Multiple shear key connections for precast shear wall panels. PCI J. 1989, 34, 104–120. [Google Scholar] [CrossRef]
- Gopal, B.A.; Hejazi, F.; Hafezolghorani, M.; Voo, Y.L. Shear strength of dry and epoxy joints for ultra-high-performance fiber-reinforced concrete. ACI Struct. J. 2020, 117, 279–288. [Google Scholar] [CrossRef]
- Fan, H.; Zhang, Y.; Zhang, Y.; Jiang, H.; Du, L.; Liu, Q. Mechanical Properties and Energy Conservation Analysis for The New Connection of The Fabricated Shear Wall. IOP Conf. Ser. Earth Environ. Sci. 2021, 804, 022094. [Google Scholar] [CrossRef]
- EN1992-1-2; Euro-Code2: Design of Concrete Structures-Part1: General Rules and Rules for Buildings. European Committee for Standardization: Bruxelles, Belgium, 2021.
- Jin, Y.; Zhao, Y.; Xie, X.; Zhang, X.; Cai, J. Simulation Analysis of Joint Connection of New Epoxy Resin Concrete Truss Structure. Int. J. Perform. Eng. 2021, 17, 143. [Google Scholar]
- JGJ/T 430-2018; Technical standard for precast reinforced concrete shear wall structure assembled by anchoring closed loop reinforcement. China Architecture & Build Press: Beijing, China, 2018.
- GB 50010-2010; Code for Design of Concrete Structures. China Architecture & Building Press: Beijing, China, 2015.
- Khan RM, A.; Shafighfard, T.; Ali, H.Q.; Mieloszyk, M.; Yildiz, M. Strength prediction and experimental damage investigations of plain woven CFRPs with interacting holes using multi-instrument measurements. Polym. Compos. 2023, 44, 3594–3609. [Google Scholar] [CrossRef]





























| Specimen Number | Horizontal Joint Construction | ||
|---|---|---|---|
| After-Cast Material | Whether There Is a Keyway | Ring Buckle Length (mm) | |
| ZHY-1-80 | Epoxy concrete | Yes | 80 |
| ZHY-1-60 | Yes | 60 | |
| ZHY-1-100 | Yes | 100 | |
| ZXJ-2-60 | Ordinary concrete (C40) | No | 60 |
| ZXJ-1-60 | Yes | 80 | |
| ZXJ-2-100 | No | 100 | |
| ZZJ | - | - | 60 |
| Specimen Number | Cracking Load FC (kN) | Cracking Displacement (mm) | Peak Load Fm (kN) | Peak Displacement (mm) |
|---|---|---|---|---|
| ZHY-1-60 | 245 | 2.35 | 1384.3 | 23.6 |
| ZHY-1-80 | 280 | 2.57 | 1295.5 | 21.1 |
| ZHY-1-100 | 243 | 3.51 | 1073.4 | 18.9 |
| ZXJ-1-60 | 103 | 1.02 | 621.8 | 18.8 |
| ZXJ-2-60 | 106 | 1.63 | 425.7 | 39.0 |
| ZXJ-2-100 | 77 | 4.14 | 307.7 | 42.1 |
| ZZJ | 180 | 1.72 | 813.3 | 10.3 |
| Specimen Number | Strength Grade of Concrete | Ratio of Joint Ring Reinforcement (Diameter) | Reinforcement Ratio of Horizontal Joint Insertion (Diameter) | Horizontal Binding Force (kN) |
|---|---|---|---|---|
| ZHY-1-60 | C40 | 0.50% (8 mm) | 0.74% (8 mm) | 0 |
| ZJC1 | C30 | 0.50% (8 mm) | 0.74% (8 mm) | 0 |
| ZJC2 | C50 | 0.50% (8 mm) | 0.74% (8 mm) | 0 |
| ZJC3 | C60 | 0.50% (8 mm) | 0.74% (8 mm) | 0 |
| ZJC4 | C70 | 0.50% (8 mm) | 0.74% (8 mm) | 0 |
| ZJH1 | C40 | 0.28% (6 mm) | 0.74% (8 mm) | 0 |
| ZJH2 | C40 | 0.79% (10 mm) | 0.74% (8 mm) | 0 |
| ZJH3 | C40 | 1.13% (12 mm) | 0.74% (8 mm) | 0 |
| ZJH4 | C40 | 1.54% (14 mm) | 0.74% (8 mm) | 0 |
| ZJS1 | C40 | 0.50% (8 mm) | 0.42% (6 mm) | 0 |
| ZJS2 | C40 | 0.50% (8 mm) | 1.20% (10 mm) | 0 |
| ZJS3 | C40 | 0.50% (8 mm) | 1.70% (12 mm) | 0 |
| ZJS4 | C40 | 0.50% (8 mm) | 2.30% (14 mm) | 0 |
| ZJF1 | C40 | 0.50% (8 mm) | 0.74% (8 mm) | 100 |
| ZJF2 | C40 | 0.50% (8 mm) | 0.74% (8 mm) | 200 |
| ZJF3 | C40 | 0.50% (8 mm) | 0.74% (8 mm) | 300 |
| ZJF4 | C40 | 0.50% (8 mm) | 0.74% (8 mm) | 400 |
| ZJF5 | C40 | 0.50% (8 mm) | 0.74% (8 mm) | 500 |
Disclaimer/Publisher’s Note: The statements, opinions and data contained in all publications are solely those of the individual author(s) and contributor(s) and not of MDPI and/or the editor(s). MDPI and/or the editor(s) disclaim responsibility for any injury to people or property resulting from any ideas, methods, instructions or products referred to in the content. |
© 2024 by the authors. Licensee MDPI, Basel, Switzerland. This article is an open access article distributed under the terms and conditions of the Creative Commons Attribution (CC BY) license (https://creativecommons.org/licenses/by/4.0/).
Share and Cite
Chen, P.; Zhao, S.; Xu, P.; Zhou, X.; Li, Y. Optimization of Shear Resistance in Horizontal Joints of Prefabricated Shear Walls through Post-Cast Epoxy Resin Concrete Applications. Buildings 2024, 14, 3119. https://doi.org/10.3390/buildings14103119
Chen P, Zhao S, Xu P, Zhou X, Li Y. Optimization of Shear Resistance in Horizontal Joints of Prefabricated Shear Walls through Post-Cast Epoxy Resin Concrete Applications. Buildings. 2024; 14(10):3119. https://doi.org/10.3390/buildings14103119
Chicago/Turabian StyleChen, Peiqi, Shilong Zhao, Pengzhan Xu, Xiaojie Zhou, and Yueqiang Li. 2024. "Optimization of Shear Resistance in Horizontal Joints of Prefabricated Shear Walls through Post-Cast Epoxy Resin Concrete Applications" Buildings 14, no. 10: 3119. https://doi.org/10.3390/buildings14103119
APA StyleChen, P., Zhao, S., Xu, P., Zhou, X., & Li, Y. (2024). Optimization of Shear Resistance in Horizontal Joints of Prefabricated Shear Walls through Post-Cast Epoxy Resin Concrete Applications. Buildings, 14(10), 3119. https://doi.org/10.3390/buildings14103119
