Human-Induced Vibration Serviceability: From Dynamic Load Measurement towards the Performance-Based Structural Design
Abstract
1. Introduction
2. Human-Induced Load
2.1. Measurement of Human-Induced Load
2.2. Stochastic Human-Induced Load Model in Time Domain
2.3. Stochastic Human-Induced Load Model in Frequency Domain
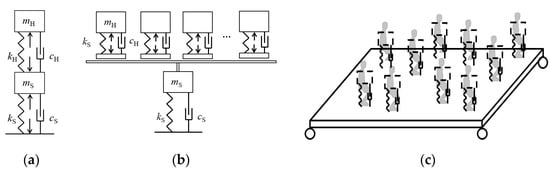
3. Human–Structure Interaction
3.1. The Influence of Human–Structure Interaction on the Human-Induced Load
3.2. The Influence of Human–Structure Interaction on Structural Dynamic Properties
3.3. Dynamic Properties of Human Body
3.4. Research on Human–Structure Coupling System
3.5. Notes on the Research of Human–Structure Interaction
4. Stochastic Vibration Analysis
4.1. Spectrum Analysis Method
4.2. Random Structural Analysis
4.3. Probability Density Evolution Method
- (1)
- Select the representative point set θq, divide the probability space ΩΘ characterized by all random variables Θ, and determine the corresponding assigned probability Pq, as denoted by
- (2)
- For each representative point, carry out the deterministic analysis to obtain the velocity time history of the response quantity of interest.
- (3)
- Numerically solve the GDEE to obtain the integral of pZΘ (z,θ,t) on each probability subfield.
- (4)
- The probability density function of the concerned physical quantity is obtained by summing the probability subfields, as denoted by
4.4. Notes on Stochastic Analysis and Reliability Calculatinon in Human-Induced Vibration Problems
5. Vibration Serviceability Assessment
5.1. Evaluation Index for Human Comfort
5.2. Frequency-Independent Standard
5.3. Frequency-Dependent Standard
5.4. Consideration of the Uncertainties in the Subjective Feelings of the Structural Occupants
6. Reliability-Based Vibration Serviceability Design and Control
7. Summary and Conclusions
Author Contributions
Funding
Data Availability Statement
Conflicts of Interest
References
- Murray, T.M.; Allen, D.E.; Ungar, E.E. Floor vibrations due to human activity. In AISC Design Guide, Series No. 11; American Institute of Steel Construction: Chicago, IL, USA, 1997. [Google Scholar]
- Harper, F.C.; Warlow, W.J.; Clarke, B.L. The Forces Applied to the Floor by the Foot in Walking; HM Stationery Off.: London, UK, 1961. [Google Scholar]
- Galbraith, F.W.; Barton, M.V. Ground loading from footsteps. J. Acoust. Soc. Am. 1970, 485, 1288–1292. [Google Scholar]
- Matsumoto, Y.; Nishioka, T.; Shiojiri, H.; Matsuzaki, K. Dynamic design of footbridges. IABSE Proc. 1978, 17, 1–15. [Google Scholar] [CrossRef]
- Ohlsson, V.S. Floor Vibrations and Human Discomfort; Chalmers University of Technology: Gothenburg, Sweden, 1982. [Google Scholar]
- Ebrahimpour, A.; Hamam, A.; Sack, R.L.; Patten, W.N. Measuring and Modeling Dynamic Loads Imposed by Moving Crowds. J. Struct. Eng. 1996, 122, 1468–1474. [Google Scholar] [CrossRef]
- Ebrahimpour, A.; Sack, R.L. Modeling dynamic occupant loads. J. Struct. Eng. 1989, 115, 1476–1496. [Google Scholar] [CrossRef]
- Kerr, S.C.; Bishop, N.W.M. Human induced loading on flexible staircases. Eng. Struct. 2001, 23, 27–45. [Google Scholar]
- Kerr, S.C. Human Induced Loading on Staircases. Ph.D. Thesis, Mechanical Engineering Department, University College, London, UK, 1998. [Google Scholar]
- Sahnaci, C.; Kaspe, R.; Ski, M. Random loads induced by walking. In Proceedings of the Sixth European Conference on Structural Dynamics, Paris, France, 4–7 September 2005; pp. 441–446. [Google Scholar]
- Racic, V.; Brownjohn, J.M.W. Stochastic model of near-periodic vertical loads due to humans walking. Adv. Eng. Inform. 2011, 25, 259–275. [Google Scholar]
- Chen, J.; Peng, Y.; Wang, L. Experimental investigation and mathematical modeling of single footfall load using motion capture technology. China Civ. Eng. J. 2014, 47, 79–83. [Google Scholar] [CrossRef]
- Chen, J. A review of human-induced loads study. J. Vib. Shock 2017, 36, 1–9. [Google Scholar]
- Živanović, S.; Pavic, A.; Reynolds, P. Vibration serviceability of footbridges under human-induced excitation: A literature review. J. Sound Vib. 2005, 279, 1–74. [Google Scholar] [CrossRef]
- Racic, V.; Pavic, A.; Brownjohn, J.M.W. Experimental identification and analytical modelling of human walking forces: Literature review. J. Sound Vib. 2009, 326, 1–49. [Google Scholar] [CrossRef]
- Willford, M.; Young, P.; Field, C. Improved methodologies for the prediction of footfall-induced vibration. In Proceedings of the SPIE 5933, Buildings for Nanoscale Research and Beyond, 59330R, San Diego, CA, USA, 31 July–1 August 2005. [Google Scholar] [CrossRef]
- Brownjohn, J.M.; Pavic, A.; Omenzetter, P. A spectral density approach for modelling continuous vertical forces on pedestrian structures due to walking. Can. J. Civ. Eng. 2004, 31, 65–77. [Google Scholar] [CrossRef]
- Živanović, S.; Pavić, A.; Reynolds, P. Probability-based prediction of multi-mode vibration response to walking excitation. Eng. Struct. 2007, 29, 942–954. [Google Scholar] [CrossRef]
- Chen, J.; Ding, G.; Živanović, S. Stochastic Single Footfall Trace Model for Pedestrian Walking Load. Int. J. Struct. Stab. Dyn. 2019, 3, 1950029. [Google Scholar] [CrossRef]
- Ding, G.; Chen, J. Influences of walking load randomness on vibration responses of long-span floors. J. Vib. Eng. 2016, 29, 123–131. [Google Scholar]
- Wei, X.; Liu, J.; Bi, S. Uncertainty quantification and propagation of crowd behavior effects on pedestrian-induced vibrations of footbridges. Mech. Syst. Signal Proc. 2022, 167, 108557. [Google Scholar] [CrossRef]
- Yao, S.; Wright, J.R.; Pavic, A.; Reynolds, P. Experimental study of human-induced dynamic forces due to bouncing on a perceptibly moving structure. Can. J. Civ. Eng. 2004, 31, 1109–1118. [Google Scholar] [CrossRef]
- Yao, S.; Wright, J.; Pavic, A.; Reynolds, P. Experimental study of human-induced dynamic forces due to jumping on a perceptibly moving structure. J. Sound Vib. 2006, 296, 150–165. [Google Scholar] [CrossRef]
- Dang, H.V.; Zivanovic, S. Influence of low−frequency vertical vibration on walking locomotion. J. Struct. Eng. 2016, 142, 04016120. [Google Scholar] [CrossRef]
- Ahmadi, E.; Caprani, C.; Živanović, S.; Evans, N.; Heidarpour, A. A framework for quantification of human-structure interaction in vertical direction. J. Sound Vib. 2018, 432, 351–372. [Google Scholar] [CrossRef]
- Fujino, Y.; Pacheco, B.M.; Nakamura, S.-I.; Warnitchai, P. Synchronization of human walking observed during lateral vibration of a congested pedestrian bridge. Earthq. Eng. Struct. Dyn. 1993, 22, 741–758. [Google Scholar] [CrossRef]
- Strogatz, S.H.; Abrams, D.M.; McRobie, A.; Eckhardt, B.; Ott, E. Theoretical mechanics: Crowd synchrony on the Millennium Bridge. Nature 2005, 438, 43–44. [Google Scholar] [CrossRef]
- Zhang, M.; Georgakis, C.T.; Chen, J. Biomechanically Excited SMD Model of a Walking Pedestrian. J. Bridg. Eng. 2016, 21, C4016003. [Google Scholar] [CrossRef]
- Van Nimmen, K.; Lombaert, G.; De Roeck, G.; Van den Broeck, P. The impact of vertical human-structure interaction on the response of foot-bridges to pedestrian excitation. J. Sound Vib. 2017, 402, 104–121. [Google Scholar] [CrossRef]
- Shahabpoor, E.; Pavic, A.; Racic, V. Structural vibration serviceability: New design framework featuring human-structure in-teraction. Eng. Struct. 2017, 136, 295–311. [Google Scholar] [CrossRef]
- Ellis, B.R.; Ji, T. Human-structure interaction in vertical vibrations. In Proceedings of the Institution of Civil Engineers-Structures and Buildings; ICE Publishing: London, UK, 1997; Volume 122, pp. 1–9. [Google Scholar]
- Falati, S. The Contribution of Non-Structural Components to the Overall Dynamic Behaviour of Concrete Floor Slabs. Ph.D. Thesis, University of Oxford, Oxford, UK, 1999. [Google Scholar]
- Salyards, K.A.; Noss, N.C. Experimental evaluation of the influence of human-structure interaction for vibration serviceability. J. Perform. Const. Facil. 2013, 28, 458–465. [Google Scholar] [CrossRef]
- Jones, C.; Reynolds, P.; Pavic, A. Vibration serviceability of stadia structures subjected to dynamic crowd loads: A literature review. J. Sound Vib. 2011, 330, 1531–1566. [Google Scholar] [CrossRef]
- Zivanovic, S.; Diaz, I.; Pavic, A. Influence of Walking and Standing Crowds on Structural Dynamic Properties. In Proceedings of the IMAC-XXVII, Orlando, FL, USA, 9–12 February 2009. [Google Scholar]
- Duarte, E.; Ji, T. Action of Individual Bouncing on Structures. J. Struct. Eng. 2009, 135, 818–827. [Google Scholar] [CrossRef]
- Setareh, M. Vibration Studies of a Cantilevered Structure Subjected to Human Activities Using a Remote Monitoring System. J. Perform. Constr. Facil. 2011, 25, 87–97. [Google Scholar] [CrossRef]
- Folz, B.; Foschi, R.O. Coupled Vibrational Response of Floor Systems with Occupants. J. Eng. Mech. 1991, 117, 872–892. [Google Scholar] [CrossRef]
- Maca, J.; Valasek, M. Interaction of human gait and footbridges. In Proceedings of the 8th International Conference on Structural Dynamics: EURODYN 2011, Leuven, Belgium, 4–6 July 2011. [Google Scholar]
- Qin, J.W.; Law, S.S.; Yang, Q.S.; Yang, N. Pedestrian-bridge dynamic interaction, including human participation. J. Sound Vib. 2013, 332, 1107–1124. [Google Scholar] [CrossRef]
- Foschi, R.O.; Gupta, A. Reliability of floors under impact vibration. Can. J. Civ. Eng. 1987, 14, 683–689. [Google Scholar] [CrossRef]
- EN 1990; Basis of Sturctural Design. Annex A2: Application for Bridges(Normative). BSI: London, UK, 2005.
- ISO 7962; Mechanical Vibration and Shock–Mechanical Transmissibility of the Human Body in the Z Direction. International Organization for Standardization: Geneva, Switzerland, 1987.
- Brownjohn, J.M.W. Energy dissipation in one-way slabs with human participation. In Proceedings of the Asia-Pacific Vibration Conference, Singapore, 13–15 December 1999. [Google Scholar]
- Wei, L.; Griffin, M. Mathematical models for the apparent mass of the seated human body exposed to vertical vibration. J. Sound Vib. 1998, 212, 855–874. [Google Scholar] [CrossRef]
- Matsumoto, Y.; Griffin, M. Mathematical models for the apparent masses of standing subjects exposed to vertical whole-body vibration. J. Sound Vib. 2003, 260, 431–451. [Google Scholar] [CrossRef]
- Van Nimmen, K.; Maes, K.; Živanović, S.; Lombaert, G.; De Roeck, G.; Van den Broeck, P. Identification and Modelling of Vertical Human-Structure Interaction. In Dynamics of Civil Structures; Caicedo, J., Pakzad, S., Eds.; Springer International Publishing: Cham, Switzerland, 2015; Volume 2, pp. 319–330. [Google Scholar]
- Lou, J.; Zhang, M.; Chen, J. Identification of Stiffness, Damping and Biological Force of SMD Model for Human Walking. In Dynamics of Civil Structures; Caicedo, J., Pakzad, S., Eds.; Springer International Publishing: Cham, Switzerland, 2015; Volume 2, pp. 331–337. [Google Scholar]
- Wang, H.; Chen, J.; Brownjohn, J.M. Parameter identification of pedestrian’s spring-mass-damper model by ground reaction force records through a particle filter approach. J. Sound Vib. 2017, 411, 409–421. [Google Scholar] [CrossRef]
- Wang, H.; Chen, J.; Nagayama, T. Parameter identification of spring-mass-damper model for bouncing people. J. Sound Vib. 2019, 456, 13–29. [Google Scholar] [CrossRef]
- Sachse, R.; Pavic, A.; Reynolds, P. Parametric study of modal properties of damped two-degree-of-freedom crowd-structure dy-namic systems. J. Sound Vib. 2004, 274, 461–480. [Google Scholar] [CrossRef]
- Shahabpoor, E.; Pavic, A.; Racic, V. Sensitivity analysis of coupled crowd-structure system dynamics to walking crowd properties. In Proceedings of the 5th International Conference on Structural Engineering, Mechanics and Computation, Cape Town, South Africa, 2–4 September 2013. [Google Scholar]
- Xiong, J.; Chen, J. Random field model for crowd jumping loads. Struct. Saf. 2019, 76, 197–209. [Google Scholar] [CrossRef]
- Bassoli, E.; Van Nimmen, K.; Vincenzi, L.; Broeck, P.V.D. A spectral load model for pedestrian excitation including vertical human-structure interaction. Eng. Struct. 2018, 156, 537–547. [Google Scholar] [CrossRef]
- Toso, M.A.; Gomes, H.M. A coupled biodynamic model for crowd-footbridge interaction. Eng. Struct. 2018, 177, 47–60. [Google Scholar] [CrossRef]
- Gao, Y.A.; Yang, Q.S. A Theoretical Treatment of Crowd-Structure Interaction. Int. J. Struct. Stab. Dyn. 2018, 18, 8–13. [Google Scholar] [CrossRef]
- Eriksson, P.E. Vibration of Low-Frequency Floors: Dynamic Forces and Response Prediction. Ph.D. Thesis, Chalmers University of Technology, Göteborg, Sweden, 1994. [Google Scholar]
- Mourning, S.E.; Ellingwood, B.R. Guidelines to Minimize Floor Vibrations from Building Occupants. J. Struct. Eng. 1994, 120, 507–526. [Google Scholar] [CrossRef]
- Krenk, S. Dynamic Response to Pedestrian Loads with Statistical Frequency Distribution. J. Eng. Mech. 2012, 138, 1275–1281. [Google Scholar] [CrossRef]
- Piccardo, G.; Tubino, F. Equivalent spectral model and maximum dynamic response for the serviceability analysis of footbridges. Eng. Struct. 2012, 40, 445–456. [Google Scholar] [CrossRef]
- Ferrarotti, A.; Tubino, F. Generalized Equivalent Spectral Model for Serviceability Analysis of Footbridges. J. Bridg. Eng. 2016, 21, 04016091. [Google Scholar] [CrossRef]
- Li, Q.; Fan, J.; Nie, J.; Li, Q.; Chen, Y. Crowd-induced random vibration of footbridge and vibration control using multiple tuned mass dampers. J. Sound Vib. 2010, 329, 4068–4092. [Google Scholar] [CrossRef]
- Cuevas, R.G.; Jiménez-Alonso, J.F.; Martínez, F.; Díaz, I.M. Uncertainty-based approaches for the lateral vibration serviceability assessment of slender footbridges. Structures 2021, 33, 3475–3485. [Google Scholar] [CrossRef]
- Piccardo, G.; Tubino, F. Simplified procedures for vibration serviceability analysis of footbridges subjected to realistic walking loads. Comput. Struct. 2009, 87, 890–903. [Google Scholar] [CrossRef]
- Xiong, J.; Chen, J. Power Spectral Density Function for Individual Jumping Load. Int. J. Struct. Stab. Dyn. 2018, 18, 1850023. [Google Scholar] [CrossRef]
- Chen, J.; Tan, H.; Van Nimmen, K.; Broeck, P.V.D. Data-Driven Synchronization Analysis of a Bouncing Crowd. Shock Vib. 2019, 2019, 1–23. [Google Scholar] [CrossRef]
- Chen, J.; Wang, J.; Brownjohn, J.M.W. Power Spectral-Density Model for Pedestrian Walking Load. J. Struct. Eng. 2019, 145, 4018239. [Google Scholar] [CrossRef]
- Wang, J.; Chen, J.; Yokoyama, Y.; Xiong, J. Spectral Model for Crowd Walking Load. J. Struct. Eng. 2020, 146, 4019220. [Google Scholar] [CrossRef]
- Shinozuka, M. Monte Carlo solution of structural dynamics. Comput. Struct. 1972, 2, 855–874. [Google Scholar] [CrossRef]
- Au, S.K.; Beck, J.L. Estimation of small failure probabilities in high dimensions by subset simulation. Probab. Eng. Mech. 2001, 16, 263–277. [Google Scholar] [CrossRef]
- Li, J.; Chen, J. Stochastic Dynamics of Structures; John Wiley & Sons: Hoboken, NJ, USA, 2009. [Google Scholar]
- Ghanem, R.; Spanos, P.D. Polynomial Chaos in Stochastic Finite Elements. J. Appl. Mech. 1990, 57, 197–202. [Google Scholar] [CrossRef]
- Chung, D.B.; Gutiérrez, M.A.; Graham-Brady, L.L.; Lingen, F.J. Efficient numerical strategies for spectral stochastic finite el-ement models. Int. J. Numer. Methods Eng. 2005, 64, 1334–1349. [Google Scholar] [CrossRef]
- Venuti, F.; Racic, V.; Corbetta, A. Modelling framework for dynamic interaction between multiple pedestrians and vertical vi-brations of footbridges. J. Sound Vib. 2016, 379, 245–263. [Google Scholar] [CrossRef]
- Tubino, F. Probabilistic assessment of the dynamic interaction between multiple pedestrians and vertical vibrations of foot-bridges. J. Sound Vib. 2018, 417, 80–96. [Google Scholar] [CrossRef]
- Chen, J.; Li, J. The probability density evolution method for dynamic reliability assessment of nonlinear stochastic structures. Acta Mech. Sini. 2004, 2, 196–201. [Google Scholar]
- Li, J.; Chen, J. The principle of preservation of probability and the generalized density evolution equation. Struct. Saf. 2008, 30, 65–77. [Google Scholar] [CrossRef]
- Li, J.; Chen, J.; Sun, W.; Peng, Y. Advances of the probability density evolution method for nonlinear stochastic systems. Probab. Eng. Mech. 2012, 28, 132–142. [Google Scholar] [CrossRef]
- Li, J.; Chen, J.-B. The Number Theoretical Method in Response Analysis of Nonlinear Stochastic Structures. Comput. Mech. 2007, 39, 693–708. [Google Scholar] [CrossRef]
- Li, J.; Chen, J.-B. The dimension-reduction strategy via mapping for probability density evolution analysis of nonlinear stochastic systems. Probab. Eng. Mech. 2006, 21, 442–453. [Google Scholar] [CrossRef]
- Xu, J.; Chen, J.; Li, J. Probability density evolution analysis of engineering structures via cubature points. Comput. Mech. 2012, 50, 135–156. [Google Scholar] [CrossRef]
- Chen, J.; Yang, J.; Li, J. A GF-discrepancy for point selection in stochastic seismic response analysis of structures with uncertain parameters. Struct. Saf. 2016, 59, 20–31. [Google Scholar] [CrossRef]
- Chen, J.; Song, P. A generalized L2-discrepancy for cubature and uncertainty quantification of nonlinear structures. Sci. China Technol. Sci. 2016, 59, 941–952. [Google Scholar] [CrossRef]
- Fan, W.; Chen, J.; Li, J. Solution of generalized density evolution equation via a family of δ sequences. Comput. Mech. 2008, 43, 781–796. [Google Scholar] [CrossRef]
- Papadopoulos, V.; Kalogeris, I. A Galerkin-based formulation of the probability density evolution method for general stochastic finite element systems. Comput. Mech. 2016, 57, 701–716. [Google Scholar] [CrossRef]
- Jia, Y.; Law, S.S.; Yang, N. Response and reliability analysis of a high-dimensional stochastic system. Probab. Eng. Mech. 2020, 61, 103077. [Google Scholar] [CrossRef]
- Zeng, D.; Wang, H.; Chen, J. Dynamic reliability analysis of large-span structures under crowd bouncing excitation. Buildings 2022, 12, 332. [Google Scholar] [CrossRef]
- Reiher, H.; Meister, F. The Effect of Vibration on People. Forsch. Aufdem Geb. Des Geniture-Sens 1931, 2, 381–386. [Google Scholar]
- Cal, L. Vibration Criteria Research Based on Online Big Data and Machine Learning. Ph.D. Thesis, Tongji University, Shanghai, China, 2021. [Google Scholar]
- HiVoSS. Human induced Vibrations of Steel Structures—Vibration Design of Floors: Guideline; RFCS: München, Germany, 2008; p. 42. [Google Scholar]
- HiVoSS. Human induced Vibrations of Steel Structures—Vibration Design of Footbridges: Guideline; RFCS: München, Germany, 2008; p. 31. [Google Scholar]
- RFS2-CT-2007-00033; Human Induced Vibrations of Steel Structures-Design of Footbridges Guideline. RFCS: München, Germany, 2008.
- Sétra. Technical Guide Footbridges: Assessment of Vibrational Behaviour of Footbridges under Pedestrian Loading; Sétra/AFGC: Paris, France, 2006. [Google Scholar]
- ISO 2631; Mechanical Vibration and Shock—Evaluation of Human Exposure to Whole-Body Vibration—Part 1: General Re-quirements. International Organization for Standardization: Geneva, Switzerland, 1997.
- ISO 2631-2; Mechanical Vibration and Shock—Evaluation of Human Exposure to Whole-Body Vibration—Part 2: Vibration in Buildings (1 Hz to 80 Hz). International Organization for Standardization: Geneva, Switzerland, 2003.
- ISO 10137; Bases for Design of Structures—Serviceability of Buildings and Walkways against Vibrations. ISO: Geneva, Switzerland, 2007.
- BS 6841-1987; Measurement and Evaluation of Human Exposure to Whole-Body Mechanical Vibration and Repeated Shock. BSI: London, UK, 1987.
- Song, Z. A New Annoyance-Based Vibration Comfort Design Theory on Engineering Structures. Ph.D. Thesis, Zhejiang University, Hangzhou, China, 2003. [Google Scholar]
- Lievens, K.; Lombaert, G.; De Roeck, G.; Broeck, P.V.D. Robust design of a TMD for the vibration serviceability of a footbridge. Eng. Struct. 2016, 123, 408–418. [Google Scholar] [CrossRef]
- Hudson, M.; Reynolds, P. Implementation considerations for active vibration control in the design of floor structures. Eng. Struct. 2012, 44, 334–358. [Google Scholar] [CrossRef]
- Symans, M.D.; Constantinou, M.C. Semi-active control systems for seismic protection of structures: A state-of-the-art review. Eng. Struct. 1999, 21, 469–487. [Google Scholar] [CrossRef]
- Elias, S.; Matsagar, V. Research developments in vibration control of structures using passive tuned mass dampers. Annu. Rev. Control 2017, 44, 129–156. [Google Scholar] [CrossRef]
- Rayegani, A.; Nouri, G. Application of Smart Dampers for Prevention of Seismic Pounding in Isolated Structures Subjected to Near-fault Earthquakes. J. Earthq. Eng. 2022, 26, 4069–4084. [Google Scholar] [CrossRef]
- Rayegani, A.; Nouri, G. Seismic collapse probability and life cycle cost assessment of isolated structures subjected to pounding with smart hybrid isolation system using a modified fuzzy based controller. Structures 2022, 44, 30–41. [Google Scholar] [CrossRef]
- Chen, Z.; Chen, Z.; Li, G. Dynamic Response Analysis and Vibration Reduction of Steel Truss Corridor Pedestrian Bridge Under Pedestrian Load. Front. Mater. 2022, 9, 839265. [Google Scholar] [CrossRef]
- Wang, L.; Shi, W.; Zhang, Q.; Zhou, Y. Study on adaptive-passive multiple tuned mass damper with variable mass for a large-span floor structure. Eng. Struct. 2020, 209, 110010. [Google Scholar] [CrossRef]
- Setareh, M.; Hanson, R. Tuned Mass Dampers to Control Floor Vibration from Humans. J. Struct. Eng. 1992, 118, 741–762. [Google Scholar] [CrossRef]
- Huang, H.; Wang, C.; Chang, W. Reducing human-induced vibration of cross-laminated timber floor-Application of multi-tuned mass damper system. Struct. Control Health Monit. 2021, 28, e2656. [Google Scholar] [CrossRef]
- Wang, C.; Shi, W. Optimal Design and Application of a Multiple Tuned Mass Damper System for an In-Service Footbridge. Sustainability 2019, 11, 2801. [Google Scholar] [CrossRef]
- Zhang, Z.; Guo, T.; Yang, K.; Ma, F.; Li, A. Simulation and measurement of human-induced vibrations of the Beijing Olympic watchtower with tuned mass dampers. J. Perform. Constr. Facil. 2017, 31, 04017095. [Google Scholar]
- Chen, X.; Ding, Y.; Li, A.; Zhang, Z.; Sun, P. Investigations on serviceability control of long-span structures under human-induced excitation. Earthq. Eng. Eng. Vib. 2012, 11, 57–71. [Google Scholar]
- Chakraborty, S.; Roy, B.K. Reliability based optimum design of Tuned Mass Damper in seismic vibration control of structures with bounded uncertain parameters. Probab. Eng. Mech. 2011, 26, 215–221. [Google Scholar] [CrossRef]
- Gomez, F.; Spencer, B.F.; Carrion, J. Simultaneous optimization of topology and supplemental damping distribution for buildings subjected to stochastic excitation. In Structural Control & Health Monitoring; John Wiley & Sons Ltd.: Chichester, UK, 2021; Volume 28, p. e2737. [Google Scholar]
- Dai, J.; Xu, Z.-D.; Xu, W.-P.; Yan, X.; Chen, Z.-Q. Multiple tuned mass damper control of vortex-induced vibration in bridges based on failure probability. Structures 2022, 43, 1807–1818. [Google Scholar] [CrossRef]
- Chen, J.; Zeng, X.; Peng, Y. Probabilistic analysis of wind-induced vibration mitigation of structures by fluid viscous dampers. J. Sound Vib. 2017, 409, 287–305. [Google Scholar]
- Chen, J.; Xu, R.; Zhang, M. Acceleration response spectrum for predicting floor vibration due to occupant walking. J. Sound Vib. 2014, 333, 3564–3579. [Google Scholar]
- Chen, J.; Wang, L.; Racic, V.; Lou, J. Acceleration response spectrum for prediction of structural vibration due to individual bouncing. Mech. Syst. Signal Proc. 2016, 76–77, 394–408. [Google Scholar]
- Chen, J.; Ren, J.; Racic, V. Prediction of floor responses to crowd bouncing loads by response reduction factor and spectrum method. Adv. Struct. Eng. 2021, 24, 1427–1438. [Google Scholar]
- Wang, H.; Zhang, Z.; Chen, J. Statistical analysis and its validation of the change in structural dynamic properties under crowd bouncing excitation. Int. J. Struct. Stab. Dyn. 2022, 22, 2250160. [Google Scholar]
- Wei, X.; Fu, B.; Wu, W.; Liu, X. Effects of vertical ground motion on pedestrian-induced vibrations of footbridges: Numerical analysis and machine learning-based prediction. Buildings 2022, 12, 2138. [Google Scholar]








| Harmonic | DLF | |
|---|---|---|
| Mean Value μDLF | Standard Deviation σDLF | |
| 1 | −0.26 fp3 + 1.32 fp2 – 1.76 fp + 0.76 | 0.16μDLF |
| 2 | 0.07 | 0.03 |
| 3 | 0.05 | 0.02 |
| 4 | 0.05 | 0.02 |
| 5 | 0.03 | 0.015 |
| Application Situation | Maximum Acceleration (m/s2) |
|---|---|
| Vertical vibration | 0.7 |
| Horizontal vibration produced by normal use | 0.2 |
| Abnormal congestion state | 0.4 |
| Strict Region | Nurse | Education | Resident | Working | Conference | |
|---|---|---|---|---|---|---|
| Acceptable | 0.1 | 0.8 | 0.8 | 3.2 | 3.2 | 3.2 |
| Unacceptable | >0.2 | >3.2 | >3.2 | >12.8 | >12.8 | >12.8 |
| Shop | Hotel | Prison | Factory | Sport | ||
| Acceptability | 3.2 | 3.2 | 3.2 | 12.8 | 12.8 | |
| Unacceptability | >12.8 | >12.8 | >12.8 | >51.2 | >51.2 |
| Comfort Level | Sense of Comfort | Vertical | Lateral |
|---|---|---|---|
| CL1 | Best | <0.5 | <0.1 |
| CL2 | Intermediate | 0.5–1.0 | 0.1–0.3 |
| CL3 | Poor | 1.0–2.5 | 0.3–0.8 |
| CL4 | Intolerable | >2.5 | >0.8 |
Disclaimer/Publisher’s Note: The statements, opinions and data contained in all publications are solely those of the individual author(s) and contributor(s) and not of MDPI and/or the editor(s). MDPI and/or the editor(s) disclaim responsibility for any injury to people or property resulting from any ideas, methods, instructions or products referred to in the content. |
© 2023 by the authors. Licensee MDPI, Basel, Switzerland. This article is an open access article distributed under the terms and conditions of the Creative Commons Attribution (CC BY) license (https://creativecommons.org/licenses/by/4.0/).
Share and Cite
Wang, H.; Ge, Q.; Zeng, D.; Zhang, Z.; Chen, J. Human-Induced Vibration Serviceability: From Dynamic Load Measurement towards the Performance-Based Structural Design. Buildings 2023, 13, 1977. https://doi.org/10.3390/buildings13081977
Wang H, Ge Q, Zeng D, Zhang Z, Chen J. Human-Induced Vibration Serviceability: From Dynamic Load Measurement towards the Performance-Based Structural Design. Buildings. 2023; 13(8):1977. https://doi.org/10.3390/buildings13081977
Chicago/Turabian StyleWang, Haoqi, Qian Ge, Dongjun Zeng, Zhuoran Zhang, and Jun Chen. 2023. "Human-Induced Vibration Serviceability: From Dynamic Load Measurement towards the Performance-Based Structural Design" Buildings 13, no. 8: 1977. https://doi.org/10.3390/buildings13081977
APA StyleWang, H., Ge, Q., Zeng, D., Zhang, Z., & Chen, J. (2023). Human-Induced Vibration Serviceability: From Dynamic Load Measurement towards the Performance-Based Structural Design. Buildings, 13(8), 1977. https://doi.org/10.3390/buildings13081977

