Finite Modeling and Simulation of the Effects of Neutral Electrolytic Pickling Process Parameters on EN 1.4404 Steel Strips
Abstract
1. Introduction
2. Materials and Methods
3. Results and Discussion
3.1. Physicochemical Properties of the Electrolyte
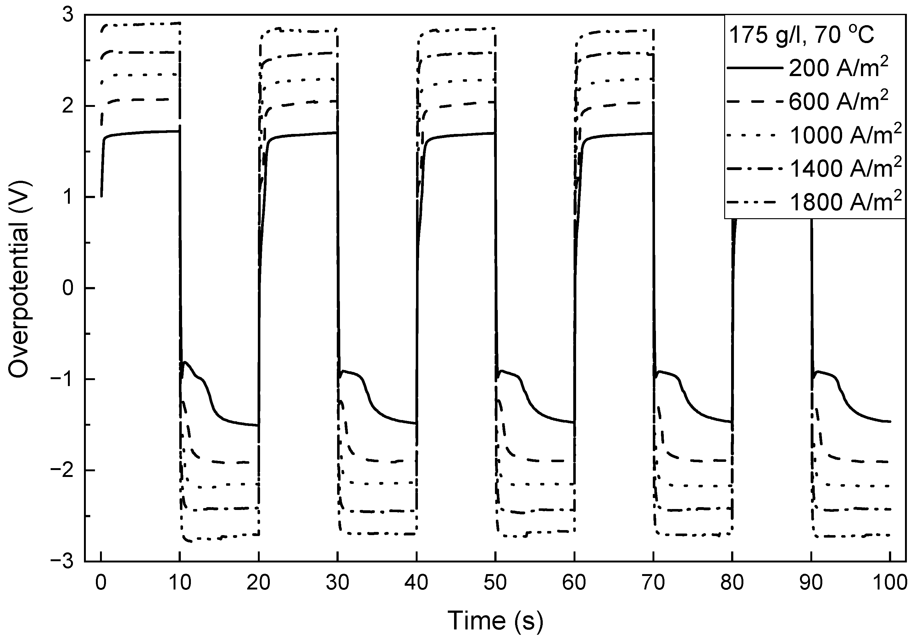
3.2. Polarization of the Electrodes and the Steel Strip
3.3. Multiphysics Modeling
3.4. Effect of the Electrolyte, External Potential, and Geometry
3.5. Transient Time
4. Conclusions
Author Contributions
Funding
Data Availability Statement
Acknowledgments
Conflicts of Interest
References
- Li, L.-F.; Celis, J.-P. Pickling of austenitic stainless steels (a review). Can. Metall. Q. 2003, 42, 365–376. [Google Scholar] [CrossRef]
- Cheng, X.; Jiang, Z.; Wei, D.; Zhao, J.; Monaghan, B.J.; Longbottom, R.J.; Jiang, L. Characteristics of oxide scale formed on ferritic stainless steels in simulated reheating atmosphere. Surf. Coat. Technol. 2014, 258, 257–267. [Google Scholar] [CrossRef]
- Wilson, P.R.; Chen, Z. The effect of manganese and chromium on surface oxidation products formed during batch annealing of low carbon steel strip. Corros. Sci. 2007, 49, 1305–1320. [Google Scholar] [CrossRef]
- Cheng, X.; Jiang, Z.; Wei, D.; Hao, L.; Zhao, J.; Jiang, L. Oxide scale characterization of ferritic stainless steel and its deformation and friction in hot rolling. Tribol. Int. 2015, 84, 61–70. [Google Scholar] [CrossRef]
- Evans, H.E.; Donaldson, A.T.; Gilmour, T.C. Mechanisms of Breakaway Oxidation and Application to a Chromia-Forming Steel. Oxid. Met. 1999, 52, 379–402. [Google Scholar] [CrossRef]
- Hildén, J.; Virtanen, J.; Forsén, O.; Aromaa, J. Electrolytic pickling of stainless steel studied by electrochemical polarisation and DC resistance measurements combined with surface analysis. Electrochim. Acta 2001, 46, 3859–3866. [Google Scholar] [CrossRef]
- Covino, B.S.; Scalera, J.V.; Fabis, P.M. Pickling of Stainless Steels—A Review; Bureau of Mines: Avondale, KD, USA, 1984. [Google Scholar]
- Henriet, D. Surface Treatments for Stainless Steel State of the Art-Developments and Trends: Contract No. 7210-ZZ/604 1 July 1993 to 15 November 1995; Final Report; Office for Official Publications of the European Communities: Luxembourg, 1996. [Google Scholar]
- Li, L.-F.; Caenen, P.; Jiang, M.-F. Electrolytic pickling of the oxide layer on hot-rolled 304 stainless steel in sodium sulphate. Corros. Sci. 2008, 50, 2824–2830. [Google Scholar] [CrossRef]
- McCullough, H.; Fontana, M.; Beck, F. Formation of oxides on some stainless steels at high temperatures. Trans. Am. Soc. Met. 1951, 43, 404–425. [Google Scholar]
- Ozturk, B.; Matway, R. Oxidation of type 304 stainless steels under simulated annealing conditions. ISIJ Int. 1997, 37, 169–175. [Google Scholar] [CrossRef]
- Yearian, H.; Randell, E.; Longo, T. The structure of oxide scales on chromium steels. Corrosion 1956, 12, 55–65. [Google Scholar] [CrossRef]
- Fabis, P.; Heidersbach, R.; Brown, C.; Rockett, T. Oxide scale formation on iron-chromium alloys in elevated temperature air environments. Corrosion 1981, 37, 700–711. [Google Scholar] [CrossRef]
- Liu, S.; Tang, D.; Wu, H.; Wang, L. Oxide scales characterization of micro-alloyed steel at high temperature. J. Mater. Process. Technol. 2013, 213, 1068–1075. [Google Scholar] [CrossRef]
- Meier, G.; Coons, W.; Perkins, R. Corrosion of iron-, nickel-, and cobalt-base alloys in atmospheres containing carbon and oxygen. Oxid. Met. 1982, 17, 235–262. [Google Scholar] [CrossRef]
- Uhlig, H.H. Effect of metal composition and structure on corrosion and oxidation. Corrosion 1963, 19, 231t–237t. [Google Scholar] [CrossRef]
- Ogushi, T. Influences of Annealing Atmosphere upon the Oxidation and Descaling Behavior of Stainless Steels. J. Met. Finish. Soc. Jpn. 1986, 37, 631–635. [Google Scholar] [CrossRef][Green Version]
- Matsuhashi, R.; Ito, S.; Nakata, M.; Oikawa, Y.; Ohmura, K. The Anodic Dissolution Behavior of Oxide Films Formed on Annealed Stainless Steels in Acidic Sulfate Solution. Zair. Kankyo 1993, 42, 576–584. [Google Scholar] [CrossRef][Green Version]
- Hildén, J.; Virtanen, J.; Ruoppa, R. Mechanism of electrolytic pickling of stainless steels in a neutral sodium sulphate solution. Mater. Corros. 2000, 51, 728–739. [Google Scholar] [CrossRef]
- Kiya, S.; Hayashi, Y.; Kojima, T.; Hyugaji, Y. Improvement of the descalability of annealed SUS304 steel by using the vertical type direct fired heating furnace. Tetsu Hagané 1995, 81, 1007–1012. [Google Scholar] [CrossRef][Green Version]
- Chattopadhyay, A.; Bandyopadhyay, N.; Das, A.; Panigrahi, M. Oxide scale characterization of hot rolled coils by Raman spectroscopy technique. Scr. Mater. 2005, 52, 211–215. [Google Scholar] [CrossRef]
- Zhang, M.; Shao, G. Characterization and properties of oxide scales on hot-rolled strips. Mater. Sci. Eng. A 2007, 452, 189–193. [Google Scholar] [CrossRef]
- Nead, J.H. Treating Chromium-Iron Alloys. U.S. Patent 1,508,567, 16 September 1924. [Google Scholar]
- Elder, F.C. Pickling Solution. U.S. Patent 1,837,118, 15 December 1931. [Google Scholar]
- Schermer, N.H. Pickling of Stainless Steel. U.S. Patent 1,824,932, 29 September 1931. [Google Scholar]
- Hahn, E.A. Steel Pickling Process. U.S. Patent 2,762,728, 11 September 1956. [Google Scholar]
- Braun, E. How to improve pickling of stainless steel strip. Iron Steel Eng. 1980, 57, 79–81. [Google Scholar]
- Fukui, S.; Yamamoto, M. Method of Electrolytically Descaling and Pickling Steel. U.S. Patent 3,429,792, 25 February 1969. [Google Scholar]
- Fukui, S.; Yamamoto, M.; Tao, K.; Hasegawa, S. Method of Electrolytically Descaling Steel Including Selective Recovery of Dissolved Scale Products. U.S. Patent 3,04,246, 14 February 1967. [Google Scholar]
- Machu, F. Process for Electrolytically Pickling Stainless Steels. U.S. Patent 3,043,758, 10 July 1962. [Google Scholar]
- Shapovalov, E.; Shlyamnev, A.; Ulyanin, E.; Nikitin, V.; Fisher, A.; Goldzon, D.; Popova, L.; Milovanov, I. Investigation of operating parameters of neutral electrochemical pickling bath. Steel USSR 1982, 12, 215–219. [Google Scholar]
- Tuovinen, T.; Vielma, T.; Lassi, U. Laboratory-scale simulation of industrial neutral electrolytic pickling as a bipolar system—Parameters affecting indirect polarization pickling of annealed stainless steel. Eng. Rep. 2020, 2, e12245. [Google Scholar] [CrossRef]
- Fortunati, S.; Demertzis, Y.; Trasatti, S.; Giordani, P.; Musso, A.; Mancia, F. Process for Electrolytic Pickling Using Nitric Acid-Free Solutions. U.S. Patent No. 6,565,735, 20 May 2003. [Google Scholar]
- Shapovalov, E.; Shlyamnev, A. Identification of Contactless Bipolar Pickling Mechanism of CrNi Steels in Neutral Sodium Sulphate Solution. In Proceedings of the International Conference 21st Century Steel Industry of Russia and CIS, Moscow, Russia, 6–10 June 1994; pp. 59–60. [Google Scholar]
- Ignat’ev, V.; Sergeeva, N.; Shluger, M. An Investigation of the Process of Removing Scale with the Anodic Polarization of Austenitic Steels. Stal 1987, 3, 84–87. [Google Scholar]
- Dunaevskii, V.; Stepanenko, V.; Shnol, M. Rate of Removal of Scale and Subscale Layer in Electrolytic Pickling of Stainless Steels in Na2SO4 Solution. Prot. Met.USSR 1985, 21, 359–363. [Google Scholar]
- Frisch, B.; Thiele, W.-R.; Scholtes, E. Neutral Salt Pickling of Scaled Steel Surfaces-Optimization and Mechanisms. Stahl Und Eisen 1990, 110, 63–70. [Google Scholar]
- Isono, T. Density, viscosity, and electrolytic conductivity of concentrated aqueous electrolyte solutions at several temperatures. Alkaline-Earth Chlorides, LaCI3, Na2SO4, NaNO3, NaBr, KNO3, KBr, and Cd(NO3)2. J. Chem. Eng. Data 1984, 29, 45–52. [Google Scholar] [CrossRef]
- Ipek, N.; Cornell, A.; Vynnycky, M. A mathematical model for the electrochemical pickling of steel. J. Electrochem. Soc. 2007, 154, P108. [Google Scholar] [CrossRef]
- Ipek, N.; Holm, B.; Pettersson, R.; Runnsjö, G.; Karlsson, M. Electrolytic pickling of duplex stainless steel. Mater. Corros. 2005, 56, 521–532. [Google Scholar] [CrossRef]













| Alloy Type | Oxide Scale | References |
|---|---|---|
| EN 1.4301, Cr (5.76–26.31%) steels | Cr2O3, α-Fe2O3, (Fe,Cr)3O4 | [7,8,9,10,11,12] |
| EN 1.4016, EN 1.4762, microalloyed steel, Incoloy 800 (Cr 19–23%, Ni 30–35%) | FeO, Fe2O3, Fe3O4 | [4,8,10,12,13,14,15,16] |
| EN 1.4301, EN 1.4016 | NiFe2O4, Fe3O4, (Fe,Cr)2O3 (with Fe2+, Fe3+ and Cr3+) | [2,17] |
| EN 1.4301, EN 1. 4016 | (Fe, Cr)2O3 (with Fe2+, Fe3+ and Cr3+) | [18] |
| Cr2O3 | [6,19,20] | |
| Carbon steel, interstitial-free steel | FeO, Fe2O3, Fe3O4, FeO(OH) | [21,22] |
| Model Parameter | Value | Model Variables | Values |
|---|---|---|---|
| Anode–cathode distance | 50 cm | Concentration of Na2SO4 | 150, 175 *, 200 g dm−3 |
| Length of anode and cathode | 1 m | Temperature | 60, 70 *, 80 °C |
| Width of electrodes and steel | 1 m | Steel–electrode distance | 10, 12.5, 15 cm |
| Thickness of the strip | 3 mm |
Disclaimer/Publisher’s Note: The statements, opinions and data contained in all publications are solely those of the individual author(s) and contributor(s) and not of MDPI and/or the editor(s). MDPI and/or the editor(s) disclaim responsibility for any injury to people or property resulting from any ideas, methods, instructions or products referred to in the content. |
© 2023 by the authors. Licensee MDPI, Basel, Switzerland. This article is an open access article distributed under the terms and conditions of the Creative Commons Attribution (CC BY) license (https://creativecommons.org/licenses/by/4.0/).
Share and Cite
Aji, A.T.; Aromaa, J.; Tuovinen, T.; Riekki, E.; Lundström, M. Finite Modeling and Simulation of the Effects of Neutral Electrolytic Pickling Process Parameters on EN 1.4404 Steel Strips. Metals 2023, 13, 2001. https://doi.org/10.3390/met13122001
Aji AT, Aromaa J, Tuovinen T, Riekki E, Lundström M. Finite Modeling and Simulation of the Effects of Neutral Electrolytic Pickling Process Parameters on EN 1.4404 Steel Strips. Metals. 2023; 13(12):2001. https://doi.org/10.3390/met13122001
Chicago/Turabian StyleAji, Arif Tirto, Jari Aromaa, Teemu Tuovinen, Elina Riekki, and Mari Lundström. 2023. "Finite Modeling and Simulation of the Effects of Neutral Electrolytic Pickling Process Parameters on EN 1.4404 Steel Strips" Metals 13, no. 12: 2001. https://doi.org/10.3390/met13122001
APA StyleAji, A. T., Aromaa, J., Tuovinen, T., Riekki, E., & Lundström, M. (2023). Finite Modeling and Simulation of the Effects of Neutral Electrolytic Pickling Process Parameters on EN 1.4404 Steel Strips. Metals, 13(12), 2001. https://doi.org/10.3390/met13122001

