Maintenance of the Metastable State and Induced Precipitation of Dissolved Neodymium (III) in an Na2CO3 Solution
Abstract
:1. Introduction
2. Experiment
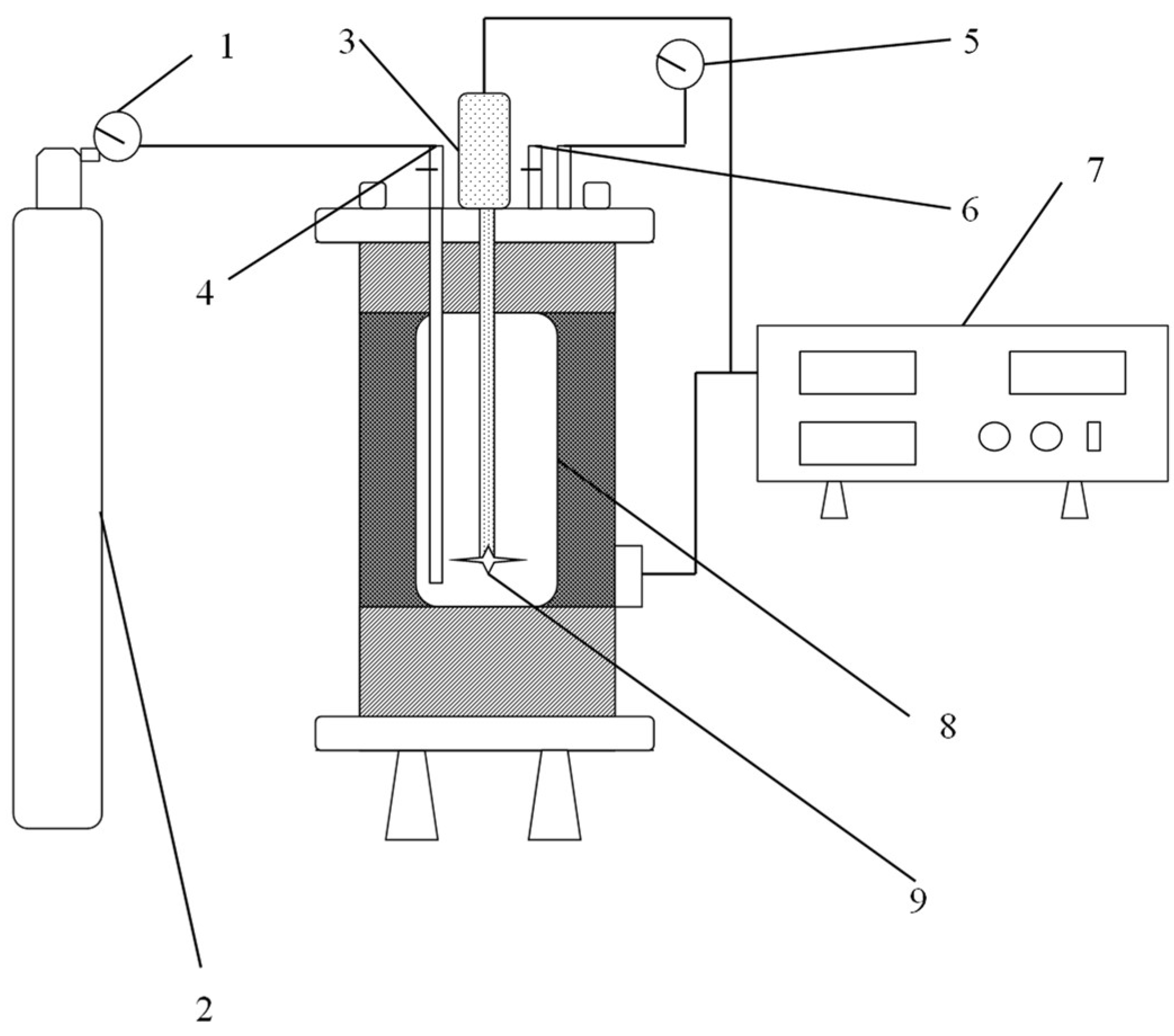
2.1. Raw Materials and Equipment
2.2. Maintenance and Mechanism of Metastable State of the Neodymium Dissolved in Na2CO3 Solution
2.2.1. Maintaining Metastable State by NaCl
2.2.2. Effect of NaCl on Neodymium Coordination and Solid Phase Precipitates
2.2.3. Mechanism of Maintaining the Metastable State by NaCl
2.3. Induced Precipitation of Neodymium Carbonates in Metastable State Solution
3. Results and Discussion
3.1. Maintenance and Mechanism of the Metastable State of Neodymium Dissolved in Na2CO3 Solution
3.1.1. Maintaining Metastable State by NaCl
3.1.2. Effect of NaCl on Neodymium Coordination and Solid Phase Precipitates
3.1.3. Mechanism of Maintaining the Metastable State by NaCl
3.2. Induced Precipitation of Neodymium Carbonates in Metastable State Solution
4. Conclusions
Author Contributions
Funding
Data Availability Statement
Acknowledgments
Conflicts of Interest
References
- Takagi, K.; Hirayama, Y.; Okada, S.; Yamaguchi, W.; Ozaki, K. Novel powder processing technologies for production of rare-earth permanent magnets. Sci. Technol. Adv. Mater. 2021, 22, 150–159. [Google Scholar] [CrossRef] [PubMed]
- Prokofev, P.A.; Kolchugina, N.B.; Skotnicova, K.; Burkhanov, G.S.; Kursa, M.; Zheleznyi, M.V.; Dormidontov, N.A.; Cegan, T.; Bakulina, A.S.; Koshkidko, Y.S.; et al. Blending Powder Process for Recycling Sintered Nd-Fe-B Magnets. Materials 2020, 13, 3049. [Google Scholar] [CrossRef] [PubMed]
- Nelson, J.J.M.; Schelter, E.J. Sustainable Inorganic Chemistry: Metal Separations for Recycling. Inorg. Chem. 2019, 58, 979–990. [Google Scholar] [CrossRef] [PubMed]
- Lixandru, A.; Venkatesan, P.; Jönsson, C.; Poenaru, I.; Hall, B.; Yang, Y.; Walton, A.; Güth, K.; Gauß, R.; Gutfleisch, O. Identification and recovery of rare-earth permanent magnets from waste electrical and electronic equipment. Waste Manag. 2017, 68, 482–489. [Google Scholar] [CrossRef] [PubMed]
- Kuz’Min, M.D.; Skokov, K.; Jian, H.; Radulov, I.; Gutfleisch, O. Towards high-performance permanent magnets without rare earths. J. Phys. Condens. Matter 2014, 26, 64205. [Google Scholar] [CrossRef] [PubMed]
- Bingqian, W. Rare Earth Metallurgy; Central South University of Technology Press: Changsha, China, 1997. [Google Scholar]
- Firsching, F.H.; Mohammadzadei, J. Solubility products of the rare-earth carbonates. J. Chem. Eng. Data 1986, 31, 40–42. [Google Scholar] [CrossRef]
- Taketatsu, T. The solubilities and anion-exchange behavior of rare earth elements in potassium carbonate solutions. Anal. Chim. Acta 1965, 32, 40–45. [Google Scholar] [CrossRef]
- Taketatsu, T. The Dissolution and Anion Exchange Behavior of Rare Earth and Other Metallic Elements in Potassium Bicar-bonate, Potassium Carbonate and Ammonium Carbonate Solutions. Bull. Chem. Soc. Jpn. 1963, 36, 549–553. [Google Scholar] [CrossRef] [Green Version]
- de Vasconcellos, M.E.; da Rocha, S.; Pedreira, W.; Queiroz, C.A.D.S.; Abrão, A. Solubility behavior of rare earths with ammonium carbonate and ammonium carbonate plus ammonium hydroxide: Precipitation of their peroxicarbonates. J. Alloy. Compd. 2008, 451, 426–428. [Google Scholar] [CrossRef]
- Rao, L.; Rai, D.; Felmy, A.R.; Novak, C.F. Solubility of NaNd(CO3) 6H2O (c) in Mixed Electrolyte (Na-Cl-CO3-HCO3) and Synthetic Brine Solutions. In Actinide Speciation in High Ionic Strength Media; Springer: Berlin/Heidelberg, Germany, 1999; pp. 153–169. [Google Scholar]
- Tang, J.; Johannesson, K.H. Rare earth elements adsorption onto Carrizo sand: Influence of strong solution complexation. Chem. Geol. 2010, 279, 120–133. [Google Scholar] [CrossRef]
- Thakur, P.; Xiong, Y.; Borkowski, M. An improved thermodynamic model for the complexation of trivalent actinides and lanthanide with oxalic acid valid to high ionic strength. Chem. Geol. 2015, 413, 7–17. [Google Scholar] [CrossRef] [Green Version]
- Jing, Y.; Chen, J.; Chen, L.; Su, W.; Liu, Y.; Li, D. Extraction Behaviors of Heavy Rare Earths with Organophosphoric Extractants: The Contribution of Extractant Dimer Dissociation, Acid Ionization, and Complexation. A Quantum Chemistry Study. J. Phys. Chem. A 2017, 121, 2531–2543. [Google Scholar] [CrossRef] [PubMed]
- Pavón, S.; Fortuny, A.; Coll, M.; Sastre, A.M. Rare earths separation from fluorescent lamp wastes using ionic liquids as extractant agents. Waste Manag. 2018, 82, 241–248. [Google Scholar] [CrossRef] [PubMed]
- Qiu, L.; Pan, Y.; Zhang, W.; Gong, A. Application of a functionalized ionic liquid extractant tributylmethylammonium dibutyldiglycolamate ([A336][BDGA]) in light rare earth extraction and separation. PLoS ONE 2018, 13, e0201405. [Google Scholar] [CrossRef]
- Sun, P.; Huang, K.; Liu, H. The nature of salt effect in enhancing the extraction of rare earths by non-functional ionic liquids: Synergism of salt anion complexation and Hofmeister bias. J. Colloid Interface Sci. 2019, 539, 214–222. [Google Scholar] [CrossRef]
- Li, C.; Zhuang, Z.; Huang, F.; Wu, Z.; Hong, Y.; Lin, Z. Recycling Rare Earth Elements from Industrial Wastewater with Flowerlike Nano-Mg(OH)2. ACS Appl. Mater. Interfaces 2013, 5, 9719–9725. [Google Scholar] [CrossRef] [PubMed]
- Yang, Y.; Zhang, X.; Li, L.; Wei, T.; Li, K. Metastable Dissolution Regularity of Nd3+ in Na2CO3 Solution and Mechanism. ACS Omega 2019, 4, 9160–9168. [Google Scholar] [CrossRef]
- Fannin, C.; Edwards, R.; Pearce, J.; Kelly, E. A Study on the Effects of Drying Conditions on the Stability of NaNd (CO3)2·6H2O and NaEu (CO3)2·6H2O. Appl. Geochem. 2002, 17, 1305–1312. [Google Scholar] [CrossRef]
- Biovia, D.S. Materials Studio 8.0; Dassault Systèmes: San Diego, CA, USA, 2014. [Google Scholar]
- Allen, M.P.; Tildesley, D.J. Computer Simulation of Liquids; Oxford University Press: Oxford, UK, 2017; ISBN 0192524704. [Google Scholar]
- Anggraeni, A.; Arianto, F.; Mutalib, A.; Pratomo, U.; Bahti, H.H. Fast and simultaneously determination of light and heavy rare earth elements in monazite using combination of ultraviolet-visible spectrophotometry and multivariate analysis. In AIP Conference Proceedings; AIP Publishing LLC: Bandung, Indonesia, 2017; Volume 1848, p. 30004. [Google Scholar] [CrossRef] [Green Version]
- Rao, L.; Rai, D.; Felmy, A.R.; Fulton, R.W.; Novak, C.F. Solubility of NaNd (CO3)2 6 H2O (c) in Concentrated Na2CO3 and NaHCO3 Solutions. Radiochim. Acta 1996, 75, 141–148. [Google Scholar]
- Jianfeng, Z. Dynamics Simulation of Interaction between Impurity Inhibitors and Aluminum Impurities. In Ionic Rare Earth Ores No Title; Jiangxi University of Science and Technology: Jiangxi, China, 2015. [Google Scholar]








| Concentration of Nd3+ (mol·L−1) | Concentration of H+ (mol·L−1) | Specific Gravity (g·mL−1) | ||||
|---|---|---|---|---|---|---|
| 1.3568 | <0.10 | 1.326 | ||||
| Non-rare earths impurities (µg·mL−1) | ||||||
| Fe2O3 | SiO2 | CaO | ||||
| <0.50 | 2.49 | 7.3 | ||||
| Rare Earth Impurities/REO (μg·mL−1) | ||||||
| La2O3 | CeO2 | Pr6O11 | Sm2O3 | Eu2O3 | Gd2O3 | Tb2O3 |
| <100 | <100 | 500 | <100 | <100 | <100 | <100 |
| Dy2O3 | Ho2O3 | Er2O3 | Tm2O3 | Yb2O3 | Lu2O3 | Y2O3 |
| <100 | <100 | <100 | <100 | <100 | <100 | <100 |
| Equipment | Model | Manufacturers |
|---|---|---|
| High-speed centrifuge | TGL16MS | Yancheng Anxin Experimental Instrument Co., Ltd. (Yancheng, China) |
| Computing server | IBM System X3850 X5 | International Business Machines Corporation (Armonk, NY, USA) |
| UV-Visible Spectrophotometer (UV-vis) | UV-5500PC | Shanghai yoke instrument Co., Ltd. (Shanghai, China) |
| Fourier transform infrared spectrometer (FTIR) | ALPHA | Bruker Corporation (Billerica, MA, USA) |
| inductively coupled plasma-optical emission spectroscopy (ICP-OES) | ULTIMA2 | HORIBA Jobin Yvon (Newark, NJ, USA) |
| Kang’s oscillator | KS | Changzhou Putian Instrument Manufacturing Company (Changzhou, China) |
| Components | The Metastable State Solution | Corresponding Blank Solution | ||
|---|---|---|---|---|
| ρ: 1.164 g·L−1 | ρ: 1.148 g·L−1 | |||
| Number | Mass Fraction (%) | Number | Mass Fraction (%) | |
| H2O | 10,590 | 84.7 | 10,590 | 85.0 |
| Na+ | 630 | 6.4 | 630 | 6.5 |
| 280 | 7.5 | 280 | 7.5 | |
| Nd3+ | 3 | 0.2 | 0 | 0.0 |
| Cl− | 79 | 1.2 | 70 | 1.1 |
| r (Å) | Average Coordination Number (Cn) | |
|---|---|---|
| NaCl/Na2CO3 Mixed Electrolyte Solution | Single Na2CO3 Solution | |
| 2.225 | 1.29 | 1.28 |
| 2.275 | 1.51 | 1.50 |
| 2.325 | 1.64 | 1.67 |
| 2.375 | 1.79 | 1.82 |
| 2.425 | 1.99 | 2.02 |
| 2.475 | 2.24 | 2.26 |
| 2.525 | 2.44 | 2.46 |
| 2.575 | 2.57 | 2.57 |
| 2.625 | 2.63 | 2.63 |
Publisher’s Note: MDPI stays neutral with regard to jurisdictional claims in published maps and institutional affiliations. |
© 2021 by the authors. Licensee MDPI, Basel, Switzerland. This article is an open access article distributed under the terms and conditions of the Creative Commons Attribution (CC BY) license (https://creativecommons.org/licenses/by/4.0/).
Share and Cite
Yang, Y.; Zhang, X.; Li, K.; Wang, L.; Niu, F.; Liu, D.; Meng, Y. Maintenance of the Metastable State and Induced Precipitation of Dissolved Neodymium (III) in an Na2CO3 Solution. Minerals 2021, 11, 952. https://doi.org/10.3390/min11090952
Yang Y, Zhang X, Li K, Wang L, Niu F, Liu D, Meng Y. Maintenance of the Metastable State and Induced Precipitation of Dissolved Neodymium (III) in an Na2CO3 Solution. Minerals. 2021; 11(9):952. https://doi.org/10.3390/min11090952
Chicago/Turabian StyleYang, Youming, Xiaolin Zhang, Kaizhong Li, Li Wang, Fei Niu, Donghui Liu, and Yuning Meng. 2021. "Maintenance of the Metastable State and Induced Precipitation of Dissolved Neodymium (III) in an Na2CO3 Solution" Minerals 11, no. 9: 952. https://doi.org/10.3390/min11090952
APA StyleYang, Y., Zhang, X., Li, K., Wang, L., Niu, F., Liu, D., & Meng, Y. (2021). Maintenance of the Metastable State and Induced Precipitation of Dissolved Neodymium (III) in an Na2CO3 Solution. Minerals, 11(9), 952. https://doi.org/10.3390/min11090952

