Evaluation of Sustainable Development Objectives in the Production of Protected Geographical Indication Legumes
Abstract
1. Introduction
2. Materials and Methods
2.1. Study Area
2.2. Methods
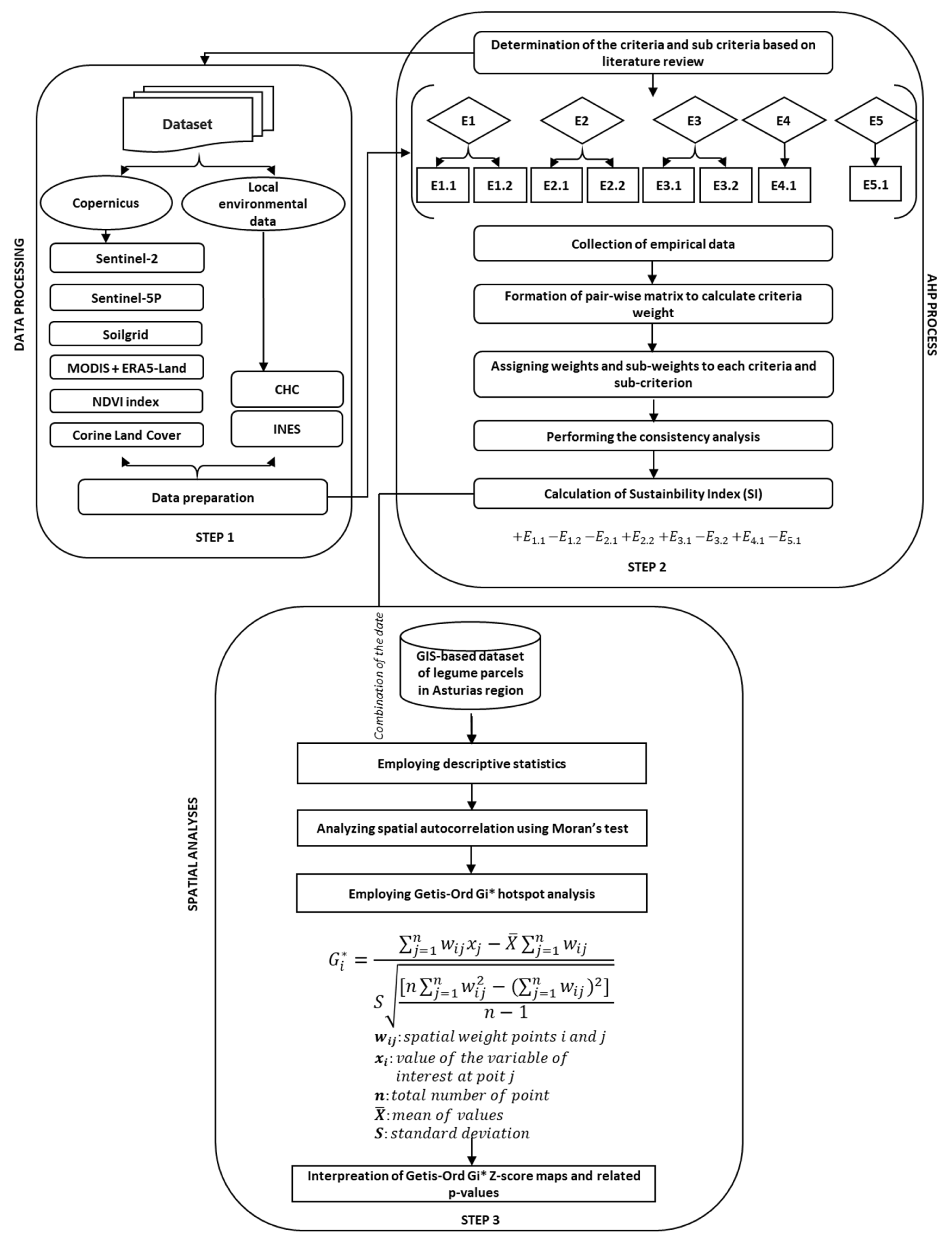
2.2.1. Step I: Data Processing
2.2.2. Step II: Analytic Hierarchy Process (AHP)
2.2.3. Step III: Spatial Analysis
Pearson Correlation Matrix
Density Distribution Through a Violin Graph
Moran’s I Test
Getis-Ord Gi* Statistics
3. Results
3.1. Initial Data Exploration and Statistical Analysis
3.1.1. Correlation Matrix
3.1.2. Distribution and Density of the Data
3.2. Moran’s I Test
3.3. Getis-Ord Gi* Statistics
4. Discussion
4.1. Data Correlation and Distribution
4.2. Moran’s I Test
4.3. Getis-Ord Gi* Statistics
5. Conclusions
Supplementary Materials
Author Contributions
Funding
Data Availability Statement
Conflicts of Interest
References
- Keys, A. Mediterranean Diet and Public Health: Personal Reflections. Am. J. Clin. Nutr. 1995, 61 (Suppl. S6), 1321S–1323S. [Google Scholar] [CrossRef]
- Sofi, F.; Cesari, F.; Abbate, R.; Gensini, G.F.; Casini, A. Adherence to Mediterranean Diet and Health Status: Meta-Analysis. BMJ 2008, 337, a1344. [Google Scholar] [CrossRef] [PubMed]
- Estruch, R.; Ros, E.; Salas-Salvadó, J.; Covas, M.I.; Corella, D.; Arós, F.; Gómez-Gracia, E.; Ruiz-Gutiérrez, V.; Fiol, M.; Lapetra, J.; et al. Primary Prevention of Cardiovascular Disease with a Mediterranean Diet. N. Engl. J. Med. 2013, 368, 1279–1290. [Google Scholar] [CrossRef] [PubMed]
- Trichopoulou, A.; Costacou, T.; Bamia, C.; Trichopoulos, D. Adherence to a Mediterrane-an Diet and Survival in a Greek Population. N. Engl. J. Med. 2003, 348, 2599–2608. [Google Scholar] [CrossRef]
- UNESCO. Mediterranean Diet: Inscribed in 2010 on the Representative List of the Intangible Cultural Heritage of Humanity. Available online: https://ich.unesco.org. (accessed on 31 January 2025).
- Willett, W.C.; Sacks, F.; Trichopoulou, A.; Drescher, G.; Ferro-Luzzi, A.; Helsing, E.; Trichopoulos, D. Mediterranean Diet Pyramid: A Cultural Model for Healthy Eating. Am. J. Clin. Nutr. 1995, 61, 1402S–1406S. [Google Scholar] [CrossRef] [PubMed]
- Bach-Faig, A.; Berry, E.M.; Lairon, D.; Reguant, J.; Trichopoulou, A.; Dernini, S.; Medina, F.X.; Battino, M.; Belahsen, R.; Miranda, G.; et al. Mediterranean Diet Pyramid Today. Science and Cultural Updates. Public Health Nutr. 2011, 14, 2274–2284. [Google Scholar] [CrossRef]
- Trichopoulou, A.; Martínez-González, M.A.; Tong, T.Y.; Forouhi, N.G.; Khandelwal, S.; Prabhakaran, D.; Mozaffarian, D.; de Lorgeril, M. Definitions and Potential Health Benefits of the Mediterranean Diet: Views from Experts around the World. BMC Med. 2014, 12, 112. [Google Scholar] [CrossRef]
- Schwingshackl, L.; Missbach, B.; König, J.; Hoffmann, G. Adherence to a Mediterranean Diet and Risk of Diabetes: A Systematic Review and Meta-Analysis. Public Health Nutr. 2014, 17, 1757–1769. [Google Scholar] [CrossRef]
- Esposito, K.; Kastorini, C.M.; Panagiotakos, D.B.; Giugliano, D. Mediterranean Diet and Weight Loss: Meta-Analysis of Randomized Controlled Trials. Metab. Syndr. Relat. Disord. 2011, 9, 1–12. [Google Scholar] [CrossRef]
- Rosato, V.; Temple, N.J.; La Vecchia, C.; Castellan, G.; Tavani, A.; Guercio, V. Mediterranean Diet and Cardiovascular Disease: A Systematic Review and Meta-Analysis of Observational Studies. Eur. J. Nutr. 2019, 58, 173–191. [Google Scholar] [CrossRef]
- Schwingshackl, L.; Hoffmann, G. Adherence to Mediterranean Diet and Risk of Cancer: An Updated Systematic Review and Meta-Analysis of Observational Studies. Cancer Med. 2015, 4, 1933–1947. [Google Scholar] [CrossRef] [PubMed]
- Sofi, F.; Macchi, C.; Abbate, R.; Gensini, G.F.; Casini, A. Mediterranean Diet and Health Status: An Updated Meta-Analysis and a Proposal for a Literature-Based Adherence Score. Public Health Nutr. 2014, 17, 2769–2782. [Google Scholar] [CrossRef]
- Dernini, S.; Berry, E.M. Mediterranean Diet: From a Healthy Diet to a Sustainable Dietary Pattern. Front. Nutr. 2015, 2, 15. [Google Scholar] [CrossRef]
- Jensen, E.S.; Peoples, M.B.; Hauggaard-Nielsen, H. Faba Bean in Cropping Systems. Field Crops Res. 2010, 115, 203–216. [Google Scholar] [CrossRef]
- Peoples, M.B.; Herridge, D.F.; Ladha, J.K. Biological Nitrogen Fixation: An Efficient Source of Nitrogen for Sustainable Agricultural Production? Plant Soil 1995, 174, 3–28. [Google Scholar] [CrossRef]
- Stagnari, F.; Maggio, A.; Galieni, A.; Pisante, M. Multiple Benefits of Legumes for Agriculture Sustainability: An Overview. Chem. Biol. Technol. Agric. 2017, 4, 2. [Google Scholar] [CrossRef]
- Donini, L.M.; Serra-Majem, L.; Bulló, M.; Gil, Á.; Salas-Salvadó, J. The Mediterranean Diet: Culture, Health and Science. Br. J. Nutr. 2015, 113, S1–S3. [Google Scholar] [CrossRef]
- Altieri, M.A.; Nicholls, C.I.; Henao, A.; Lana, M.A. Agroecology and the Design of Climate-Resilient Farming Systems. Agron. Sustain. Dev. 2015, 35, 869–890. [Google Scholar] [CrossRef]
- Gliessman, S.R. Transforming Food Systems with Agroecology. Agron. Sustain. Dev. 2016, 40, 187–189. [Google Scholar] [CrossRef]
- Wezel, A.; Bellon, S.; Doré, T.; Francis, C.; Vallod, D.; David, C. Agroecology as a Science, a Movement and a Practice. A Review. Agron. Sustain. Dev. 2009, 29, 503–515. [Google Scholar] [CrossRef]
- Food and Agriculture Organization of the United Nations. Sustainable Development and Natural Resources Management. In Proceedings of the FAO Conference 25th Session, Rome, Italy, 11–29 November 1989. [Google Scholar]
- Grosso, G.; Fresán, U.; Bes-Rastrollo, M.; Marventano, S.; Galvano, F. Environmental Impact of Dietary Choices: Role of the Mediterranean and Other Dietary Patterns in an Italian Cohort. Int. J. Environ. Res. Public Health 2020, 17, 1468. [Google Scholar] [CrossRef] [PubMed]
- Galli, F.; Favilli, E.; D’Amico, S.; Brunori, G. The Mediterranean Diet as a Lever for Sustainable Development: The Four Dimensions of Sustainability. Sustainability 2020, 12, 6147. [Google Scholar]
- González Fischer, C.; Garnett, T. Plates, Pyramids, Planet: Developments in National Healthy and Sustainable Dietary Guidelines: A State of Play Assessment; FAO: Rome, Italy; The University of Oxford: Oxford, UK, 2016. [Google Scholar]
- United Nations. Transforming Our World: The 2030 Agenda for Sustainable Development; UN General Assembly, A/RES/70/1; UN: New York, NY, USA, 2015. [Google Scholar]
- Sachs, J.D. The Age of Sustainable Development; Columbia University Press: New York, NY, USA, 2015. [Google Scholar]
- Griggs, D.; Stafford-Smith, M.; Gaffney, O.; Rockström, J.; Öhman, M.C.; Shyamsundar, P.; Noble, I. Sustainable Development Goals for People and Planet. Nature 2013, 495, 305–307. [Google Scholar] [CrossRef] [PubMed]
- United Nations Department of Economic and Social Affairs. The Sustainable Development Goals Report 2020; United Nations: New York, NY, USA, 2020; ISBN 978-92-1-101425-9. Available online: https://www.un.org/en/desa/sustainable-development-goals-report-2020 (accessed on 11 March 2025).
- Johnston, J.L.; Fanzo, J.C.; Cogill, B. Understanding Sustainable Diets: A Descriptive Analysis of the Determinants and Processes that Influence Diets and Their Impact on Health, Society and the Environment. Adv. Nutr. 2014, 5, 418–429. [Google Scholar] [CrossRef] [PubMed]
- Fanzo, J.; Davis, C.; McLaren, R.; Choufani, J. The Effect of Sustainable Diets on Food Security and Nutrition. Glob. Food Secur. 2020, 24, 100356. [Google Scholar]
- Gollin, D. Conserving Genetic Resources for Agriculture: Economic Implications of Emerging Science. Food Secur. 2020, 12, 919–927. [Google Scholar] [CrossRef]
- Food and Agriculture Organization of the United Nations. Proportion of Agricultural Area Under Productive and Sustainable Agriculture (SDG Indicator 2.4.1); FAO: Rome, Italy, 2023. [Google Scholar]
- FAO. Sustainable Agriculture for Biodiversity: Managing Agricultural Biodiversity for Sustainable Development; FAO: Rome, Italy, 2020. [Google Scholar]
- Gobierno del Principado de Asturias. Presupuestos Generales del Principado de Asturias 2022. Portal de Transparencia del Principado de Asturias. Available online: https://transparencia.asturias.es/web/gobierno-abierto/detalle?articleId=2653114&p_r_p_categoryId=694576 (accessed on 4 March 2025).
- Sharma, P.; Sharma, P.; Thakur, N. Sustainable Farming Practices and Soil Health: A Pathway to Achieving SDGs and Future Prospects. Discov. Sustain. 2024, 5, 250. [Google Scholar] [CrossRef]
- Lal, R. Soil Health and Climate Change: An Overview. J. Soil Water Conserv. 2020, 75, 123A–129A. [Google Scholar] [CrossRef]
- Gliessman, S.R. Agroecology: The Ecology of Sustainable Food Systems; CRC Press: Boca Raton, FL, USA, 2014. [Google Scholar]
- Altieri, M.A. Agroecology: The Science of Sustainable Agriculture; Westview Press: Boulder, CO, USA, 1999. [Google Scholar]
- Food and Agriculture Organization (FAO). The State of Food and Agriculture 2020; FAO: Rome, Italy, 2020. [Google Scholar]
- European Union. Regulation (EU) No 1151/2012 of the European Parliament and of the Council on Quality Schemes for Agricultural Products and Foodstuffs. Off. J. Eur. Union 2012, 343, 1–29. [Google Scholar]
- Belletti, G.; Marescotti, A.; Touzard, J.M. Geographical Indications, Public Goods, and Sustainable Development: The Roles of Actors’ Strategies and Public Policies. World Dev. 2015, 98, 45–57. [Google Scholar] [CrossRef]
- Hajjar, R.; Jarvis, D.I.; Gemmill-Herren, B. The Utility of Crop Genetic Diversity in Maintaining Ecosystem Services. Agric. Ecosyst. Environ. 2008, 123, 261–270. [Google Scholar] [CrossRef]
- Food and Agriculture Organization of the United Nations (FAO). State of Food and Agriculture: Leveraging Sustainable Agriculture for Global Food Security; FAO Publications: Rome, Italy, 2022. [Google Scholar]
- Boros, A.; Szólik, E.; Desalegn, G.; Tőzsér, D. A Systematic Review of Opportunities and Limitations of Innovative Sustainable Agricultural Practices. Agronomy 2025, 15, 76. [Google Scholar] [CrossRef]
- He, S.; Li, L.; Lv, M.; Wang, R.; Wang, L.; Yu, S.; Gao, Z.; Li, X. PGPR: Key to Enhancing Crop Productivity and Achieving Sustainable Agriculture. Curr. Microbiol. 2024, 81, 377. [Google Scholar] [CrossRef] [PubMed]
- García, C.; Hernández, T.; Costa, F.; Ceccanti, B.; Masciandaro, G.; Nannipieri, P. Soil Enzyme Activities in a Long-Term Experiment with Organic and Inorganic Fertili-zers. Soil Biol. Biochem. 1994, 26, 1647–1654. [Google Scholar]
- Sánchez, J.; Martínez, J.; González, M. Environmental Impact of Agricultural Practices in Spain. J. Environ. Manag. 2003, 68, 417–428. [Google Scholar]
- Moreno, J.M.; Oechel, W.C. The Role of Fire in Mediterranean-Type Ecosystems; Springer: New York, NY, USA, 1994. [Google Scholar]
- Gómez, J.A.; Giráldez, J.V.; Pastor, M.; Fereres, E. Effects of Tillage Method on Soil Physical Properties, Infiltration and Yield in an Olive Orchard. Soil Tillage Res. 1999, 52, 167–175. [Google Scholar] [CrossRef]
- Kebede, E. Contribution, Utilization, and Improvement of Legumes-Driven Biological Nitrogen Fixation in Agricultural Systems. Front. Sustain. Food Syst. 2021, 5, 767998. [Google Scholar] [CrossRef]
- Li, C.; Ban, Q.; Gao, J.; Ge, L.; Xu, R. The Role of Geographical Indication Products in Promoting Agricultural Development—A Meta-Analysis Based on Global Data. Agriculture 2024, 14, 1831. [Google Scholar] [CrossRef]
- Ranjan, V.R. Agroecological Approaches to Sustainable Development. Front. Sustain. Food Syst. 2024, 8, 1405409. [Google Scholar] [CrossRef]
- Rodríguez Madrera, R.; Campa Negrillo, A.; Ferreira Fernández, J.J. Modulation of the Nutritional and Functional Values of Common Bean by Farming System: Organic vs. Conventional. Front. Sustain. Food Syst. 2024, 7, 1282427. [Google Scholar] [CrossRef]
- Silva Martins, L.O.; de Oliveira, V.R.V.; Lora, F.A.; Fraga, I.D.; Braga Saldanha, C.; Silva, D.T.; Pereira, M.G.A.; Silva, M.S. Geographic Indications, Sustainability and Sustainable Development: A Bibliometric Analysis. J. Scientometr. Res. 2024, 13, 919–934. [Google Scholar] [CrossRef]
- Pérez, R.; Fernández, C.; Laca, A.; Laca, A. Evaluation of Environmental Impacts in Legume Crops: A Case Study of PGI White Bean Production in Southern Europe. Sustainability 2024, 16, 8024. [Google Scholar] [CrossRef]
- Abubakar, I.R.; Maniruzzaman, K.M.; Dano, U.L.; AlShihri, F.S.; AlShammari, M.S.; Ahmed, S.M.S.; Al-Gehlani, W.A.G.; Alrawaf, T.I. Environmental Sustainability Impacts of Solid Waste Management Practices in the Global South. Int. J. Environ. Res. Public Health 2022, 19, 12717. [Google Scholar] [CrossRef] [PubMed]
- Flinzberger, L.; Cebrián-Piqueras, M.A.; Peppler-Lisbach, C.; Zinngrebe, Y. Why Geographical Indications Can Support Sustainable Development in European Agri-Food Landscapes. Front. Conserv. Sci. 2022, 2, 752377. [Google Scholar] [CrossRef]
- Unger, N.; Davis, J.; Loubiere, M.; Östergren, K. Methodology for Evaluating Environmental Sustainability. EU-Refresh 2016, 5, 1–30. Available online: https://eu-refresh.org/methodology-evaluating-environmental-sustainability.html (accessed on 19 February 2025).
- Agostini, S. Effect of PDO on Rural Heritage: Integrating Origin Labelling to Promote Sustainable Rural Development in Europe. Food Nutr. J. 2016, FDNJ-103. Available online: https://www.gavinpublishers.com/article/view/effect-of-PDO-on-rural-heritage-integrating-origin-labelling-to-promote-sustainable-rural-development-in-europe (accessed on 19 February 2025).
- Augspurger, T.; Malliaraki, E.; Hopkins, J. Open Source in Environmental Sustainability. Open Sustain. Technol. Rep. 2023, 1, 1–50. [Google Scholar]
- García, N.; Fernández, J.A.; Menéndez, R.; González, J.A. Geomorphological Features and Evolution of the Asturias Region, Spain. Geomorphology 2015, 250, 1–15. [Google Scholar] [CrossRef]
- Álvarez, M.A.; Ordóñez, C.; González, J.A.; Menéndez, R. Biodiversity and Conservation of the Cantabrian Mountains in the Asturias Region. Biodivers. Conserv. 2013, 22, 1107–1125. [Google Scholar]
- López-Moreno, J.I.; Vicente-Serrano, S.M.; Moran-Tejeda, E.; Lorenzo-Lacruz, J.; Kenawy, A.; Beniston, M. Effects of Climate Change on the Intensification of the Water Cycle in the Mediterranean Region: Observations and Projections. Hydrol. Sci. J. 2011, 56, 622–640. [Google Scholar]
- Consiglio Regulador de la IGP Faba Asturiana. Normativa Faba delle Asturie. Available online: https://faba-asturiana.org/el-consejo-regulador/normativa/ (accessed on 19 February 2025).
- Faba Asturiana IGP. Qualigeo. Available online: https://www.qualigeo.eu/prodotto-qualigeo/faba-asturiana-igp/ (accessed on 15 February 2025).
- Asturian Fresh Faba. Fondazione Slow Food. Available online: https://www.fondazioneslowfood.com/en/ark-of-taste-slow-food/fresh-bean-or-green-bean/ (accessed on 15 February 2025).
- Faba Asturiana. Home-C. Available online: https://faba-asturiana.org/ (accessed on 15 February 2025).
- Zhou, P.; Ang, B.W.; Poh, K.L. Decision Analysis in Energy and Environmental Modeling: An AHP Approach. Energy 2006, 31, 2603–2616. [Google Scholar] [CrossRef]
- Malczewski, J. GIS-based Multicriteria Decision Analysis for Land Use Planning. Environ. Plan. B Plan. Des. 2004, 31, 403–428. [Google Scholar]
- Chen, Y.; Yu, J.; Khan, S. The Spatial Framework for Weighting Climate Change Impacts in a GIS Environment. Environ. Model. Softw. 2010, 25, 2041–2050. [Google Scholar]
- Food and Agriculture Organization of the United Nations. Sustainability Assessment of Food and Agriculture Systems (SAFA) Guidelines; FAO: Rome, Italy, 2012; Available online: https://www.fao.org/fileadmin/templates/nr/sustainability_pathways/docs/SAFA_Guidelines_12_June_2012_final_v2.pdf (accessed on 19 February 2025).
- Drusch, M.; Del Bello, U.; Carlier, S.; Colin, O.; Fernandez, V.; Gascon, F.; Hoersch, B.; Isola, C.; Laberinti, P.; Martimort, P.; et al. GMES Sentinel-2 Mission. Remote Sens. Environ. 2012, 120, 25–36. [Google Scholar] [CrossRef]
- Malenovský, Z.; Rott, H.; Cihlar, J.; Schaepman, M.E.; García-Santos, G.; Fernandes, R.; Berger, M. Sentinels for Science: Potential of Sentinel-1, -2, and -3 Missions for Scientific Observations of Ocean, Cryosphere, and Land. Remote Sens. Environ. 2012, 120, 84–101. [Google Scholar] [CrossRef]
- Brockmann, C. Sentinel-2 Next Generation Phase-0 Scientific Study Report; ESA: Paris, France, 2024. [Google Scholar]
- Oxoli, D.; Cedeno Jimenez, J.R.; Brovelli, M.A. Assessment of Sentinel-5P Performance for Ground-Level Air Quality Monitoring: Preparatory Experiments over the COVID-19 Lockdown Period. Int. Arch. Photogramm. Remote Sens. Spat. Inf. Sci. 2020, XLIII-B3, 123–130. [Google Scholar] [CrossRef]
- Destino, A. Valutazione Della Qualità Dell’aria Tramite Dati Satellitari; Politecnico di Torino: Turin, Italy, 2020. [Google Scholar]
- Ali, H.O.; Abraham, R.; Galerne, B. Depth Separable Architecture for Sentinel-5P Super-Resolution. arXiv 2025, arXiv:2501.17210. [Google Scholar] [CrossRef]
- Muñoz-Sabater, J.; Dutra, E.; Agustí-Panareda, A.; Albergel, C.; Arduini, G.; Balsamo, G.; Boussetta, S.; Choulga, M.; Harrigan, S.; Hersbach, H.; et al. ERA5-Land: A state-of-the-art global reanalysis dataset for land applications. Earth Syst. Sci. Data 2021, 13, 4349–4383. [Google Scholar] [CrossRef]
- Running, S.W.; Mu, Q.; Zhao, M.; Moreno, A. User’s Guide MODIS Global Terrestrial Evapotranspiration (ET) Product (NASA MOD16A2/A3); NASA Earth Observing System: Washington, DC, USA, 2017.
- Confederación Hidrográfica del Cantábrico. Inicio. Available online: https://www.chcantabrico.es/ (accessed on 15 February 2025).
- Zuazagoitia Rey-Baltar, A. Análisis del Proceso de Revisión e Implementación del Tercer Ciclo del Plan Hidrológico del Cantábrico Oriental; TFM Universidad de Alcalá: Alcalá de Henares, Spain, 2022. [Google Scholar]
- Poggio, L.; de Sousa, L.M.; Batjes, N.H.; Heuvelink, G.B.M.; Kempen, B.; Ribeiro, E.; Rossiter, D. SoilGrids 2.0: Producing soil information for the globe with quantified spatial uncertainty. SOIL 2021, 7, 217–240. [Google Scholar] [CrossRef]
- Turek, M.E.; Poggio, L.; Batjes, N.H.; Armindo, R.A.; de Jong van Lier, Q.; de Sousa, L.M.; Heuvelink, G.B.M. Global mapping of volumetric water retention at 100, 330 and 15 000 cm suction using the WoSIS database. Int. Soil Water Conserv. Res. 2023, 11, 225–239. [Google Scholar] [CrossRef]
- Hengl, T.; de Jesus, J.M.; MacMillan, R.A.; Batjes, N.H.; Heuvelink, G.B.M.; Ribeiro, E.; Samuel-Rosa, A.; Kempen, B.; Leenaars, J.G.B.; Walsh, M.G.; et al. SoilGrids1km—Global Soil Information Based on Automated Mapping. PLoS ONE 2014, 9, e105992. [Google Scholar] [CrossRef]
- García-Ruiz, J.M.; López-Moreno, J.I.; Vicente-Serrano, S.M.; Lasanta-Martínez, T.; Beguería, S. Mediterranean water resources in a global change scenario. Earth Sci. Rev. 2011, 105, 121–139. [Google Scholar] [CrossRef]
- García-Ruiz, J.M.; Nadal-Romero, E.; Lana-Renault, N.; Beguería, S. Erosion in Mediterranean Landscapes: Current Problems and Future Challenges. Land Degrad. Dev. 2013, 24, 3–15. [Google Scholar] [CrossRef]
- García-Ruiz, J.M.; Beguería, S.; Nadal-Romero, E.; Lana-Renault, N.; Sanjuán, Y.A. A meta-analysis of soil erosion rates across the world. Geomorphology 2015, 239, 160–173. [Google Scholar] [CrossRef]
- Ortiz-Burgos, S. Shannon-Weaver Diversity Index. Encycl. Earth Sci. Ser. 2015, 1, 572–573. [Google Scholar] [CrossRef]
- Ontoy, D.S.; Padua, R.N. Measuring species diversity for conservation biology: Incorporating social and ecological importance. Biodivers. J. 2014, 5, 387–390. Available online: https://www.biodiversityjournal.com/pdf/5(3)_387-390.pdf (accessed on 15 March 2025).
- Clarke, K.R.; Warwick, R.M. Changes in Marine Communities: An Approach to Statistical Analysis and Interpretation, 2nd ed.; PRIMER-E: Plymouth, UK, 2001. [Google Scholar]
- Pettorelli, N.; Vik, J.O.; Mysterud, A.; Gaillard, J.M.; Tucker, C.J.; Stenseth, N.C. Using the satellite-derived NDVI to assess ecological responses to environmental change. Trends Ecol. Evol. 2005, 20, 503–510. [Google Scholar] [CrossRef] [PubMed]
- Cavalli, S.; Penzotti, G.; Amoretti, M.; Caselli, S. A Machine Learning Approach for NDVI Forecasting based on Sentinel-2 Data. Environ. Sci. Technol. 2024, 58, 7890–7902. [Google Scholar] [CrossRef]
- Afshari, S.; Sarli, R.; Abbasnezhad Alchin, A.; Ghaffari Aliabad, O.; Moradi, F.; Saei, M.; Bakhshi Lomer, A.R.; Nasiri, V. Trend analysis and interactions between surface temperature and vegetation condition: Divergent responses across vegetation types. Environ. Monit. Assess. 2025, 197, 292. [Google Scholar] [CrossRef]
- Saaty, T.L. Decision Making with the Analytic Hierarchy Process. Int. J. Serv. Sci. 2008, 1, 83–98. [Google Scholar] [CrossRef]
- Vaidya, O.S.; Kumar, S. Analytic Hierarchy Process: An Overview of Applications. Eur. J. Oper. Res. 2006, 169, 1–29. [Google Scholar] [CrossRef]
- Pearson, K. On the Criterion That a Given System of Deviations from the Probable in the Case of a Correlated System of Variables is Such That It Can Be Reasonably Supposed to Have Arisen from Random Sampling. Lond. Edinb. Dublin Philos. Mag. J. Sci. 1900, 50, 157–175. [Google Scholar] [CrossRef]
- Ishizaka, A.; Labib, A. Review of the Main Developments in the Analytic Hierarchy Process. Expert Syst. Appl. 2011, 38, 14336–14345. [Google Scholar] [CrossRef]
- Cohen, I.; Huang, Y.; Chen, J.; Benesty, J.; Benesty, J.; Chen, J.; Cohen, I. Pearson correlation coefficient. In Noise Reduction in Speech Processing; Springer: Berlin/Heidelberg, Germany, 2009; pp. 1–4. [Google Scholar]
- Hintze, J.W.; Nelson, R.D. Violin plots: A box plot-density trace synergism. Am. Stat. 1998, 52, 181–184. [Google Scholar] [CrossRef]
- Moran, P.A.P. Notes on continuous stochastic phenomena. Biometrika 1950, 37, 17–23. [Google Scholar] [CrossRef]
- Getis, A.; Ord, J.K. The analysis of spatial association by use of distance statistics. Geogr. Anal. 1992, 24, 189–206. [Google Scholar] [CrossRef]
- Songchitruksa, P.; Zeng, X. Getis–Ord spatial statistics to identify hot spots by using incident management data. Transp. Res. Rec. 2010, 2165, 42–51. [Google Scholar] [CrossRef]
- Bobbitt, Z. What is Considered to Be a “Strong” Correlation? Statology 2020. Available online: https://www.statology.org/what-is-a-strong-correlation/ (accessed on 11 March 2025).
- Frost, J. Interpreting Correlation Coefficients; Statistics by Jim. 2020. Available online: https://statisticsbyjim.com (accessed on 11 March 2025).
- Moulton, R.L.; Taylor, R.G. Ecological Consequences of Water Quality Changes; Springer: Berlin/Heidelberg, Germany, 2012. [Google Scholar]
- Smith, R.I.; Fowler, D.; Sutton, M.A.; Flechard, C.R.; Coyle, M. Impact of Atmospheric Pollution on Soil and Water Quality in Europe. Environ. Pollut. 2015, 200, 85–93. [Google Scholar]
- Fowler, D.; Pyle, J.A.; Ravishankara, A.R.; Amann, M.; Cox, R.A.; Sanderson, M.G. The Global Impact of Air Pollution on Soil and Water Systems. Philos. Trans. R. Soc. A Math. Phys. Eng. Sci. 2009, 367, 617–640. [Google Scholar]
- Lambin, E.F.; Meyfroidt, P. Global Land Use Change, Economic Globalization, and the Looming Land Scarcity. Proc. Natl. Acad. Sci. USA 2011, 108, 3465–3472. [Google Scholar] [CrossRef]
- Turner, B.L.; Lambin, E.F.; Reenberg, A. The Emergence of Land Change Science for Global Environmental Change and Sustainability. Proc. Natl. Acad. Sci. USA 2007, 104, 20666–20671. [Google Scholar] [CrossRef] [PubMed]
- European Environment Agency (EEA). EEA Signals 2020: Towards Zero Pollution in Europe; Publications Office of the European Union: Luxembourg, 2020; Report No.: TH-AP-20-669-EN-N; ISBN 978-92-9480-267-5. ISSN 2443-7492. [CrossRef]
- Pretty, J. Agricultural Sustainability: Concepts, Principles and Evidence. Philos. Trans. R. Soc. Lond. B Biol. Sci. 2008, 363, 447–465. [Google Scholar] [CrossRef] [PubMed]








| Indicators | Sub-Indicators | Data Source | |
|---|---|---|---|
| Atmosphere | Greenhouse gases | [72,73,74] | This parameter was measured through primary production and data were retrieved from Copernicus, Sentinel-2 (10 m per pixel). |
| Air quality | [75,76,77] | Air quality was measured through various parameters (CH4, CO, NO2, Ozone, SO2, UV) and data are always from Sentinel-5P satellite (3.5 km per pixel) | |
| Water | Water withdrawal | [78,79] | This parameter was obtained from the sum of two aspects: Evapotranspiration MODIS (1 km per pixel) + ERA5-Land (9 km per pixel). The data are always satellite data obtained thanks to Copernicus. |
| Water quality | [80,81] | Data were retrieved from the Confederación Hidrográfica del Cantábrico (spatial resolution of 10 km) | |
| Land | Soil quality | [82,83,84] | This parameter took many factors into account: -Bulk density of the fine earth fraction -Cation Exchange Capacity of the soil -Volumetric fraction of coarse fragments (>2 mm) -Proportion of clay particles (<0.002 mm) in the fine earth fraction -Total nitrogen (N) -Soil pH -Proportion of sand particles (>0.05/0.063 mm) in the fine earth fraction -Proportion of silt particles (≥0.002 mm and ≤0.05/0.063 mm) in the fine earth fraction -Soil organic carbon content in the fine earth fraction -Organic carbon density -Organic carbon stocks The data were taken from SoilGrids (spatial resolution of 250 m), which is a global soil data system developed by ISRIC—World Soil Information. |
| Land degradation | [85,86,87] | Data were retrieved from the National Soil Erosion Inventory (INES) (spatial resolution of 1 km) in the Autonomous Community of Asturias | |
| Biodiversity | Ecosystem diversity | [88,89,90] | Data derived from calculations using the Shannon index (spatial resolution of 1 km), a tool for quantifying biodiversity. It provides a comprehensive measure of community diversity, considering both the number of species present and their relative abundance. |
| Materials and energy | Waste reduction and disposal | [91,92,93] | Waste production was calculated through the NDVI index (spatial resolution of 10 m), data were retrieved from Copernicus, Sentinel-2 |
| Code | Name | ||
|---|---|---|---|
| Atmosphere | E1.1 | Greenhouse gases | 0.135 |
| E1.2 | Air quality | ||
| Water | E2.1 | Water withdrawal | 0.263 |
| E2.2 | Water quality | ||
| Land | E3.1 | Soil quality | 0.190 |
| E3.2 | Land degradation | ||
| Biodiversity | E4.1 | Ecosystem diversity | 0.219 |
| Materials and energy | E5.1 | Waste reduction and disposal | 0.193 |
| Total | 1 | ||
| E1.1 Greenhouse Gases | E1.2 Air Quality | E2.1 Water Withdrawal | E2.1 Water Withdrawal | E3.1 Soil Quality | E3.2 Land Degradation | E4.1 Ecosystem Diversity | E5.1 Waste Reduction | |
|---|---|---|---|---|---|---|---|---|
| n | 563 | 563 | 563 | 563 | 563 | 563 | 563 | 563 |
| mean | 36.40 | 63.43 | 62.01 | 85.08 | 83.96 | 78.87 | 50.13 | 81.62 |
| sd | 12.74 | 8.61 | 11.22 | 12.21 | 3.65 | 3.79 | 12.94 | 7.92 |
| median | 34.61 | 65.60 | 59.85 | 87.20 | 84.33 | 78.59 | 60.00 | 82.88 |
| trimmed | 35.62 | 63.17 | 61.52 | 86.58 | 84.20 | 78.71 | 51.37 | 82.12 |
| mad | 11.76 | 13.80 | 14.38 | 11.04 | 1.72 | 3.35 | 0.00 | 7.53 |
| min | 7.49 | 49.22 | 44.99 | 41.59 | 15.26 | 70.83 | 13.97 | 50.19 |
| max | 100.00 | 78.67 | 100.00 | 100.00 | 89.50 | 100.00 | 100.00 | 100.00 |
| range | 92.51 | 29.45 | 55.01 | 58.41 | 74.24 | 29.17 | 86.03 | 49.81 |
| skew | 0.86 | 0.09 | 0.37 | −1.10 | −12.11 | 0.62 | −0.70 | −0.61 |
| kurtosis | 1.79 | −1.67 | −0.91 | 1.05 | 221.45 | 1.45 | −0.13 | 0.19 |
| se | 0.54 | 0.36 | 0.47 | 0.51 | 0.15 | 0.16 | 0.55 | 0.33 |
| Metric | Value | |
|---|---|---|
| Moran I statistic | Moran’s I statistic | 0.74555 |
| Expectation | Expected value | −0.00164 |
| Variance | Variance | 0.0005539 |
| Moran I statistic standard deviate | Z-score | 31.75 |
| p-value | <0.01 |
Disclaimer/Publisher’s Note: The statements, opinions and data contained in all publications are solely those of the individual author(s) and contributor(s) and not of MDPI and/or the editor(s). MDPI and/or the editor(s) disclaim responsibility for any injury to people or property resulting from any ideas, methods, instructions or products referred to in the content. |
© 2025 by the authors. Licensee MDPI, Basel, Switzerland. This article is an open access article distributed under the terms and conditions of the Creative Commons Attribution (CC BY) license (https://creativecommons.org/licenses/by/4.0/).
Share and Cite
Carlini, B.; Velázquez, J.; Gülçin, D.; Lucini, C.; Rincón, V. Evaluation of Sustainable Development Objectives in the Production of Protected Geographical Indication Legumes. Land 2025, 14, 636. https://doi.org/10.3390/land14030636
Carlini B, Velázquez J, Gülçin D, Lucini C, Rincón V. Evaluation of Sustainable Development Objectives in the Production of Protected Geographical Indication Legumes. Land. 2025; 14(3):636. https://doi.org/10.3390/land14030636
Chicago/Turabian StyleCarlini, Betty, Javier Velázquez, Derya Gülçin, Cristina Lucini, and Víctor Rincón. 2025. "Evaluation of Sustainable Development Objectives in the Production of Protected Geographical Indication Legumes" Land 14, no. 3: 636. https://doi.org/10.3390/land14030636
APA StyleCarlini, B., Velázquez, J., Gülçin, D., Lucini, C., & Rincón, V. (2025). Evaluation of Sustainable Development Objectives in the Production of Protected Geographical Indication Legumes. Land, 14(3), 636. https://doi.org/10.3390/land14030636

