On Physical Urban Boundaries, Urban Sprawl, and Compactness Measurement: A Case Study of the Wen-Tai Region, China
Abstract
:1. Introduction
2. Literature Review
2.1. The Meaning of Urban Boundaries in the Chinese Context and the Concept of Larger Town
2.2. PUB Extraction Method
2.3. Compact City Measurements
3. Study Site and Data Sources
3.1. Study Site
3.2. Data Sources
3.2.1. GlobeLand30 Remote Sensing Image Data
3.2.2. Vector Road Network Data
3.2.3. NPP/VIIRS Nighttime Light Data
3.2.4. POIs Data
4. Method
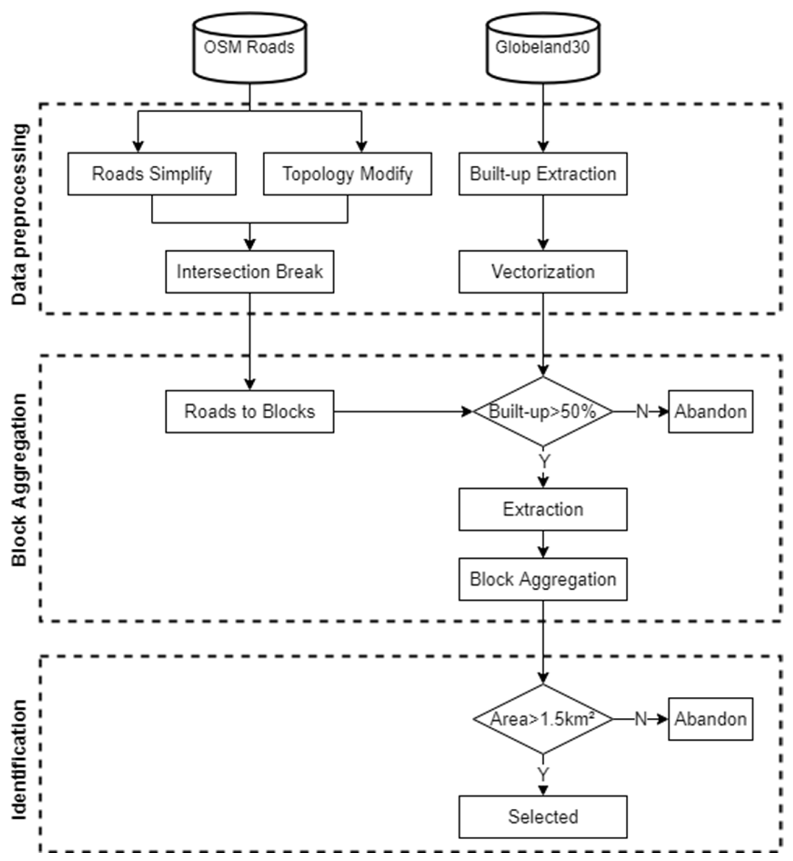
4.1. PUB Extraction with Two Types of Data
4.2. A Longitudinal Study of Urban Expansion
4.3. Measurement Framework for Urban Compactness
4.3.1. Compactness of External Contour
4.3.2. Accessibility of Road Network
4.3.3. Land Use Intensity
4.3.4. Functional Diversity
4.3.5. Statistical Analysis
5. Results
5.1. Results of the Identification of PUAs for 2000–2020
5.2. Expansion Rate of PUAs Based on County Level
5.3. Expansion Rate of PUAs Examined by Different Administrative Type
5.4. Measure the Compactness of System of Cities in Wen-Tai Region
6. Discussion
6.1. Discussion of the Results
6.2. Policy Implication
6.3. Limitations and Future Research
7. Conclusions
Author Contributions
Funding
Institutional Review Board Statement
Informed Consent Statement
Data Availability Statement
Acknowledgments
Conflicts of Interest
| 1 | Taishun County, Wencheng County, Tiantai County and Xianju County are not included in the Wen-Tai system of cities in the 2011–2020 Urban System Planning of Zhejiang Province because they are far from the sea. |
References
- Yu, B. Ecological effects of new-type urbanization in China. Renew. Sustain. Energy Rev. 2021, 135, 110239. [Google Scholar] [CrossRef]
- Li, G.; Li, F. Urban sprawl in China: Differences and socioeconomic drivers. Sci. Total Environ. 2019, 673, 367–377. [Google Scholar] [CrossRef]
- Ewing, R.H. Characteristics, Causes, and Effects of Sprawl: A Literature Review. In Urban Ecology: An International Perspective on the Interaction between Humans and Nature; Marzluff, J.M., Shulenberger, E., Endlicher, W., Alberti, M., Bradley, G., Ryan, C., Simon, U., ZumBrunnen, C., Eds.; Springer: Boston, MA, USA, 2008; pp. 519–535. [Google Scholar] [CrossRef]
- Yue, W.; Zhang, L.; Liu, Y. Measuring sprawl in large Chinese cities along the Yangtze River via combined single and multidimensional metrics. Habitat Int. 2016, 57, 43–52. [Google Scholar] [CrossRef]
- United Nations. World Urbanization Prospects, the 2011 Revision. 2012. Available online: http://esa.un.org/unpd/wup/index.htm (accessed on 16 June 2013).
- Jiao, L. Urban land density function: A new method to characterize urban expansion. Landsc. Urban Plan. 2015, 139, 26–39. [Google Scholar] [CrossRef]
- Deng, H.; Zhang, K.; Wang, F.; Dang, A. Compact or disperse? Evolution patterns and coupling of urban land expansion and population distribution evolution of major cities in China, 1998–2018. Habitat Int. 2021, 108, 102324. [Google Scholar] [CrossRef]
- Deng, X.; Huang, J.; Rozelle, S.; Zhang, J.; Li, Z. Impact of urbanization on cultivated land changes in China. Land Use Policy 2015, 45, 1–7. [Google Scholar] [CrossRef]
- Steurer, M.; Bayr, C. Measuring urban sprawl using land use data. Land Use Policy 2020, 97, 104799. [Google Scholar] [CrossRef]
- Ma, L.J.C. Urban administrative restructuring, changing scale relations and local economic development in China. Polit. Geogr. 2005, 24, 477–497. [Google Scholar] [CrossRef]
- Long, Y. Redefining Chinese city system with emerging new data. Appl. Geogr. 2016, 75, 36–48. [Google Scholar] [CrossRef]
- Yue, W.; Liu, Y.; Fan, P. Measuring urban sprawl and its drivers in large Chinese cities: The case of Hangzhou. Land Use Policy 2013, 31, 358–370. [Google Scholar] [CrossRef]
- Tian, L.; Li, Y.; Yan, Y.; Wang, B. Measuring urban sprawl and exploring the role planning plays: A shanghai case study. Land Use Policy 2017, 67, 426–435. [Google Scholar] [CrossRef]
- Li, Y.; Xiong, W.; Wang, X. Does polycentric and compact development alleviate urban traffic congestion? A case study of 98 Chinese cities. Cities 2019, 88, 100–111. [Google Scholar] [CrossRef]
- Huang, Y.; Dong, B.; Shen, J.; Zhuo, Z.; Wang, C. A Practical Path to Incorporating Large Towns to Municipalities: A Case Study in the Province of Zhejiang. Urban Dev. Stud. 2016, 23, 8–13. [Google Scholar]
- Zhao, P.; Lyu, D. Characteristics of land use structure in small towns of China: Empirical evidences from 121 townships. Acta Geogr. Sin. 2019, 74, 1011–1024. [Google Scholar]
- Lai, L.W.C.; Davies, S.N.G. Is non-zoning of land impossible? Eight fundamental propositions of zoning. J. Environ. Policy Plan. 2022, 1–16. [Google Scholar] [CrossRef]
- Niu, W.; Nie, T.; Chen, X.; Wang, T.; Shi, J.; Xu, Z.; Zhang, H. Understanding the Corrective Effect of the Urban Growth Boundary Policy on Land Finance Dependence of Local Governments in China. Int. J. Environ. Res. Public Health 2022, 19, 4785. [Google Scholar] [CrossRef]
- He, Q.; Tan, R.; Gao, Y.; Zhang, M.; Xie, P.; Liu, Y. Modeling urban growth boundary based on the evaluation of the extension potential: A case study of Wuhan city in China. Habitat Int. 2018, 72, 57–65. [Google Scholar] [CrossRef]
- Ma, S.; Long, Y. Identifying spatial cities in China at the community scale. J. Urban Reg. Plan 2019, 11, 37–50. [Google Scholar]
- Zhang, Z.; Xiao, R.; Yu, W.; Liu, Y.; Lin, M.; Wang, M. Characterizing Factors Associated with Built-Up Land Expansion in Urban and Non-Urban Areas from a Morphological Perspective. Sustainability 2017, 9, 1411. [Google Scholar] [CrossRef]
- Information Service Platform for Standardization of Natural Resources. Code of Practice for Standard Urban Built-Up Area Delineation. Available online: http://www.nrsis.org.cn/portal/stdDetail/240174 (accessed on 20 August 2022).
- The People’s Government of Zhejiang Province. The Central Town Cultivation Program. Available online: https://www.zj.gov.cn/art/2007/4/10/art_1229591319_64120.html (accessed on 20 August 2022).
- The People’s Government of Zhejiang Province. Small City Fostering Plan. Available online: https://www.zj.gov.cn/art/2012/7/14/art_1229019365_63266.html (accessed on 20 August 2022).
- China Economic Herald. China Township Comprehensive Competitiveness Report 2020. Available online: http://www.chinadevelopment.com.cn/news/zj/2021/09/1742706.shtml (accessed on 20 August 2022).
- Hu, S.; Tong, L.; Frazier, A.E.; Liu, Y. Urban boundary extraction and sprawl analysis using Landsat images: A case study in Wuhan, China. Habitat Int. 2015, 47, 183–195. [Google Scholar] [CrossRef]
- Peng, J.; Hu, Y.n.; Liu, Y.; Ma, J.; Zhao, S. A new approach for urban-rural fringe identification: Integrating impervious surface area and spatial continuous wavelet transform. Landsc. Urban Plan. 2018, 175, 72–79. [Google Scholar] [CrossRef]
- Chen, J.; Fan, W.; Li, K.; Liu, X.; Song, M. Fitting Chinese cities’ population distributions using remote sensing satellite data. Ecol. Indic. 2019, 98, 327–333. [Google Scholar] [CrossRef]
- Liu, X.; Ning, X.; Wang, H.; Wang, C.; Zhang, H.; Meng, J. A Rapid and Automated Urban Boundary Extraction Method Based on Nighttime Light Data in China. Remote Sens. 2019, 11, 1126. [Google Scholar] [CrossRef]
- Yang, Y.; Ma, M.; Tan, C.; Li, W. Spatial Recognition of the Urban-Rural Fringe of Beijing Using DMSP/OLS Nighttime Light Data. Remote Sens. 2017, 9, 1141. [Google Scholar] [CrossRef]
- Small, C.; Lu, J.W.T. Estimation and vicarious validation of urban vegetation abundance by spectral mixture analysis. Remote Sens. Environ. 2006, 100, 441–456. [Google Scholar] [CrossRef]
- Jayasinghe, A.; Kalpana, L.D.C.H.N.; Abenayake, C.C.; Mahanama, P.K.S. Urban Boundary Demarcation—An iCN Model Approach. Soc. Sci. 2021, 10, 448. [Google Scholar] [CrossRef]
- Liu, T.; Yang, X. Monitoring land changes in an urban area using satellite imagery, GIS and landscape metrics. Appl. Geogr. 2015, 56, 42–54. [Google Scholar] [CrossRef]
- Yu, B.; Shu, S.; Liu, H.; Song, W.; Wu, J.; Wang, L.; Chen, Z. Object-based spatial cluster analysis of urban landscape pattern using nighttime light satellite images: A case study of China. Int. J. Geogr. Inf. Sci. 2014, 28, 2328–2355. [Google Scholar] [CrossRef]
- Huang, X.; Schneider, A.; Friedl, M.A. Mapping sub-pixel urban expansion in China using MODIS and DMSP/OLS nighttime lights. Remote Sens. Environ. 2016, 175, 92–108. [Google Scholar] [CrossRef]
- Lau, B.P.L.; Marakkalage, S.H.; Zhou, Y.; Hassan, N.U.; Yuen, C.; Zhang, M.; Tan, U.X. A survey of data fusion in smart city applications. Inf. Fusion 2019, 52, 357–374. [Google Scholar] [CrossRef]
- Xue, X.; Yu, Z.; Zhu, S.; Zheng, Q.; Weston, M.; Wang, K.; Gan, M.; Xu, H. Delineating Urban Boundaries Using Landsat 8 Multispectral Data and VIIRS Nighttime Light Data. Remote Sens. 2018, 10, 799. [Google Scholar] [CrossRef]
- Song, Y.; Long, Y.; Wu, P.; Wang, X. Are all cities with similar urban form or not? Redefining cities with ubiquitous points of interest and evaluating them with indicators at city and block levels in China. Int. J. Geogr. Inf. Sci. 2018, 32, 2447–2476. [Google Scholar] [CrossRef]
- Richardson, H.W. The Economics of Urban Size; Saxon House: Lexington, KY, USA, 1973. [Google Scholar]
- Cole, J.P. Study of major and minor civil divisions in political geography. In Proceedings of the 20th International Geographical Congress, London, UK, 20–28 July 1964. [Google Scholar]
- Gibbs, J.P. Urban Research Methods; Van Nostrand: Princeton, NJ, USA, 1961. [Google Scholar]
- Galster, G.; Hanson, R.; Ratcliffe, M.R.; Wolman, H.; Coleman, S.; Freihage, J. Wrestling Sprawl to the Ground: Defining and measuring an elusive concept. Hous. Policy Debate 2001, 12, 681–717. [Google Scholar] [CrossRef]
- Tsai, Y.-H. Quantifying Urban Form: Compactness versus ‘Sprawl’. Urban Stud. 2016, 42, 141–161. [Google Scholar] [CrossRef]
- Siedentop, S.; Fina, S. Monitoring urban sprawl in Germany: Towards a GIS-based measurement and assessment approach. J. Land Use Sci. 2010, 5, 73–104. [Google Scholar] [CrossRef]
- Hamidi, S.; Ewing, R. A longitudinal study of changes in urban sprawl between 2000 and 2010 in the United States. Landsc. Urban Plan. 2014, 128, 72–82. [Google Scholar] [CrossRef]
- Jia, M.; Zhang, H.; Yang, Z. Compactness or sprawl: Multi-dimensional approach to understanding the urban growth patterns in Beijing-Tianjin-Hebei region, China. Ecol. Indic. 2022, 138, 108816. [Google Scholar] [CrossRef]
- Qi, W.; Fang, C.; Song, J. Measurement and spatial distribution of urban agglomeration industrial compactness in China. Chin. Geogr. Sci. 2008, 18, 291–299. [Google Scholar] [CrossRef]
- Tan, F.; Lu, Z. The impact of urban compactness on urban sustainable development in China: The case of Nanjing. Sustain. Dev. 2018, 27, 270–280. [Google Scholar] [CrossRef]
- Newman, P.W.G.; Kenworthy, J.R. Gasoline Consumption and Cities. J. Am. Plan. Assoc. 1989, 55, 24–37. [Google Scholar] [CrossRef]
- Gordon, P.; Richardson, H.W. Are Compact Cities a Desirable Planning Goal? J. Am. Plan. Assoc. 1997, 63, 95–106. [Google Scholar] [CrossRef]
- Jabareen, Y.R. Sustainable Urban Forms. J. Plan. Educ. Res. 2016, 26, 38–52. [Google Scholar] [CrossRef]
- Ewing, R.; Hamidi, S. Compactness versus Sprawl. J. Plan. Lit. 2015, 30, 413–432. [Google Scholar] [CrossRef]
- van Nes, A. Spatial Configurations and Walkability Potentials. Measuring Urban Compactness with Space Syntax. Sustainability 2021, 13, 5785. [Google Scholar] [CrossRef]
- Wang, Y.; Liu, Y.; Zhou, G.; Ma, Z.; Sun, H.; Fu, H. Coordinated Relationship between Compactness and Land-Use Efficiency in Shrinking Cities: A Case Study of Northeast China. Land 2022, 11, 366. [Google Scholar] [CrossRef]
- Yue, W.; Wu, T.; Liu, X. Developing an urban sprawl index for China’s mega-cities. Acta Geogr. Sin. 2020, 75, 2730–2743. [Google Scholar]
- Lan, T.; Shao, G.; Xu, Z.; Tang, L.; Sun, L. Measuring urban compactness based on functional characterization and human activity intensity by integrating multiple geospatial data sources. Ecol. Indic. 2021, 121, 107177. [Google Scholar] [CrossRef]
- Xia, C.; Yeh, A.G.-O.; Zhang, A. Analyzing spatial relationships between urban land use intensity and urban vitality at street block level: A case study of five Chinese megacities. Landsc. Urban Plan. 2020, 193, 103669. [Google Scholar] [CrossRef]
- Arsanjani, J.J.; Tayyebi, A.; Vaz, E. GlobeLand30 as an alternative fine-scale global land cover map: Challenges, possibilities, and implications for developing countries. Habitat Int. 2016, 55, 25–31. [Google Scholar] [CrossRef]
- Hong, Y.; Yao, Y. Hierarchical community detection and functional area identification with OSM roads and complex graph theory. Int. J. Geogr. Inf. Sci. 2019, 33, 1569–1587. [Google Scholar] [CrossRef]
- Natural Resources and Planning Bureau of Yueqing City. Yueqing Municipal Master Plan (2013–2030). Available online: http://www.yueqing.gov.cn/art/2020/10/30/art_1322027_59198023.html (accessed on 20 August 2022).
- Cooper, C.H.V.; Chiaradia, A.J.F. sDNA: 3-d spatial network analysis for GIS, CAD, Command Line & Python. SoftwareX 2020, 12, 100525. [Google Scholar] [CrossRef]
- Zhejiang Urban and Rural Planning Design Institute. The 2011–2020 Urban System Planning of Zhejiang Province. Available online: https://www.zjplan.com/product/48.html (accessed on 20 August 2022).
- Jacobs, J. The Death and Life of Great American Cities (New York: Random). In Versión Castellana (1967) Muerte y Vida de las Grandes Ciudades; Península: Madrid, Spain, 1961. [Google Scholar]
- Zhang, X.; Pan, J. Spatiotemporal Pattern and Driving Factors of Urban Sprawl in China. Land 2021, 10, 1275. [Google Scholar] [CrossRef]
- Guan, C.; Wang, Y.; Keith, M.; Li, Y.; Cao, G. Does local planning of fast-growing medium-sized towns lead to higher urban intensity or to sprawl? Cases from Zhejiang Province. Cities 2022, 130, 103869. [Google Scholar] [CrossRef]
- Xi, J. Central Urban Work Conference. 2015. Available online: http://www.xinhuanet.com//politics/2015-12/22/c_1117545528.htm (accessed on 20 August 2022).













| Publication | Data | Method | Boundary (Liubai District) | Annotation |
|---|---|---|---|---|
| Ying Long (2016) [11] | Vector network | A city is defined as “a spatial cluster with a minimum of 100 road/street junctions within a 300 m distance threshold.” | ![]() | The boundary is calculated using OSM road networks in this study |
| Shuang Ma et al. (2019) [20] | Community boundary and remote sensing data | The ArcGIS platform overlays urban built-up land with community boundaries to determine the proportion of urban built-up land within each community. Communities exceeding 40% are candidates for urban physical territories, and physical territories that are contiguous and exceed 10 km2 are PUAs. | ![]() | Available at https://www.beijingcitylab.com/data-released-1/data21–40/ |
| This paper | Vector network and remote sensing data | / | ![]() | / |
| Year | Number | Total Area/km2 | Mean Area/km2 | Standard Deviation/km2 | Maximum/km2 |
|---|---|---|---|---|---|
| 2000 | 46 | 290.3 | 6.3 | 9.1 | 54.6 |
| 2010 | 54 | 521.1 | 9.7 | 14.9 | 71.8 |
| 2020 | 95 | 904.0 | 9.5 | 16.2 | 100.0 |
| County Unit | Area in 2000/km2 | Area in 2010/km2 | Area in 2020/km2 | 2000–2010 | 2010–2020 | ||
|---|---|---|---|---|---|---|---|
| New Area/km2 | Expansion Rate | New Area/km2 | Expansion Rate | ||||
| Taizhou downtown | 55.3 | 114.4 | 178.7 | 59.1 | 106.90% | 64.3 | 56.20% |
| Sanmen | 2.8 | 10.5 | 21.7 | 7.7 | 275.00% | 11.2 | 106.70% |
| Linhai | 19.9 | 34.9 | 66.7 | 15 | 75.40% | 31.8 | 91.10% |
| Wenling | 23.9 | 45.2 | 109.2 | 21.3 | 89.10% | 64 | 141.60% |
| Yuhuan | 15 | 32 | 52.9 | 17 | 113.30% | 20.9 | 65.30% |
| Wenzhou downtown | 78.1 | 120.8 | 187 | 42.7 | 54.70% | 66.2 | 54.80% |
| Yueqing | 26.1 | 46.8 | 96.8 | 20.7 | 79.30% | 50 | 106.80% |
| Yongjia | 9.4 | 18.6 | 27.9 | 9.2 | 97.90% | 9.3 | 50.00% |
| Rui’an | 33.3 | 49.6 | 73.4 | 16.3 | 48.90% | 23.8 | 48.00% |
| Pingyang | 5.8 | 13.2 | 32.4 | 7.4 | 127.60% | 19.2 | 145.50% |
| Cangnan | 20.7 | 35.2 | 57.3 | 14.5 | 70.00% | 22.1 | 62.80% |
| Year | Category | Number | Total Area/km2 | Mean Area/km2 | Number of Cross-Category City |
|---|---|---|---|---|---|
| 2000 | Type A | 21.5 | 208.9 | 9.7 | 2 |
| Type B | 20 | 71.3 | 3.6 | ||
| Type C | 4.5 | 10 | 2.2 | ||
| Total | 46 | 290.3 | 6.3 | ||
| 2010 | Type A | 22.5 | 372.7 | 16.6 | 3 |
| Type B | 22.5 | 116.9 | 5.2 | ||
| Type C | 9 | 31.5 | 3.5 | ||
| Total | 54 | 521.1 | 9.7 | ||
| 2020 | Type A | 39.8 | 596.3 | 15 | 8 |
| Type B | 32.3 | 222.6 | 6.9 | ||
| Type C | 22.8 | 85.1 | 3.7 | ||
| Total | 95 | 904 | 9.5 |
| Dimension | Indicator | Weight |
|---|---|---|
| External profile index | RI | 0.087 |
| CI | 0.076 | |
| Accessibility of road network | AC800 | 0.209 |
| AC5000 | 0.288 | |
| Land use intensity | NLI | 0.066 |
| Functional diversity | PD | 0.208 |
| PMI | 0.066 |
| Category | RI | CI | AC800 | AC5000 | NLI | PD | FMI |
|---|---|---|---|---|---|---|---|
| Highest compactness | 0.48 | 0.45 | 0.54 | 0.56 | 0.69 | 0.73 | 0.82 |
| Higher compactness | 0.43 | 0.45 | 0.27 | 0.21 | 0.53 | 0.66 | 0.81 |
| Medium compactness | 0.45 | 0.41 | 0.17 | 0.13 | 0.46 | 0.34 | 0.62 |
| Lower compactness | 0.48 | 0.42 | 0.10 | 0.10 | 0.35 | 0.14 | 0.45 |
| Lowest compactness | 0.53 | 0.32 | 0.04 | 0.03 | 0.26 | 0.05 | 0.22 |
Publisher’s Note: MDPI stays neutral with regard to jurisdictional claims in published maps and institutional affiliations. |
© 2022 by the authors. Licensee MDPI, Basel, Switzerland. This article is an open access article distributed under the terms and conditions of the Creative Commons Attribution (CC BY) license (https://creativecommons.org/licenses/by/4.0/).
Share and Cite
Dai, X.; Jin, J.; Chen, Q.; Fang, X. On Physical Urban Boundaries, Urban Sprawl, and Compactness Measurement: A Case Study of the Wen-Tai Region, China. Land 2022, 11, 1637. https://doi.org/10.3390/land11101637
Dai X, Jin J, Chen Q, Fang X. On Physical Urban Boundaries, Urban Sprawl, and Compactness Measurement: A Case Study of the Wen-Tai Region, China. Land. 2022; 11(10):1637. https://doi.org/10.3390/land11101637
Chicago/Turabian StyleDai, Xiaoling, Jiafeng Jin, Qianhu Chen, and Xin Fang. 2022. "On Physical Urban Boundaries, Urban Sprawl, and Compactness Measurement: A Case Study of the Wen-Tai Region, China" Land 11, no. 10: 1637. https://doi.org/10.3390/land11101637
APA StyleDai, X., Jin, J., Chen, Q., & Fang, X. (2022). On Physical Urban Boundaries, Urban Sprawl, and Compactness Measurement: A Case Study of the Wen-Tai Region, China. Land, 11(10), 1637. https://doi.org/10.3390/land11101637




