Abstract
Active substances detected in surface water in Hungary today include pain and anti-inflammatory agents and antiepileptics, as wastewater treatment mechanisms cannot remove these micropollutants. The aim of our research is to detect residues of four pain-killer drugs—naproxen, nimesulide, diclofenac, and ibuprofen—and an anti-epileptic drug—carbamazepine—in water samples we collected (n = 8) from the Danube. Our samples were concentrated using solid-phase extraction and then detected with HPLC. During the evaluation, we looked for a significant difference in the concentration of the active substances. Naproxen was detectable in the largest amount in one sampling point, with an average concentration of 12,029.337 ± 1772.957 ng/L, while ibuprofen was present in the second highest concentration in another sampling site, which reached an average concentration of 4048.112 ± 2086.789 ng/L. We examined water samples taken from the same sampling sites but at different distances from the riverbank, and we found a significant difference regarding the active substance naproxen at the sampling site in Budapest District XX. The analytes were detected in varying amounts in all the water samples, so the contamination in the examined section is significant. Examining the turnover data on medicines and our results, we concluded that pharmaceutical consumption significantly contributes to the pollution of the Danube. In order to protect water quality, further research would be advisable in the field of mechanisms for wastewater treatment in order to achieve the complete removal of drug residues from wastewater.
1. Introduction
Hungary is rich in surface waters, but these surface waters are not the base of the drinking water supply. The rivers Danube, Tisza, Dráva and Száva make up 75% of our river water resources [1]. The Danube is the second longest river in Hungary, that, according to a survey by the Central Statistics Office, is 417 km long in Hungary, which is 14.6% of the total length. Overall, 4.7% of the Danube’s watershed is located in Hungary [2]. The thick layer of gravel along the Danube works as an excellent physical and biological filter, due to which the so-called radial wells of shallow depth close to the riverbed provide suitable quality of drinking water in terms of health, which constitutes 35% of the drinking water base in Hungary [3].
The Danube provides Budapest with a drinking water supply. Most of our rivers, like the Danube, come from neighboring countries, so the water protection of neighboring countries has a significant impact on the quality of our domestic river waters [4].
Environmental pollutants enter the environment partly as a result of human activity, which poses a threat to living organisms. Their harmful effects are determined by three factors: chemical properties, concentration and persistence [5,6]. Pollutants that are present in the environment in very low concentrations (ng/L) are called micropollutants. These may include organic and inorganic micropollutants. Drug residues belong to the group of organic micropollutants. In general, medicines are only partly utilized in the body, and the remaining part leaves the body in the urine or feces [7,8]. Many pollutants are present in wastewater, so it has to go through several cleaning processes in order to be classified as clean, but several studies support the fact that these cannot completely remove metabolites from surface waters [1,9].
Micropollutants can enter the environment in several ways, which can be classified according to the origin of the entry. The first such grouping is the point source, which can be identified in a well-defined way in space and the extent of pollution is limited. The most important point source is the outlet of sewage treatment plants. A significant amount of organic pollutants enters the environment from households through the sewage system, for example, consumed or improperly destroyed medicines, cosmetics, oily and other chemical agents are very likely to enter the sewage system [10]. The number of drug residues is very high; in Europe alone, there are more than two thousand authorized active substances in water that can be detected with targeted tests [1]. The mechanisms for wastewater treatment are not suitable for the removal of most micropollutants, so they enter surface waters with treated wastewater and can also enter the soil with sewage sludge. The second grouping, according to the origin of pollutants, is diffuse pollution, which is difficult to define and typically affects large geographical areas. The environmental burden is typically lower than that of point sources, but the pollution is difficult to limit and less monitorable and controllable, which can affect the groundwater. The most typical diffuse sources include agricultural areas, where significant amounts of pesticides and pharmaceutical derivatives can get into the surface and underground waters during rains from animal excrement [11,12]. After entering the environment, organic micropollutants can undergo biochemical transformations, and as a result, they can dissolve in water or bind to a solid substance. The majority of pollutants are persistent, i.e., they do not decay within a short time; therefore, they can be detected in the environment for a long time. Pseudo-persistent substances dissolve more easily than persistent ones, but the constant supply causes their constant presence [10].
The detection of certain micropollutants—for example, drug residues—in wastewater reflects pharmaceutical consumption [10]. Human activity, impoverished areas and also environmental factors can pose a major risk to the cleanliness of our waters [13,14,15]. The Price Support Department of the National Health Insurance Fund Management (hereinafter: NEAK) publishes the sales data for subsidized medicinal products on a monthly basis, complying with the defined protocol [16]. After extracting the data published by NEAK on 24 February 2022, we examined the data on active substances sold in Budapest and Pest County in relation to the national data, which is illustrated in Figure 1. As the figure shows, the largest quantities of tablets and capsules containing the active substance ibuprofen (hereinafter: IBU) were bought in Budapest and Pest County, which is 77.35% of the national sales.
Figure 1.
National proportion of drug turnover data in Budapest and Pest County in 2021.
Nowadays, pharmaceutical products are widely used, and mainly the consumption of non-steroidal anti-inflammatory drugs (hereinafter: NSAIDs) is increasing. In natural waters, researchers were able to detect drug groups used during several drug treatments, such as antiepileptics, NSAIDs and antibiotics [17]. Studies on the topic have proven that this problem is experienced worldwide. In a study from February 2022, 1052 sampling sites in 104 countries were examined including a set of 258 river water samples. In that research, 61 drug residues were detected. In Hungary, samples were collected from eight sampling sites (n = 8), where the most frequently detected active substances were carbamazepine (hereinafter: CBZ), metformin and caffeine, which could be detected in more than half of the investigated areas. CBZ was detectable in the water samples at an average concentration of 116.35 ng/L in the Danube. In 25.7% of the sampling locations, the concentration of at least one active substance was higher than the safe amount for aquatic organisms [18].
In 2020, a study was published on the presence of antibiotics, anti-epileptic and anti-inflammatory drugs in the Eastern Cape province of South Africa. Samples were collected in the upstream, middle and downstream flow regions of selected rivers, as well as from wastewater from selected wastewater treatment plants. The samples were lyophilized and solid-phase extraction was applied. The percentage recovery after purification with SPE was 103% ± 6.9%. Subsequently, electrospray ionization tandem mass spectrometry coupled to UHPLC was used. The analytes detected were sulfamethoxazole, erythromycin, clarithromycin and CBZ. CBZ was detected between minimum concentrations of 81.8 ng/L and maximum concentrations of 36,576.2 ng/L. Significantly lower drug concentrations were measured at upstream sites with faster flow rates than at downstream sites with slower flow rates [19].
The effectiveness of riverside screening has also been studied by researchers in The Netherlands. Their study investigated the fate of organic micropollutants during long-term riverbank filtration. They sampled wells along the river Lek between 1999 and 2013. In total, 247 organic compounds were above the detection limit, of which 29 micropollutants were selected for detailed analysis using on-site riverbank screening. Fourteen compounds were not detected with bank screening, such as ibuprofen and diclofenac (hereinafter: DCL). However, 15 compounds were detectable in both river and riverbank wells, 10 of which, including CBZ, showed a fully persistent behavior, i.e., no decrease in concentration at all, even after 3.6 years of filtration [20].
Coastal filtration of the Ems and Ruhr rivers was also studied in 2020. In four sites, the removal of micropollutants during riverbank filtration was investigated based on the seasonality, redox conditions, distance from shore, initial concentrations and initial sedimentation. Riverside filtration (hereinafter: RBF) is a reliable technique that has been shown to be suitable for the removal of organic micropollutants. Three seasonal sampling procedures were used to investigate the efficiency and dependence of the removal of pharmaceutical residues on several factors such as temperature and geology. Two anoxic (silty sand, for the Ems River) and two oxic (gravel, for the Ruhr River) riverbank filters were investigated in Germany. The tests were performed with HPLC-MS. Seasonal differences in micropollutant concentrations in the rivers were observed for diclofenac. Data for tramadol and carbamazepine indicated a required minimum travel distance of, e.g., 100–200 m for complete removal. Redox dependence was detected for CBZ, but the distance from shore did not seem to be a significant factor. The removal of CBZ was only 70–85% even after long-distance travel, which may be partly due to the increased concentration in the Ems River (about 200 ng/L). CBZ is only partially degraded, and the rate of removal was highly dependent on site characteristics; therefore, further clean-up steps are required for complete removal [21].
It is also important to assess the effectiveness of wastewater treatment plants, which was examined in a study in England. That research investigated the presence of pharmacologically active compounds (hereinafter: PhACs) in the River Thames. Thirty-seven samples were collected and analyzed with liquid chromatography coupled to a mass spectrometer after appropriate sample preparation. The average concentration of the drugs was 2.6 mg/L. Similarly, in South Africa, the efficiency of wastewater treatment plants was also investigated. The highest levels of CBZ were found in the Eerstehoek wastewater treatment plant water (58 ± 0.2 ng/L). Bisphenol-A was the most widespread micropollutant and was present in 62% of the water samples. The detected contaminants presented an ecotoxicological risk based on the water samples, especially for samples from the Mpumalanga province [22].
Furthermore, the researchers also assessed the state of pharmaceutical pollution in Hungarian rivers. A research group investigated the presence of pollutants in the river water and in the coastal filtrate within the Budapest section of the Danube. Six samples were taken on Szentendrei Island (n = 6) and 24 samples on Csepel Island (n = 24). Diclofenac was also detected in the samples. The amount of the active substance in the water from the Danube in Szentendre was determined to be between 70 and 442 ng/L. Similar values, 59–418 ng/L, were obtained from the Danube in Csepel. Regarding carbamazepine, a maximum concentration of 40 ng/L was measured in samples taken from the Danube in Szentendre, while a maximum concentration of 54 ng/L was measured in samples from the Danube in Csepel. Overall, 12 of the 36 analyzed analytes were detected in all samples [23].
Surface waters are becoming more and more polluted with PhAC, which is a potential risk factor for the quality of drinking water due to the filtration deficiencies of the riverbank [24,25]. A Hungarian study examined the effectiveness of riverside screening for 111 PhACs in one part of the Danube. In total, 107 samples from the Danube were compared with 90 samples taken from drinking water wells during 5 sampling periods. During the research, 52 PhACs were detected from the river water, and 10 active compounds were present in more than 80% of the samples. The active substance DCL, belonging to the NSAID group, was found in 87.9% of the samples, and the active substance naproxen (hereinafter: NAP) was detected in 5.6%. Only 32 compounds were detected in the samples from the drinking water wells in extremely low concentrations. In comparison with the results of the river tests, for example, DCL occurred in well water in only 1.1%. CBZ could be found in 106 samples (99.1%) with an average concentration of 77.2 ng/L. During the examination of the riverside filtration, 15 of the 22 active analytes discovered in the water were almost completely removed by riverside filtration. However, the efficiency of the procedure does not necessarily mean that a specific active compound has been completely removed from the water because it remains in the environment in the form of various metabolites that can be detected even after several years. In conclusion of the study, it was determined that riverbank filtration removes most of the pharmaceutically active compounds from the river water [26].
In addition, a study was carried out in Romania to assess water quality for PhACs. Samples were taken from 10 locations, 2-2 from the Prahova and Danube Rivers, 1-1 from the Timis, Siret, Prut and Jijia Rivers, a sample from a lake near Husi town and a drinking water sample from the Danube. Samples were purified and concentrated using solid-phase extraction. The analysis was carried out using UHPLC-MS. Drug residues were found in nine samples; only in the sample from the Timis River could they not be detected. CBZ was not detected only in the sample from the lake, and the other samples had concentrations between 5 and 25 ng/L. It is worth noting that diclofenac was present in the drinking water at concentrations of 50 ng/L, which exceeds the maximum concentration of diclofenac in surface water [27].
However, not only rivers but also small streams are essential but very vulnerable elements of ecological networks. A Hungarian research group investigated the smaller watercourses of the Budapest agglomeration including the Danube for 2 years in terms of their contamination with pharmaceutical residues and examined 141 water and sediment samples. During the research, in 2017 and 2018, samples were taken from 26 small streams at a total of 75 sampling locations. Altogether, 111 PhACs were tested in the water and sediment of the streams, of which 81 PhACs were successfully detected in the water samples, and 62 types of drug residues were found in the sediment. The most frequently identified pharmacologically active compound was carbamazepine, which was found in 91.5% of all samples. CBZ was measured in the highest concentration in the sediment samples at 395.9 ng/g. As for DCL, a non-steroidal anti-inflammatory agent, the maximum concentration reached 2070 ng/L; in addition, it exceeded 100 ng/L during the examination of 39 other samples. NAP is also an NSAID-active substance that appeared much less frequently in the water, but its maximum value was 4659.3 ng/L, which was the 4th highest value among all the substances examined by the researchers [28].
Moreover, not only rivers and streams but also lakes are exposed to contamination by pharmaceutical residues, which was investigated in a Chinese study on the seasonal occurrence of 23 antibiotics, paracetamol and CBZ in Lake Taihu. High detection rates (>70%) were observed for almost all 25 analytes tested [29]. A total of 111 organic micropollutants were also assessed from Lake Mälaren in Sweden in water and sediment samples. For this research, an HPLC-MS/MS system was used. A total of 30 contaminants were detected in the lake water and 24 in the sediment. CBZ was found to be a very dominant compound in both water and sediment samples during the study. CBZ was present at an average concentration of 12 ng/L in the water samples. It was concluded that sorption to sediment plays a minor role in the removal of CBZ in the aqueous phase. A risk analysis was performed, and it was concluded that most of the compounds, such as diclofenac, pose a low risk to the lake ecosystem at the detected levels. However, it is important to monitor the concentrations of these compounds [30]. The waters and catchment area of Lake Balaton in Hungary were also studied by a team of researchers. There were 10 sampling sites, which were sampled at different times of the year. After solid-phase extraction, the samples were analyzed using a supercritical fluid chromatography system and mass spectrometry. In June 2017, the average CBZ concentration was 173.1 ng/L, and the average concentration of the active substance NAP was 42.5 ng/L. In the month of April 2018, the average concentration of the active substance CBZ was 126 ng/L, and the active substance NAP was not detectable, while DCL was detectable in this month and reached a concentration of 221.4 ng/L. Furthermore, it should be noted that MDMA, a hallucinogen, was detectable in all 4 months studied at an average concentration of between 3.2 ng/L and 10.6 ng/L. The study found that all sampling sites were contaminated with PhAC, but their distribution and concentrations showed spatial and temporal variation. However, a lower but more variable PhAC contamination was detected at sites exposed to mass tourism [31].
In 2020, a team of researchers studied the thermal water flow of six different thermal baths in Budapest during different seasons and with daily analysis. After solid-phase extraction, the samples were analyzed with supercritical fluid chromatography and mass spectrometry and PhACs were quantified. The anti-epileptic drug CBZ was detected in more than half of the samples. Among the NSAIDs, the prevalence of DCL was also significant (30–50%). Typically, the thermal water used is discharged into surface waters without treatment, which poses a significant environmental risk to the receiving surface water [32].
A research group also examined tap water samples for PhAC contamination. A total of 108 tap water samples were collected from 21 sampling locations (e.g., pharmacies, schools, shops) from November 2017 to November 2018. A quantitative analysis of PhACs was investigated using supercritical fluid chromatography and mass spectrometry. A total of 102 PhAC tests and 19 compounds were detected in tap water samples. In the case of CBZ, the minimum amount was 0.15 ng/L, and the maximum measured amount was 77.16 ng/L. Among NSAIDs, the minimum and maximum measured value of DCL was 4.2 ng/L. The most frequently detected compound was CBZ, which was present in more than half of the tap water samples. From the results, the researchers concluded that although surface water is effectively filtered by the RBF, some PhAC may still appear in tap water [33].
In terms of their activity, drug residues can be present in surface waters as active and inactive compounds. Drug exposure in surface waters has many negative effects, affecting both aquatic life and humanity [34]. From the aspect of aquatic life, negative effects include a reduced number of individuals and species and reproductive disorders, while in the human body, infertility and damage to the nervous system can be observed [35,36]. A study from 2019 highlights that micropollutants pose a serious threat to aquatic life. During the research, 10 organic micropollutants (bisphenol A, diclofenac, diuron, CBZ, diazinon, triclosan, flusilazole, cyprodinil, penconazole, genistein) and the toxicity of their compounds were investigated. The experimental results demonstrated that all 10 analytes had toxic effects on zebrafish embryos, aquatic invertebrates and algae. In the Danube and the Rhine, triclosan, CBZ, diazinon and diuron were the most dangerous compounds [37].
A 2020 study assessed the presence of pharmaceutical residues in plants irrigated with treated wastewater. The research found that in water-scarce regions where irrigation with treated wastewater is widespread, people are unknowingly exposed to CBZ [38]. In addition, a 2020 study showed that medicinal residues in surface waters also affect bees. In that research, the authors investigated the translocation of pharmaceutical residues from wastewater to beehives, showing that contamination from wastewater used in agricultural irrigation can translocate to beehives [39].
The aim of our research is to detect pain-killer residues (naproxen, nimesulide, diclofenac ibuprofen) and an anti-epileptic drug residue (carbamazepine) in natural surface water samples using the high-performance liquid chromatography (hereinafter: HPLC) method. We intend to compare the detected drug residue concentrations in water samples from the same sampling location but at different distances from the bank. We will examine our obtained results to reveal the difference between the coastal and the wake samples in relation to the concentration of the analyzed analytes. Furthermore, we will examine the concentration of the detected active substances to see if an increasing trend can be detected downstream as well.
2. Materials and Methods
Sampling
The samples were collected on 23 October 2021. From each sampling location (Figure 2), two types of samples were taken 20–25 cm deep from the water surface. A 5 L water sample was collected from the water 15 m far from the bank. The other 2 L water sample was collected from the water 5 m far from the bank.
Figure 2.
Sampling sites (Resource: Google Maps).
We collected water samples from four sampling sites. At the first and second sampling sites (Szentendre, Postás Beach; Békásmegyer, Pünkösdfürdő Street), we took the samples from a tributary: the Szentendrei Danube branch. The third sampling location (Budapest, District XI, Kopaszi Dam) provided samples from the main branch of the Danube, while the samples collected from the last sampling location (Budapest, District XX, Upper Danube bank) were taken from the Ráckevei–(Soroksári) –Danube branch, separated by the Kvassay floodgates.
The data on the current stage of the Danube were collected from the website of the General Directorate for Water of the Ministry of the Interior [40]. The first sample was taken at Postás Beach in Szentendre (47.66090° N, 19.08171° E). The water level at that time was 2 cm, and compared to the data from 22 October 2021, the stage decreased by 4 cm. The second sampling took place at the beach on Pünkösdfürdő Street in Békásmegyer (47.59339° N, 19.07040° E). The water level was 2 cm, and compared to the data the previous day, the water level decreased again by 4 cm. The third sampling site was in Budapest District XI at the Kopaszi Dam (47.4652° N, 19.06386° E). The water level was 120 cm on 23 October 2021 at 4:00 PM. Compared to the data from 4:00 PM on 22 October 2021, the water level decreased by 1 cm. The fourth sampling site was at the Ráckevei–(Soroksári) –Danube branch, in Budapest, District XX, Upper Danube bank (47.41650° N, 19.09858° E). The water level was 163 cm at 7:00 AM on 23 October 2021, and compared to the previous day, the stage decreased by 2 cm.
The samples were collected and then transported to the Kaposvár Training Center of the Faculty of Health Sciences at the University of Pécs. The water samples were stored refrigerated at 4 °C during this research.
3. Preparation of Samples
The processing of the samples started on 18 November 2021. First, the refrigerated samples were filtered through filter paper, and then a 0.45 µm membrane filter (VWR Syringe Filter Nylon, 25 mm, 0.45 µm) was used. The pH of the filtered samples was examined. The pH of the samples from the Szentendre sampling site was 7.06. At the Békásmegyer sampling site, the pH of the sample collected 5 m from the shore was 7.06, while the pH of the sample collected 15 m from the shore was 7.04. At the sampling location in Budapest District XI, the pH of the water sample collected 5 m from the shore was 7.41, while the pH of the sample collected 15 m from the shore was 7.43. At the last sampling location (Budapest XX district), the pH of the sample collected 5 m from the shore was 6.4, and the pH of the sample collected 15 m from the shore was 6.3.
Subsequently, the pH of the samples was adjusted to 3.2 with a 50% acetic acid solution (Adwa AD1030 pH/mV & Temperature Meter), and then the samples were placed in an ultrasonic bath for 15 min.
Solid-Phase Extraction
The concentration of drug residues in the samples is expected to be very small according to our presumption and previous research. Therefore, solid-phase extraction was applied in order to achieve the highest possible concentration. An Agilent Mega Bond Elut-C-18 column was used for the extraction. The size of the load was 1 g, and the volume of the column was 60 mL. The column was conditioned with 10 mL of 99.9% HPLC-grade methanol (VWR International Ltd., Debrecen, Hungary) and 10 mL HPLC high-purity water (VWR International Ltd., Debrecen, Hungary). For samples collected 15 m from the shore, 5 L of liquid was run through the column, and for samples collected 5 m from the shore, 2 L of the sample was run through the column. Subsequently, 4 mL of acetonitrile at 99.9% HPLC purity was used to dissolve the active substances from the column. The 4 mL sample was then placed in an ultrasonic bath for 5 min and then filtered with a 0.45 µm membrane filter.
4. Spectral Imaging of Drug Residues
Applying a spectrophotometric method (Shimadzu UV-VIS Spectrophotometer UV-1280), the absorption spectrum for the standard solution of drug residues was taken from 190 nanometres to 320 nanometres and the location of the absorption maxima. Eventually, four wavelengths were selected. The active substance ibuprofen was tested at 195 nanometres, naproxen was detected at 230 nanometres, carbamazepine and nimesulide were detected at 240 nanometres and diclofenac was detected at 280 nanometres.
5. Development of the HPLC Method
The application on the Thermo Scientific AppsLab Library Application website makes several recommendations for the detection of drugs, from which the method most suitable for the examined analytes was selected [41]. Only the test time and the injection volume were changed from the original method. The examination time was reduced to 20 min. The flow rate was 0.4 mL/min, and the volume of the injection was initially 1.5 μL, which was later increased to 20 μL. Eluent A was a solution of 0.1% phosphoric acid (Reanal Laboratory Chemicals Ltd., Budapest, Hungary) and HPLC-pure water (VWR International Ltd. Debrecen, Hungary). Eluent B was 95% HPLC-pure acetonitrile (VWR International Ltd. Debrecen, Hungary), which contains 0.1% phosphoric acid solution. Gradient elution was applied, which is described in Table 1.
Table 1.
Ratios of HPLC-method eluents (%) as a function of time (minutes).
The analysis was performed with the Agilent 1260 Infinity II HPLC, which was equipped with a UV-VIS detector. The column required for HPLC is the Luna Omega 5 μm PS C18 LC Column by Phenomenex with a size of 250 × 4.6 mm. The column temperature was 25 ± 3 °C during the measurements.
6. Examination of Standard Solutions
The standard dilution sequence was detected at the nanometer adjusted to the active substances. The average retention time for the analyzed analytes is described in Table 2, which was determined from the standard solutions:
Table 2.
Analytes to be tested and their retention times.
The following figures show the chromatograms for the standard solutions of the active substances.
The retention time of carbamazepine on this chromatogram (Figure 3) is 11.941 min.
Figure 3.
Chromatogram showing the carbamazepine drug standard solution at 240 nm as a function of detector signal (mAU) and time (min).
The retention time of naproxen on this chromatogram (Figure 4) is 12.842 min.
Figure 4.
Chromatogram showing the naproxen drug standard solution at 230 nm as a function of detector signal (mAU) and time (min).
The retention time of nimesulide on this chromatogram (Figure 5) is 13.046 min.
Figure 5.
Chromatogram showing the nimesulide drug standard solution at 240 nm as a function of detector signal (mAU) and time (min).
The retention time of diclofenac on this chromatogram (Figure 6) is 13.961 min.
Figure 6.
Chromatogram showing the diclofenac drug standard solution at 280 nm as a function of detector signal (mAU) and time (min).
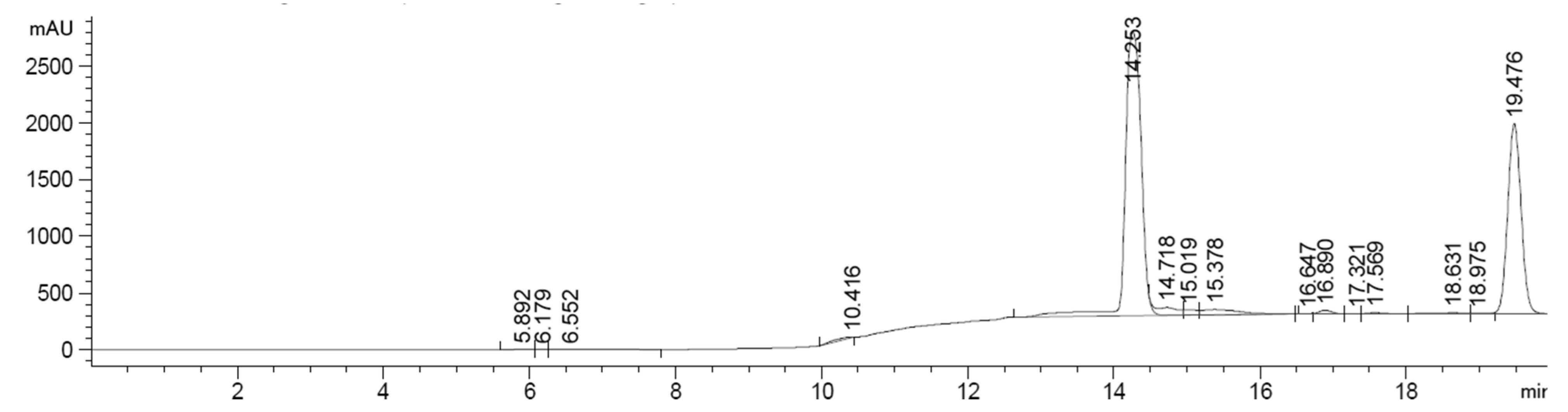
The retention time of ibuprofen on this chromatogram (Figure 7) is 14.253 min.
Figure 7.
Chromatogram showing the ibuprofen drug standard solution at 195 nm as a function of detector signal (mAU) and time (min).
To demonstrate the reliable application of the analytical method, the limit of detection and limit of quantitation were established, and the results are summarized in the following table (Table 3).
Table 3.
Results for limit of detection (hereinafter: LOD) and limit of quantitation (hereinafter: LOQ).
7. Results
A total of eight water samples (n = 8) were processed in our research. We were able to detect all the analytes of the five active substances tested with the applied method. The significance, which was examined in the results of the samples taken 5 and 15 m from the bank at a given sampling location, is marked with * in the figures.
7.1. Carbamazepine
At the sampling site in Szentendre, CBZ could be detected at an average concentration of 272.68 ± 67.57 ng/L. The average concentration of the active substance in the samples taken from 15 m was 40.58 ± 40.19 ng/L. A significantly higher concentration (p = 0.00069) could be measured in the samples collected from 5 m than in samples taken from 15 m.
At the sampling site in Békásmegyer, we measured an average concentration of 101.14 ± 63.66 ng/L in samples taken 5 m from the riverbank. In the samples collected from 15 m, the average concentration was 45.59 ± 27.17 ng/L. A significantly higher concentration (p = 0.0478) could be measured in the samples collected from 5 m compared to the samples taken from 15 m.
At the sampling site in Budapest District XI, we measured an average concentration of 87.90 ± 46.45 ng/L in samples taken 5 m from the riverbank. In the samples collected from 15 m, the average concentration was 30.45 ± 24.76 ng/L. A significantly higher concentration (p = 0.0176) could be measured in the samples collected from 5 m compared to the samples taken from 15 m.
At the sampling site in Budapest District XX, the average concentration was 133.63 ± 53.37 ng/L in the water samples taken 5 m from the riverbank. In the samples collected from 15 m, the average concentration was 174.75 ± 24.19 ng/L. No significant difference (p = 0.0624) could be detected between the concentrations of the samples taken from 5 m and the samples taken from 15 m.
The concentrations of the active substance carbamazepine that we detected at different sampling sites are shown in the following figure (Figure 8).
Figure 8.
Examination of the active substance carbamazepine at different sampling sites. The significance, which was examined in the results of the samples taken 5 and 15 m from the bank at a given sampling location, is marked with * in the figures.
7.2. Naproxen
At the sampling site in Szentendre, naproxen was present at an average concentration of 177.114 ± 16.873 ng/L in the sample taken 5 m from the riverbank, while in the sample taken 15 m from the bank, 24 times more was detected, which was an average of 737.183 ± 142.755 ng/L. In the sample taken 15 m from the bank, naproxen was present at a significantly higher concentration (p = 0.0031), marked with *, than in the water sample taken 5 m from the bank.
At the sampling site in Békásmegyer, naproxen was detected at an average concentration of 486.9923 ± 99.160 ng/L in the sample taken 5 m from the riverbank. In other words, it was present in a higher concentration than at 15 m from the bank, where it was 249.9073 ± 55.657 ng/L on average. We were able to analyze the active substance in a significantly higher concentration (p = 0.0024) in the sample taken 5 m from the bank than from 15 m.
At the sampling site in Budapest District XI, naproxen was detected at an average concentration of 1125.485 ± 356.052 ng/L. Furthermore, only an average concentration of 359.386 ± 80.235 ng/L could be analyzed in the water sample taken 15 m from the bank. Naproxen was present in a significantly higher concentration (p = 0.0088) in the water sample taken 5 m from the bank than in the sample taken 15 m from the bank.
Finally, naproxen was detected in the highest concentration in the two water samples collected from the last sampling location, Budapest District XX. In the sample taken 5 m from the bank, an average concentration of 3848.958 ± 733.236 ng/L was measured. At 15 m from the bank, the concentration was 32% higher at 12,029.337 ± 1772.957 ng/L on average. In the water sample taken 15 m from the bank, we could detect a significantly higher concentration (p = 0.0007) than in the sample taken 5 m from the bank.
The concentrations of the active substance naproxen that we detected at different sampling sites are shown in the following figures (Figure 9 and Figure 10).
Figure 9.
Examination of naproxen in samples taken 5 m from the riverbank. The significance, which was examined in the results of the samples taken 5 m from the bank at a given sampling location, is marked with * in the figures.
Figure 10.
Examination of naproxen in samples taken 15 m from the riverbank. The significance, which was examined in the results of the samples taken 15 m from the bank at a given sampling location, is marked with * in the figures.
7.3. Nimesulide
At the sampling site in Szentendre, the active substance nimesulide was detected at an average concentration of 106.6388 ± 81.516 ng/L in the water sample taken 5 m from the riverbank, while 15 m from the bank, we measured 415.798 ± 301.953 ng/L on average. A significant difference (p = 0.040) could be measured in the water samples taken 5 and 15 m from the bank.
At the sampling site in Békásmegyer, an average concentration of 255.9678 ± 142.916 ng/L was detected in the sample taken 5 m from the bank and 134.8687 ± 18.192 ng/L in the sample taken 15 m from the bank. There was no significant difference (p = 0.0654) in the water samples taken 5 m and 15 m from the bank.
At the sampling site in Budapest District XI, the samples showed the active substance in the Danube at an average amount of 103.4622 ± 127.078 ng/L in the sample taken from 5 m, and at an average amount of 67.8829 ± 15.181 ng/L in the sample collected 15 m from the bank. No significant difference (p = 0.3513) could be measured in the water samples taken 5 and 15 m from the bank.
Finally, at the last sampling location, in Budapest District XX, the highest amount of nimesulide was detected in the sample taken 5 m from the bank and was on average 1065.004 ± 383.379 ng/L. In the sample taken 15 m from the bank, it was only present at an average concentration of 25.5803 ± 13.702 ng/L. The active substance nimesulide was measured in a significantly higher concentration (p = 0.0072) in the sample taken 5 m from the bank than in the sample taken from 15 m.
The concentrations of the active substance nimesulide that we detected at different sampling sites are shown in the following figures (Figure 11 and Figure 12).
Figure 11.
Examination of nimesulide in a sample taken 5 m from the riverbank. The significance, which was examined in the results of the samples taken 5 m from the bank at a given sampling location, is marked with * in the figures.
Figure 12.
Examination of nimesulide in a sample taken 15 m from the riverbank. The significance, which was examined in the results of the samples taken 15 m from the bank at a given sampling location, is marked with * in the figures.
7.4. Diclofenac
At the sampling site in Szentendre, the amount of diclofenac in the water sample taken 5 m from the riverbank was on average 78.5232 ± 15.742 ng/L, while in the sample collected 15 m away, the amount was 85.3131 ± 23.949 ng/L. There was no significant difference (p = 0.3739) between the water samples taken 5 and 15 m from the bank.
At the sampling site in Békásmegyer, the DCL concentration in the sample taken from 5 m was on average 89.4721 ± 25.854 ng/L, and in the sample taken from 15 m, the average concentration of DCL was 41.4493 ± 22.755 ng/L. We were able to detect a significantly higher concentration (p = 0.0040) in the water sample taken 5 m from the riverbank than in the sample collected from 15 m.
At the sampling site in Budapest District XI, an average of 63.4558 ± 31.675 ng/L was analyzed in the sample taken from 5 m, and in addition, an average of 43.189 ± 21.242 ng/L was detected in the sample taken from 15 m. No significant difference (p = 0.0937) could be measured in the water samples taken 5 m and 15 m from the riverbank.
Finally, the water samples taken from Budapest District XX had the two highest concentrations compared to the others, as the sample taken from 5 m had an average concentration of 429.629 ± 33.050 ng/L, while the sample taken from 15 m had an average concentration of 804.459 ± 225.559 ng/L. A significant difference (p = 0.017) was observed in water samples taken 5 and 15 m from the riverbank.
The concentrations of the active substance diclofenac that we detected at different sampling sites are shown in the following figures (Figure 13 and Figure 14).
Figure 13.
Examination of diclofenac in a sample taken 5 m from the riverbank. The significance, which was examined in the results of the samples taken 5 from the bank at a given sampling location, is marked with * in the figures.
Figure 14.
Examination of diclofenac in a sample taken 15 m from the riverbank. The significance, which was examined in the results of the samples taken 15 m from the bank at a given sampling location, is marked with * in the figures.
7.5. Ibuprofen
The active substance ibuprofen was present in the largest amount at the Szentendre sampling site. In the sample taken from 5 m, IBU was present at an average concentration of 4048.112 ± 2086.789 ng/L, while in the sample taken from 15 m, it was on average 2870.183 ± 2305.934 ng/L. There was no significant difference (p = 0.1792) between the water samples taken 5 and 15 m from the riverbank.
At the sampling site in Békásmegyer, the active substance was present at an average amount of 746.248 ± 676.665 ng/L in the water sample taken 5 m from the riverbank, but in the sample taken from 15 m, we could detect an average concentration of 864.412 ± 147.771 ng/L. There was no significant difference (p = 0.5334) between the water samples taken 5 and 15 m from the riverbank.
At the sampling site in Budapest District XI, an average of 1576.571 ± 549.002 ng/L was found in the sample taken from 5 m, while an average of 1197.849 ± 248.042 ng/L was found in the sample taken from 15 m from the bank. No significant difference (p = 0.0797) could be measured in water samples taken 5 and 15 m from the riverbank.
At the sampling site in Budapest District XX, an average concentration of 1540.313 ± 366.619 ng/L was found in the sample taken from 5 m, and we could detect an average concentration of 1347.12 ± 377.269 ng/L in the sample taken from 15 m. No significant difference (p = 0.1893) could be detected in the water samples from 5 m and 15 m from the riverbank.
Ibuprofen had the highest concentration in samples collected from three sampling sites (n = 6), including Szentendre, Békásmegyer and Budapest District XI.
The concentrations of the active substance ibuprofen that we detected at different sampling sites are shown in the following figures (Figure 15 and Figure 16).
Figure 15.
Examination of ibuprofen in a sample taken 5 m from the riverbank. The significance, which was examined in the results of the samples taken 5 m from the bank at a given sampling location, is marked with * in the figures.
Figure 16.
Examination of ibuprofen in a sample taken 15 m from the riverbank. The significance, which was examined in the results of the samples taken 15 m from the bank at a given sampling location, is marked with * in the figures.
8. Conclusions
In our research, we were able to prove the presence of four painkillers and an antiepileptic active substance that were investigated in all the collected water samples, which supports our claim that the section of the Danube in concern is significantly polluted. Regarding four active substances, significant differences were found between the water samples taken at the same sampling location but at different distances from the riverbank. Concerning the active substance ibuprofen, no significant differences were found between the concentrations detectable in the water samples.
From our results, we concluded that the active compounds we tested were stable compounds, as they were resistant to environmental factors, including acid stress.
We also examined the pH of the water samples taken from the Danube before processing. The average pH value of the samples (n = 6) taken from the sampling sites in Szentendre, Békásmegyer and Budapest District XI was 7.17, which was significantly different from the water samples collected from Budapest District XX (n = 2), where the average pH value of the samples was 6.35. The difference between the pH value of the sample from the last sampling site compared to the water samples taken from the first three sampling locations was 0.82. The sampling site in Budapest District XX does not come from the main branch of the Danube but from the Ráckevei–(Soroksári)–Danube branch, which—unlike the Szentendrei branch—is separated from the main branch by the Kvassay floodgates. After evaluating the data, we came to the conclusion that water yield and flow rate probably contribute to the difference between the two pH values, since the pH of the water may change as a result of a lower flow rate due to a lower water yield.
Furthermore, we concluded that the active substances we tested were present at almost the highest concentrations in the last sampling site because the concentration of the active substances was also influenced by the water yield and flow rate generated by the Kvassay floodgates.
In our research, we were able to successfully determine five active substances from the water at different concentrations in our samples. In addition, we did not discover either an increasing or a decreasing tendency in the concentration of the analytes between the sampling sites in Szentendre and Budapest District XX, where samples were examined downstream. Based on our results, we came to the conclusion that it would be worthwhile to draw society’s attention to the appropriate dosage of pharmaceutical consumption and also to appropriate waste management of expired or no longer used drugs, as they can pollute the surface waters not only by consumption and discharge but also with inadequate waste management. In further studies, it would be recommended to examine the metabolite products of these active substances in the water of the Danube, from which the drug residues from human pharmaceutical consumption in the water could be accurately determined. Furthermore, it would be advisable to expand this research to other natural surface waters, as well as to the examination of sediment samples, in order to obtain a more complete picture of the pollution in our waters.
After naproxen, ibuprofen was detected in the second highest concentration at the sampling site in Szentendre, in the water sample taken 5 m from the riverbank, at a concentration of 4048.112 ng/L. Hence, our hypothesis that the active substances diclofenac and ibuprofen will be present at the highest concentrations in the surface water was only partially proven using the water samples.
Our hypothesis that the concentrations of the detected drugs will be significantly different between the coastal and the wake samples was only partially proven during our research, as a significant difference could be established in the case of four analytes during the evaluation. The following table describes the tested significance (p-value) between water samples taken 5 and 15 m from the riverbank within the same sampling locations (Table 4). Regarding the active substance naproxen, there was a significant difference between the concentrations detected in water samples collected 5 and 15 m from the bank in all four sampling sites (p < 0.05). As for carbamazepine, we found a significant difference in three sampling sites, while only in two sampling locations for the case of nimesulide and diclofenac.
Table 4.
Significance values for active substances between the concentrations detected in water samples taken 5 and 15 m from the riverbank.
Furthermore, we observed that four active substances could be detected at a higher concentration on average in the water samples taken 5 m from the riverbank than in the samples taken from 15 m. Regarding the active substance naproxen, the concentration detected in the water sample collected 5 m from the riverbank was significantly higher in the two sampling sites than in the water samples taken 15 m from the bank. At the same time, carbamazepine, nimesulide and diclofenac were found in significantly higher concentrations in the water sample taken 5 m from the riverbank than in the sample collected 15 m from the bank in only one sampling site (Table 5).
Table 5.
Average concentration of detected active pharmaceutical substances (ng/L) in each sampling site.
Based on the county and national turnover data on painkillers, anti-inflammatory drugs and carbamazepine published by NEAK and the amount of active substances detected during our research, we concluded that pharmaceutical consumption in the society probably contributes to the pollution of the Danube’s water to a large extent.
9. Discussion
The presence of drug residues in surface waters is very significant and affects both human and aquatic life. Nowadays, pharmaceutical consumption in society also shows a negative tendency. In addition, medicines—as hazardous waste—are not collected according to proper waste management, which also contributes to water pollution. Furthermore, the mechanisms for wastewater treatment are not efficient enough at removing pharmaceuticals, so our surface waters are constantly exposed to them [34].
During our research, we were able to prove the presence of four out of the six analgesic substances we tested in Danube water samples, which supports our claim that the stretch of the Danube we studied is contaminated to a significant extent.
The water in the Danube was also examined by a research group in Budapest and the surrounding region. In that research, naproxen was less frequently detected among the non-steroidal anti-inflammatory drugs, but it showed the fourth highest concentration in one of the samples at the amount of 4659.3 ng/L. In our research, however, we were able to detect the active substance naproxen in all (n = 8) samples at the largest amount of all the analytes we examined from a sampling site in Budapest District XX, in a water sample collected 15 m from the bank, at 12,029.337 ng/L on average. The difference in the concentration of the active substance naproxen between the samples taken at different distances from the bank was also the largest at 9180.379 ng/L. However, the other research team also examined the diclofenac content of the water samples, the maximum concentration of which was 2070 ng/L, being present in 60% of the water samples. Diclofenac was detectable in all the water samples we examined, the highest average amount of which was 804.46 ng/L, which is related to the value measured by the other research group [26].
The aim of our research was to detect and quantify the active substance carbamazepine in natural surface water samples collected from the Danube. We were able to detect carbamazepine in all samples (n = 8) at an average concentration of 110.84 ± 33.73 ng/L. This result is consistent with global research published in 2022, which investigated drug residues in rivers from 104 countries including Hungary. In that research, samples were also taken from the Budapest area (n = 8), and the concentration of carbamazepine was measured at 116.35 ng/L on average, and the active substance was also identified in each sample. The highest value measured by the research group was 513 ng/L; however, the maximum value we measured was lower at 297.15 ng/L [18].
Based on our research, we concluded that it would be worthwhile to raise awareness about the proper dosage of medicines and the proper waste management of expired or discontinued medicines, as they can pollute surface waters not only by taking—and discharging—the medicine, but also by inappropriate waste management. In future studies, it would be worthwhile to investigate the metabolite products of these active substances in Danube water, which would allow the precise determination of drug residues from human drug use in water. Furthermore, it would be worthwhile to examine soil samples from landfills, with which we would obtain information about the number of medicines washed into the soil during the rains as a result of inadequate waste management.
Cleaning mechanisms are not developed enough nowadays to effectively remove drug residues 100%. This contributes to the pollution of surface waters, thereby endangering aquatic and human life [34]. Drug residues that generally appear in surface water were found on average in amounts of only µ/L or ng/L in the studies we processed and in our own research. However, their presence—even to such a small extent—is alarming for the future [42]. The negative effects include the reduced number of individuals and species in aquatic life, sexual developmental disorders, infertility and damage to the nervous system in the case of the human body [35,36,39]. In Hungary, it would be advisable to develop an environmentally friendly method in the mechanisms for wastewater treatment that removes or dissolves 100% of the pharmaceutical substances from the wastewater, which could reduce the harmful factors in our surface waters.
Author Contributions
S.R.K. carried out the sampling. S.R.K. and F.M. assisted in sample preparation and analysis. S.R.K. and F.M. participated in the statistical analysis. T.J. and T.S.-R. were involved in the planning and coordination of the work. O.M. and G.P.S. participated in the proofreading and translation of the article. S.R.K., F.M., T.J., G.P.S., T.S.-R. and O.M. contributed to the writing and editing of the manuscript. Two equivalent first authors: S.R.K. and T.J. All authors have read and agreed to the published version of the manuscript.
Funding
This article did not receive any external funding. It was supported by the University of Pécs, Faculty of Health Sciences, Institute of Diagnostics. The OA was funded and affiliated by University of Pécs.
Data Availability Statement
To do this research ethical permission was not required. The datas of the research are available from T.J., and S.R.K.
Conflicts of Interest
The authors declare no conflict of interest.
Abbreviations
| CBZ | carbamazepine |
| DCL | diclofenac |
| HPLC | high performance liquid chromatography |
| IBU | ibuprofen |
| LOD | Limit of Detection |
| LOQ | Limit of Quantitation |
| NAP | naproxen |
| NEAK | National Health Insurance Fund Management |
| NIM | nimesulide |
| PhAC | pharmaceutical active compounds |
| RBF | riverside filtration |
References
- Csősz, L. A Vízminőség-Védelemmel Kapcsolatos Problémakör Hazai Helyzete. Hadmérnök 2018, 13, 168–177. [Google Scholar]
- Központi Statisztikai Hivatal. 8.1.1.2 Magyarország Legnagyobb Folyói. Available online: https://www.ksh.hu/stadat_files/fol/hu/fol0002.html (accessed on 15 April 2023).
- Csősz, L. Lakossági, Ipari Vízfelhasználás És a Vízfelhasználást Veszélyeztető Káresemények, Különös Tekintettel Az Ipari Eredetű Vízszennyezésekre. Műszaki Ktn. Közlöny 2016, 26, 20–31. [Google Scholar]
- MAVÍZ—Magyar Víziközmű Szövetség. “Honnan Ered” a csapvíz Magyarországon? Available online: https://www.maviz.org/fogyasztoi_informaciok/honnan_ered_a_csapviz_magyarorszagon (accessed on 15 April 2023).
- Knisz, J.; Vadkerti, E. Szerves Mikroszennyezők a Környezetben; Nemzeti Közszolgálati Egyetem Ludovika Egyetemi Kiadó Iroda: Budapest, Hungary, 2021. [Google Scholar]
- Stuart, M.; Lapworth, D.; Crane, E.; Hart, A. Review of Risk from Potential Emerging Contaminants in UK Groundwater. Sci. Total Environ. 2012, 1, 1–21. [Google Scholar] [CrossRef] [PubMed]
- Jacob, J. A Review of the Accumulation and Distribution of Persistent Organic Pollutants in the Environment. Int. J. Biosci. Biochem. Bioinform. 2013, Vol. 3, 657–661. [Google Scholar] [CrossRef]
- Hill, M.K. Understanding Environmental Pollution, 2nd ed.; Cambridge University Press: Cambridge, UK, 2004. [Google Scholar]
- Csősz, L. Az Ivóvízkezeléssel Kapcsolatos Problémakör Hazánkban. Hadmérnök 2018, 13, 171–178. [Google Scholar]
- Petrie, B.; Barden, R.; Kasprzyk-Hordern, B. A Review on Emerging Contaminants in Wastewaters and the Environment: Current Knowledge, Understudied Areas and Recommendations for Future Monitoring. Water Res. 2015, 72, 3–27. [Google Scholar] [CrossRef]
- Stuart, M.; Lapworth, D. Emerging Organic Contaminants in Groundwater. In Smart Sensors, Measurement and Instrumentation; Springer International Publishing: London, UK, 2013; Volume 4, pp. 259–284. [Google Scholar] [CrossRef]
- European Commission. Sewage Sludge 2016. Available online: https://environment.ec.europa.eu/topics/waste-and-recycling/sewage-sludge_en (accessed on 15 April 2023).
- Roveri, V.; Guimarães, L.L.; Toma, W.; Correia, A.T. Occurrence of Pharmaceuticals and Cocaine in the Urban Drainage Channels Located on the Outskirts of the São Vicente Island (São Paulo, Brazil) and Related Ecological Risk Assessment. Environ. Sci. Pollut. Res. 2022, 29, 57931–57945. [Google Scholar] [CrossRef]
- Bradley, P.M.; Barber, L.B.; Duris, J.W.; Foreman, W.T.; Furlong, E.T.; Hubbard, L.E.; Hutchinson, K.J.; Keefe, S.H.; Kolpin, D.W. Riverbank Filtration Potential of Pharmaceuticals in a Wastewater-Impacted Stream. Environ. Pollut. 2014, 193, 173–180. [Google Scholar] [CrossRef]
- Wolff, E.; van Vliet, M.T.H. Impact of the 2018 Drought on Pharmaceutical Concentrations and General Water Quality of the Rhine and Meuse Rivers. Sci. Total Environ. 2021, 778, 146182. [Google Scholar] [CrossRef]
- Nemzeti Egészségbiztosítási Alapkezelő. Gyógyszerforgalmi Adatok. 2021. Available online: http://www.neak.gov.hu/felso_menu/szakmai_oldalak/publikus_forgalmi_adatok/gyogyszer_forgalmi_adatok (accessed on 18 April 2023).
- Castro-Pastrana, L.I.; Palacios-Rosas, E.; Toledo-Wall, M.L.; Cerro-López, M. The Handbook of Environmental Chemistry; Springer: Mexico City, Mexico, 2020; Volume 96. [Google Scholar]
- Wilkinson, J.L.; Boxal, A.B.A.; Koplin, D.W.; Leung, K.M.Y.; Lai, R.W.S.; Galbán-Malagón, C.; Adell, A.D.; Mondon, J.; Metian, M.; Marchant, R.A.; et al. Pharmaceutical Pollution of the World’s Rivers. Proc. Natl. Acad. Sci. USA 2022, 119, e2113947119. [Google Scholar] [CrossRef]
- Vumazonke, S.; Khamanga, S.M.; Ngqwala, N.P. Detection of Pharmaceutical Residues in Surface Waters of the Eastern Cape Province. Int. J. Envion. Res. Public Health 2020, 17, 67. [Google Scholar] [CrossRef]
- Hamann, E.; Stuyfzand, P.J.; Greskowiak, J.; Timmer, H.; Massmann, G. The Fate of Organic Micropollutants during Long-Term/Long-Distance River Bank Filtration. Sci. Total Environ. 2016, 545–546, 629–640. [Google Scholar] [CrossRef]
- Oberleitner, D.; Schulz, W.; Bergmann, A.; Achten, C. Impact of Seasonality, Redox Conditions, Travel Distances and Initial Concentrations on Micropollutant Removal during Riverbank Filtration at Four Sites. Chemosphere 2020, 250, 126255. [Google Scholar] [CrossRef]
- Wanda, E.M.M.; Nyoni, H.; Mamba, B.B.; Msagati, T.A.M. Occurrence of Emerging Micropollutants in Water Systems in Gauteng, Mpumalanga, and North West Provinces, South Africa. Int. J. Environ. Res. Public Health 2017, 14, 79. [Google Scholar] [CrossRef]
- Nagy-Kovács, Z.; László, B.; Fleit, E.; Czihat-Mártonné, K.; Till, G.; Börnick, H.; Adomat, Y.; Grischek, T. Behavior of Organic Micropollutants during River Bank Filtration in Budapest, Hungary. Water 2018, 10, 1861. [Google Scholar] [CrossRef]
- Branchet, P.; Ariza Castro, N.; Fenet, H.; Gomez, E.; Courant, F.; Sebag, D.; Gardon, J.; Jourdan, C.; Ngounou Ngatcha, B.; Kengne, I.; et al. Anthropic Impacts on Sub-Saharan Urban Water Resources through Their Pharmaceutical Contamination (Yaoundé Center Region, Cameroon). Sci. Total Environ. 2019, 660, 886–898. [Google Scholar] [CrossRef]
- van Driezum, I.H.; Derx, J.; Oudega, T.J.; Zessner, M.; Naus, F.L.; Saracevic, E.; Kirschner, A.K.T.; Sommer, R.; Farnleitner, A.H.; Blaschke, A.P. Spatiotemporal Resolved Sampling for the Interpretation of Micropollutant Removal during Riverbank Filtration. Sci. Total Environ. 2019, 649, 212–223. [Google Scholar] [CrossRef]
- Kondor, A.C.; Jakab, G.; Vancsik, A.; Filep, T.; Szeberényi, J.; Szabó, L.; Maász, G.; Ferincz, Á.; Dobosy, P.; Szalai, Z. Occurrence of Pharmaceuticals in the Danube and Drinking Water Wells: Efficiency of Riverbank Filtration. Environ. Pollut. 2020, 265, 114893. [Google Scholar] [CrossRef]
- Chițescu, C.L.; Nicolau, A.I. Preliminary Survey of Pharmaceutical Residues in Some Important Romanian Rivers. Toxicol Environ. Chem. 2014, 96, 1333–1345. [Google Scholar] [CrossRef]
- Kondor, A.C.; Molnár, É.; Jakab, G.; Vancsik, A.; Filep, T.; Szeberényi, J.; Szabó, L.; Maász, G.; Pirger, Z.; Weiperth, A.; et al. Pharmaceuticals in Water and Sediment of Small Streams under the Pressure of Urbanization: Concentrations, Interactions, and Risks. Sci. Total Environ. 2022, 808, 152160. [Google Scholar] [CrossRef]
- Hu, X.L.; Bao, Y.F.; Hu, J.J.; Liu, Y.Y.; Yin, D.Q. Occurrence of 25 Pharmaceuticals in Taihu Lake and Their Removal from Two Urban Drinking Water Treatment Plants and a Constructed Wetland. Environ. Sci. Pollut. Res. 2017, 24, 14889–14902. [Google Scholar] [CrossRef] [PubMed]
- Golovko, O.; Rehrl, A.L.; Köhler, S.; Ahrens, L. Organic Micropollutants in Water and Sediment from Lake Mälaren, Sweden. Chemosphere 2020, 258, 127293. [Google Scholar] [CrossRef] [PubMed]
- Maasz, G.; Mayer, M.; Zrinyi, Z.; Molnar, E.; Kuzma, M.; Fodor, I.; Pirger, Z.; Takács, P. Spatiotemporal Variations of Pharmacologically Active Compounds in Surface Waters of a Summer Holiday Destination. Sci. Total Environ. 2019, 677, 545–555. [Google Scholar] [CrossRef] [PubMed]
- Jakab, G.; Szalai, Z.; Michalkó, G.; Ringer, M.; Filep, T.; Szabó, L.; Maász, G.; Pirger, Z.; Ferincz, Á.; Staszny, Á.; et al. Thermal Baths as Sources of Pharmaceutical and Illicit Drug Contamination. Environ. Sci. Pollut. Res. 2020, 27, 399–410. [Google Scholar] [CrossRef] [PubMed]
- Kondor, A.C.; Molnár, É.; Vancsik, A.; Filep, T.; Szeberényi, J.; Szabó, L.; Maász, G.; Pirger, Z.; Weiperth, A.; Ferincz, Á.; et al. Occurrence and Health Risk Assessment of Pharmaceutically Active Compounds in Riverbank Filtrated Drinking Water. J. Water Process. Eng. 2021, 41, 102039. [Google Scholar] [CrossRef]
- Csősz, L. Die Problematik Der Abwasserreinigung Hinsichtlich Der Pharmazeutischen Substanzen. Hadmérnök 2018, 13, 137–145. [Google Scholar]
- Pirger, Z. Hormonok és Gyógyszermaradványok a Vizeinkben. Vgf&hkl Szaklap. Available online: https://www.vgfszaklap.hu/lapszamok/2017/december/4669-hormonok-es-gyogyszermaradvanyok-a-vizeinkben (accessed on 15 April 2023).
- Kaushik, G.; Huber, D.P.; Aho, K.; Finney, B.; Bearden, S.; Zarbalis, K.S.; Thomas, M.A. Maternal Exposure to Carbamazepine at Environmental Concentrations Can Cross Intestinal and Placental Barriers. Biochem. Biophys. Res. Commun. 2016, 474, 291–295. [Google Scholar] [CrossRef]
- Shao, Y.; Chen, Z.; Hollert, H.; Zhou, S.; Deutschmann, B.; Seiler, T.B. Toxicity of 10 Organic Micropollutants and Their Mixture: Implications for Aquatic Risk Assessment. Sci. Total Environ. 2019, 666, 1273–1282. [Google Scholar] [CrossRef]
- Schapira, M.; Manor, O.; Golan, N.; Kalo, D.; Mordehay, V.; Kirshenbaum, N.; Goldsmith, R.; Chefetz, B.; Paltiel, O. Involuntary Human Exposure to Carbamazepine: A Cross-Sectional Study of Correlates across the Lifespan and Dietary Spectrum. Environ. Int. 2020, 143, 105951. [Google Scholar] [CrossRef]
- Carter, L.J.; Agatz, A.; Kumar, A.; Williams, M. Translocation of Pharmaceuticals from Wastewater into Beehives. Environ. Int. 2020, 134, 105248. [Google Scholar] [CrossRef]
- Belügyminisztérium Vízügyi Főigazgatóság. Vízügyi Honlap. Available online: https://www.vizugy.hu/?mapData=Idosor#mapData (accessed on 15 April 2023).
- Hillbeck, D. Reproducible Separation of Acidic and Neutral Drugs Using a Solid Core C18 HPLC Column—Thermo Scientific AppsLab Library of Analytical Applications. Available online: https://appslab.thermofisher.com/App/997/reproducible-separation-acidic-neutral-drugs-using-a-solid-core-c18-hplc-column (accessed on 18 April 2023).
- Leung, H.W.; Jin, L.; Wei, S.; Tsui, M.M.P.; Zhou, B.; Jiao, L.; Cheung, P.C.; Chun, Y.K.; Murphy, M.B.; Lam, P.K.S. Pharmaceuticals in Tap Water: Human Health Risk Assessment and Proposed Monitoring Framework in China. Environ. Health Perspect. 2013, 121, 839–846. [Google Scholar] [CrossRef]
Disclaimer/Publisher’s Note: The statements, opinions and data contained in all publications are solely those of the individual author(s) and contributor(s) and not of MDPI and/or the editor(s). MDPI and/or the editor(s) disclaim responsibility for any injury to people or property resulting from any ideas, methods, instructions or products referred to in the content. |
© 2023 by the authors. Licensee MDPI, Basel, Switzerland. This article is an open access article distributed under the terms and conditions of the Creative Commons Attribution (CC BY) license (https://creativecommons.org/licenses/by/4.0/).















