Integrating Virus Monitoring Strategies for Safe Non-Potable Water Reuse
Abstract
1. Introduction
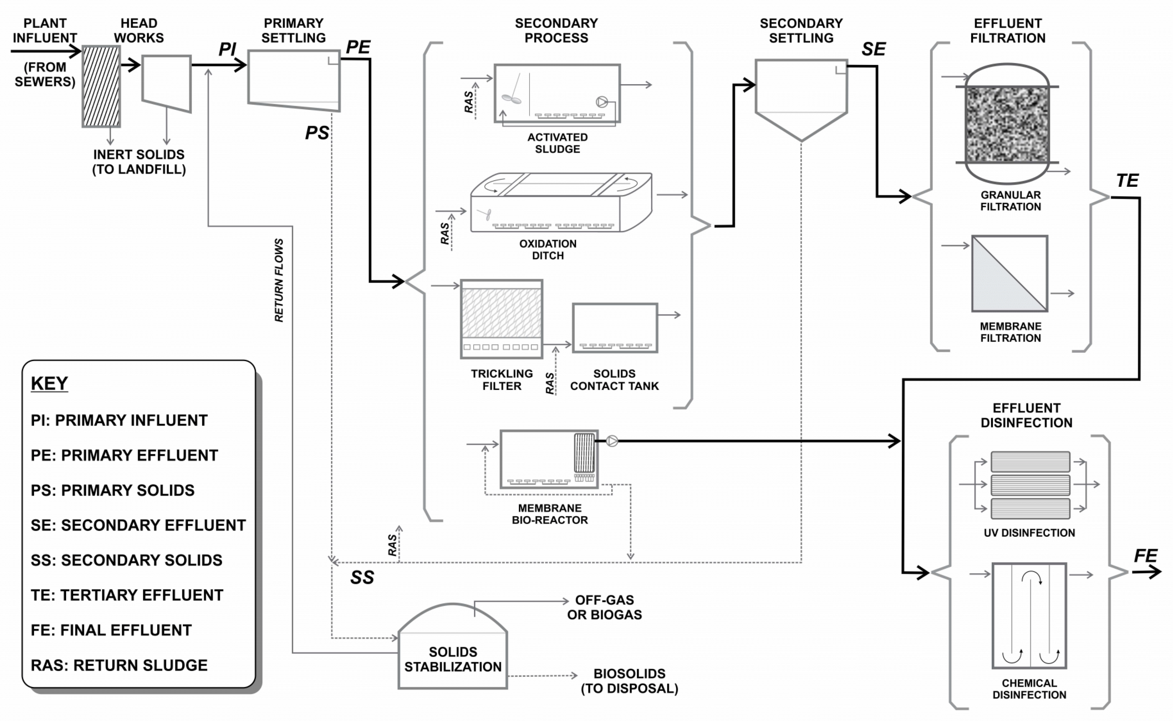
2. Water Reclamation Processes
3. Current Technologies for Monitoring Viruses
3.1. Sample Concentration Methods
3.2. Culture versus Molecular Detection
4. Viruses and Viral Surrogates in Wastewater for Reuse
4.1. Human Viruses
4.2. Viral Surrogates for Human Viruses
4.2.1. Coliphages
4.2.2. CrAssphage
4.2.3. Pepper Mild Mottle Virus
4.3. Metagenomics Approaches
5. Non-Viral Indicators of Viral Quality
5.1. Physicochemical Water Quality Parameters
5.2. Bacterial Surrogates
5.3. Virus-like Particles as Viral Removal and Viral Safety Indicator
6. Modeling
6.1. QMRA
6.2. Modeling of Infectious Viruses Using Artificial Neural Network
7. Discussion and Limitations
8. Summary and Conclusions
Author Contributions
Funding
Acknowledgments
Conflicts of Interest
References
- U.S. Environmental Protection Agency (U.S. EPA). Guidelines for Water Reuse; EPA/600/R-12/618; EPA National Risk Management Research Laboratory: Cincinnati, OH, USA; Agency for International Development: Washington, DC, USA, 2012. Available online: https://www.epa.gov/sites/default/files/2019-08/documents/2012-guidelines-water-reuse.pdf (accessed on 30 March 2022).
- Angelakis, A.N.; Snyder, S.A. Wastewater Treatment and Reuse: Past, Present, and Future. Water 2015, 7, 4887. [Google Scholar] [CrossRef]
- Anonymous Report: 17 States Invest in Water Reuse as a Long-Term Supply Strategy. Underground Construction. 2017. Available online: https://ucononline.com/news/2017/04/report-17-states-invest-in-water-reuse-as-a-long-term-supply-strategy (accessed on 30 March 2022).
- Lautze, J.; Stander, E.; Drechsel, P.; da Silva, A.K.; Keraita, B. Global Experiences in Water Reuse; CGIAR Research Program on Water, Land and Ecosystems (WLE); Resource Recovery and Reuse Series 4; International Water Management Institute (IWMI): Colombo, Sri Lanka, 2014; 31p. [Google Scholar] [CrossRef]
- Warsinger, D.M.; Chakraborty, S.; Tow, E.W.; Plumlee, M.H.; Bellona, C.; Loutatidou, S.; Karimi, L.; Mikelonis, A.M.; Achilli, A.; Ghassemi, A.; et al. A review of polymeric membranes and processes for potable water reuse. Prog. Polym. Sci. 2018, 81, 209–237. [Google Scholar] [CrossRef] [PubMed]
- Nkhoma, P.; Alsharif, K.; Ananga, E.; Eduful, M.; Acheampong, M. Recycled water reuse: What factors affect public acceptance? Environ. Conserv. 2021, 48, 278–286. [Google Scholar] [CrossRef]
- National Academies of Science (NAS). Water Reuse: Potential for Expanding the Nation’s Water Supply through Reuse of Municipal Wastewater; The National Academies Press: Washington, DC, USA, 2012. [Google Scholar] [CrossRef]
- Fumian, T.M.; Leite, J.P.; Castello, A.A.; Gaggero, A.; Caillou, M.S.; Miagostovich, M.P. Detection of rotavirus a in sewage samples using multiplex qPCR and an evaluation of the ultracentrifugation and adsorption-elution methods for virus concentration. J. Virol. Methods 2010, 170, 42–46. [Google Scholar] [CrossRef] [PubMed]
- Gerba, C.P.; Betancourt, W.Q.; Kitajima, M. How much reduction of virus is needed for recycled water: A continuous changing need for assessment? Water Res. 2017, 108, 25–31. [Google Scholar] [CrossRef]
- Symonds, E.M.; Griffin, D.W.; Breitbart, M. Eukaryotic viruses in wastewater samples from the United States. Appl. Environ. Microbiol. 2009, 75, 1402–1409. [Google Scholar] [CrossRef]
- Corpuz, M.V.; Buonerba, A.; Vigliotta, G.; Zarra, T.; Ballesteros, F.; Campiglia, P.; Belgiorno, V.; Korshin, G.; Naddeo, V. Viruses in wastewater: Occurrence, abundance and detection methods. Sci. Total Environ. 2020, 745, 140910. [Google Scholar] [CrossRef]
- Gall, A.M.; Mariñas, B.J.; Lu, Y.; Shisler, J.L. Waterborne viruses: A barrier to safe drinking water. PLoS Pathog. 2015, 11, e1004867. [Google Scholar] [CrossRef]
- IAWPRC Study Group on Water Virology. The health significance of viruses in water. Water Res. 1983, 17, 121–132. [Google Scholar] [CrossRef]
- Zhang, C.M.; Xu, L.M.; Xu, P.C.; Wang, X.C. Elimination of viruses from domestic wastewater: Requirements and technologies. World J. Microbiol. Biotechnol. 2016, 32, 69. [Google Scholar] [CrossRef]
- Haramoto, E.; Kitajima, M.; Hata, A.; Torrey, J.R.; Masago, Y.; Sano, D.; Katayama, H. A review on recent progress in the detection methods and prevalence of human enteric viruses in water. Water Res. 2018, 135, 168–186. [Google Scholar] [CrossRef] [PubMed]
- Ibrahim, Y.; Ouda, M.; Kadadou, D.; Banat, F.; Naddeo, V.; Alsafar, H.; Yousef, A.F.; Barceló, D.; Hasan, S.W. Detection and removal of waterborne enteric viruses from wastewater: A comprehensive review. J. Environ. Chem. Eng. 2021, 9, 105613. [Google Scholar] [CrossRef]
- Farkas, K.; Walker, D.I.; Adriaenssens, E.M.; McDonald, J.E.; Hillary, L.S.; Malham, S.K.; Jones, D.L. Viral indicators for tracking domestic wastewater contamination in the aquatic environment. Water Res. 2020, 181, 115926. [Google Scholar] [CrossRef] [PubMed]
- Sano, D.; Amarasiri, M.; Hata, A.; Watanabe, T.; Katayama, H. Risk management of viral infectious diseases in wastewater reclamation and reuse: Review. Environ. Int. 2016, 91, 220–229. [Google Scholar] [CrossRef]
- Metcalf & Eddy, Inc. Wastewater Engineering: Treatment and Resource Recovery, 5th ed.; McGraw-Hill Medical Pub. Division: New York, NY, USA, 2013; Available online: https://www.abebooks.com/servlet/BookDetailsPL?bi=30195864779 (accessed on 2 April 2022).
- Ardern, E.; Lockett, W.T. Experiments on the oxidation of sewage without the aid of filters. J. Soc. Chem. Ind. 1914, 33, 523–539. [Google Scholar] [CrossRef]
- Crittenden, J.C.; Trussell, R.R.; Hand, D.W.; Howe, K.J.; Tchobanoglous, G. Water Treatment Principles and Design, 3rd ed.; MWH: Pasadena, CA, USA, 2012; Available online: https://download.e-bookshelf.de/download/0000/5912/84/L-G-0000591284-0002363138.pdf (accessed on 2 April 2022).
- Sobhani, R.; Abahusayn, M.; Gabelich, C.J.; Rosso, D. Energy footprint analysis of brackish groundwater desalination with zero liquid discharge in inland areas of the Arabian Peninsula. Desalination 2012, 291, 106–116. [Google Scholar] [CrossRef]
- WaterReuse Research Foundation (WRRF). Framework for Direct Potable Reuse; Project 14-20; Water Reuse Research Foundation: Alexandria, VA, USA, 2015; Available online: https://watereuse.org/wp-content/uploads/2015/09/14-20.pdf (accessed on 30 March 2022).
- Prado, T.; de Castro Bruni, A.; Barbosa, M.R.F.; Garcia, S.C.; de Jesus Melo, A.M.; Sato, M.I.Z. Performance of wastewater reclamation systems in enteric virus removal. Sci. Total Environ. 2019, 678, 33–42. [Google Scholar] [CrossRef]
- Rockey, N.; Bischel, H.N.; Kohn, T.; Pecson, B.; Wigginton, K.R. The utility of flow cytometry for potable reuse. Curr. Opin. Biotechnol. 2019, 57, 42–49. [Google Scholar] [CrossRef]
- Soller, J.A.; Eftim, S.E.; Warren, I.; Nappier, S.P. Evaluation of microbiological risks associated with direct potable reuse. Microb. Risk Anal. 2017, 5, 3–14. [Google Scholar] [CrossRef]
- Bofill-Mas, S.; Rusiñol, M. Recent trends on methods for the concentration of viruses from water samples. Curr. Opin. Environ. Sci. Health 2020, 16, 7–13. [Google Scholar] [CrossRef]
- Cashdollar, J.L.; Wymer, L. Methods for primary concentration of viruses from water samples: A review and meta-analysis of recent studies. J. Appl. Microbiol. 2013, 115, 1–11. [Google Scholar] [CrossRef] [PubMed]
- Abdelzaher, A.M.; Solo-Gabriele, H.M.; Wright, M.E.; Palmer, C.J. Sequential concentration of bacteria and viruses from marine waters using a dual membrane system. J. Environ. Qual. 2008, 37, 1648–1655. [Google Scholar] [CrossRef] [PubMed]
- Abdelzaher, A.M.; Solo-Gabriele, H.M.; Palmer, C.J.; Scott, T.M. Simultaneous concentration of Enterococci and coliphage from marine waters using a dual layer filtration system. J. Environ. Qual. 2009, 38, 2468–2473. [Google Scholar] [CrossRef] [PubMed]
- Ahmed, W.; Bertsch, P.M.; Bivins, A.; Bibby, K.; Farkas, K.; Gathercole, A.; Haramoto, E.; Gyawali, P.; Korajkic, A.; McMinn, B.R.; et al. Comparison of virus concentration methods for the RT-qpcr-based recovery of murine hepatitis virus, a surrogate for SARS-COV-2 from untreated wastewater. Sci. Total Environ. 2020, 739, 139960. [Google Scholar] [CrossRef]
- American Public Health Association (APHA). Standard Methods for the Examination of Water and Wastewater, 23rd ed.; APHA: Washington, DC, USA, 2017; Available online: https://www.abebooks.com/9780875532875/Standard-Methods-Examination-Water-Wastewater-087553287X/plp (accessed on 30 March 2022).
- Bonilla, J.A.; Bonilla, T.D.; Abdelzaher, A.M.; Scott, T.M.; Lukasik, J.; Solo-Gabriele, H.M.; Palmer, C.J. Quantification of protozoa and viruses from small water volumes. Int. J. Environ. Res. Public Health 2015, 12, 7118–7132. [Google Scholar] [CrossRef]
- Sharkey, M.E.; Kumar, N.; Mantero, A.M.A.; Babler, K.M.; Boone, M.M.; Cardentey, Y.; Cortizas, E.M.; Grills, G.S.; Herrin, J.; Kemper, J.M.; et al. Lessons learned from SARS-COV-2 measurements in wastewater. Sci. Total Environ. 2021, 798, 149177. [Google Scholar] [CrossRef]
- Sherchan, S.P.; Shahin, S.; Ward, L.M.; Tandukar, S.; Aw, T.G.; Schmitz, B.; Ahmed, W.; Kitajima, M. First detection of SARS-CoV-2 RNA in wastewater in North America: A study in Louisiana, USA. Sci. Total Environ. 2020, 743, 140621. [Google Scholar] [CrossRef]
- Soto-Beltran, M.; Ikner, L.A.; Bright, K.R. Effectiveness of poliovirus concentration and recovery from treated wastewater by two electropositive filter methods. Food Environ. Virol. 2013, 5, 91–96. [Google Scholar] [CrossRef]
- Li, D.; Shi, H.-C.; Jiang, S.C. Concentration of viruses from environmental waters using nanoalumina fiber filters. J. Microbiol. Methods 2010, 81, 33–38. [Google Scholar] [CrossRef]
- Qiu, Y.; Lee, B.E.; Ruecker, N.J.; Neumann, N.; Ashbolt, N.; Pang, X. A one-step centrifugal ultrafiltration method to concentrate enteric viruses from wastewater. J. Virol. Methods 2016, 237, 150–153. [Google Scholar] [CrossRef]
- Farkas, K.; McDonald, J.; Malham, S.; Jones, D. Two-step concentration of complex water samples for the detection of viruses. Methods Protoc. 2018, 1, 35. [Google Scholar] [CrossRef] [PubMed]
- KWR Water Research Institute. Protocol, SOP Wastewater SARS-CoV-2 RNA Assays; KWR: Nieuwegein, The Netherlands, 2020. [Google Scholar]
- Torii, S.; Furumai, H.; Katayama, H. Applicability of polyethylene glycol precipitation followed by acid guanidinium thiocyanate-phenol-chloroform extraction for the detection of SARS-COV-2 RNA from municipal wastewater. Sci. Total Environ. 2021, 756, 143067. [Google Scholar] [CrossRef] [PubMed]
- Torii, S.; Oishi, W.; Zhu, Y.; Thakali, O.; Malla, B.; Yu, Z.; Zhao, B.; Arakawa, C.; Kitajima, M.; Hata, A.; et al. Comparison of five polyethylene glycol precipitation procedures for the RT-qpcr based recovery of murine hepatitis virus, bacteriophage PHI6, and pepper mild mottle virus as a surrogate for SARS-COV-2 from wastewater. Sci. Total Environ. 2022, 807, 150722. [Google Scholar] [CrossRef] [PubMed]
- Sangkham, S. A review on detection of SARS-CoV-2 RNA in wastewater in light of the current knowledge of treatment process for removal of viral fragments. J. Environ. Manag. 2021, 299, 113563. [Google Scholar] [CrossRef]
- Farkas, K.; Hillary, L.S.; Thorpe, J.; Walker, D.I.; Lowther, J.A.; McDonald, J.E.; Malham, S.K.; Jones, D.L. Concentration and Quantification of SARS-CoV-2 RNA in Wastewater Using Polyethylene Glycol-Based Concentration and qRT-PCR. Methods Protocols 2021, 4, 17. [Google Scholar] [CrossRef]
- Pecson, B.M.; Darby, E.; Haas, C.N.; Amha, Y.; Bartolo, M.; Danielson, R.; Dearborn, Y.; Di Giovanni, G.; Ferguson, C.; Fevig, S.; et al. Reproducibility and sensitivity of 36 methods to quantify the SARS-COV-2 genetic signal in raw wastewater: Findings from an interlaboratory methods evaluation in the U.S. Environ. Sci. Water Res. Technol. 2021, 3, 504–520. [Google Scholar] [CrossRef]
- Ye, Y.; Ellenberg, R.M.; Graham, K.E.; Wigginton, K.R. Survivability, partitioning, and recovery of enveloped viruses in untreated municipal wastewater. Environ. Sci. Technol. 2016, 50, 5077–5085. [Google Scholar] [CrossRef]
- Peccia, J.; Zulli, A.; Brackney, D.E.; Grubaugh, N.D.; Kaplan, E.H.; Casanovas-Massana, A.; Ko, A.I.; Malik, A.A.; Wang, D.; Wang, M.; et al. SARS-CoV-2 RNA concentrations in primary municipal sewage sludge as a leading indicator of COVID-19 outbreak dynamics. medRxiv 2020. [Google Scholar] [CrossRef]
- Graham, K.E.; Loeb, S.K.; Wolfe, M.K.; Catoe, D.; Sinnott-Armstrong, N.; Kim, S.; Yamahara, K.M.; Sassoubre, L.M.; Mendoza Grijalva, L.M.; Roldan-Hernandez, L.; et al. SARS-CoV-2 RNA in wastewater settled solids is associated with COVID-19 cases in a large urban sewershed. Environ. Sci. Technol. 2020, 55, 488–498. [Google Scholar] [CrossRef]
- Karthikeyan, S.; Ronquillo, N.; Belda-Ferre, P.; Alvarado, D.; Javidi, T.; Longhurst, C.A. High-throughput wastewater SARS-CoV-2 detection enables forecasting of community infection dynamics in San Diego County. Msystems 2021, 6, e00045-21. [Google Scholar] [CrossRef]
- Safford, H.; Zuniga-Montanez, R.E.; Kim, M.; Wu, X.; Wei, L.; Sharpnack, J.; Shapiro, K.; Bischel, H. Wastewater surveillance for COVID-19 response at multiple geographic scales: Aligning wastewater and clinical results at the census-block level and addressing pervasiveness of qPCR non-detects. medRxiv 2022. [Google Scholar] [CrossRef]
- Tandukar, S.; Sherchan, S.P.; Haramoto, E. Reduction of Pathogenic and Indicator Viruses at a Drinking Water Treatment Plant in Southern Louisiana, USA. Food Environ. Virol. 2020, 12, 269–273. [Google Scholar] [CrossRef] [PubMed]
- Rodríguez R., A.; Pepper, I.L.; Gerba, C.P. Application of PCR-based methods to assess the infectivity of enteric viruses in environmental samples. Appl. Environ. Microbiol. 2009, 75, 297–307. [Google Scholar] [CrossRef] [PubMed]
- Kishida, N.; Noda, N.; Haramoto, E.; Kawaharasaki, M.; Akiba, M.; Sekiguchi, Y. Quantitative detection of human enteric adenoviruses in river water by microfluidic digital polymerase chain reaction. Water Sci. Technol. 2014, 70, 555–560. [Google Scholar] [CrossRef]
- Xue, J.; Caton, K.; Sherchan, S.P. Comparison of Next-Generation Droplet Digital PCR with Quantitative PCR for Enumeration of Naegleria fowleri in Environmental water and Clinical Samples. Lett. Appl. Microbiol. 2018, 67, 322–328. [Google Scholar] [CrossRef]
- Ciesielski, M.; Blackwood, D.; Clerkin, T.; Gonzalez, R.; Thompson, H.; Larson, A.; Noble, R. Assessing sensitivity and reproducibility of RT-ddPCR and RT-qPCR for the quantification of SARS-COV-2 in wastewater. J. Virol. Methods 2021, 297, 114230. [Google Scholar] [CrossRef]
- Vasudevan, H.N.; Xu, P.; Servellita, V.; Miller, S.; Liu, L.; Gopez, A.; Chiu, C.Y.; Abate, A.R. Digital droplet PCR accurately quantifies SARS-COV-2 viral load from crude lysate without nucleic acid purification. Sci. Rep. 2021, 11, 780. [Google Scholar] [CrossRef]
- Mousazadeh, M.; Ashoori, R.; Paital, B.; Kabdaşlı, I.; Frontistis, Z.; Hashemi, M.; Sandoval, M.A.; Sherchan, S.; Das, K.; Emamjomeh, M.M. Wastewater based epidemiology perspective as a faster protocol for detecting coronavirus RNA in human populations: A review with specific reference to SARS-COV-2 virus. Pathogens 2021, 10, 1008. [Google Scholar] [CrossRef]
- Tiwari, A.; Ahmed, W.; Okiarinen, S.; Sherchan, S.P.; Heikinheimo, A.; Jiang, G.; Simpson, S.; Greaves, J.; Bivins, A.W. Application of digital PCR for public health-related water quality monitoring. Sci. Total Environ. 2022, accepted. [Google Scholar]
- U.S. Environmental Protection Agency (U.S. EPA). Method 1609: Enterococci in Water by TaqMan® Quantitative Polymerase Chain Reaction (qPCR) with Internal Amplification Control (IAC) Assay; EPA-820-R-13-005; U.S. EPA Office of Water: Washington, DC, USA, 2013. Available online: https://www.epa.gov/sites/default/files/2015-08/documents/method_1609_2013.pdf (accessed on 30 March 2022).
- Rusinol, M.; Girones, R. Summary of Excreted and Waterborne Viruses. In Water and Sanitation for the 21st Century: Health and Microbiological Aspects of Excreta and Wastewater Management (Global Water Pathogen Project); Part 3: Specific Excreted Pathogens: Environmental and Epidemiology Aspects—Section 1: Viruses; Rose, J.B., Jiménez-Cisneros, B., Eds.; Michigan State University: East Lansing, MI, USA.; UNESCO: Paris, France, 2017. [Google Scholar]
- Betancourt, W.Q.; Shulman, L.M. Polioviruses and other Enteroviruses. In Water and Sanitation for the 21st Century: Health and Microbiological Aspects of Excreta and Wastewater Management (Global Water Pathogen Project); Part 3: Specific Excreted Pathogens: Environmental and Epidemiology Aspects—Section 1: Viruses; Rose, J.B., Jiménez-Cisneros, B., Eds.; Michigan State University: East Lansing, MI, USA; UNESCO: Paris, France, 2017. [Google Scholar]
- Ahmed, W.; Kitajima, M.; Tandukar, S.; Haramoto, E. Recycled water safety: Current status of traditional and emerging viral indicators. Curr. Opin. Environ. Sci. Health 2020, 16, 62–72. [Google Scholar] [CrossRef]
- Centers for Disease Control and Prevention (CDC). Burden of Norovirus Illness in the U.S. 2020. Available online: https://www.cdc.gov/norovirus/trends-outbreaks/burden-US.html#:~:text=Norovirus%20is%20the%20leading%20cause,ages%20in%20the%20United%20States (accessed on 2 April 2022).
- Jiang, S.C. Human adenoviruses in water: Occurrence and health implications: A critical review. Environ. Sci. Technol. 2006, 40, 7132–7140. [Google Scholar] [CrossRef] [PubMed]
- Eischeid, A.C.; Thurston, J.A.; Linden, K.G. UV disinfection of adenovirus: Present state of the research and Future Directions. Crit. Rev. Environ. Sci. Technol. 2011, 41, 1375–1396. [Google Scholar] [CrossRef]
- Lodder, W.J.; Rutjes, S.A.; Takumi, K.; Husman, A.M. Aichi virus in sewage and surface water, The Netherlands. Emerg. Infect. Dis. 2013, 19, 1222–1230. [Google Scholar] [CrossRef] [PubMed]
- Kitajima, M.; Haramoto, E.; Phanuwan, C.; Katayama, H. Prevalence and genetic diversity of Aichi viruses in wastewater and river water in Japan. Appl. Environ. Microbiol. 2011, 77, 2184–2187. [Google Scholar] [CrossRef] [PubMed]
- Kitajima, M.; Gerba, C. Aichi virus 1: Environmental occurrence and behavior. Pathogens 2015, 4, 256–268. [Google Scholar] [CrossRef]
- Tandukar, S.; Sherchan, S.P.; Haramoto, E. Reduction of human enteric and indicator viruses at a wastewater treatment plant in the United States. Food Environ. Virol. 2020, 12, 260–263. [Google Scholar] [CrossRef]
- Tandukar, S.; Sherchan, S.P.; Haramoto, E. Applicability of crassphage, pepper mild mottle virus, and tobacco mosaic virus as indicators of reduction of enteric viruses during wastewater treatment. Sci. Rep. 2020, 10, 3616. [Google Scholar] [CrossRef]
- Farkas, K.; Cooper, D.M.; McDonald, J.E.; Malham, S.K.; de Rougemont, A.; Jones, D.L. Seasonal and spatial dynamics of enteric viruses in wastewater and in riverine and estuarine receiving waters. Sci. Total Environ. 2018, 634, 1174–1183. [Google Scholar] [CrossRef]
- Rothman, J.A.; Loveless, T.B.; Kapcia, J., III.; Adams, E.D.; Steele, J.A.; Zimmer-Faust, A.G.; Langlois, K.; Wanless, D.; Griffith, M.; Mao, L.; et al. RNA Viromics of Southern California Wastewater and Detection of SARS-CoV-2 Single-Nucleotide Variants. Appl. Environ. Microbiol. 2021, 87, e01448-21. [Google Scholar] [CrossRef]
- Amarasiri, M.; Kitajima, M.; Nguyen, T.H.; Okabe, S.; Sano, D. Bacteriophage removal efficiency as a validation and operational monitoring tool for virus reduction in wastewater reclamation: Review. Water Res. 2017, 121, 258–269. [Google Scholar] [CrossRef]
- Grabow, W.O.K. Bacteriophages: Update on application as models for viruses in water. Water SA 2001, 27. [Google Scholar] [CrossRef]
- Agulló-Barceló, M.; Galofré, B.; Sala, L.; García-Aljaro, C.; Lucena, F.; Jofre, J. Simultaneous detection of somatic and F-specific coliphages in different settings Byescherichia colistrain CB390. FEMS Microbiol. Lett. 2016, 363, fnw180. [Google Scholar] [CrossRef] [PubMed][Green Version]
- Jofre, J.; Lucena, F.; Blanch, A.; Muniesa, M. Coliphages as model organisms in the characterization and management of Water Resources. Water 2016, 8, 199. [Google Scholar] [CrossRef]
- Nappier, S.P.; Hong, T.; Ichida, A.; Goldstone, A.; Eftim, S.E. Occurrence of coliphage in raw wastewater and in ambient water: A meta-analysis. Water Res. 2019, 153, 263–273. [Google Scholar] [CrossRef] [PubMed]
- U.S. Environmental Protection Agency (U.S. EPA). Review of Coliphages as Possible Indicators of Fecal Contamination for Ambient Water Quality; 820-R-15-098; EPA Office of Water: Washington, DC, USA, 2015. Available online: https://www.epa.gov/sites/default/files/2016-07/documents/review_of_coliphages_as_possible_indicators_of_fecal_contamination_for_ambient_water_quality.pdf (accessed on 30 March 2022).
- American Public Health Association (APHA). Standard Methods for the Examination of Water and Wastewater, 21st ed.; APHA: Washington, DC, USA, 2005; Available online: https://www.abebooks.com/servlet/BookDetailsPL?bi=30906231866 (accessed on 30 March 2022).
- U.S. Environmental Protection Agency (U.S. EPA). Method 1643: Male-Specific (F+) and Somatic Coliphage in Secondary (No Disinfection) Wastewater by the Single Agar Layer (SAL) Procedure; 820-R-18-003; EPA Office of Water: Washington, DC, USA, 2018. Available online: https://www.epa.gov/sites/default/files/2018-09/documents/method_1643_draft_2018.pdf (accessed on 30 March 2022).
- Grabow, W.O.K.; Vrey, A.; Uys, M.; De Villiers, J.C. Evaluation of the Application of Bacteriophages as Indicators of Water Quality; WRC Report No 540/1/98; Water Research Commission: Pretoria, South Africa, 1998; Available online: http://www.wrc.org.za/wp-content/uploads/mdocs/540-1-98.pdf (accessed on 2 April 2022).
- Mandilara, G.D.; Smeti, E.M.; Mavridou, A.T.; Lambiri, M.P.; Vatopoulos, A.C.; Rigas, F.P. Correlation between bacterial indicators and bacteriophages in sewage and sludge. FEMS Microbiol. Lett. 2006, 263, 119–126. [Google Scholar] [CrossRef]
- Toribio-Avedillo, D.; Blanch, A.R.; Muniesa, M.; Rodríguez-Rubio, L. Bacteriophages as fecal pollution indicators. Viruses 2021, 13, 1089. [Google Scholar] [CrossRef]
- Montemayor, M.; Costan, A.; Lucena, F.; Jofre, J.; Muñoz, J.; Dalmau, E.; Mujeriego, R.; Sala, L. The combined performance of UV light and chlorine during reclaimed water disinfection. Water Sci. Technol. 2008, 57, 935–940. [Google Scholar] [CrossRef]
- Shkoporov, A.N.; Khokhlova, E.V.; Fitzgerald, C.B.; Stockdale, S.R.; Draper, L.A.; Ross, R.P.; Hill, C. ΦCrAss001 represents the most abundant bacteriophage family in the human gut and infects bacteroides intestinalis. Nat. Commun. 2018, 9, 4781. [Google Scholar] [CrossRef]
- Edwards, R.A.; Vega, A.A.; Norman, H.M.; Ohaeri, M.; Levi, K.; Dinsdale, E.A.; Cinek, O.; Aziz, R.K.; McNair, K.; Barr, J.J.; et al. Global Phylogeography and ancient evolution of the widespread human gut virus crassphage. Nat. Microbiol. 2019, 4, 1727–1736. [Google Scholar] [CrossRef]
- Kongprajug, A.; Mongkolsuk, S.; Sirikanchana, K. Crassphage as a potential human sewage marker for microbial source tracking in Southeast Asia. Environ. Sci. Technol. Lett. 2019, 6, 159–164. [Google Scholar] [CrossRef]
- García-Aljaro, C.; Ballesté, E.; Muniesa, M.; Jofre, J. Determination of crassphage in water samples and applicability for tracking human fecal pollution. Microb. Biotechnol. 2017, 10, 1775–1780. [Google Scholar] [CrossRef] [PubMed]
- Green, H.; Wilder, M.; Middleton, F.A.; Collins, M.; Fenty, A.; Gentile, K.; Kmush, B.; Zeng, T.; Larsen, D.A. Quantification of SARS-COV-2 and cross-assembly phage (crassphage) from wastewater to monitor coronavirus transmission within communities. medRxiv 2020. [Google Scholar] [CrossRef]
- Farkas, K.; Adriaenssens, E.M.; Walker, D.I.; McDonald, J.E.; Malham, S.K.; Jones, D.L. Critical evaluation of crassphage as a molecular marker for human-derived wastewater contamination in the aquatic environment. Food Environ. Virol. 2019, 11, 113–119. [Google Scholar] [CrossRef] [PubMed]
- Sangkaew, W.; Kongprajug, A.; Chyerochana, N.; Ahmed, W.; Mongkolsuk, S.; Sirikanchana, K. Superior performance of human wastewater-associated viral markers compared to bacterial markers in tropical environments. bioRxiv 2020. [Google Scholar] [CrossRef]
- Ward, L.M.; Ghaju Shrestha, R.; Tandukar, S.; Shcerchand, J.B.; Haramoto, E.; Sherchan, S.P. Evaluation of CrAssphage Marker for Tracking Fecal Contamination in River Water in Nepal. Water Air Soil Pollut. 2020, 231, 282. [Google Scholar] [CrossRef]
- Wu, Z.; Greaves, J.; Arp, L.; Stone, D.; Bibby, K. Comparative fate of crassphage with culturable and molecular fecal pollution indicators during activated sludge wastewater treatment. Environ. Int. 2020, 136, 105452. [Google Scholar] [CrossRef]
- Fauquet, C.M.; Mayo, M.A.; Maniloff, J.; Desselberger, U.; Ball, L.A. Virus Taxonomy; Academic Press: Cambridge, MA, USA, 2005; pp. 1258–1259. [Google Scholar] [CrossRef]
- Rosario, K.; Symonds, E.M.; Sinigalliano, C.; Stewart, J.; Breitbart, M. Pepper mild mottle virus as an indicator of fecal pollution. Appl. Environ. Microbiol. 2009, 75, 7261–7267. [Google Scholar] [CrossRef]
- Kitajima, M.; Sassi, H.P.; Torrey, J.R. Pepper mild mottle virus as a water quality indicator. Npj Clean Water 2018, 1, 19. [Google Scholar] [CrossRef]
- Paez-Espino, D.; Eloe-Fadrosh, E.A.; Pavlopoulos, G.A.; Thomas, A.D.; Huntemann, M.; Mikhailova, N.; Rubin, E.; Ivanova, N.N.; Kyrpides, N.C. Uncovering Earth’s virome. Nature 2016, 536, 425–430. [Google Scholar] [CrossRef]
- Walker, P.J.; Siddell, S.G.; Lefkowitz, E.J.; Mushegian, A.R.; Adriaenssens, E.M.; Alfenas-Zerbini, P.; Davison, A.J.; Dempsey, D.M.; Dutilh, B.E.; García, M.L.; et al. Changes to virus taxonomy and to the International Code of Virus Classification and Nomenclature ratified by the International Committee on Taxonomy of Viruses (2021). Arch. Virol. 2021, 166, 2633–2648. [Google Scholar] [CrossRef]
- Anthony, S.J.; Epstein, J.H.; Murray, K.A.; Navarrete-Macias, I.; Zambrana-Torrelio, C.M.; Solovyov, A.; Ojeda-Flores, R.; Arrigo, N.C.; Islam, A.; Ali Khan, S.; et al. A strategy to estimate unknown viral diversity in mammals. MBio 2013, 4, e00598-e13. [Google Scholar] [CrossRef] [PubMed]
- Aw, T.G.; Howe, A.; Rose, J.B. Metagenomic approaches for direct and cell culture evaluation of the virological quality of wastewater. J. Virol. Methods 2014, 210, 15–21. [Google Scholar] [CrossRef] [PubMed]
- Bibby, K.; Peccia, J. Identification of viral pathogen diversity in sewage sludge by metagenome analysis. Environ. Sci. Technol. 2013, 47, 1945–1951. [Google Scholar] [CrossRef] [PubMed]
- Fernandez-Cassi, X.; Timoneda, N.; Martínez-Puchol, S.; Rusiñol, M.; Rodriguez-Manzano, J.; Figuerola, N.; Bofill-Mas, S.; Abril, J.F.; Girones, R. Metagenomics for the study of viruses in urban sewage as a tool for public health surveillance. Sci. Total Environ. 2018, 618, 870–880. [Google Scholar] [CrossRef] [PubMed]
- O’Brien, E.; Nakyazze, J.; Wu, H.; Kiwanuka, N.; Cunningham, W.; Kaneene, J.B.; Xagoraraki, I. Viral diversity and abundance in polluted waters in Kampala, Uganda. Water Res. 2017, 127, 41–49. [Google Scholar] [CrossRef] [PubMed]
- Hjelmsø, M.H.; Mollerup, S.; Jensen, R.H.; Pietroni, C.; Lukjancenko, O.; Schultz, A.C.; Aarestrup, F.M.; Hansen, A.J. Metagenomic analysis of viruses in toilet waste from long distance flights—A new procedure for Global Infectious Disease Surveillance. PLoS ONE 2019, 14, e0210368. [Google Scholar] [CrossRef]
- Ng, T.F.; Marine, R.; Wang, C.; Simmonds, P.; Kapusinszky, B.; Bodhidatta, L.; Oderinde, B.S.; Wommack, K.E.; Delwart, E. High variety of known and new RNA and DNA viruses of diverse origins in untreated sewage. J. Virol. 2012, 86, 12161–12175. [Google Scholar] [CrossRef]
- Karthikeyan, S.; Levy, J.I.; De Hoff, P.; Humphrey, G.; Birmingham, A.; Jepsen, K.; Farmer, S.; Tubb, H.M.; Valles, T.; Tribelhorn, C.E.; et al. Wastewater sequencing uncovers early, cryptic SARS-CoV-2 variant transmission. medRxiv 2021. [Google Scholar] [CrossRef]
- Baaijens, J.A.; Zulli, A.; Ott, I.M.; Petrone, M.E.; Alpert, T.; Fauver, J.R.; Kalinich, C.C.; Vogels, C.B.F.; Breban, M.I.; Duvallet, C.; et al. Variant abundance estimation for SARS-CoV-2 in wastewater using RNA-Seq quantification. medRxiv 2021. [Google Scholar] [CrossRef]
- Pipes, L.; Chen, Z.; Afanaseva, S.; Nielsen, R. Estimating the relative proportions of SARS-CoV-2 strains from wastewater samples. medRxiv 2022. [Google Scholar] [CrossRef]
- Cantalupo, P.G.; Calgua, B.; Zhao, G.; Hundesa, A.; Wier, A.D.; Katz, J.P.; Grabe, M.; Hendrix, R.W.; Girones, R.; Wang, D.; et al. Raw sewage harbors diverse viral populations. MBio 2011, 2, e00180-11. [Google Scholar] [CrossRef]
- Tamaki, H.; Zhang, R.; Angly, F.E.; Nakamura, S.; Hong, P.-Y.; Yasunaga, T.; Kamagata, Y.; Liu, W.-T. Metagenomic analysis of DNA viruses in a wastewater treatment plant in tropical climate. Environ. Microbiol. 2011, 14, 441–452. [Google Scholar] [CrossRef] [PubMed]
- Dutilh, B.E.; Cassman, N.; McNair, K.; Sanchez, S.E.; Silva, G.G.; Boling, L.; Barr, J.J.; Speth, D.R.; Seguritan, V.; Aziz, R.K.; et al. A highly abundant bacteriophage discovered in the unknown sequences of human fecal metagenomes. Nat. Commun. 2014, 5, 4498. [Google Scholar] [CrossRef] [PubMed]
- Stachler, E.; Bibby, K. Metagenomic evaluation of the highly abundant human gut bacteriophage crassphage for source tracking of human fecal pollution. Environ. Sci. Technol. Lett. 2014, 1, 405–409. [Google Scholar] [CrossRef]
- Victoria, J.G.; Kapoor, A.; Li, L.; Blinkova, O.; Slikas, B.; Wang, C.; Naeem, A.; Zaidi, S.; Delwart, E. Metagenomic analyses of viruses in stool samples from children with acute flaccid paralysis. J. Virol. 2009, 83, 4642–4651. [Google Scholar] [CrossRef] [PubMed]
- Zhang, T.; Breitbart, M.; Lee, W.H.; Run, J.-Q.; Wei, C.L.; Soh, S.W.; Hibberd, M.L.; Liu, E.T.; Rohwer, F.; Ruan, Y. RNA viral community in human feces: Prevalence of plant pathogenic viruses. PLoS Biol. 2006, 4, e0040003. [Google Scholar] [CrossRef]
- Fujioka, T.; Makabe, R.; Mori, N.; Snyder, S.A.; Leddy, M. Assessment of online bacterial particle counts for monitoring the performance of reverse osmosis membrane process in potable reuse. Sci. Total Environ. 2019, 667, 540–544. [Google Scholar] [CrossRef]
- Tchobanoglous, G.; Leverenz, H.; Nellor, M.; Crook, J. Direct Potable Reuse—A Path Forward; Project 11-00; WateReuse Research Foundation: Alexandria, VA, USA, 2011; Available online: https://watereuse.org/watereuse-research/11-00-direct-potable-reuse-a-path-forward/ (accessed on 30 March 2022).
- Lin, J.; Ganesh, A. Water quality indicators: Bacteria, coliphages, enteric viruses. Int. J. Environ. Health Res. 2013, 23, 484–506. [Google Scholar] [CrossRef]
- Papp, K.; Moser, D.; Gerrity, D. Viral surrogates in potable reuse applications: Evaluation of a membrane bioreactor and full advanced treatment. J. Environ. Eng. 2020, 146, 04019103. [Google Scholar] [CrossRef]
- National Research Council (NRC) Committee on Indicators for Waterborne Pathogens. Indicators for Waterborne Pathogens; National Academies Press: Washington DC, USA, 2004. [CrossRef]
- Bartram, J.; Cotruvo, J.; Exner, M.; Fricker, C.; Glasmacher, A. Heterotrophic Plate Counts and Drinking-water Safety: The Significance of HPCs for Water Quality and Human Health; IWA Publishing: London, UK, 2013. [Google Scholar] [CrossRef][Green Version]
- Safford, H.R.; Bischel, H.N. Flow cytometry applications in water treatment, distribution, and Reuse: A Review. Water Res. 2019, 151, 110–133. [Google Scholar] [CrossRef]
- Buysschaert, B.; Vermijs, L.; Naka, A.; Boon, N.; De Gusseme, B. Online flow cytometric monitoring of microbial water quality in a full-scale water treatment plant. Npj Clean Water 2018, 1, 16. [Google Scholar] [CrossRef]
- Olivieri, A.W.; Crook, J.; Anderson, M.A.; Bull, R.J.; Drewes, J.E.; Hass, C.N.; Jakubowski, W.; McCarty, P.L.; Nelson, K.L.; Rose, J.B.; et al. Evaluation of the Feasibility of Developing Uniform Water Recycling Criteria for Direct Potable Reuse; National Water Research Institute (NWRI) for the State Water Resources Control Board: Sacramento, CA, USA, 2016. Available online: https://www.waterboards.ca.gov/drinking_water/certlic/drinkingwater/documents/rw_dpr_criteria/app_a_ep_rpt.pdf (accessed on 2 April 2022).
- Fujioka, R.; Sian-Denton, C.; Borja, M.; Castro, J.; Morphew, K. Soil: The environmental source of Escherichia coli and Enterococci in Guam’s streams. J. Appl. Microbiol. 1998, 85 (Suppl. 1), 83S–89S. [Google Scholar] [CrossRef] [PubMed]
- Fujioka, R.S. Monitoring coastal marine waters for spore-forming bacteria of fecal and soil origin to determine point from non-point source pollution. Water Sci. Technol. 2001, 44, 181–188. [Google Scholar] [CrossRef] [PubMed]
- Hardina, C.M.; Fujioka, R.S. Soil: The environmental source of escherichia coli and enterococci in Hawaii’s streams. Environ. Toxicol. Water Qual. 1991, 6, 185–195. [Google Scholar] [CrossRef]
- Hazen, T.C.; Santiago-Mercado, J.; Toranzos, G.A.; Bermudez, M. What does the presence of fecal coliforms indicate in the waters of Puerto Rico? A review. Bol. Puerto Rico Med. Assoc. 1987, 79, 189–193. [Google Scholar]
- Byappanahalli, M.N.; Whitman, R.L.; Shively, D.A.; Sadowsky, M.J.; Ishii, S. Population structure, persistence, and seasonality of autochthonous escherichia coli in temperate, coastal forest soil from a Great Lakes Watershed. Environ. Microbiol. 2006, 8, 504–513. [Google Scholar] [CrossRef]
- Whitman, R.L.; Nevers, M.B. Foreshore Sand as a source of escherichia coli in nearshore water of a lake michigan beach. Appl. Environ. Microbiol. 2003, 69, 5555–5562. [Google Scholar] [CrossRef]
- Fujioka, R.S.; Shizumura, L.K. Clostridium Perfringens, a Reliable Indicator of Stream Water Quality. J. Water Pollut. Control. Fed. 1985, 57, 986–992. Available online: http://www.jstor.org/stable/25042767 (accessed on 2 April 2022).
- Klein, G. Taxonomy, ecology and antibiotic resistance of enterococci from food and the gastro-intestinal tract. Int. J. Food Microbiol. 2003, 88, 123–131. [Google Scholar] [CrossRef]
- SLMB (Schweizerische Lebensmittelbuch). Determining the Total Cell Count and Ratios of High and Low Nucleic Acid Content Cells in Freshwater Using Flow Cytometry; Swiss Federal Office of Public Health: Bern, Switzerland, 2012. [Google Scholar]
- Huang, X.; Zhao, Z.; Hernandez, D.; Jiang, S. Near real-time flow cytometry monitoring of bacterial and viral removal efficiencies during water reclamation processes. Water 2016, 8, 464. [Google Scholar] [CrossRef]
- Ma, L.; Mao, G.; Liu, J.; Yu, H.; Gao, G.; Wang, Y. Rapid quantification of bacteria and viruses in influent, settled water, activated sludge and effluent from a wastewater treatment plant using flow cytometry. Water Sci. Technol. 2013, 68, 1763–1769. [Google Scholar] [CrossRef] [PubMed]
- Dlusskaya, E.; Dey, R.; Pollard, P.C.; Ashbolt, N. Outer Limits of Flow Cytometry to Quantify Viruses in Water. ACS EST Water 2021, 1, 1127–1135. [Google Scholar] [CrossRef]
- Asano, T.; Leong, L.Y.; Rigby, M.G.; Sakaji, R.H. Evaluation of the California wastewater reclamation criteria using Enteric Virus Monitoring Data. Water Sci. Technol. 1992, 26, 1513–1524. [Google Scholar] [CrossRef]
- Hamilton, A.J.; Stagnitti, F.; Premier, R.; Boland, A.-M.; Hale, G. Quantitative microbial risk assessment models for consumption of raw vegetables irrigated with reclaimed water. Appl. Environ. Microbiol. 2006, 72, 3284–3290. [Google Scholar] [CrossRef] [PubMed]
- Olivieri, A.W.; Seto, E.; Cooper, R.C.; Cahn, M.D.; Colford, J.; Crook, J.; Debroux, J.-F.; Mandrell, R.; Suslow, T.; Tchobanoglous, G.; et al. Risk-based review of California’s water-recycling criteria for agricultural irrigation. J. Environ. Eng. 2014, 140, 04014015. [Google Scholar] [CrossRef]
- Petterson, S.R.; Ashbolt, N.J.; Sharma, A. Microbial risks from wastewater irrigation of Salad Crops: A screening-level risk assessment. Water Environ. Res. 2001, 73, 667–672. [Google Scholar] [CrossRef] [PubMed]
- Agulló-Barceló, M.; Casas-Mangas, R.; Lucena, F. Direct and indirect QMRA of infectious cryptosporidium oocysts in Reclaimed Water. J. Water Health 2012, 10, 539–548. [Google Scholar] [CrossRef] [PubMed][Green Version]
- Tanaka, H.; Asano, T.; Schroeder, E.D.; Tchobanoglous, G. Estimating the safety of wastewater reclamation and reuse using Enteric Virus Monitoring Data. Water Environ. Res. 1998, 70, 39–51. [Google Scholar] [CrossRef]
- He, X.Q.; Cheng, L.; Zhang, D.Y.; Xie, X.M.; Wang, D.H.; Wang, Z. One-year monthly survey of rotavirus, astrovirus and norovirus in three sewage treatment plants (stps) in Beijing, China and Associated Health Risk Assessment. Water Sci. Technol. 2011, 64, 1202–1210. [Google Scholar] [CrossRef]
- Lim, K.-Y.; Hamilton, A.J.; Jiang, S.C. Assessment of public health risk associated with viral contamination in harvested urban stormwater for domestic applications. Sci. Total Environ. 2015, 523, 95–108. [Google Scholar] [CrossRef]
- Chandrasekaran, S.; Jiang, S.C. A dynamic transport model for quantification of norovirus internalization in lettuce from irrigation water and Associated Health Risk. Sci. Total Environ. 2018, 643, 751–761. [Google Scholar] [CrossRef] [PubMed]
- Haas, C.N. Neural networks provide superior description of Giardia lamblia inactivation by free chlorine. Water Res. 2004, 38, 3449–3457. [Google Scholar] [CrossRef] [PubMed]
- Jawad, J.; Hawari, A.H.; Zaidi, S.J. Artificial neural network modeling of wastewater treatment and desalination using membrane processes: A review. Chem. Eng. J. 2021, 419, 129540. [Google Scholar] [CrossRef]
- Dias, C.G.; Henriques Librantz, A.F.; Rodrigues dos Santos, F.C. Modeling and simulation of an intelligent system for dosage control of post-chlorination in water treatment plants. Eng. Sanit. E Ambient. 2020, 25, 323–332. [Google Scholar] [CrossRef]
- Cecconi, F.; & Rosso, D. Soft Sensing for On-Line Fault Detection of Ammonium Sensors in Water Resource Recovery Facilities. Environ. Sci. Technol. 2021, 55, 10067–10076. [Google Scholar] [CrossRef]
- Malviya, A.; Jaspal, D. Artificial intelligence as an upcoming technology in wastewater treatment: A comprehensive review. Environ. Technol. Rev. 2021, 10, 177–187. [Google Scholar] [CrossRef]
- Newhart, K.B.; Goldman-Torres, J.E.; Freedman, D.E.; Wisdom, K.B.; Hering, A.S.; Cath, T.Y. Prediction of peracetic acid disinfection performance for secondary municipal wastewater treatment using artificial neural networks. ACS EST Water 2021, 1, 328–338. [Google Scholar] [CrossRef]
- Carvajal, G.; Roser, D.J.; Sisson, S.A.; Keegan, A.; Khan, S.J. Bayesian belief network modeling of chlorine disinfection for human pathogenic viruses in municipal wastewater. Water Res. 2017, 109, 144–154. [Google Scholar] [CrossRef]
- Zhu, Y.; Chen, R.; Li, Y.-Y.; Sano, D. Virus removal by membrane bioreactors: A review of mechanism investigation and modeling efforts. Water Res. 2021, 188, 116522. [Google Scholar] [CrossRef]
- Chen, J.C.; Chang, N.B.; Shieh, W.K. Assessing Wastewater Reclamation Potential by Neural Network Model. Eng. Appl. Artif. Intell. 2003, 16, 149–157. [Google Scholar] [CrossRef]
- Barron, L.; Havel, J.; Purcell, M.; Szpak, M.; Kelleher, B.; Paull, B. Predicting sorption of pharmaceuticals and personal care products onto soil and digested sludge using Artificial Neural Networks. Analyst 2009, 134, 663. [Google Scholar] [CrossRef] [PubMed]
- Khataee, A.R.; Mirzajani, O. UV/peroxydisulfate oxidation of C. I. Basic Blue 3: Modeling of key factors by Artificial Neural Network. Desalination 2010, 251, 64–69. [Google Scholar] [CrossRef]
- Zhao, L.; Chai, T. Wastewater BOD forecasting model for optimal operation using robust time-delay neural network. In Advances in Neural Networks—ISNN 2005; Springer: Berlin/Heidelberg, Germany, 2005; pp. 1028–1033. [Google Scholar] [CrossRef]
- Menezes, F.C.; Fontes, R.M.; Oliveira-Esquerre, K.P.; Kalid, R. Application of uncertainty analysis of artificial neural NETWORKS FOR predicting coagulant and alkalizer dosages in a water treatment process. Braz. J. Chem. Eng. 2018, 35, 1369–1381. [Google Scholar] [CrossRef]



| Viral Concentration Methods | ||
|---|---|---|
| Advantages | Disadvantages | |
| Virus adsorption and elution | Fast (hours). | Viruses must be subject to capture and elution, which may not be 100% efficient. Inhibition depends upon eluate chemistry. |
| Electronegative filtration | Fast (hours). Inexpensive. Supplies are easy to procure. | Viruses must be positively charged and captured, which may not be 100% efficient. |
| Size exclusion | Captured by size. | Cartridges are subject to availability and can be expensive. May be subject to extensive plugging limiting volume processed. Requires a specialized centrifuge in some cases. |
| Coagulation/flocculation | Fast (hours). Inexpensive. Supplies are easy to procure. | Viruses must be captured by process, which may not be 100% efficient. Inhibition depends upon eluate chemistry. |
| Magnetic Bead Based Capture | Fast (hours). Process is automated by commercial vendors. Less inhibition | Beads are subject to availability and can be expensive. |
| Viral Quantification Methods | ||
| Advantages | Disadvantages | |
| Cell Culture | Measures potentially infectious viruses. | Slow to obtain results (weeks). |
| PCR | Fast (hours). Higher sensitivity and specificityDetects non-culturable viruses. | Does not measure infectiousViruses. Subject to inhibition. |
| Candidates | Host | Genome Type | Morphology | Transmission Pathway to Human | Criteria for an Ideal Surrogate | |||||
|---|---|---|---|---|---|---|---|---|---|---|
| Presence in the Presence of Enteric Viruses | Similar Survival Rate to Hardiest Enteric Virus | Levels Observed in Raw Sewage a,b,c,d Copies/L or pfu/L | Ease of Infectivity Assay | Fast and Sensitive Detection Method | Globally Distributed and TEMPORALLY Stable | |||||
| Enterovirus | Human | RNA+ | small- icosahedral | Fecal–oral | Yes | No | 105–106 | No | No | No |
| Norovirus | Human | RNA+ | small-icosahedral | Fecal–oral | Yes | No | 104–109 | No | No | No |
| Adenovirus | Human | dsDNA | medium- icosahedral | Fecal–oral and aerosol | Yes | Yes | 104–109 | No | No | Yes |
| Aichi virus | Human | RNA+ | small- icosahedral | Fecal–oral | Not well studied | Not well studied | Not well studied | No | No | Yes |
| Somatic coliphage | E. coli | dsDNA | vary | Not Applicable e | Yes | Yes | 104–106 | Yes | No | Yes |
| F-specific coliphage | E. coli | ssRNA or ssDNA | small- icosahedral or filamentous | Not Applicable e | Yes | Yes | 103–107 | Yes | No | Yes |
| CrAssphage | Bacteroides intestinalis | Circular dsDNA | icosahedral head with a short tail | Not Applicable e | Yes | Not well studied | 107–109 | No | No | Not well studied |
| PMMoV | Pepper | RNA+ | rod | Not Applicable f | Yes | Yes | 106–109 | No | No | Yes |
| ToBRFV | Tomato | RNA+ | rod | Not Applicable f | Not well studied | Not well studied | Not well studied | No | No | Not well studied |
| virus-like particles | Mostly bacteria | Vary | vary | Vary | Yes | Yes | Not well studied | No | Yes | Yes |
Publisher’s Note: MDPI stays neutral with regard to jurisdictional claims in published maps and institutional affiliations. |
© 2022 by the authors. Licensee MDPI, Basel, Switzerland. This article is an open access article distributed under the terms and conditions of the Creative Commons Attribution (CC BY) license (https://creativecommons.org/licenses/by/4.0/).
Share and Cite
Jiang, S.C.; Bischel, H.N.; Goel, R.; Rosso, D.; Sherchan, S.P.; Whiteson, K.L.; Yan, T.; Solo-Gabriele, H.M. Integrating Virus Monitoring Strategies for Safe Non-Potable Water Reuse. Water 2022, 14, 1187. https://doi.org/10.3390/w14081187
Jiang SC, Bischel HN, Goel R, Rosso D, Sherchan SP, Whiteson KL, Yan T, Solo-Gabriele HM. Integrating Virus Monitoring Strategies for Safe Non-Potable Water Reuse. Water. 2022; 14(8):1187. https://doi.org/10.3390/w14081187
Chicago/Turabian StyleJiang, Sunny C., Heather N. Bischel, Ramesh Goel, Diego Rosso, Samendra P. Sherchan, Katrine L. Whiteson, Tao Yan, and Helena M. Solo-Gabriele. 2022. "Integrating Virus Monitoring Strategies for Safe Non-Potable Water Reuse" Water 14, no. 8: 1187. https://doi.org/10.3390/w14081187
APA StyleJiang, S. C., Bischel, H. N., Goel, R., Rosso, D., Sherchan, S. P., Whiteson, K. L., Yan, T., & Solo-Gabriele, H. M. (2022). Integrating Virus Monitoring Strategies for Safe Non-Potable Water Reuse. Water, 14(8), 1187. https://doi.org/10.3390/w14081187

