Trends and Consumption Structures of China’s Blue and Grey Water Footprint
Abstract
:1. Introduction
2. Materials and Methods
2.1. Input–Output Table
2.2. Water Use, Water Consumption and Return Water
2.3. Water Consumption Coefficient and Return Water Coefficient
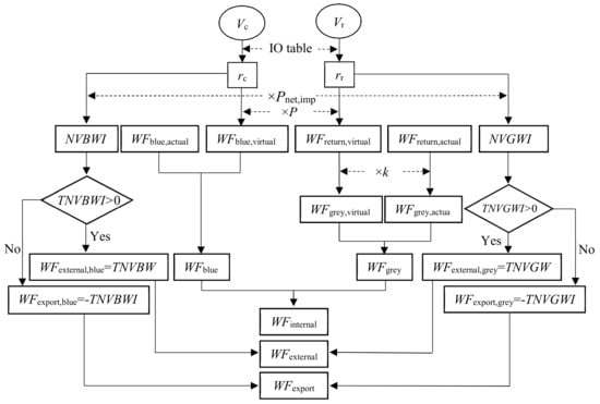
2.4. Internal Water Footprint, Blue Water Footprint and Grey Water Footprint
2.5. External Water Footprint and Water Footprint Export
2.6. Materials
3. Results
3.1. Internal Water Footprint
3.2. The Consumption Structure of Blue Water Footprint
3.3. The Consumption Structure of Grey Water Footprint
3.4. External Water Footprint and Water Footprint Export
4. Discussion
5. Conclusions
- (1)
- From 2002 to 2012, the average annual internal water footprint was 3.83 trillion m3 in China, in which grey water footprint took a large proportion of 93% on average. Both internal water footprint and grey water footprint experienced a decreasing trend from 2002 to 2012, except for a dramatic increase in 2010; while blue water footprint did not change significantly.
- (2)
- The annual average of blue water footprint was 0.25 trillion m3, in which the annual average of was 0.22 trillion m3. in agriculture (sector 1) was the largest among sectors, accounting for 39.2% of the total virtual blue water footprint. in most sectors showed increased trends due to the increase of final demand.
- (3)
- The average grey water footprint caused by living return water was 0.72 trillion m3, and that caused by virtual return water was 2.14 trillion m3 (conversion with the Grade III water standard). Among sectors, annual in tertiary industry (sector 26) was the highest, which accounted for 27.5% of the total , followed by that in food and tobacco processing (sector 6). in most sectors showed decreasing trends due to the decreases of total return water coefficients and conversion coefficients of virtual grey water footprint.
- (4)
- For water resources, China was self-reliant, the water used for producing the products and services to meet domestic consumption was taken domestically; meanwhile, China exported virtual water to other countries, which aggravated the water stress in China.
Supplementary Materials
Acknowledgments
Author Contributions
Conflicts of Interest
References
- Hoekstra, A.Y. Human appropriation of natural capital: A comparison of ecological footprint and water footprint analysis. Ecol. Econ. 2009, 68, 1963–1974. [Google Scholar] [CrossRef]
- Falkenmark, M.; Rockstrom, J. The new blue and green water paradigm: Breaking new ground for water resources planning and management. J. Water Resour. Plan. Manag. 2006, 132, 129–132. [Google Scholar] [CrossRef]
- Feng, K.; Siu, Y.L.; Guan, D.; Hubacek, K. Assessing regional virtual water flows and water footprints in the Yellow River Basin, China: A consumption based approach. Appl. Geogr. 2012, 32, 691–701. [Google Scholar] [CrossRef]
- Yang, H.; Wang, L.; Zehnder, A.J.B. Water scarcity and food trade in the Southern and Eastern Mediterranean countries. Food Policy 2007, 32, 585–605. [Google Scholar] [CrossRef]
- Zhang, Z.; Shi, M.; Yang, H. Understanding Beijing’s water challenge: A decomposition analysis of changes in Beijing’s water footprint between 1997 and 2007. Environ. Sci. Technol. 2012, 46, 12373–12380. [Google Scholar] [CrossRef] [PubMed]
- Zhao, X.; Yang, H.; Yang, Z.; Chen, B.; Qin, Y. Applying the input-output method to account for water footprint and virtual water trade in the Haihe River basin in China. Environ. Sci. Technol. 2010, 44, 9150–9156. [Google Scholar] [CrossRef] [PubMed]
- Hoekstra, A.Y.; Chapagain, A.K. Water footprints of nations: Water use by people as a function of their consumption pattern. Water Resour. Manag. 2006, 21, 35–48. [Google Scholar] [CrossRef]
- Hoekstra, A.Y.; Chapagain, A.K.; Aldaya, M.M.; Mekonnen, M.M. The Water Footprint Manual, State of the Art 2009; Water Footprint Network: Enschede, The Netherlands, 2009. [Google Scholar]
- Munoz Castillo, R.; Feng, K.; Hubacek, K.; Sun, L.; Guilhoto, J.; Miralles-Wilhelm, F. Uncovering the Green, Blue, and Grey Water Footprint and Virtual Water of Biofuel Production in Brazil: A Nexus Perspective. Sustainability 2017, 9, 2049. [Google Scholar] [CrossRef]
- Zhao, D.D.; Tang, Y.; Liu, J.G.; Tillotson, M.R. Water footprint of Jing-Jin-Ji urban agglomeration in China. J. Clean. Prod. 2017, 167, 919–928. [Google Scholar] [CrossRef]
- Wang, Z.; Huang, K.; Yang, S.; Yu, Y. An input-output approach to evaluate the water footprint and virtual water trade of Beijing, China. J. Clean. Prod. 2013, 42, 172–179. [Google Scholar] [CrossRef]
- Zhao, X.; Chen, B.; Yang, Z.F. National water footprint in an input-output framework—A case study of China 2002. Ecol. Model. 2009, 220, 245–253. [Google Scholar] [CrossRef]
- Zhang, Z.; Shi, M.; Yang, H.; Chapagain, A. An Input-Output Analysis of Trends in Virtual Water Trade and the Impact on Water Resources and Uses in China. Econ. Syst. Res. 2011, 23, 431–446. [Google Scholar] [CrossRef]
- Kang, J.; Lin, J.; Cui, S.; Li, X. Water footprint of Xiamen city from production and consumption perspectives (2001–2012). Water Sci. Technol. 2017, 17, 472–479. [Google Scholar] [CrossRef]
- Daniels, P.L.; Lenzen, M.; Kenway, S.J. The Ins and Outs of Water Use—A Review of Multi-Region Input-Output Analysis and Water Footprints for Regional Sustainability Analysis and Policy. Econ. Syst. Res. 2011, 23, 353–370. [Google Scholar] [CrossRef]
- Sun, Y.; Shen, L.; Lu, C. Study on the water footprint and external water dependency of Beijing. Water Sci. Technol. 2016, 16, 1077–1085. [Google Scholar] [CrossRef]
- Ridoutt, B.G.; Pfister, S. A revised approach to water footprinting to make transparent the impacts of consumption and production on global freshwater scarcity. Glob. Environ. Chang. 2010, 20, 113–120. [Google Scholar] [CrossRef]
- Zhao, X.; Liu, J.; Liu, Q.; Tillotson, M.R.; Guan, D.; Hubacek, K. Physical and virtual water transfers for regional water stress alleviation in China. Proc. Natl. Acad. Sci. USA 2015, 112, 1031–1035. [Google Scholar] [CrossRef] [PubMed]
- Hoekstra, A.Y.; Hung, P.Q. Globalisation of water resources: International virtual water flows in relation to crop trade. Glob. Environ. Chang. 2005, 15, 45–56. [Google Scholar] [CrossRef]
- Yang, H.; Wang, L.; Abbaspour, K.C.; Zehnder, A.J.B. Virtual water trade: An assessment of water use efficiency in the international food trade. Hydrol. Earth Syst. Sci. 2006, 10, 443–454. [Google Scholar] [CrossRef]
- Hoekstra, A.Y.; Mekonnen, M.M. The water footprint of humanity. Proc. Natl. Acad. Sci. USA 2012, 109, 3232–3237. [Google Scholar] [CrossRef] [PubMed]
- Liu, W.; Antonelli, M.; Liu, X.; Yang, H. Towards improvement of grey water footprint assessment: With an illustration for global maize cultivation. J. Clean. Prod. 2017, 147, 1–9. [Google Scholar] [CrossRef]
- Zeng, Z.; Liu, J.; Savenije, H.H.G. A simple approach to assess water scarcity integrating water quantity and quality. Ecol. Indic. 2013, 34, 441–449. [Google Scholar] [CrossRef]
- Sun, C.Z.; Han, Q.; Deng, D.F. The spatial correlation of the provincial grey water footprint and its loading coefficient in China. Acta Ecol. Sin. 2016, 36, 86–97. [Google Scholar]
- Van Oel, P.R.; Mekonnen, M.M.; Hoekstra, A.Y. The external water footprint of the Netherlands: Geographically-explicit quantification and impact assessment. Ecol. Econ. 2009, 69, 82–92. [Google Scholar] [CrossRef]
- Zhang, Z.; Yang, H.; Shi, M. Spatial and sectoral characteristics of China’s international and interregional virtual water flows—Based on multi-regional input–output model. Econ. Syst. Res. 2016, 28, 362–382. [Google Scholar] [CrossRef]
- Hoekstra, A.Y.; Chapagain, A.K. Globalization of Water: Sharing the Planets Freshwater Resources; Blackwell: Oxford, UK, 2008. [Google Scholar]








| Sectors | |
|---|---|
| 1 Agriculture | 14 Metal smelting and processing |
| 2 Coal mining and processing | 15 Metal products |
| 3 Crude petroleum and natural gas extracting | 16 General and specialized machinery |
| 4 Metallic mining | 17 Transport equipment |
| 5 Non-metallic and other minerals mining | 18 Electric equipment and machinery |
| 6 Food and tobacco processing | 19 Electronic and telecommunications equipment |
| 7 Textile | 20 Instruments, meters, cultural and office machinery |
| 8 Garments, leather, furs, down | 21 Scrap waste and other manufacturing products |
| 9 Timber processing and furniture manufacturing | 22 Electronic and heating power production and supply |
| 10 Papermaking and cultural articles | 23 Gas production and supply |
| 11 Petroleum processing and coking | 24 Water production and supply |
| 12 Chemicals | 25 Construction |
| 13 Non-metal mineral products | 26 Tertiary industry |
| Sectors | 2002 | 2005 | 2007 | 2010 | 2012 | Average | Proportions | Trend |
|---|---|---|---|---|---|---|---|---|
| 1 | 119,418 | 85,386 | 73,824 | 64,867 | 91,529 | 87,005 | 39.2% | −2.2% |
| 2 | 192 | −556 | 52 | 66 | 62 | −37 | 0.0% | −14.7% |
| 3 | 13 | 4 | 10 | 14 | 17 | 12 | 0.0% | 4.4% |
| 4 | 12 | 303 | 29 | 98 | 7 | 90 | 0.0% | −4.9% |
| 5 | 10 | −57 | 1 | 12 | −11 | −9 | 0.0% | −7.9% |
| 6 | 29,952 | 39,580 | 45,420 | 57,786 | 60,435 | 46,635 | 21.0% | 4.6% |
| 7 | 1742 | 1063 | 869 | 812 | 1164 | 1130 | 0.5% | −3.1% |
| 8 | 3584 | 5612 | 6232 | 7557 | 6952 | 5988 | 2.7% | 3.8% |
| 9 | 916 | 515 | 2044 | 1822 | 1938 | 1447 | 0.7% | 6.3% |
| 10 | 434 | 421 | 336 | 588 | 1177 | 591 | 0.3% | 9.3% |
| 11 | 49 | 341 | 194 | 286 | 493 | 273 | 0.1% | 9.6% |
| 12 | 1740 | 283 | 1661 | 2188 | 2690 | 1712 | 0.8% | 6.5% |
| 13 | 236 | 311 | 110 | 198 | 83 | 188 | 0.1% | −4.9% |
| 14 | 11 | −2 | 252 | 298 | 38 | 119 | 0.1% | 6.3% |
| 15 | 401 | −48 | 513 | 305 | 664 | 367 | 0.2% | 7.5% |
| 16 | 2638 | 4404 | 3957 | 5241 | 5021 | 4252 | 1.9% | 3.5% |
| 17 | 1539 | 2383 | 3384 | 5805 | 5280 | 3678 | 1.7% | 8.3% |
| 18 | 708 | 1303 | 1942 | 3216 | 2153 | 1865 | 0.8% | 6.7% |
| 19 | 1091 | 1110 | 1053 | 1527 | 1048 | 1166 | 0.5% | 0.7% |
| 20 | 80 | 244 | 187 | 244 | 129 | 177 | 0.1% | 1.3% |
| 21 | 740 | 1,134 | 1259 | 1923 | 67 | 1025 | 0.5% | −1.1% |
| 22 | 2640 | 1523 | 2,237 | 1860 | 1312 | 1915 | 0.9% | −2.8% |
| 23 | 133 | 156 | 76 | 163 | 130 | 131 | 0.1% | 0.0% |
| 24 | 106 | 90 | 119 | 289 | 133 | 148 | 0.1% | 4.2% |
| 25 | 36,210 | 38,609 | 19,734 | 23,791 | 25,287 | 28,726 | 12.9% | −3.1% |
| 26 | 29,822 | 32,140 | 32,377 | 37,430 | 35,878 | 33,529 | 15.1% | 1.3% |
| Sectors | Virtual Blue Water Footprint | Virtual Grey Water Footprint | ||||||||||
|---|---|---|---|---|---|---|---|---|---|---|---|---|
| Rural | Urban | Government | Rural | Urban | Government | |||||||
| Volume | Trend | Volume | Trend | Volume | Trend | Volume | Trend | Volume | Trend | Volume | Trend | |
| 1 | 32,280 | −4.4% | 38,451 | −2.8% | 1880 | 0.9% | 22,025 | −3.9% | 26,225 | −2.3% | 1299 | 1.2% |
| 2 | 23 | −5.4% | 33 | −11.1% | 0 | - | 158 | −6.1% | 227 | −12.0% | 0 | - |
| 3 | 0 | - | 2 | −20.0% | 0 | - | 0 | - | 30 | −20.0% | 0 | - |
| 4 | 0 | - | 0 | - | 0 | - | 0 | - | 0 | - | 0 | - |
| 5 | 1 | −15.8% | 3 | −15.9% | 0 | - | 9 | −15.7% | 32 | −15.8% | 0 | - |
| 6 | 12,444 | 3.8% | 30,278 | 6.1% | 0 | - | 181,698 | −3.2% | 416,796 | −1.0% | 0 | - |
| 7 | 385 | −4.5% | 743 | −6.6% | 0 | - | 2660 | −6.0% | 5222 | −7.9% | 0 | - |
| 8 | 980 | 6.1% | 4628 | 4.1% | 0 | - | 16,725 | 0.8% | 82,455 | −1.1% | 0 | - |
| 9 | 136 | 1.7% | 534 | 0.9% | 0 | - | 1857 | −6.2% | 7361 | −6.6% | 0 | - |
| 10 | 73 | 9.0% | 371 | 6.7% | 0 | - | 1816 | −4.5% | 9572 | −3.9% | 0 | - |
| 11 | 27 | 2.8% | 185 | 16.1% | 0 | - | 352 | −4.5% | 1827 | 9.9% | 0 | - |
| 12 | 430 | −0.8% | 1242 | 6.5% | 0 | - | 13,510 | −7.1% | 34,077 | −2.3% | 0 | - |
| 13 | 31 | −7.4% | 139 | −8.4% | 0 | - | 176 | −9.7% | 812 | −10.0% | 0 | - |
| 14 | 2 | −16.0% | 4 | −15.9% | 0 | - | 20 | −15.4% | 43 | −15.4% | 0 | - |
| 15 | 28 | −5.0% | 122 | −3.9% | 0 | - | 120 | −2.9% | 527 | −1.7% | 0 | - |
| 16 | 4 | 8.9% | 25 | 0.4% | 0 | - | 33 | −7.2% | 241 | −8.0% | 0 | - |
| 17 | 133 | 1.9% | 537 | 12.2% | 0 | - | 911 | 1.5% | 3648 | 10.2% | 0 | - |
| 18 | 127 | 3.8% | 468 | 1.8% | 0 | - | 611 | 3.7% | 2256 | 2.0% | 0 | - |
| 19 | 65 | 3.8% | 271 | 1.4% | 0 | - | 367 | 4.6% | 1503 | 2.6% | 0 | - |
| 20 | 6 | 1.0% | 18 | 2.6% | 0 | - | 32 | 0.7% | 110 | 2.6% | 0 | - |
| 21 | 108 | −1.6% | 539 | −2.3% | 0 | - | 770 | −6.2% | 3823 | −6.4% | 0 | - |
| 22 | 378 | −1.3% | 1537 | −3.2% | 0 | - | 344 | 0.0% | 1417 | −1.9% | 0 | - |
| 23 | 7 | 10.7% | 121 | −0.6% | 0 | - | 358 | 5.2% | 7603 | −5.5% | 0 | - |
| 24 | 16 | 0.8% | 132 | 4.6% | 0 | - | 107 | −1.5% | 941 | 1.8% | 0 | - |
| 25 | 0 | - | 122 | 5.0% | 0 | - | 0 | - | 10,226 | 8.4% | 0 | - |
| 26 | 3701 | −1.0% | 13,373 | 1.7% | 13,054 | 0.6% | 88,061 | −2.5% | 312,846 | 0.3% | 307,480 | −0.9% |
| Sectors | 2002 | 2005 | 2007 | 2010 | 2012 | Average | Proportions | Trend |
|---|---|---|---|---|---|---|---|---|
| 1 | 76,152 | 59,734 | 53,158 | 46,417 | 61,890 | 59,470 | 2.1% | −1.8% |
| 2 | 1556 | −3091 | 318 | 535 | 370 | −63 | 0.0% | −18.4% |
| 3 | 182 | 70 | 95 | 152 | 94 | 118 | 0.0% | −1.9% |
| 4 | 46 | 2852 | 143 | 678 | 27 | 749 | 0.0% | −6.0% |
| 5 | 114 | −659 | 5 | 58 | −40 | −104 | 0.0% | −8.5% |
| 6 | 656,596 | 1,044,654 | 543,475 | 589,357 | 546,162 | 676,049 | 23.7% | −2.4% |
| 7 | 13,368 | 7823 | 5310 | 5191 | 7019 | 7742 | 0.3% | −4.8% |
| 8 | 88,437 | 153,195 | 114,912 | 94,259 | 88,144 | 107,790 | 3.8% | −1.3% |
| 9 | 21,379 | 10,149 | 20,339 | 13,147 | 17,615 | 16,526 | 0.6% | −0.7% |
| 10 | 20,782 | 15,730 | 10,313 | 13,391 | 12,647 | 14,573 | 0.5% | −3.1% |
| 11 | 1129 | 6274 | 1745 | 2348 | 4332 | 3166 | 0.1% | 2.2% |
| 12 | 77,256 | 13,142 | 44,466 | 41,800 | 46,023 | 44,538 | 1.6% | −1.9% |
| 13 | 1700 | 1482 | 594 | 1155 | 371 | 1060 | 0.0% | −6.1% |
| 14 | 105 | −28 | 1516 | 2369 | 360 | 864 | 0.0% | 7.3% |
| 15 | 1570 | −193 | 1645 | 1695 | 3805 | 1704 | 0.1% | 13.5% |
| 16 | 51,112 | 43,258 | 30,335 | 36,977 | 24,044 | 37,145 | 1.3% | −3.7% |
| 17 | 10,588 | 16,624 | 19,627 | 52,281 | 28,268 | 25,478 | 0.9% | 7.2% |
| 18 | 3115 | 6525 | 8853 | 17,401 | 9509 | 9080 | 0.3% | 6.6% |
| 19 | 5168 | 5148 | 6215 | 11,183 | 5082 | 6559 | 0.2% | 2.1% |
| 20 | 426 | 1697 | 868 | 1814 | 548 | 1071 | 0.0% | 0.8% |
| 21 | 9668 | 8757 | 6803 | 9498 | 349 | 7015 | 0.2% | −5.2% |
| 22 | 2019 | 1776 | 1288 | 2836 | 886 | 1761 | 0.1% | −1.5% |
| 23 | 4147 | 20,933 | 6769 | 6946 | 1503 | 8059 | 0.3% | −5.0% |
| 24 | 492 | 1316 | 680 | 2482 | 268 | 1048 | 0.0% | 1.4% |
| 25 | 1,009,117 | 309,151 | 515,587 | 3,366,144 | 0 | 1,040,000 | 36.4% | 2.0% |
| 26 | 798,105 | 828,593 | 763,382 | 723,146 | 822,375 | 787,120 | 27.5% | −0.2% |
| Sectors | Trends | Sectors | Trends | Sectors | Trends | Sectors | Trends | Sectors | Trends |
|---|---|---|---|---|---|---|---|---|---|
| 1 | 0.4% | 7 | −1.8% | 13 | −0.7% | 19 | 1.5% | 25 | 3.0% |
| 2 | −3.2% | 8 | −5.1% | 14 | 1.3% | 20 | −0.1% | 26 | −1.7% |
| 3 | −4.3% | 9 | −6.8% | 15 | 4.2% | 21 | −6.3% | ||
| 4 | −0.6% | 10 | −5.5% | 16 | −6.5% | 22 | 0.4% | ||
| 5 | −5.9% | 11 | −5.5% | 17 | 0.6% | 23 | −4.1% | ||
| 6 | −5.9% | 12 | −5.0% | 18 | 1.6% | 24 | −4.1% |
| Year | 2002 | 2005 | 2007 | 2010 | 2012 |
|---|---|---|---|---|---|
| WSR | 100% | 100% | 100% | 100% | 100% |
| WEF | 6.7% | 11.2% | 10.3% | 1.3% | 6.5% |
© 2018 by the authors. Licensee MDPI, Basel, Switzerland. This article is an open access article distributed under the terms and conditions of the Creative Commons Attribution (CC BY) license (http://creativecommons.org/licenses/by/4.0/).
Share and Cite
Wang, H.; Yang, Y. Trends and Consumption Structures of China’s Blue and Grey Water Footprint. Water 2018, 10, 494. https://doi.org/10.3390/w10040494
Wang H, Yang Y. Trends and Consumption Structures of China’s Blue and Grey Water Footprint. Water. 2018; 10(4):494. https://doi.org/10.3390/w10040494
Chicago/Turabian StyleWang, Huixiao, and Yaxue Yang. 2018. "Trends and Consumption Structures of China’s Blue and Grey Water Footprint" Water 10, no. 4: 494. https://doi.org/10.3390/w10040494
APA StyleWang, H., & Yang, Y. (2018). Trends and Consumption Structures of China’s Blue and Grey Water Footprint. Water, 10(4), 494. https://doi.org/10.3390/w10040494

