Biomass Combustion: Evaluation of POPs Emissions (VOC, PAH, PCB, PCDD/F) from Three Different Biomass Prunings (Olive, Citrus and Grapevine)
Abstract
1. Introduction
- -
- VOCs include a large amount of different organic compounds such as CFCs, alkanes, alkenes, aldehydes, ketones, aromatic compounds, etc., and they can have different effects on humans and the environment depending on their chemical characteristics. According to Tsai [14], they can be precursors to the presence of nitrogen oxides (NOx) of photochemical smog under sunlight radiation. Several VOCs can have a high ozone depletion potential (such as CFCs and halons), can be considered greenhouse gases (such as CFCs), or they can be directly dangerous to human health (such as chlorinated compounds, benzene, etc.) [15];
- -
- PAHs are produced during combustion of carbon materials at high temperatures (300–1200 °C) [16] and are toxic compounds with chemical structures containing hydrogen and carbon with two or more fused aromatic rings. PAHs can be polar or non-polar compounds. Polar PAHs are direct mutagens and carcinogens that induce oxidative stresses and cause more serious health risks than non-polar PAHs [17,18]. Some parent PAHs are transformed into polar PAHs by reactions with atmospheric oxidants [17] such as VOCs. About 65–90% of non-polar PAHs and polar PAHs in the ambient air adsorbed atmospheric particulate matter (PM) [16], which acts as a carrier for the transport of these pollutants in the breathing apparatus;
- -
- PCBs and PCDD/Fs are characterized by a semi-volatile behavior and high fat solubility that leads them to bioaccumulation phenomena. The structure of these chemicals is formed by two benzene rings modified with chlorine and connected directly (PCBs) or with an etheric bond (PCDD/Fs), which makes them highly stable compounds and which means that they can be transported in the atmosphere for long distances from the production source [19]. PCBs and in particular dioxin-like PCBs (dl-PCB) have toxicity similar to PCDD/Fs, although PCB levels are generally higher by orders of magnitude in the environment than PCDD/Fs because of the high production volume [20,21,22]. In 2011, Black et al. [23] highlighted that many studies reported PCDD/F release from metropolitan waste incinerators, but there were few studies published on emissions of PCDD/Fs from biomass combustion.
2. Materials and Methods
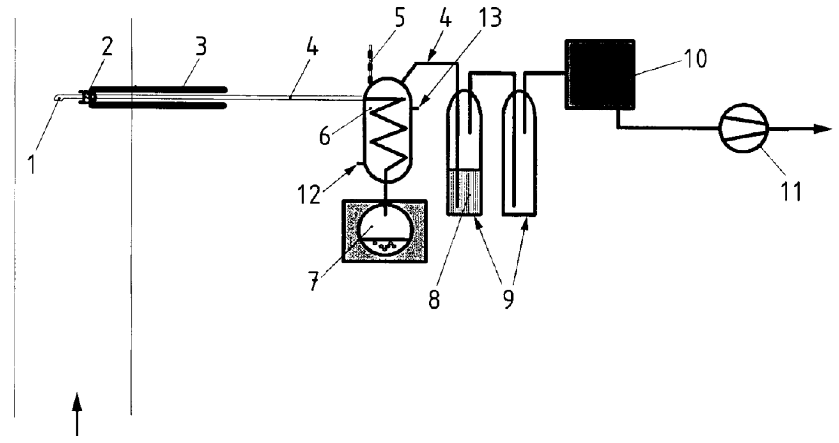
Emission Sampling
- -
- a heated titanium probe;
- -
- a heated filtration apparatus (thimble filled with quartz wool);
- -
- a water condensation system;
- -
- incondensable vapor collection system (XAD-2 resin).
3. Results and Discussions
3.1. Biomass Characterization
3.2. VOC
3.3. PAHs
3.4. PCBs and PCDD/Fs
4. Conclusions
Author Contributions
Funding
Institutional Review Board Statement
Informed Consent Statement
Conflicts of Interest
Nomenclature
| CFC | Chlorofluorocarbons |
| CO | Carbon Monoxide |
| CO2 | Carbon Dioxide |
| GC-MS | Gas Chromatography—Mass Spectrometery |
| kWth | Kilowatt-thermal. |
| GC/MS | Gas Chromatography/Mass Spectrometry |
| NOx | Nitorgen Monoxide and Nitrogen Dioxide |
| PAHs | Polycyclic Aromatic Hydrocarbons |
| PCBs | Polychlorinated Biphenyls |
| PCDD/Fs | Polychlorinated Dibenzo-p-Dioxins and Polychlorinated Dibenzofurans |
| PM | Particular Matter |
| POPs | Persistent Organic Pollutants |
| SIM | Selected Ion Monitoring |
| SO2 | Sulphur Dioxide |
| TEF | Toxic Equivalency Factors |
| TEQ | Toxic Equivalence |
| VOCs | Volatile Organic Compounds |
| XAD-2 | Adsorbent Resin for Semivolatiles Sampling |
| Nm3 | Normal cubic meter |
References
- Demirbas, A. Combustion characteristics of different biomass fuels. Prog. Energy Combust. Sci. 2004, 30, 219–230. [Google Scholar] [CrossRef]
- Rafael, S.; Tarelho, L.; Monteiro, A.; Sá, E.; Miranda, A.I.; Borrego, C.; Lopes, M. Impact of forest biomass residues to the energy supply chain on regional air quality. Sci. Total Environ. 2015, 505, 640–648. [Google Scholar] [CrossRef] [PubMed]
- Demirbas, A. Hazardous emissions from combustion of biomass. Energy Sources A Recover. Util. Environ. Eff. 2008, 30, 170–178. [Google Scholar] [CrossRef]
- Estrellan, C.R.; Iino, F. Toxic emissions from open burning. Chemosphere 2010, 80, 193–207. [Google Scholar] [CrossRef]
- Paris, E.; Gallucci, F.; Carnevale, M.; Khalid, A.; Paolini, V.; Guerriero, E. Evaluation of the VOCs emitted by the combustion of rice straw. Eur. Biomass Conf. Exhib. Proc. 2019, 1663–1666. [Google Scholar]
- Gadde, B.; Bonnet, S.; Menke, C.; Garivait, S. Air pollutant emissions from rice straw open field burning in India, Thailand and the Philippines. Environ. Pollut. 2009, 157, 1554–1558. [Google Scholar] [CrossRef]
- Boman, C.; Pettersson, E.; Westerholm, R.; Boström, D.; Nordin, A. Stove Performance and Emission Characteristics in Residential Wood Log and Pellet Combustion, Part 1: Pellet Stoves. Energy Fuels 2011, 25, 307–314. [Google Scholar] [CrossRef]
- Pařízek, T.; Bébar, L.; Stehlík, P. Persistent pollutants emission abatement in waste-to-energy systems. Clean Technol. Environ. Policy 2008, 10, 147–153. [Google Scholar] [CrossRef]
- Vincenti, B.; Paris, E.; Carnevale, M.; Palma, A.; Guerriero, E.; Borello, D.; Paolini, V.; Gallucci, F. Saccharides as Particulate Matter Tracers of Biomass Burning: A Review. Int. J. Environ. Res. Public Health 2022, 19, 4387. [Google Scholar] [CrossRef]
- Canter, L.W. Macro Air Pollution Effects. Air Pollut. 2019, 1–6. [Google Scholar] [CrossRef]
- Nazaroff, W.W.; Weschler, C.J. Cleaning products and air fresheners: Exposure to primary and secondary air pollutants. Atmos. Environ. 2004, 38, 2841–2865. [Google Scholar] [CrossRef]
- Proto, A.R.; Palma, A.; Paris, E.; Papandrea, S.F.; Vincenti, B.; Carnevale, M.; Guerriero, E.; Bonofiglio, R.; Gallucci, F. Assessment of wood chip combustion and emission behavior of different agricultural biomasses. Fuel 2021, 289, 119758. [Google Scholar] [CrossRef]
- Anderson, R.R.; Martello, D.V.; Lucas, L.J.; Davidson, C.I.; Modey, W.K.; Eatough, D.J. Apportionment of Ambient Primary and Secondary Pollutants during a 2001 Summer Study in Pittsburgh Using U.S. Environmental Protection Agency UNMIX. J. Air Waste Manag. Assoc. 2006, 56, 1301–1319. [Google Scholar] [CrossRef][Green Version]
- Tsai, W.T. Fate of chloromethanes in the atmospheric environment: Implications for human health, ozone formation and depletion, and global warming impacts. Toxics 2017, 5, 23. [Google Scholar] [CrossRef]
- Ciccioli, P.; Brancaleoni, E.; Frattoni, M.; Cecinato, A.; Pinciarelli, L. Determination of volatile organic compounds (VOC) emitted from biomass burning of Mediterranean vegetation species by GC-MS. Anal. Lett. 2001, 34, 937–955. [Google Scholar] [CrossRef]
- Famiyeh, L.; Chen, K.; Xu, J.; Sun, Y.; Guo, Q.; Wang, C.; Lv, J.; Tang, Y.T.; Yu, H.; Snape, C.; et al. A review on analysis methods, source identification, and cancer risk evaluation of atmospheric polycyclic aromatic hydrocarbons. Sci. Total Environ. 2021, 789, 147741. [Google Scholar] [CrossRef]
- Drotikova, T.; Ali, A.M.; Halse, A.K.; Reinardy, H.C.; Kallenborn, R. Polycyclic aromatic hydrocarbons (PAHs) and oxy- and nitro-PAHs in ambient air of the Arctic town Longyearbyen, Svalbard. Atmos. Chem. Phys. 2020, 20, 9997–10014. [Google Scholar] [CrossRef]
- Elzein, A.; Dunmore, R.E.; Ward, M.W.; Hamilton, J.F.; Lewis, A.C. Variability of polycyclic aromatic hydrocarbons and their oxidative derivatives in wintertime Beijing, China. Atmos. Chem. Phys. 2019, 19, 8741–8758. [Google Scholar] [CrossRef]
- Li, X.; Su, X. Assessment of the Polychlorinated Biphenyl (PCB) Occurrence in Copper Sulfates and the Influential Role of PCB Levels on Grapes. PLoS ONE 2015, 10, e0144896. [Google Scholar] [CrossRef]
- Chen, J.; Zhao, H.; Gao, L.; Henkelmann, B.; Schramm, K.-W. Atmospheric PCDD/F and PCB levels implicated by pine (Cedrus deodara) needles at Dalian, China. Environ. Pollut. 2006, 144, 510–515. [Google Scholar] [CrossRef]
- Schmid, P.; Gujer, E.; Zennegg, M.; Bucheli, T.D.; Desaules, A. Correlation of PCDD/F and PCB concentrations in soil samples from the Swiss soil monitoring network (NABO) to specific parameters of the observation sites. Chemosphere 2005, 58, 227–234. [Google Scholar] [CrossRef]
- Okay, O.S.; Karacik, B.; Başak, S.; Henkelmann, B.; Bernhöft, S.; Schramm, K.-W. PCB and PCDD/F in sediments and mussels of the Istanbul strait (Turkey). Chemosphere 2009, 76, 159–166. [Google Scholar] [CrossRef]
- Black, R.R.; Meyer, C.P.M.; Touati, A.; Gullett, B.K.; Fiedler, H.; Mueller, J.F. Emission factors for PCDD/PCDF and dl-PCB from open burning of biomass. Environ. Int. 2012, 38, 62–66. [Google Scholar] [CrossRef]
- Paris, E.; Carnevale, M.; Vincenti, B.; Palma, A.; Guerriero, E.; Borello, D.; Gallucci, F. Evaluation of VOCs Emitted from Biomass Combustion in a Small CHP Plant: Difference between Dry and Wet Poplar Woodchips. Molecules 2022, 27, 955. [Google Scholar] [CrossRef] [PubMed]
- Lai, Y.-C.; Tsai, C.-H.; Chen, Y.-L.; Chang-Chien, G.-P. Distribution and Sources of Atmospheric Polycyclic Aromatic Hydrocarbons at an Industrial Region in Kaohsiung, Taiwan. Aerosol Air Qual. Res. 2017, 17, 776–787. [Google Scholar] [CrossRef]
- Saral, A.; Gunes, G.; Demir, S. Atmospheric PCDD/PCDF emission inventory for Turkey. Atmos. Pollut. Res. 2014, 5, 24–33. [Google Scholar] [CrossRef]
- International Agency for Research on Cancer. IARC Monographs on the Evaluation Carcinogenic Risks to Humans: Silica; International Agency for Research on Cancer: Lyon, France, 2002; pp. 96:i–ix+1–390. [Google Scholar]
- Guerriero, E.; Bianchini, M.; Gigliucci, P.F.; Guarnieri, A.; Mosca, S.; Rossetti, G.; Varde, M.; Rotatori, M. Influence of Process Changes on PCDD/Fs Produced in an Iron Ore Sintering Plant. Environ. Eng. Sci. 2008, 26, 71–80. [Google Scholar] [CrossRef]
- Freire, M.; Lopes, H.; Tarelho, L.A.C. Critical aspects of biomass ashes utilization in soils: Composition, leachability, PAH and PCDD/F. Waste Manag. 2015, 46, 304–315. [Google Scholar] [CrossRef]


| Olive | Grapevine | Citrus | ||||
|---|---|---|---|---|---|---|
| Velocity (m/s) | 4.97 | ±0.66 | 4.69 | ±3.45 | 4.38 | ±0.59 |
| Stack temperature (°C) | 167.35 | ±10.07 | 99.21 | ±6.48 | 177.84 | ±3.59 |
| Stack Pressure (kPa) | 100.44 | ±0.02 | 100.15 | ±0.02 | 100.42 | ±0.02 |
| Probe temperature (°C) | 119.90 | ±45.75 | 116.30 | ±6.65 | 127.20 | ±20.01 |
| Filter temperature (°C) | 133.50 | ±17.18 | 126.90 | ±21.99 | 133.00 | ±30.69 |
| Ambient Pressure (kPa) | 100.43 | 100.14 | 100.44 | |||
| Moist Volume at stack conditions (m3) | 0.10 | 0.11 | 0.10 | |||
| Operative Parameters | |
|---|---|
| Carrier Gas | He |
| Column | DB 502.2 |
| Flow | 1.2 mL/min |
| GC mode | Constant Flow |
| Oven ramp | 35 °C (5 min.) + 5 °C/min to 230 °C (5 min.) |
| Ion source | EI |
| Inlet | 200 °C |
| MS source | 230 °C |
| MSD transfer line | 240 °C |
| MS mode | Full scan 35–450 m/z |
| Compound | Olive | Citrus | Grapevine |
|---|---|---|---|
| C% * | 49.58 ± 2.69 | 48.86 ± 4.42 | 50.34 ± 0.73 |
| H% * | 5.00 ± 0.60 | 5.75 ± 0.62 | 6.36 ± 0.52 |
| N% * | 0.21 ± 0.06 | 0.35 ± 0.06 | 0.57 ± 0.12 |
| Ash% | 0.90 ± 0.03 | 1.80 ± 0.18 | 2.71 ± 0.14 |
| Moisture% | 12.15 ± 0.07 | 12.31 ± 0.06 | 12.08 ± 0.15 |
| Lower heating value (MJ/kg) | 18.68 ± 0.03 | 17.95 ± 0.20 | 18.39 ± 0.37 |
| mg/kg | Olive | Citrus | Grapevine |
|---|---|---|---|
| Na | 42.837 | 226.23 | 1628.62 |
| Mg | 153.86 | 1041.55 | 3585.66 |
| Al | 4.19 | 27.24 | 644.40 |
| K | 201.495 | 8833.32 | 55,568.74 |
| Ca | 80.833 | 997.33 | 6570.23 |
| Cr | 0.047 | 0.15 | 6.58 |
| Mn | 0.174 | 3.80 | 174.76 |
| Fe | 711.44 | 25.74 | 2.91 |
| Co | 3.12 | 6.62 | 0.42 |
| Ni | 6.86 | 1.61 | 22.58 |
| Cu | 26.87 | 21.36 | 14.162 |
| Zn | 0.258 | 5.97 | 331.55 |
| Ga | 0.035 | 9.12 | 139.48 |
| As | <LoQ | 0.004 | 0.26 |
| Sr | 5.57 | 28.77 | 465.33 |
| Ag | 0.001 | 0.01 | 0.04 |
| Cd | 0.001 | 0.02 | 0.31 |
| Ba | 0.653 | 6.02 | 464.60 |
| Tl | 0.001 | 0.00 | 0.18 |
| Pb | 0.008 | 0.02 | 2.42 |
| Bi | 0.023 | <LoQ | 6.96 |
| µg/Nm3 | Olive | Citrus | Grapevine |
|---|---|---|---|
| Propene | 111.94 | 43.69 | 4.73 |
| Methane, chloro- | 52.56 | <LoQ | <LoQ |
| Acetone | 26.65 | <LoQ | <LoQ |
| Acetonitrile | 27.10 | <LoQ | <LoQ |
| Trichloromethane | <LoQ | <LoQ | 135.40 |
| Methane, bromochloro- | <LoQ | <LoQ | 158.31 |
| Ethane, 1,1,1-trichloro- | <LoQ | <LoQ | 49.71 |
| 1-Propene, 1,1-dichloro- | <LoQ | <LoQ | 20.30 |
| Carbon Tetrachloride | <LoQ | <LoQ | 63.87 |
| Benzene | 166.71 | 54.60 | 138.45 |
| Toluene | 44.28 | 12.04 | 57.70 |
| 1-Propene, 1,2-dichloro- | <LoQ | <LoQ | 75.92 |
| Ethane, 1,1,2-trichloro- | <LoQ | <LoQ | 21.20 |
| Propane, 1,3-dichloro- | <LoQ | <LoQ | 46.02 |
| Methane, dibromochloro- | <LoQ | 55.54 | 59.79 |
| Ethane, 1,2-dibromo- | <LoQ | 181.66 | 134.02 |
| Benzene, chloro- | <LoQ | 15.47 | 5.36 |
| Ethylbenzene | <LoQ | 11.52 | 1.96 |
| m,p-Xylene | 2.55 | 6.93 | 2.40 |
| o-Xylene | 3.86 | 12.77 | 75.32 |
| Benzene, 1-methyl-2-(1-methylethyl)- | <LoQ | 29.69 | <LoQ |
| Limonene | <LoQ | 19.31 | <LoQ |
| Benzene, tert-butyl- | <LoQ | <LoQ | 10.97 |
| Benzene, 1-ethyl-4-methyl- | <LoQ | <LoQ | 11.09 |
| Benzene, 1-methyl-4-propyl- | <LoQ | <LoQ | 5.30 |
| Nonanal | 10.85 | <LoQ | <LoQ |
| Decanal | 23.99 | <LoQ | <LoQ |
| Tetradecane | 6.28 | <LoQ | <LoQ |
| Pentadecane | 9.20 | <LoQ | <LoQ |
| Hexadecane | 9.92 | <LoQ | <LoQ |
| Heptadecane | 11.77 | <LoQ | <LoQ |
| Ng/Nm3 | Olive | Citrus | Grapevine |
|---|---|---|---|
| naphthalene | 18.653 | 29.657 | 13.488 |
| 2-methylnaphthalene | 769 | 20.739 | 76 |
| acenaphthylene | 555 | 25.312 | 290 |
| acenaphthene | 127 | 1.679 | 11 |
| fluorene | 629 | 6.010 | 47 |
| phenanthrene | 8.802 | 18.077 | 301 |
| anthracene | 376 | 6.629 | 35 |
| fluoranthene | 5.301 | 18.680 | 303 |
| pyrene | 6.946 | 29.949 | 448 |
| benzo(a)anthracene | 687 | 3.917 | 25 |
| cyclopenta(cd)pyrene | 172 | 1.165 | 26 |
| chrysene | 917 | 3.331 | 80 |
| benzo(b)fluoranthene | 1.828 | 1.182 | 154 |
| benzo(k)fluoranthene | 829 | 482 | 112 |
| benzoIpyrene | 313 | 1.472 | 65 |
| benzo(a)pyrene | 56 | 2.217 | 3 |
| perylene | 10 | 327 | 6 |
| indeno(1,2,3-c,d)pyrene | 4.493 | 724 | 295 |
| dibenzo(a,h)anthracene | 1.189 | 213 | 66 |
| benzo(g,h,i)perylene | 332 | 2.486 | 12 |
| Σ PAHs | 52.985 | 174.247 | 15.843 |
| Olive | Citrus | Grapevine | |||||
|---|---|---|---|---|---|---|---|
| Compounds | WHO-TEF 2006 | [pg] | TEQ (pg/Nm3) | [pg] | TEQ (pg/Nm3) | [pg] | TEQ (pg/Nm3) |
| 3,4,4′,5-TetraCB | 0.0003 | 32.95 | 0.025 | 64.94 | 0.026 | 0.41 | 0.000 |
| 3,3′,4,4′-TetraCB | 0.0001 | 231.04 | 0.058 | 247.36 | 0.033 | 70.46 | 0.003 |
| 2’,3,4,4′,5-PentaCB | 0.00003 | 248.99 | 0.019 | 133.99 | 0.005 | 204.67 | 0.003 |
| 2,3′,4,4′,5-PentaCB | 0.00003 | 2367.36 | 0.177 | 1078.47 | 0.043 | 2324.94 | 0.033 |
| 2,3,4,4′,5-PentaCB | 0.00003 | 25.40 | 0.002 | 38.46 | 0.002 | 35.00 | 0.000 |
| 2,3,3′,4,4′-PentaCB | 0.00003 | 775.91 | 0.058 | 416.71 | 0.017 | 806.03 | 0.011 |
| 3,3′,4,4′,5-PentaCB | 0.10000 | 141.01 | 35.10 | 133.50 | 17.922 | 197.50 | 9.3088 |
| 2,3′,4,4′,5,5′-HexaCB | 0.00003 | 333.24 | 0.025 | 24.29 | 0.001 | 0.45 | 0.000 |
| 2,3,3′,4,4′,5-HexaCB | 0.00003 | 692.18 | 0.052 | 115.89 | 0.005 | 152.58 | 0.002 |
| 2,3,3′,4,4′,5′-HexaCB | 0.00003 | 79.12 | 0.006 | 34.41 | 0.001 | 18.58 | 0.000 |
| 3,3′,4,4′,5,5′-HexaCB | 0.03000 | 56.78 | 4.241 | 18.14 | 0.731 | 6.28 | 0.089 |
| 2,3,3′,4,4′,5,5′-HeptaCB | 0.00003 | 60.25 | 0.004 | 35.70 | 0.001 | 12.25 | 0.000 |
| Σ dl PCBs | 5044.2 | 39.769 | 2341.8 | 18.788 | 3829.1 | 9.451 | |
| Olive | Citrus | Grapevine | |||||
|---|---|---|---|---|---|---|---|
| Compounds | I-TEF | [pg] | TEQ (pg/Nm3) | [pg] | TEQ (pg/Nm3) | [pg] | TEQ (pg/Nm3) |
| 2,3,7,8-TetraCDD | 1.000 | 373.14 | 928.91 | 92.61 | 124.31 | 28.13 | 13.26 |
| 1,2,3,7,8-PentaCDD | 0.500 | 474.7 | 590.86 | 489.0 | 328.18 | 59.7 | 14.07 |
| 1,2,3,4,7,8-EsaCDD | 0.100 | 144.9 | 36.08 | 65.4 | 8.77 | 14.1 | 0.67 |
| 1,2,3,6,7,8-EsaCDD | 0.100 | 298.4 | 74.29 | 230.3 | 30.91 | 23.4 | 1.10 |
| 1,2,3,7,8,9Esa-CDD | 0.100 | 151.3 | 37.66 | 536.7 | 72.04 | 7.0 | 0.33 |
| 1,2,3,4,6,7,8-HeptaCDD | 0.010 | 215.0 | 5.35 | 541.2 | 7.26 | 31.3 | 0.15 |
| OctaCDD | 0.001 | 160.3 | 0.40 | 438.8 | 0.59 | 22.3 | 0.01 |
| 2,3,7,8-Tetra CDF | 0.100 | 1168.3 | 290.83 | 1344.4 | 180.46 | 139.4 | 6.57 |
| 1,2,3,7,8-PentaCDF | 0.050 | 458.7 | 57.09 | 1873.5 | 125.74 | 42.9 | 1.01 |
| 2,3,4,7,8-Penta CDF | 0.500 | 736.7 | 916.98 | 1652.6 | 1109.09 | 78.8 | 18.56 |
| 1,2,3,4,7,8-EsaCDF | 0.100 | 550.5 | 137.04 | 96.8 | 12.99 | 38.6 | 1.82 |
| 1,2,3,6,7,8-EsaCDF | 0.100 | 489.1 | 121.76 | 111.8 | 15.01 | 40.5 | 1.91 |
| 2,3,4,6,7,8-EsaCDF | 0.100 | 576.8 | 143.59 | 82.0 | 11.01 | 34.8 | 1.64 |
| 1,2,3,7,8,9-EsaCDF | 0.100 | 115.7 | 28.80 | 26.6 | 3.57 | 0.0 | 0.00 |
| 1,2,3,4,6,7,8-HeptaCDF | 0.010 | 683.0 | 17.00 | 157.4 | 2.11 | 50.4 | 0.24 |
| 1,2,3,4,7,8,9-HeptaCDF | 0.010 | 144.7 | 3.60 | 474.0 | 6.36 | 8.7 | 0.04 |
| OctaCDF | 0.001 | 144.6 | 0.36 | 619.2 | 0.83 | 24.2 | 0.01 |
| Σ PCDD/PCDFs | 6885.86 | 3390.63 | 8832.18 | 2039.24 | 644.19 | 61.39 | |
Publisher’s Note: MDPI stays neutral with regard to jurisdictional claims in published maps and institutional affiliations. |
© 2022 by the authors. Licensee MDPI, Basel, Switzerland. This article is an open access article distributed under the terms and conditions of the Creative Commons Attribution (CC BY) license (https://creativecommons.org/licenses/by/4.0/).
Share and Cite
Palma, A.; Paris, E.; Carnevale, M.; Vincenti, B.; Perilli, M.; Guerriero, E.; Cerasa, M.; Proto, A.R.; Papandrea, S.F.; Bonofiglio, R.; et al. Biomass Combustion: Evaluation of POPs Emissions (VOC, PAH, PCB, PCDD/F) from Three Different Biomass Prunings (Olive, Citrus and Grapevine). Atmosphere 2022, 13, 1665. https://doi.org/10.3390/atmos13101665
Palma A, Paris E, Carnevale M, Vincenti B, Perilli M, Guerriero E, Cerasa M, Proto AR, Papandrea SF, Bonofiglio R, et al. Biomass Combustion: Evaluation of POPs Emissions (VOC, PAH, PCB, PCDD/F) from Three Different Biomass Prunings (Olive, Citrus and Grapevine). Atmosphere. 2022; 13(10):1665. https://doi.org/10.3390/atmos13101665
Chicago/Turabian StylePalma, Adriano, Enrico Paris, Monica Carnevale, Beatrice Vincenti, Mattia Perilli, Ettore Guerriero, Marina Cerasa, Andrea R. Proto, Salvatore F. Papandrea, Roberto Bonofiglio, and et al. 2022. "Biomass Combustion: Evaluation of POPs Emissions (VOC, PAH, PCB, PCDD/F) from Three Different Biomass Prunings (Olive, Citrus and Grapevine)" Atmosphere 13, no. 10: 1665. https://doi.org/10.3390/atmos13101665
APA StylePalma, A., Paris, E., Carnevale, M., Vincenti, B., Perilli, M., Guerriero, E., Cerasa, M., Proto, A. R., Papandrea, S. F., Bonofiglio, R., Salerno, M., & Gallucci, F. (2022). Biomass Combustion: Evaluation of POPs Emissions (VOC, PAH, PCB, PCDD/F) from Three Different Biomass Prunings (Olive, Citrus and Grapevine). Atmosphere, 13(10), 1665. https://doi.org/10.3390/atmos13101665

