Feasibility of the Inverse-Dispersion Model for Quantifying Drydock Emissions
Abstract
1. Introduction
1.1. Processes at a Shipbuilding and Repair Industry
1.2. Regulations for Air Pollutants in the Shipbuilding and Repair Industry
1.3. Importance of Research
2. Methodology
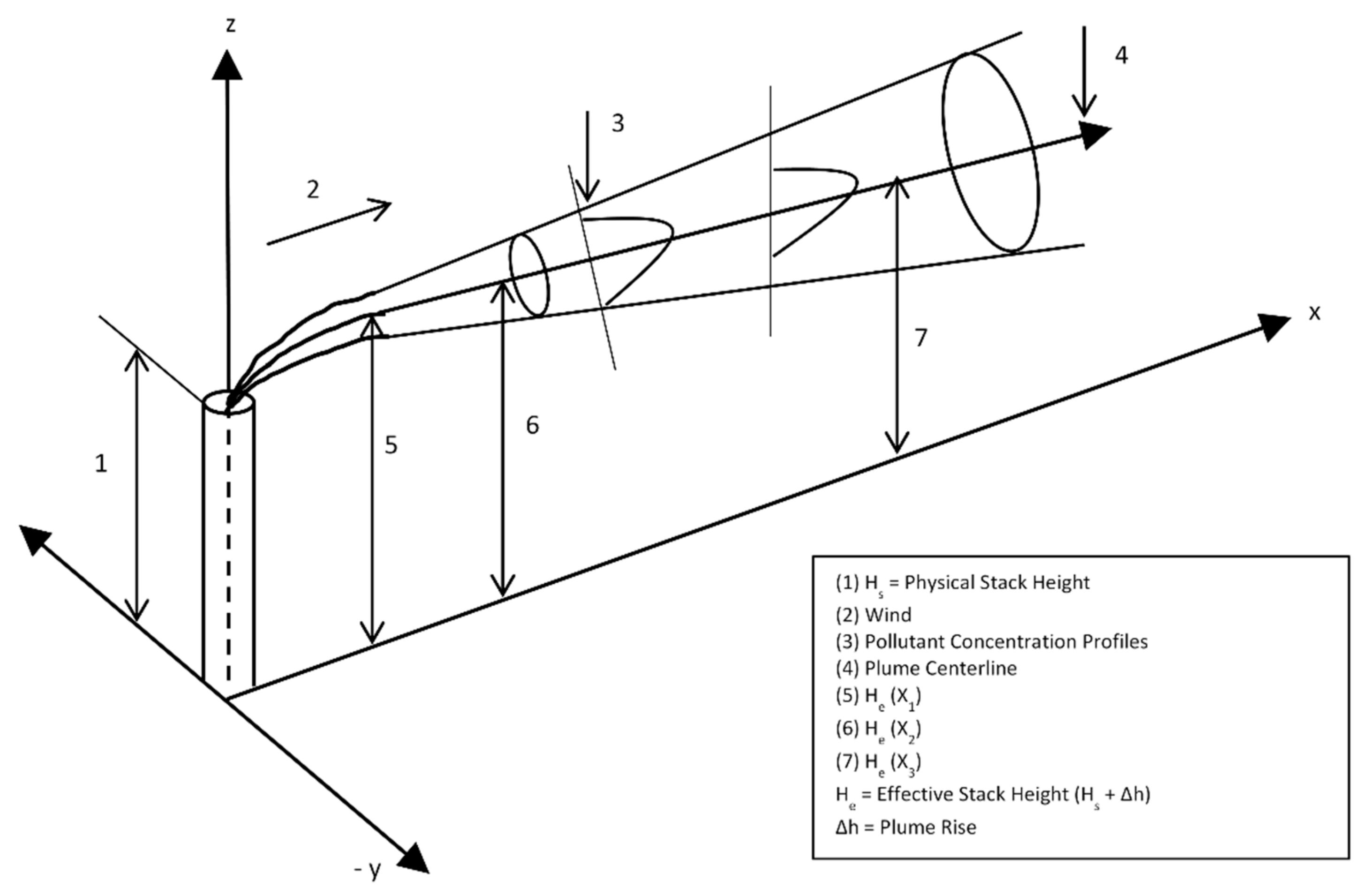
2.1. Gaussian Dispersion Model
2.2. Inverse Gaussian Dispersion Model
2.3. Best Shipyard Case
2.4. Inverse Dispersion Model for Drydocks
2.4.1. Step 1: Ten (10) Point Sources with Known Emission Rates (Qs) to Calculate Concentrations (Cs) at Seventy (70) Receptors
2.4.2. Step 2: Step 2: Known Cs at 70 Receptors to Calculate Three Unknown Drydock Qs
2.4.3. Step 3: Using only the Three Drydocks as the Sources with Known Emission Rates (Qs) to Calculate Cr, DS at 70 Receptors
2.4.4. Step 4: Seventy Receptors with Known Cr, DS to Compute Qs from Nine Sources in Each of Three Drydocks (Total of 27 Sources in 3 Drydocks)
2.4.5. Step 5: Known Qs at 27 Sources (3 Drydocks) to Compute Cs at 30 New Receptors
2.4.6. Step 6: Known Qs at 3 Sources (3 Drydocks) to Compute Cs at 30 New Receptors
3. Results and Discussion
- The proposed model uses the proven scientific method of the Gaussian Dispersion Model, which is used by the USEPA as a regulatory model. Many countries around the World use the same model for regulatory compliance and approving air permits. The model’s limitations are well recognized, and efforts are constantly being made to improve the assumptions and algorithm. For now, the model is being used “as-is” for regulatory and litigation purposes.
- The quantification of drydock emissions is complex due to the type of operations and their variations from shipyard to shipyard. Thus, the use of emission factors available from the USEPA’s AP-42 is insufficient. There is no better method to estimate emissions from drydocks unless this area is enclosed, and source testing is conducted for each situation.
- The inverse dispersion model proposed is relatively easier to use/implement as the Gaussian Dispersion Model is already being used for regulatory purposes and is also less resource demanding.
- The lack of a rational emission quantification method will continue to result in erroneous emission estimates, thus erroneous risk assessments.
- The proposed model can be easily applied to other complex emission sources such as landfills, superfund sites, raw material yards, large mine sites, forest fires, wastewater treatment plants and many more.
4. Conclusions
Author Contributions
Funding
Acknowledgments
Conflicts of Interest
References
- Maritime Administration (MARAD). The Economic Importance of the U.S. Shipbuilding and Repairing Industry. Available online: https://www.maritime.dot.gov/sites/marad.dot.gov/files/docs/resources/3641/maradeconstudyfinalreport2015.pdf (accessed on 9 May 2019).
- Dincer, I.; Midilli, A.; Hepbasli, A.; Karakoc, T.H. (Eds.) Global Warming Engineering Solutions Series: Green Energy and Technology; Springer: Berlin, Germany, 2010; pp. 579–590. [Google Scholar]
- Celebi, U.B.; Ekinci, S.; Alarcin, F.; Unsalan, D. The Risk of occupational safety and health in shipbuilding industry in Turkey. In Proceedings of the 3rd International Conference on Maritime and Naval Science and Engineering, Constantza, Romania, 3–5 September 2010. [Google Scholar]
- Papaioannou, D. Environmental implications related to the shipbuilding and ship repairing activity in Greece. J. Marit. Transp. Sci. 2003, 41, 241–252. [Google Scholar]
- Kura, B.; Lacoste, S.; Patibanda, P. Multimedia pollutant emissions from shipbuilding facilities. In Proceedings of the United States and Japan Natural Resources (UJNR) Conference, Washington, DC, USA, 25 October–4 November 1998. [Google Scholar]
- Celebi, U.B.; Vardar, N. Investigation of VOC Emissions from Indoor and Outdoor Painting Processes in Shipyards. Atmos. Environ. 2008, 42, 5685–5695. [Google Scholar] [CrossRef]
- Kura, B. Multi-media pollutants in the shipbuilding industry and the importance of environmental management. In Proceedings of the 1st international symposium on Naval Architecture and Maritime, Yildiz Technical University, Istanbul, Turkey, 24–25 October 2011. [Google Scholar]
- Kura, B.; Wisbith, A.S.; Stone, R.; Judy, T. Metal Cutting Operations: Emission Factors for Particulates, Metals and Metal Ions. In Proceedings of the Emission Inventory: Regional Strategies for the Future Proceedings, Raleigh, NC, USA, 26–28 October 1999; pp. 1–13. [Google Scholar]
- Kura, B.; Judy, T.; Wisbith, S.A.; Stone, R. Assessment of air emissions from shipyard cutting processes. In Proceedings of the United States Japan Natural Resources (UJNR) Conference, Tokyo, Japan, 17–18 May 2000; pp. 1–18. [Google Scholar]
- Celebi, U.B.; Mert, T.; Bilgili, L.; Senoz, K.M.; Ekinci, S. Characterization of sub-micrometer fume particles in MMA welding of shipbuilding steel with different types of electrodes. Fresenius Environ. Bull. 2017, 26, 140–145. [Google Scholar]
- Mert, T.; Ekinci, S. Fume formation rate analysis of shipbuilding steel with SMAW using Taguchi design and ANOVA. Acta Phys. Pol. A. 2017, 13, 495–499. [Google Scholar] [CrossRef]
- Kura, B.; Kambham, K.; Sangameswaran, S.; Potana, S. Atmospheric particulate emissions from dry abrasive blasting using coal slag. J. Air Waste Manag. Assoc. 2006, 56, 1205–1215. [Google Scholar] [CrossRef] [PubMed][Green Version]
- U.S. Environmental Protection Agency. Office of Compliance Sector Notebook Project: Profile of the Shipbuilding and Repair Industry; EPA/310-R-97-008; U.S. Environmental Protection Agency: Washington, DC, USA, 1997.
- U.S. Environmental Protection Agency. Sector Performance Report. Shipbuilding & Ship Repair. Available online: https://archive.epa.gov/sectors/web/pdf/shipbuilding.pdf (accessed on 9 May 2019).
- U.S. Environmental Protection Agency. Technology Transfer Network Air Toxics Web Site. Emissions Factors & AP 42, Compilation of Air Pollutant Emission Factors. Available online: http://www.epa.gov/ttnchie1/ap42/ (accessed on 9 May 2019).
- Flesch, T.K.; Wilson, J.D.; Harper, L.A.; Crenna, B.P. Estimating gas emissions from a farm with an inverse-dispersion technique. Atmos. Environ. 2005, 39, 4863–4874. [Google Scholar] [CrossRef]
- Figueroa, V.K.; Cooper, C.D.; Mackie, K.R. Estimating landfill greenhouse gas emissions from measured ambient methane concentrations and dispersion modeling. In Proceedings of the 101st Air and Waste Management Association Annual Conference and Exhibition, Portland, OR, USA, 24–27 June 2008. [Google Scholar]
- Faulkner, W.B.; Goodrich, L.B.; Botlaguduru, V.S.V.; Capareda, S.C.; Parnell, C.B. Particulate matter emission factors for almond harvest as a function of harvester speed. J. Air Waste Manag. Assoc. 2009, 59, 943–949. [Google Scholar] [CrossRef] [PubMed]
- Figueroa, V.K.; Mackie, K.R.; Guarriello, N.; Cooper, C.D. A robust method for estimating landfill methane emissions. J. Air Waste Manag. Assoc. 2009, 59, 925–935. [Google Scholar] [CrossRef] [PubMed]
- Flesch, T.K.; Harper, L.A.; Desjardins, R.L.; Gao, Z.; Crenna, B.P. Multi-source emission determination using an inverse-dispersion technique. Bound. Layer Meteorol. 2009, 132, 11–30. [Google Scholar] [CrossRef]
- Lushi, E.; Stockie, J.M. An inverse Gaussian plume approach for estimating atmospheric pollutant emissions from multiple point sources. Atmos. Environ. 2010, 44, 1097–1107. [Google Scholar] [CrossRef]
- Schauberger, G.; Piringer, M.; Knauder, W.; Petz, E. Odour emissions from a waste treatment plant using an inverse dispersion technique. Atmos. Environ. 2011, 45, 1639–1647. [Google Scholar] [CrossRef]
- Bonifacio, H.F.; Maghirang, R.G.; Auvermann, B.W.; Razote, E.B.; Murphy, J.P.; Harner, J.P., III. Particulate matter emission rates from beef cattle feedlots in Kansas-reverse dispersion modeling. J. Air Waste Manag. Assoc. 2012, 62, 350–361. [Google Scholar] [CrossRef] [PubMed]
- U.S. Environmental Protection Agency. United States Environmental Protection Agency, “User’s Guide for the Industrial Source Complex (ISC3) Dispersion Models. Volume II—Description of Model Algorithms”; U.S. Environmental Protection Agency: Washington, DC, USA, 1995.
- Perry, S.G.; Cimorelli, A.J.; Lee, R.F.; Paine, R.J.; Venkatram, A.; Weil, J.C.; Wilson, R.B. AERMOD: A dispersion model for industrial source applications. In Proceedings of the 87th Annual Meeting Air and Waste Management Association, Pittsburgh, PA, USA, 19–24 June 1994; p. 16. [Google Scholar]
- Cooper, C.D.; Alley, F.C. Air Pollution Control, A Design Approach, 4th ed.; Waveland Press: Long Grove, IL, USA, 2011. [Google Scholar]







| Source | x-cord (in m) | y-cord (in m) | Height (H) (in m) | Actual Emissions (in μg/s) |
|---|---|---|---|---|
| S1 | 50 | 100 | 0 | 7000 |
| S2 | 50 | 150 | 0 | 7520 |
| S3 | 50 | 300 | 0 | 8540 |
| S4 | 80 | 40 | 10 | 7480 |
| S5 | 80 | 340 | 10 | 9400 |
| S6 | 160 | 120 | 10 | 12000 |
| S7 | 160 | 280 | 10 | 1359 |
| S8 | 180 | 380 | 10 | 16000 |
| S9 | 210 | 100 | 10 | 18800 |
| S10 | 320 | 160 | 10 | 1585 |
| Receptor | x-Coord | y-coord | Concentration (µg/m3) | Receptor | x-Coord | y-Coord | Concentration (µg/m3) |
|---|---|---|---|---|---|---|---|
| R1 | 100 | 0 | 0 | R36 | 250 | 250 | 0.207 |
| R2 | 100 | 50 | 0 | R37 | 250 | 300 | 1.798 |
| R3 | 100 | 100 | 15.667 | R38 | 250 | 350 | 1.256 |
| R4 | 100 | 150 | 16.830 | R39 | 250 | 400 | 0.098 |
| R5 | 100 | 200 | 0 | R40 | 250 | 450 | 0 |
| R6 | 100 | 250 | 0 | R41 | 300 | 0 | 0.253 |
| R7 | 100 | 300 | 19.113 | R42 | 300 | 50 | 0.926 |
| R8 | 100 | 350 | 0 | R43 | 300 | 100 | 3.685 |
| R9 | 100 | 400 | 0 | R44 | 300 | 150 | 1.531 |
| R10 | 100 | 450 | 0 | R45 | 300 | 200 | 0.240 |
| R11 | 150 | 0 | 0 | R46 | 300 | 250 | 0.315 |
| R12 | 150 | 50 | 0.179 | R47 | 300 | 300 | 1.457 |
| R13 | 150 | 100 | 4.488 | R48 | 300 | 350 | 1.474 |
| R14 | 150 | 150 | 4.820 | R49 | 300 | 400 | 0.987 |
| R15 | 150 | 200 | 0.004 | R50 | 300 | 450 | 0 |
| R16 | 150 | 250 | 0.005 | R51 | 350 | 0 | 0.288 |
| R17 | 150 | 300 | 5.470 | R52 | 350 | 50 | 0.876 |
| R18 | 150 | 350 | 0.225 | R53 | 350 | 100 | 4.431 |
| R19 | 150 | 400 | 0 | R54 | 350 | 150 | 1.561 |
| R20 | 150 | 450 | 0 | R55 | 350 | 200 | 0.276 |
| R21 | 200 | 0 | 0.036 | R56 | 350 | 250 | 0.376 |
| R22 | 200 | 50 | 0.851 | R57 | 350 | 300 | 1.211 |
| R23 | 200 | 100 | 2.232 | R58 | 350 | 350 | 1.736 |
| R24 | 200 | 150 | 2.386 | R59 | 350 | 400 | 1.433 |
| R25 | 200 | 200 | 0.075 | R60 | 350 | 450 | 0.012 |
| R26 | 200 | 250 | 0.085 | R61 | 400 | 0 | 0.293 |
| R27 | 200 | 300 | 2.677 | R62 | 400 | 50 | 0.990 |
| R28 | 200 | 350 | 1.067 | R63 | 400 | 100 | 3.877 |
| R29 | 200 | 400 | 0.001 | R64 | 400 | 150 | 1.672 |
| R30 | 200 | 450 | 0 | R65 | 400 | 200 | 0.315 |
| R31 | 250 | 0 | 0.161 | R66 | 400 | 250 | 0.400 |
| R32 | 250 | 50 | 1.001 | R67 | 400 | 300 | 1.026 |
| R33 | 250 | 100 | 1.755 | R68 | 400 | 350 | 1.716 |
| R34 | 250 | 150 | 1.592 | R69 | 400 | 400 | 1.419 |
| R35 | 250 | 200 | 0.178 | R70 | 400 | 450 | 0.063 |
| Source | x-Coord (in m) | y-Coord (in m) | Height (H) (in m) | Actual Emissions (in μg/s) | Calculated Emissions (in μg/s) | Difference (in μg/s) |
|---|---|---|---|---|---|---|
| S1 | 50 | 100 | 0 | 7000 | 7000.011 | −0.011 |
| S2 | 50 | 150 | 0 | 7520 | 7520.015 | −0.015 |
| S3 | 50 | 300 | 0 | 8540 | 8539.986 | 0.014 |
| S4 | 80 | 40 | 10 | 7480 | 7480.286 | −0.286 |
| S5 | 80 | 340 | 10 | 9400 | 9400.021 | −0.021 |
| S6 | 160 | 120 | 10 | 12,000 | 11,999.891 | 0.109 |
| S7 | 160 | 280 | 10 | 1359 | 1358.995 | 0.005 |
| S8 | 180 | 380 | 10 | 16,000 | 16,000.189 | −0.189 |
| S9 | 210 | 100 | 10 | 18,800 | 18,800.081 | −0.081 |
| S10 | 320 | 160 | 10 | 1585 | 1584.605 | 0.396 |
| Receptor | Measured Concentration (in µg/m3) | Receptor | Measured Concentration (in µg/m3) | Receptor | Measured Concentration (in µg/m3) | Receptor | Measured Concentration (in µg/m3) |
|---|---|---|---|---|---|---|---|
| R1 | 0 | R19 | 0 | R37 | 1.565 | R55 | 0.271 |
| R2 | 0 | R20 | 0 | R38 | 0.201 | R56 | 0.291 |
| R3 | 15.667 | R21 | 0 | R39 | 0 | R57 | 0.753 |
| R4 | 16.830 | R22 | 0.070 | R40 | 0 | R58 | 0.278 |
| R5 | 0 | R23 | 2.231 | R41 | 0.004 | R59 | 0.014 |
| R6 | 0 | R24 | 2.386 | R42 | 0.220 | R60 | 0 |
| R7 | 19.113 | R25 | 0.075 | R43 | 1.090 | R61 | 0.023 |
| R8 | 0 | R26 | 0.085 | R44 | 1.138 | R62 | 0.244 |
| R9 | 0 | R27 | 2.631 | R45 | 0.240 | R63 | 0.703 |
| R10 | 0 | R28 | 0.085 | R46 | 0.267 | R64 | 0.722 |
| R11 | 0 | R29 | 0 | R47 | 1.046 | R65 | 0.287 |
| R12 | 0.004 | R30 | 0 | R48 | 0.264 | R66 | 0.293 |
| R13 | 4.488 | R31 | 0 | R49 | 0.004 | R67 | 0.571 |
| R14 | 4.820 | R32 | 0.165 | R50 | 0 | R68 | 0.268 |
| R15 | 0.004 | R33 | 1.460 | R51 | 0.012 | R69 | 0.028 |
| R16 | 0.005 | R34 | 1.543 | R52 | 0.241 | R70 | 0.001 |
| R17 | 5.470 | R35 | 0.178 | R53 | 0.862 | ||
| R18 | 0.005 | R36 | 0.201 | R54 | 0.891 |
| Source | x-Cord (in m) | y-Cord (in m) | Calculated Emission (µg/s) | Source | x-Cord (in m) | y-Cord (in m) | Calculated Emission (µg/s) | Source | x-Cord (in m) | y-Cord (in m) | Calculated Emission (µg/s) |
|---|---|---|---|---|---|---|---|---|---|---|---|
| S11 | 30 | 110 | 0 | S21 | 30 | 160 | 0 | S31 | 30 | 310 | 0 |
| S12 | 30 | 100 | 0 | S22 | 30 | 150 | 0.158 | S32 | 30 | 300 | 0 |
| S13 | 30 | 90 | 0 | S23 | 30 | 140 | 0 | S33 | 30 | 290 | 0 |
| S14 | 50 | 110 | 0 | S24 | 50 | 160 | 0 | S34 | 50 | 310 | 0.098 |
| S15 | 50 | 100 | 6997.936 | S25 | 50 | 150 | 7519.638 | S35 | 50 | 300 | 8538.738 |
| S16 | 50 | 90 | 0.204 | S26 | 50 | 140 | 0.294 | S36 | 50 | 290 | 0.081 |
| S17 | 70 | 110 | 0 | S27 | 70 | 160 | 0 | S37 | 70 | 310 | 0.128 |
| S18 | 70 | 100 | 0.720 | S28 | 70 | 150 | 0.069 | S38 | 70 | 300 | 0.429 |
| S19 | 70 | 90 | 0.860 | S29 | 70 | 140 | 0 | S39 | 70 | 290 | 0.353 |
| S1 | TOTAL | 6999.729 | S2 | TOTAL | 7520.159 | S3 | TOTAL | 8539.827 | |||
| Receptor | Concentration Using Single Equivalent Source (in µg/m3) | Concentration Using Nine Sources in Each Drydock (in µg/m3) | Difference | Receptor | Concentration Using Single Equivalent Source (in µg/m3) | Concentration Using Nine Sources in Each Drydock (in µg/m3) | Difference |
|---|---|---|---|---|---|---|---|
| R1 | 0.915 | 0.915 | 0 | R16 | 5.470 | 5.470 | 0 |
| R2 | 2.386 | 2.386 | 0 | R17 | 0 | 0 | 0 |
| R3 | 0.003 | 0.003 | 0 | R18 | 0.003 | 0.003 | 0 |
| R4 | 2.631 | 2.631 | 0 | R19 | 0.044 | 0.044 | 0 |
| R5 | 0.724 | 0.724 | 0 | R20 | 0.118 | 0.118 | 0 |
| R6 | 1.352 | 1.352 | 0 | R21 | 0 | 0 | 0 |
| R7 | 0.055 | 0.055 | 0 | R22 | 0.036 | 0.036 | 0 |
| R8 | 1.318 | 1.318 | 0 | R23 | 0 | 0 | 0 |
| R9 | 0.520 | 0.520 | 0 | R24 | 0.100 | 0.100 | 0 |
| R10 | 0.817 | 0.817 | 0 | R25 | 0 | 0 | 0 |
| R11 | 0.177 | 0.177 | 0 | R26 | 0.420 | 0.420 | 0 |
| R12 | 0.670 | 0.670 | 0 | R27 | 0.599 | 0.599 | 0 |
| R13 | 0.761 | 0.761 | 0 | R28 | 0.233 | 0.233 | 0 |
| R14 | 4.820 | 4.820 | 0 | R29 | 0.450 | 0.450 | 0 |
| R15 | 0 | 0 | 0 | R30 | 0.002 | 0.002 | 0 |
| Drydock Number | Emissions (µg/s) (Single Equivalent Source in Each Drydock) | Emissions (µg/s) (Nine Sources in Each Drydock) | Difference |
|---|---|---|---|
| 1 | 7000.011 | 6999.719 | 0.292 |
| 2 | 7520.015 | 7520.159 | −0.145 |
| 3 | 8539.986 | 8539.827 | 0.159 |
© 2019 by the authors. Licensee MDPI, Basel, Switzerland. This article is an open access article distributed under the terms and conditions of the Creative Commons Attribution (CC BY) license (http://creativecommons.org/licenses/by/4.0/).
Share and Cite
Kura, B.; Jilla, A. Feasibility of the Inverse-Dispersion Model for Quantifying Drydock Emissions. Atmosphere 2019, 10, 328. https://doi.org/10.3390/atmos10060328
Kura B, Jilla A. Feasibility of the Inverse-Dispersion Model for Quantifying Drydock Emissions. Atmosphere. 2019; 10(6):328. https://doi.org/10.3390/atmos10060328
Chicago/Turabian StyleKura, Bhaskar, and Abhinay Jilla. 2019. "Feasibility of the Inverse-Dispersion Model for Quantifying Drydock Emissions" Atmosphere 10, no. 6: 328. https://doi.org/10.3390/atmos10060328
APA StyleKura, B., & Jilla, A. (2019). Feasibility of the Inverse-Dispersion Model for Quantifying Drydock Emissions. Atmosphere, 10(6), 328. https://doi.org/10.3390/atmos10060328
