A Lightweight, Secure Authentication Model for the Smart Agricultural Internet of Things
Abstract
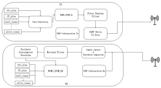
:1. Introduction
- (1)
- A frequency-domain feature extraction (FDFE) module utilizing frequency-domain information with a signal plus windowing is proposed;
- (2)
- A new channel authentication model called the FDFE-MobileViT network for smart agriculture environments is proposed;
- (3)
- The authentication effect of FDFE-MobileViT was experimentally verified in smart agriculture indoor and outdoor environments.
2. Materials and Methods
2.1. Agricultural IoT Model
2.2. Data Acquisition
2.2.1. Acquisition Equipment
2.2.2. Acquisition Environment
2.2.3. Data Processing
2.3. Model Architecture
2.3.1. Model Architecture Overview
2.3.2. Encoder Section
2.3.3. Decoder Section
3. Experimental Process
3.1. Realization Details
3.2. Training Networks
4. Discussion
4.1. Model Accuracy Comparison
4.2. FDFE Module Internal Ablation Experiments
- Utilization of only the real part obtained from the FFT in the FDFE module compared to the utilization of both real and imaginary parts;
- Removal of the signal windowing component to contrast its effects with the process with windowing included;
- Substitution of DSC Conv with a regular 2D convolution to compare the performance and parameter count.
4.3. Loss Function Evaluation
4.4. Confusion Matrix Comparison
5. Conclusions
Author Contributions
Funding
Data Availability Statement
Acknowledgments
Conflicts of Interest
Abbreviations
| Abridge | Interpretations |
| FDFE | Frequency-domain feature extraction |
| OFDM | Orthogonal frequency division multiplexing |
| MIMO | Multiple in multiple out |
| USRP | Universal software radio peripheral |
| Tx | Transport |
| Rx | Receive |
| ViT | Vision Transformer |
| CPU | Central processing unit |
| GPU | Graphics processing unit |
| FFT | Fast Fourier transform |
| DSC Conv | Depthwise separable convolution |
| Conv | Convolution |
| MV2 | Inverted residual block structure in Mobilenetv2 |
| SGD | Stochastic gradient descent |
| ICBAW | Illegal channel before adding windows |
| ICAAW | Illegal channel after adding windows |
| LCBAW | Legal channel before adding windows |
| LCAAW | Legal channel after adding windows |
| Notation | |
| Received data | |
| Sent data | |
| Channel state information | |
| Noise data | |
| Input tensor of the FDFE module | |
| Euler number | |
| Imaginary unit | |
| Frequency-domain tensor corresponding to | |
| Set of Bartlett windows | |
| Result for after the windowing operation | |
| Convolution kernel | |
| Intermediate variable | |
| Convolution kernel | |
| Output tensor of DSC Conv | |
| The output result of the FDFE module | |
| ith sample | |
| Prediction probability of the ith sample | |
| Current learning rate | |
| Final decay rate of the learning rate | |
| Initial learning rate | |
| Current number of training rounds | |
| Total number of training rounds |
References
- Shen, Y. Construction of a Wireless Sensing Network System for Leisure Agriculture for Cloud-Based Agricultural Internet of Things. J. Sens. 2021, 2021, 3021771. [Google Scholar] [CrossRef]
- Li, G.; Li, D.; Chen, W.; Zhang, Y.; Xu, S. Design and Application of Special Sensors and Internet of Things (IoT)-Based Wireless System for Agricultural Information Monitor. J. Phys. Conf. Ser. 2020, 1646, 012130. [Google Scholar] [CrossRef]
- Kim, W.-S.; Lee, W.-S.; Kim, Y.-J. A Review of the Applications of the Internet of Things (IoT) for Agricultural Automation. J. Biosyst. Eng. 2020, 45, 385–400. [Google Scholar] [CrossRef]
- He, M. Research on Rural Water-Saving Intelligent Irrigation System Based on Internet of Things. In Proceedings of the 2022 International Conference on Automation, Robotics and Computer Engineering (ICARCE), Virtual, 16 December 2022; pp. 1–3. [Google Scholar] [CrossRef]
- Tsang, Y.P.; Wu, C.H.; Ip, W.H.; Shiau, W.L. Exploring the Intellectual Cores of the Blockchain–Internet of Things (BIoT). J. Enterp. Inf. Manag. 2021, 34, 1287–1317. [Google Scholar] [CrossRef]
- Raya, M.; Hubaux, J.-P. Securing vehicular ad hoc networks. J. Comput. Secur. 2007, 15, 39–68. [Google Scholar] [CrossRef]
- Biswas, S.; Mišić, J. A Cross-Layer Approach to Privacy-Preserving Authentication in WAVE-Enabled VANETs. IEEE Trans. Veh. Technol. 2013, 62, 2182–2192. [Google Scholar] [CrossRef]
- Asim, M.; Ignatenko, T.; Petkovic, M. Hierarchical Attribute-Based Encryption and Decryption. U.S. Patent 10,211,984, 19 February 2019. [Google Scholar]
- Tsai, K.-L.; Huang, Y.-L.; Leu, F.-Y.; You, I.; Huang, Y.-L.; Tsai, C.-H. AES-128 Based Secure Low Power Communication for LoRaWAN IoT Environments. IEEE Access 2018, 6, 45325–45334. [Google Scholar] [CrossRef]
- Jakes, W.C.; Cox, D.C. Microwave Mobile Communications; Wiley-IEEE Press: Hoboken, NJ, USA, 1994; ISBN 0-7803-1069-1. [Google Scholar]
- Shafiee, S.; Ulukus, S. Achievable Rates in Gaussian MISO Channels with Secrecy Constraints. In Proceedings of the 2007 IEEE International Symposium on Information Theory, Nice, France, 24–29 June 2007; pp. 2466–2470. [Google Scholar]
- Marabissi, D.; Mucchi, L.; Stomaci, A. IoT Nodes Authentication and ID Spoofing Detection Based on Joint Use of Physical Layer Security and Machine Learning. Future Internet 2022, 14, 61. [Google Scholar] [CrossRef]
- Zhang, H.; Ma, C.; Pazzi, V.; Li, T.; Casagli, N. Deep Convolutional Neural Network for Microseismic Signal Detection and Classification. Pure Appl. Geophys. 2020, 177, 5781–5797. [Google Scholar] [CrossRef]
- Blanc, F.; Syed, A.; Esfahani, A.M.; Venna, S.R.; Ajila, S.A. A Deep Learning Sequential-Based Model for Predicting Victories in Video Games. In Proceedings of the 2022 IEEE 23rd International Conference on Information Reuse and Integration for Data Science (IRI), San Diego, CA, USA, 9–11 August 2022; pp. 212–213. [Google Scholar]
- Ito, T.; Maeno, T.; Tsuchikame, H.; Shishido, M.; Nishi, K.; Kojima, S.; Hayashi, T.; Suzuki, K. Adapting a Low-Count Acquisition of the Bone Scintigraphy Using Deep Denoising Super-Resolution Convolutional Neural Network. Phys. Med. Eur. J. Med. Phys. 2022, 100, 18–25. [Google Scholar] [CrossRef]
- Hu, S.; Shuai, L.; Yang, Q.; Chen, H. Study on Wireless Signal Propagation in Residential Outdoor Activity Area Based on Deep Learning. In Proceedings of the 2021 International Conference on Computer, Control and Robotics (ICCCR), Shanghai, China, 8–10 January 2021; pp. 225–230. [Google Scholar]
- Yadav, K.; Kariri, E.; Alotaibi, S.D.; Viriyasitavat, W.; Dhiman, G.; Kaur, A. Privacy Protection against Attack Scenario of Federated Learning Using Internet of Things. Enterp. Inf. Syst. 2023, 17, 2101025. [Google Scholar] [CrossRef]
- Vaswani, A.; Shazeer, N.; Parmar, N.; Uszkoreit, J.; Jones, L.; Gomez, A.N.; Kaiser, Ł.; Polosukhin, I. Attention Is All You Need. In Proceedings of the Advances in Neural Information Processing Systems; Curran Associates, Inc.: New York, NY, USA, 2017; Volume 30. [Google Scholar]
- Mehta, S.; Rastegari, M. MobileViT: Light-Weight, General-Purpose, and Mobile-Friendly Vision Transformer. arXiv 2021, arXiv:2110.02178. [Google Scholar]
- Massey, J.W.; Starr, J.; Lee, S.; Lee, D.; Gerstlauer, A.; Heath, R.W. Implementation of a Real-Time Wireless Interference Alignment Network. In Proceedings of the 2012 Conference Record of the Forty Sixth Asilomar Conference on Signals, Systems and Computers (ASILOMAR), Pacific Grove, CA, USA, 4–7 November 2012; pp. 104–108. [Google Scholar]
- Proposed Model for Sustainable and Scalable Vertical Farm. Nile J. Commun. Comput. Sci. 2022, 2, 17–28. [CrossRef]
- Fu, J.; Juyal, P.; Zajić, A. 300 GHz Channel Characterization of Chip-to-Chip Communication in Metal Enclosure. In Proceedings of the 2019 13th European Conference on Antennas and Propagation (EuCAP), Krakow, Poland, 31 March–5 April 2019; pp. 1–5. [Google Scholar]
- Zhao, S.J. Research on the shielding of wireless signals by trees. Sci. Technol. Inf. 2007, 2, 38–39. [Google Scholar] [CrossRef]
- Giacomin, J.C.; Vasconcelos, F.H.; da Silva, E.J. Estimating Vegetation Water Content with Wireless Sensor Network Communication Signals. In Proceedings of the 2007 IEEE Instrumentation & Measurement Technology Conference IMTC 2007, Warsaw, Poland, 1–3 May 2007; pp. 1–5. [Google Scholar]
- Hu, J.; Shen, L.; Sun, G. Squeeze-and-Excitation Networks. In Proceedings of the 2018 IEEE/CVF Conference on Computer Vision and Pattern Recognition (CVPR), Salt Lake City, UT, USA, 18–23 June 2018; pp. 7132–7141. [Google Scholar]
- Hou, Q.; Zhou, D.; Feng, J. Coordinate Attention for Efficient Mobile Network Design. In Proceedings of the IEEE/CVF Conference on Computer Vision and Pattern Recognition, Nashville, TN, USA, 20–25 June 2021; pp. 13713–13722. [Google Scholar]
- Woo, S.; Park, J.; Lee, J.-Y.; Kweon, I.S. CBAM: Convolutional Block Attention Module; Ferrari, V., Hebert, M., Sminchisescu, C., Weiss, Y., Eds.; Springer: Cham, Switzerland, 2018; pp. 3–19. [Google Scholar]
- Liu, Y.; Shao, Z.; Hoffmann, N. Global Attention Mechanism: Retain Information to Enhance Channel-Spatial Interactions. arXiv 2021, arXiv:2112.05561. [Google Scholar]
- Howard, A.G.; Zhu, M.; Chen, B.; Kalenichenko, D.; Wang, W.; Weyand, T.; Andreetto, M.; Adam, H. MobileNets: Efficient Convolutional Neural Networks for Mobile Vision Applications. arXiv 2017, arXiv:1704.04861. [Google Scholar]
- Liu, Z.; Lin, Y.; Cao, Y.; Hu, H.; Wei, Y.; Zhang, Z.; Lin, S.; Guo, B. Swin Transformer: Hierarchical Vision Transformer Using Shifted Windows. In Proceedings of the IEEE/CVF International Conference on Computer Vision, Montreal, BC, Canada, 11–17 October 2021; pp. 10012–10022. [Google Scholar]
- Li, J.; Xia, X.; Li, W.; Li, H.; Wang, X.; Xiao, X.; Wang, R.; Zheng, M.; Pan, X. Next-ViT: Next Generation Vision Transformer for Efficient Deployment in Realistic Industrial Scenarios. arXiv 2022, arXiv:2207.05501. [Google Scholar]
- Yuan, L.; Chen, Y.; Wang, T.; Yu, W.; Shi, Y.; Jiang, Z.-H.; Tay, F.E.H.; Feng, J.; Yan, S. Tokens-to-Token ViT: Training Vision Transformers From Scratch on ImageNet. In Proceedings of the IEEE/CVF International Conference on Computer Vision, Montreal, BC, Canada, 11–17 October 2021; pp. 558–567. [Google Scholar]
- Howard, A.; Sandler, M.; Chu, G.; Chen, L.-C.; Chen, B.; Tan, M.; Wang, W.; Zhu, Y.; Pang, R.; Vasudevan, V.; et al. Searching for MobileNetV3. In Proceedings of the IEEE/CVF International Conference on Computer Vision, Seoul, Republic of Korea, 27 October–2 November 2019; pp. 1314–1324. [Google Scholar]
- Liu, Z.; Mao, H.; Wu, C.-Y.; Feichtenhofer, C.; Darrell, T.; Xie, S. A ConvNet for the 2020s. In Proceedings of the IEEE/CVF Conference on Computer Vision and Pattern Recognition, New Orleans, LA, USA, 18–24 June 2022; pp. 11976–11986. [Google Scholar]
- Chen, Y.; Wen, H.; Wu, J.; Song, H.; Xu, A.; Jiang, Y.; Zhang, T.; Wang, Z. Clustering Based Physical-Layer Authentication in Edge Computing Systems with Asymmetric Resources. Sensors 2019, 19, 1926. [Google Scholar] [CrossRef] [PubMed]
- Xiao, L.; Wan, X.; Han, Z. PHY-Layer Authentication with Multiple Landmarks With Reduced Overhead. IEEE Trans. Wirel. Commun. 2018, 17, 1676–1687. [Google Scholar] [CrossRef]
- Liao, R.-F.; Wen, H.; Chen, S.; Xie, F.; Pan, F.; Tang, J.; Song, H. Multiuser Physical Layer Authentication in Internet of Things With Data Augmentation. IEEE Internet Things J. 2020, 7, 2077–2088. [Google Scholar] [CrossRef]




















| Statistics | Median | Mean | Variance | Standard Deviation | |
|---|---|---|---|---|---|
| Channels | |||||
| ICBAW | 0.401 | 0.382 | 0.017 | 0.132 | |
| ICAAW | 0.764 | 0.734 | 0.023 | 0.154 | |
| LCBAW | 0.431 | 0.415 | 0.017 | 0.131 | |
| LCAAW | 0.745 | 0.719 | 0.023 | 0.152 | |
| Models | Precision (%) | Recall (%) | F-Score (%) | Model Size (MB) |
|---|---|---|---|---|
| FDFE-MobileViT | 96.6 | 95.6 | 96.1 | 4.04 |
| MobileViT | 89.6 | 88.8 | 89.1 | 3.76 |
| Mobilenetv3 | 92.7 | 91.3 | 92.0 | 5.93 |
| NeXtViT | 91.8 | 90.9 | 98.9 | 117 |
| T2T-ViT | 86.9 | 86.0 | 98.1 | 15.3 |
| ConvNeXt | 88.6 | 87.9 | 88.2 | 106.2 |
| Swin-Transformer | 92.8 | 92.0 | 92.4 | 105.2 |
| Models | Precision (%) | Recall (%) | F-Score (%) | Params (MB) |
|---|---|---|---|---|
| FDFE-MobileViT | 96.6 | 95.6 | 96.1 | 1.02 |
| Ordinary convolution | 96.7 | 95.2 | 95.9 | 1.04 |
| Only the real part | 93.9 | 93.2 | 93.5 | 1.02 |
| Without addition of windows | 93.7 | 93.3 | 93.4 | 1.02 |
| MobileViT | 89.6 | 88.8 | 89.1 | 0.95 |
Disclaimer/Publisher’s Note: The statements, opinions and data contained in all publications are solely those of the individual author(s) and contributor(s) and not of MDPI and/or the editor(s). MDPI and/or the editor(s) disclaim responsibility for any injury to people or property resulting from any ideas, methods, instructions or products referred to in the content. |
© 2023 by the authors. Licensee MDPI, Basel, Switzerland. This article is an open access article distributed under the terms and conditions of the Creative Commons Attribution (CC BY) license (https://creativecommons.org/licenses/by/4.0/).
Share and Cite
Pan, F.; Zhang, B.; Zhao, X.; Shuai, L.; Chen, P.; Duan, X. A Lightweight, Secure Authentication Model for the Smart Agricultural Internet of Things. Agronomy 2023, 13, 2257. https://doi.org/10.3390/agronomy13092257
Pan F, Zhang B, Zhao X, Shuai L, Chen P, Duan X. A Lightweight, Secure Authentication Model for the Smart Agricultural Internet of Things. Agronomy. 2023; 13(9):2257. https://doi.org/10.3390/agronomy13092257
Chicago/Turabian StylePan, Fei, Boda Zhang, Xiaoyu Zhao, Luyu Shuai, Peng Chen, and Xuliang Duan. 2023. "A Lightweight, Secure Authentication Model for the Smart Agricultural Internet of Things" Agronomy 13, no. 9: 2257. https://doi.org/10.3390/agronomy13092257
APA StylePan, F., Zhang, B., Zhao, X., Shuai, L., Chen, P., & Duan, X. (2023). A Lightweight, Secure Authentication Model for the Smart Agricultural Internet of Things. Agronomy, 13(9), 2257. https://doi.org/10.3390/agronomy13092257

