The Design of and Experiments with a Double-Row Seed-Metering Device for Buckwheat Breeding in an Experimental Area
Abstract
:1. Introduction
2. Materials and Methods
2.1. Physical Performance Parameters of Buckwheat Seeds
2.2. Overall Structure of Seed-Metering Device
2.3. Seed-Metering Device Structural Design and Theoretical Analysis
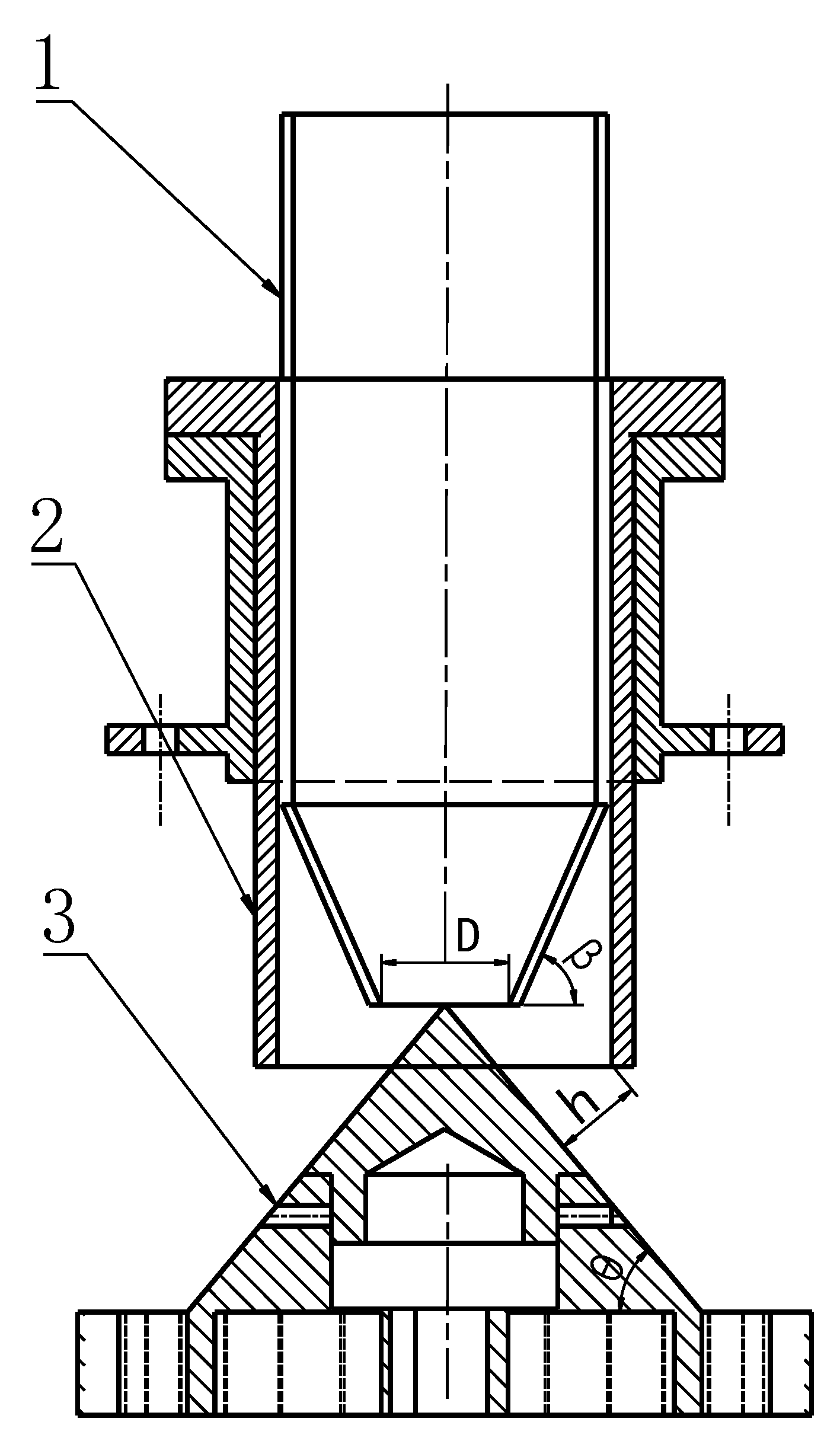
2.3.1. Design of the Cone Grid Format Seed-Distributing Mechanism
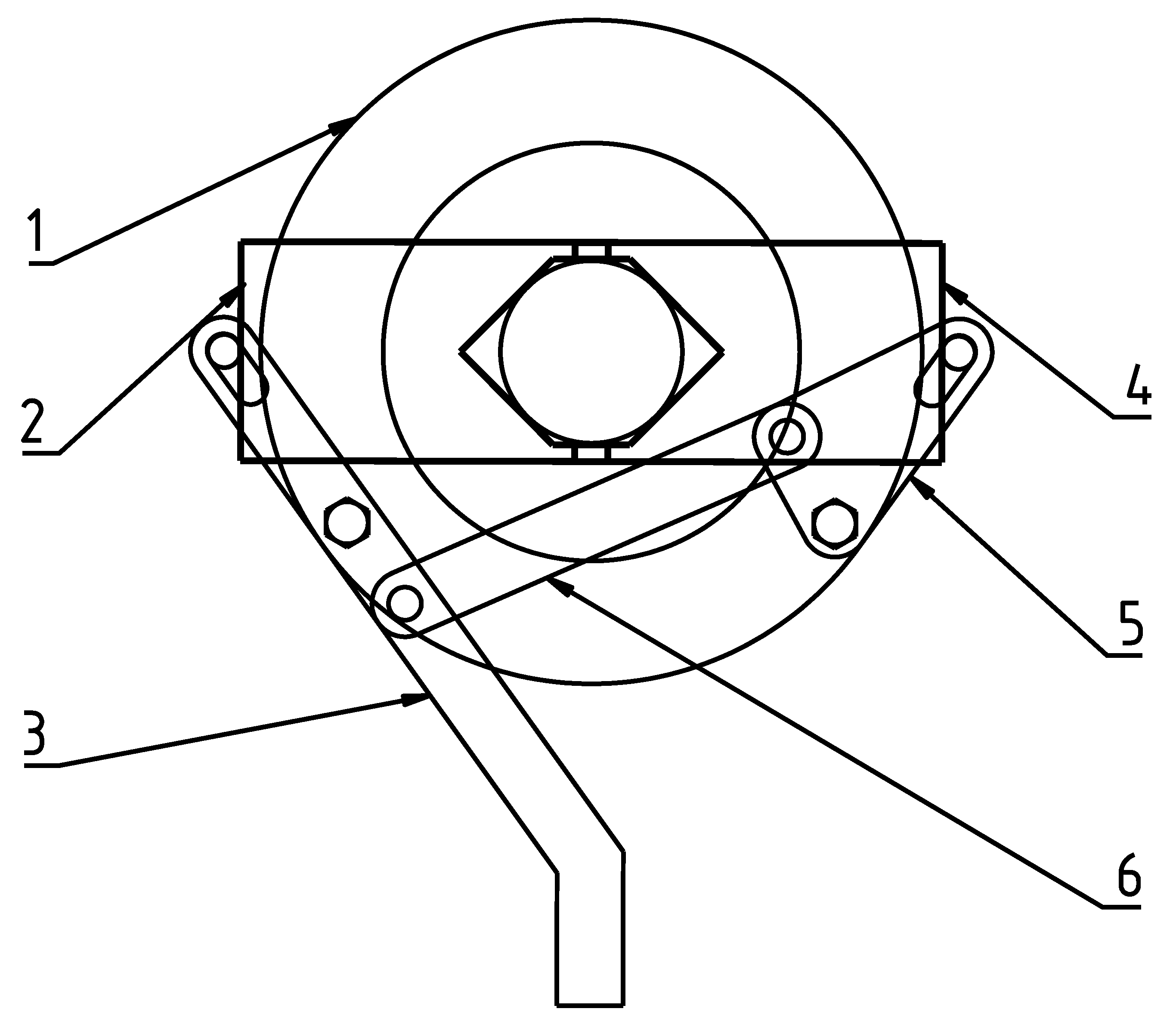
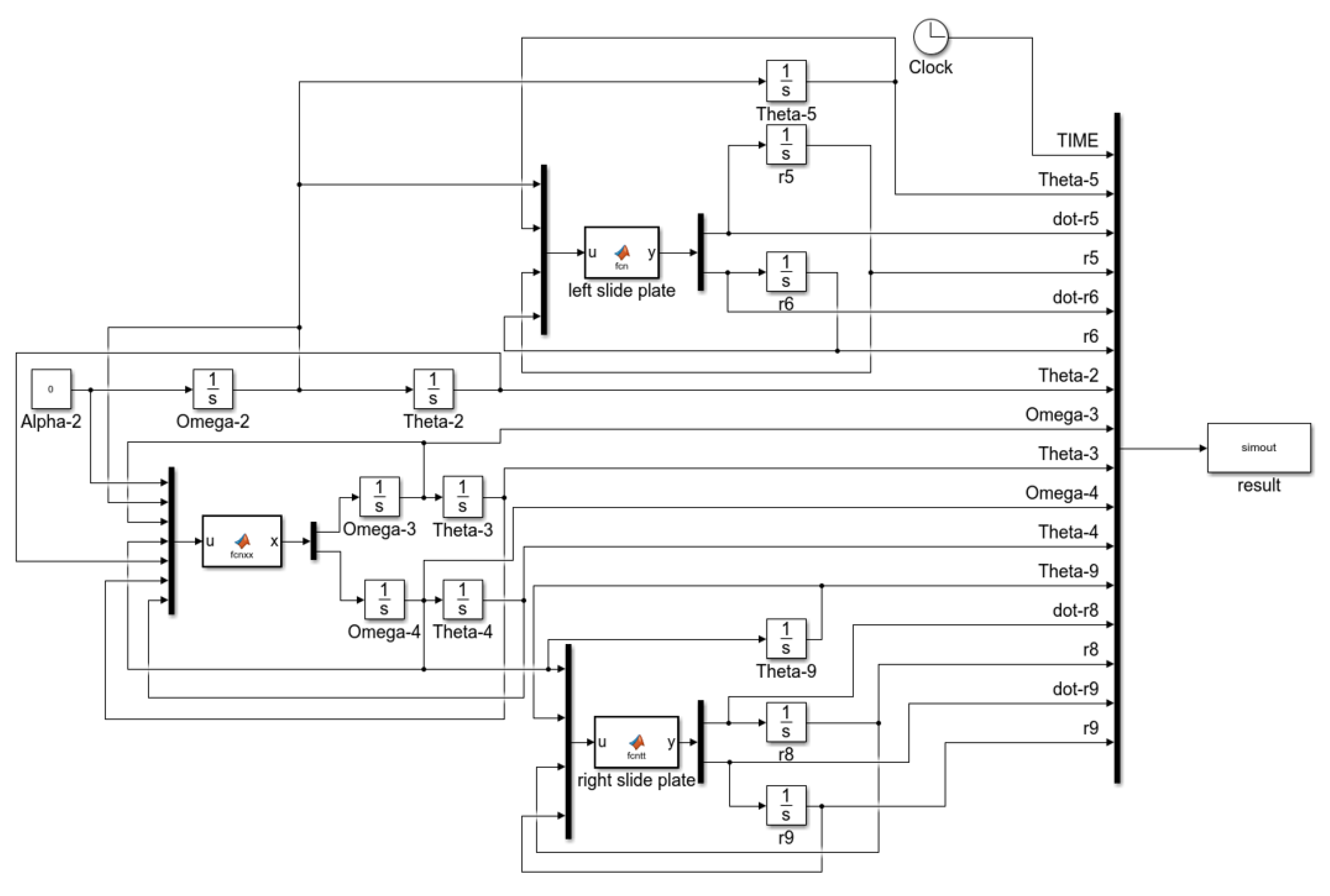
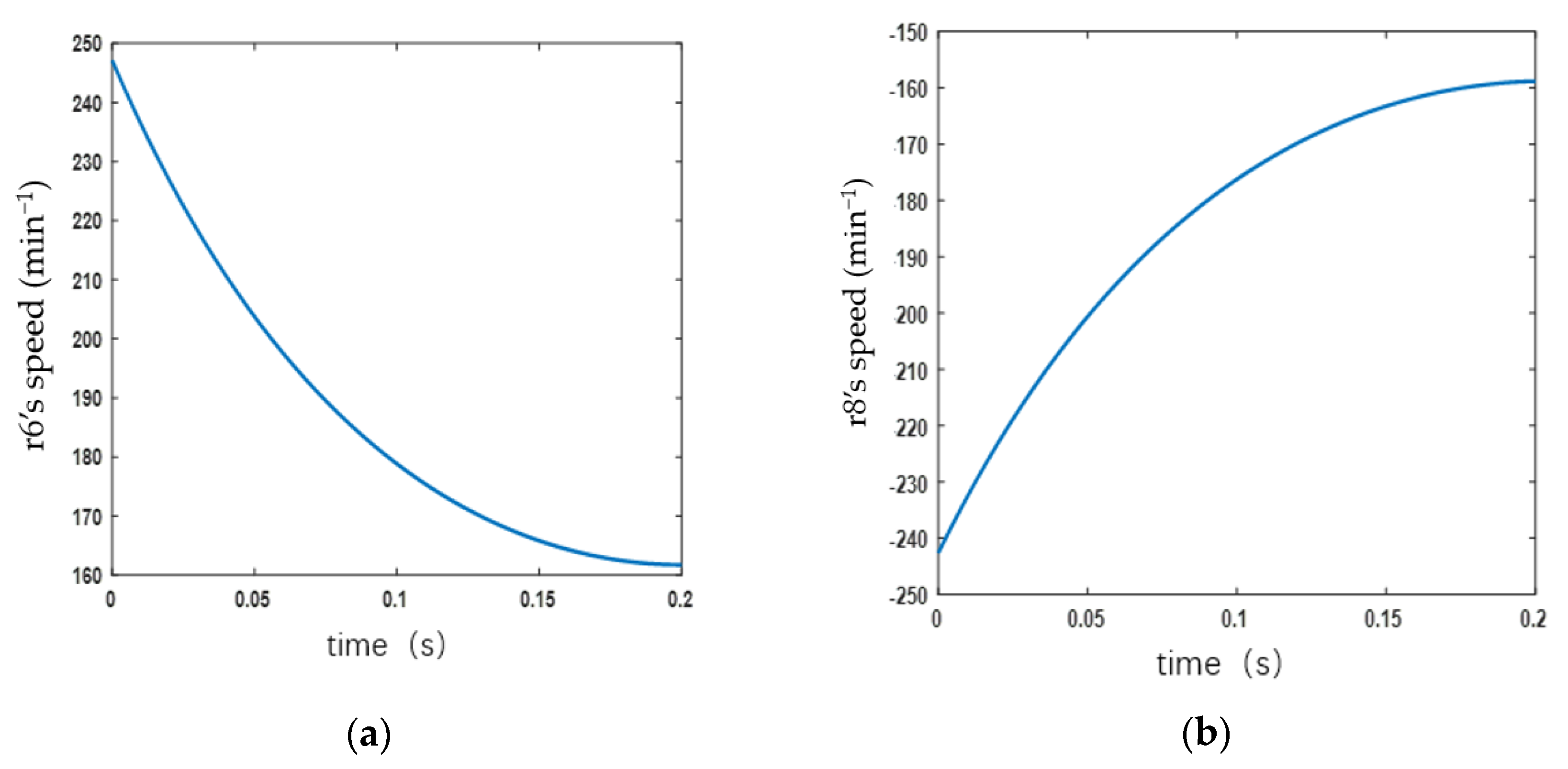
2.3.2. Design and Kinematic Simulation of the Seed-Metering Control Mechanism
2.4. Performance Parameter Test Methods
- 1
- The tests on homemade racks were calculated as follows [26]:
- 2
- The seed dispenser test bed was calculated as follows [27]:
3. Result and Discussion
3.1. Single-Factor Experiment
3.1.1. Experimental Design and Results
3.1.2. Analysis of Results
3.2. Orthogonal Experiment
3.2.1. Experimental Program and Process
3.2.2. Analysis of Results
3.2.3. Verification Experiment
3.3. Sowing Row Length Pass Rate Testing
4. Conclusions
- In order to improve the level of experimental-area breeding mechanization, this paper designs a cone grid format seed-metering device based on the seeding requirements of plot breeding and plant breeding. An experimental study was carried out and the optimal parameters were verified using layout seed gaps, seed displacement, and rotation rate as experimental factors, and sowing uniformity coefficient of variation and broken rate as evaluation criteria. The results showed that the interaction of the layout seed gaps, the seed displacement, and the rotation rate had extremely significant effects on the sowing uniformity coefficient of variation and the broken rate. By modeling the regression equations, the optimum layout seed gap was 13.42 mm, the optimum seed displacement was 17.67 g, and the optimum rotation rate was 15.59 min−1. Under the optimal working conditions, several verification tests were carried out; the average value of the sowing uniformity coefficient of variation was obtained as 14.56%, and the broken rate was 0.39%, which was lower than the national standard. In summary, the double-row seed-metering device for breeding buckwheat in experimental areas can meet the requirements of experimental-area breeding and can achieve the buckwheat seeding requirements.
- On this basis, further research is needed depending on the operational purpose and characteristics of the seed-metering device: First, this study focuses on experimental breeding of buckwheat; we will carry out further structural modifications and performance tests to make it meet the sowing requirements of different seeds and improve the applicability of the seed-metering devices. Secondly, we will utilize discrete element simulation software to dynamically simulate the seed-rowing process. Further, we aim to study the principle of seed-metering devices, analyze the movement trajectory of the seeds, change the structural parameters of the seed-metering devices, and improve the performance of seed-metering devices.
Author Contributions
Funding
Data Availability Statement
Conflicts of Interest
References
- Bohorquez Ruiz, Y.L.; Scott, I.M.; McNeil, J.N. The Buckwheat Effect: A Biopesticide for Wireworm? J. Econ. Entomol. 2019, 112, 625–632. [Google Scholar] [CrossRef] [PubMed]
- Ye, Y.; Wu, Z.; Yu, T.; Dong, Z.; Liu, J. Experimental Study on Seed Uniformity of Cone Seeder of Community Planter. J. Agric. Mech. Res. 2024, 46, 179–183. [Google Scholar] [CrossRef]
- Lian, Z.; Wang, J.; Yang, Z.; Shang, S. Development of Plot-Sowing Mechanization in China. Trans. Chin. Soc. Agric. Eng. 2012, 28, 140–145. [Google Scholar]
- Song, J.; Zhang, S. Current Situation and Developmental Orientation of Plot Seeder. J. Agric. Mech. Res. 2004, 4, 14–16. [Google Scholar]
- Shang, S.; Wu, X.; Yang, R.; Li, G.; Yang, X.; Chen, D. Research Status and Prospect of Plot-sowing Equipment and Technology. Trans. Chin. Soc. Agric. Mach. 2021, 52, 1–20. [Google Scholar]
- Chang, J.; Liu, X.; Ye, T.; Du, M. Agricultural Plot Field Trial Breeding Status and Development of Machinery. J. Agric. Mech. Res. 2011, 33, 238–241. [Google Scholar] [CrossRef]
- Liu, S.G.; Ma, Y.F. Development History, Status and Trends of Plot Seeder. Appl. Mech. Mater. 2012, 268–270, 1966–1969. [Google Scholar] [CrossRef]
- Zhang, X.; Yang, R.; Shang, S. Research Present Situation and Development about Ditching Device of Plot Planting Machinery. Agric. Eng. 2014, 4. 1–3+6. [Google Scholar]
- Shang, S.; Yang, R.; Yin, Y.; Guo, P.; Sun, Q. Current Situation and Development Trend of Mechanization of Field Experiments. Trans. Chin. Soc. Agric. Eng. 2010, 26, 5–8. [Google Scholar]
- Guo, P.; Shang, S.; Wang, Y. Popularizing and Increasing The Level of Mechanization Field Breeding Equipment; Chinese Society of Agricultural Engineering: Beijing, China, 2004; pp. 60–62. [Google Scholar]
- Zhang, H.; Han, Z.; Wang, L. Present Researching Status and Development of Pot Seed Harvesting Machinery. Hunan Agric. Sci. 2008, 38. 102–104+139. [Google Scholar] [CrossRef]
- Oyjord, E. A Simple Apparatus for Field or Laboratory Tenting of Seed Drills. Int. Assoc. Mech. Field Exp. 1987, 23, 46. [Google Scholar]
- Eskandari, I.; Sartipi, N. Construction of an Experimental Plot Seeder of Wheat Planting and Compare It by Imported One. J. Agric. Mach. 2016, 6, 298–311. [Google Scholar]
- Zhang, X. Design Analysis and Experiment Research of Three-Piece Type Seed-Metering Device for Single Ear Drilling Machinery. Master’s Thesis, Qingdao Agricultural University, Qingdao, China, 2016. [Google Scholar]
- Liu, S.; Shang, S.; Yang, R.; Zheng, Y.; Zhao, D.; Zhao, J. Test and Optimization of Parameters for the Storing Device of Plot Seeder. Trans. Chin. Soc. Agric. Eng. 2010, 26, 101–108. [Google Scholar]
- Yang, C.; Shang, S.; Yang, R.; Wang, C. Theoretical Study on the Cone-Centrifugal Seed Metering Device. J. Agric. Mech. Res. 2015, 37, 63–66. [Google Scholar] [CrossRef]
- Yang, W.; Li, J.; Zhang, X.; Yang, R.; He, Z.; Zhang, D. Design and Experiment of Magazine-fed Seed-distributing Device for Row-seeding Spaced Planter. J. Agric. Mech. Res. 2016, 38, 72–76. [Google Scholar] [CrossRef]
- Testing Methods of Sowing in Lines. Available online: https://openstd.samr.gov.cn/bzgk/gb/newGbInfo?hcno=16D7B4F44A54CF5D7FB39D44D539CF3D:URL (accessed on 15 October 2023).
- Liu, H.; Wang, F. The Choice and Analysis of Factors in Seed-metering Device Experimental Study. J. Agric. Mech. Res. 2007, 29, 77–79. [Google Scholar]
- Wu, S. Design and Research of 2BT-4 Type Buckwheat and Precision Seeder. Master’s Thesis, Shanxi Agricultural University, Jinzhong, China, 2022. [Google Scholar]
- Gao, Z. Design Analysis and Experiment Research of the Seeger in Buckwheat and Oat Plot. Master’s Thesis, Shanxi Agricultural University, Jinzhong, China, 2021. [Google Scholar]
- Yang, S.; Yin, M.; Zhang, S. Experimental Research of the Grass Seed Motion and Distribution Uniformity on Distributor Cone. J. China Agric. Univ. 2013, 18, 178–184. [Google Scholar]
- Luo, J.; Feng, S. Kinetostatic Analysis of Tangent Mechanism in Brake Loosing Device of Crane during Accident. Mech. Eng. Autom. 2016, 45, 53–55. [Google Scholar]
- Zhou, X.; Ma, B. Motion Simulation of New Tangential Mechanism Shoe Polisher by Pro/E and Simulink. Light Ind. Mach. 2015, 33, 69–73. [Google Scholar]
- Xu, H.; Ma, X.; Guo, F.; Wang, T. Kinematics Analysis and Simulation of Oscillating Guard Bar Mechanism Based on MATLAB and Pro/E. Mech. Eng. 2014, 46, 117–119. [Google Scholar]
- Liu, S. Study on Design and Mechanism Analysis of Main Parts of Plot Seeder. Ph.D. Thesis, Shenyang Agricultural University, Shenyang, China, 2011. [Google Scholar]
- Zhang, X.; Liu, Y.; Wu, Y. Initial Study on the Index System of the Quality Evaluation of the Drilling-Irrigating-Manuring Seedier; Chinese Society for Agricultural Machinery: Beijing, China, 2000; pp. 54–57. [Google Scholar]

















| Variety | Length (mm) | Width (mm) | Thickness (mm) | Thousand Grains Weight (g) | Moisture Content (%) | Natural Angle of Repose (°) |
|---|---|---|---|---|---|---|
| Hongshan buckwheat | 4.84–5.01 | 3.60–3.73 | 3.26–3.42 | 27.62 | 4.32 | 31.42 |
| Project Name | Units | Parameter |
|---|---|---|
| Structure of the seed-metering control mechanism | Split sliding block mechanism | |
| Range of control of the layout-seed-regulating mechanism | mm | 11–35 |
| Structural type of the seed distribution mechanism | cone grid format | |
| Cone angle of inclination | 50° | |
| Cone dimensions (diameter × height) | mm | 150 × 90 |
| Number of grid cells | 60 | |
| Grid Size | mm | 37 × 30 |
| Transmission system type | - | chain drive |
| Diameter of seed discharge disk | mm | 260 |
| Number of seeding rows | 2 |
| Project | Value |
|---|---|
| 147.45 | |
| 30 | |
| 126 | |
| 30 | |
| 63.67 | |
| 37.28 | |
| 51.62 | |
| 184.72 | |
| 63.67 | |
| 0 | |
| 5.3407 | |
| 0.4189 | |
| 2.0769 | |
| 5.3407 | |
| 0 | |
| 1.5708 | |
| 0 | |
| 0.9425 | |
| −3.14 | |
| 0.0915 | |
| 3.0831 | |
| 3.14 | |
| 0 | |
| 0 | |
| 0 | |
| 3.0831 | |
| time/(s) | 0.20 |
| Test Number | Layout Seed Gaps (mm) | Seed Displacement (g) |
|---|---|---|
| 1 | 7 | 15 |
| 2 | 9 | 15 |
| 3 | 11 | 15 |
| 4 | 13 | 15 |
| 5 | 15 | 15 |
| 6 | 17 | 15 |
| 7 | 19 | 15 |
| 8 | 21 | 15 |
| 9 | 23 | 15 |
| Test Number | Seed Displacement (g) | Layout Seed Gaps (mm) |
|---|---|---|
| 1 | 10 | 13 |
| 2 | 15 | 13 |
| 3 | 20 | 13 |
| 4 | 25 | 13 |
| 5 | 30 | 13 |
| 6 | 35 | 13 |
| Test Number | Rotation Rate (min−1) | Seed Displacement (g) | Layout Seed Gaps (mm) |
|---|---|---|---|
| 1 | 5 | 15 | 13 |
| 2 | 10 | 15 | 13 |
| 3 | 15 | 15 | 13 |
| 4 | 20 | 15 | 13 |
| 5 | 25 | 15 | 13 |
| 6 | 30 | 15 | 13 |
| Factor Level | (mm) | (g) | (min−1) |
|---|---|---|---|
| 1.682 | 16.3636 | 23.409 | 23.409 |
| 1 | 15 | 20 | 20 |
| 0 | 13 | 15 | 15 |
| −1 | 11 | 10 | 10 |
| −1.682 | 9.63641 | 6.59104 | 6.59104 |
| Test Number | (mm) | (g) | (min−1) | (%) | (%) |
|---|---|---|---|---|---|
| 1 | 11 | 10 | 10 | 17.46 | 0.51 |
| 2 | 11 | 20 | 20 | 24.35 | 0.84 |
| 3 | 11 | 20 | 10 | 20.22 | 0.53 |
| 4 | 11 | 10 | 20 | 25.37 | 0.76 |
| 5 | 15 | 20 | 10 | 23.14 | 0.55 |
| 6 | 15 | 20 | 20 | 28.86 | 0.82 |
| 7 | 15 | 10 | 20 | 27.69 | 0.86 |
| 8 | 15 | 10 | 10 | 20.53 | 0.63 |
| 9 | 9.63641 | 15 | 15 | 25.23 | 0.73 |
| 10 | 16.3636 | 15 | 15 | 19.05 | 0.56 |
| 11 | 13 | 6.59104 | 15 | 21.51 | 0.66 |
| 12 | 13 | 23.409 | 15 | 19.52 | 0.63 |
| 13 | 13 | 15 | 6.59104 | 23.73 | 0.63 |
| 14 | 13 | 15 | 23.409 | 25.86 | 0.66 |
| 15 | 13 | 15 | 15 | 14.01 | 0.39 |
| 16 | 13 | 15 | 15 | 12.41 | 0.32 |
| 17 | 13 | 15 | 15 | 13.14 | 0.37 |
| 18 | 13 | 15 | 15 | 12.71 | 0.33 |
| 19 | 13 | 15 | 15 | 13.43 | 0.37 |
| 20 | 13 | 15 | 15 | 12.65 | 0.35 |
| 21 | 13 | 15 | 15 | 12.92 | 0.47 |
| 22 | 13 | 15 | 15 | 13.18 | 0.33 |
| 23 | 13 | 15 | 15 | 12.86 | 0.35 |
| Source | Sum of Squares | DF | Mean Square | F Value | p Value | Significance |
|---|---|---|---|---|---|---|
| Model | 503.89 | 9 | 55.99 | 8.23 | 0.0014 | ** |
| 0.4311 | 1 | 0.4311 | 0.0634 | 0.8063 | ||
| 0.3458 | 1 | 0.3458 | 0.0509 | 0.8261 | ||
| 59.48 | 1 | 59.48 | 8.75 | 0.0144 | ||
| 0.5202 | 1 | 0.5202 | 0.0765 | 0.7877 | ||
| 0.0882 | 1 | 0.0882 | 0.0130 | 0.9116 | ||
| 3.41 | 1 | 3.41 | 0.5008 | 0.4953 | ||
| 156.44 | 1 | 156.44 | 23.00 | 0.0007 | ** | |
| 106.64 | 1 | 106.64 | 15.68 | 0.0027 | ** | |
| 258.28 | 1 | 258.28 | 37.98 | 0.0001 | ** | |
| Residual | 68.01 | 10 | 6.80 | |||
| Lack of fit | 66.25 | 5 | 13.25 | 37.67 | 0.0006 | ** |
| Pure error | 1.76 | 5 | 0.3518 | |||
| R2 | 0.8811 | |||||
| Cor total | 571.90 | 19 |
| Source | Sum of Squares | DF | Mean Square | F Value | p Value | Significance |
|---|---|---|---|---|---|---|
| Model | 0.5384 | 9 | 0.0598 | 7.84 | 0.0017 | ** |
| 0.0003 | 1 | 0.0003 | 0.0417 | 0.8424 | ||
| 0.0007 | 1 | 0.0007 | 0.0916 | 0.7684 | ||
| 0.0903 | 1 | 0.0903 | 11.82 | 0.0063 | ** | |
| 0.0060 | 1 | 0.0060 | 0.7923 | 0.3943 | ||
| 0.0004 | 1 | 0.0004 | 0.0589 | 0.8131 | ||
| 0.0013 | 1 | 0.0013 | 0.1637 | 0.6943 | ||
| 0.1560 | 1 | 0.1560 | 20.44 | 0.0011 | ** | |
| 0.2136 | 1 | 0.2136 | 27.97 | 0.0004 | ** | |
| 0.1560 | 1 | 0.1560 | 20.44 | 0.0011 | ** | |
| Residual | 0.0764 | 10 | 0.0076 | |||
| Lack of fit | 0.0728 | 5 | 0.0146 | 20.51 | 0.0024 | ** |
| Pure error | 0.0036 | 5 | 0.0007 | |||
| R2 | 0.9475 | |||||
| Cor total | 0.6148 | 19 |
| Test Number | Layout Seed Gaps (mm) | Seed Displacement (g) | Rotation Rate (min−1) | Sowing Uniformity Coefficient of Variation (%) | Broken Rate (%) |
|---|---|---|---|---|---|
| 1 | 13.42 | 17.67 | 15.59 | 15.34 | 0.36 |
| 2 | 13.76 | 0.39 | |||
| 3 | 14.59 | 0.44 |
| Number | Theoretical Length (m) | Layout Seed Gaps (mm) | Seed Displacement (g) | Rotation Rate (min−1) | Actual Length (m) | Deviation (m) |
|---|---|---|---|---|---|---|
| 1 | 5.00 | 13.42 | 17.67 | 15.59 | 5.04 | 0.04 |
| 2 | 5.00 | 0 | ||||
| 3 | 5.02 | 0.02 | ||||
| 4 | 5.04 | 0.04 | ||||
| 5 | 5.05 | 0.05 | ||||
| 6 | 5.00 | 0 |
Disclaimer/Publisher’s Note: The statements, opinions and data contained in all publications are solely those of the individual author(s) and contributor(s) and not of MDPI and/or the editor(s). MDPI and/or the editor(s) disclaim responsibility for any injury to people or property resulting from any ideas, methods, instructions or products referred to in the content. |
© 2023 by the authors. Licensee MDPI, Basel, Switzerland. This article is an open access article distributed under the terms and conditions of the Creative Commons Attribution (CC BY) license (https://creativecommons.org/licenses/by/4.0/).
Share and Cite
Liu, D.; Ma, J.; Qiao, X.; Xin, P.; Zhang, X.; Wang, J.; Zheng, D. The Design of and Experiments with a Double-Row Seed-Metering Device for Buckwheat Breeding in an Experimental Area. Agronomy 2023, 13, 2857. https://doi.org/10.3390/agronomy13122857
Liu D, Ma J, Qiao X, Xin P, Zhang X, Wang J, Zheng D. The Design of and Experiments with a Double-Row Seed-Metering Device for Buckwheat Breeding in an Experimental Area. Agronomy. 2023; 13(12):2857. https://doi.org/10.3390/agronomy13122857
Chicago/Turabian StyleLiu, Dequan, Junwei Ma, Xindan Qiao, Peichen Xin, Xinchi Zhang, Jiawei Wang, and Decong Zheng. 2023. "The Design of and Experiments with a Double-Row Seed-Metering Device for Buckwheat Breeding in an Experimental Area" Agronomy 13, no. 12: 2857. https://doi.org/10.3390/agronomy13122857
APA StyleLiu, D., Ma, J., Qiao, X., Xin, P., Zhang, X., Wang, J., & Zheng, D. (2023). The Design of and Experiments with a Double-Row Seed-Metering Device for Buckwheat Breeding in an Experimental Area. Agronomy, 13(12), 2857. https://doi.org/10.3390/agronomy13122857
