Sundry Bacteria Contamination Identification of Lentinula Edodes Logs Based on Deep Learning Model
Abstract
:1. Introduction
- (1)
- In terms of identification of the sundry bacteria contamination of Lentinula edodes logs, domestic edible fungus companies basically rely on manual inspection by inspectors. At the same time, literature related to the sundry bacteria contamination identification of Lentinula edodes logs was not found. Therefore, this paper may report the first research in China to apply a deep learning image recognition model to the identification of Lentinula edodes log sundry bacteria contamination.
- (2)
- This study constructed a data set of Lentinula edodes log sundry bacteria contamination, including 4126 images, 3 types of sundry bacteria contamination, and 1 type of normal Lentinula edodes log, collected and annotated by ourselves.
- (3)
- In order to deploy the lightweight target detection model on the Lentinula edodes log puncturing machine and realize the real-time monitoring of the Lentinula edodes log sundry bacteria contamination, a Ghost–YOLOv4 Lentinula edodes log sundry bacteria contamination target detection algorithm is proposed, which provides an effective solution for the selection of contaminated Lentinula edodes logs. The research in this paper is based on the demand of the edible fungi industry; it is of great significance to reduce the spread of sundry bacteria contamination, improve the product quality of Lentinula edodes logs, and increase the economic benefits of the company.
2. Materials and Methods
2.1. Lentinula Edodes Log Sundry Bacteria Contamination Data Set
2.1.1. Data Acquisition
2.1.2. Data Set Preprocessing
2.2. Construction of the Recognition Model
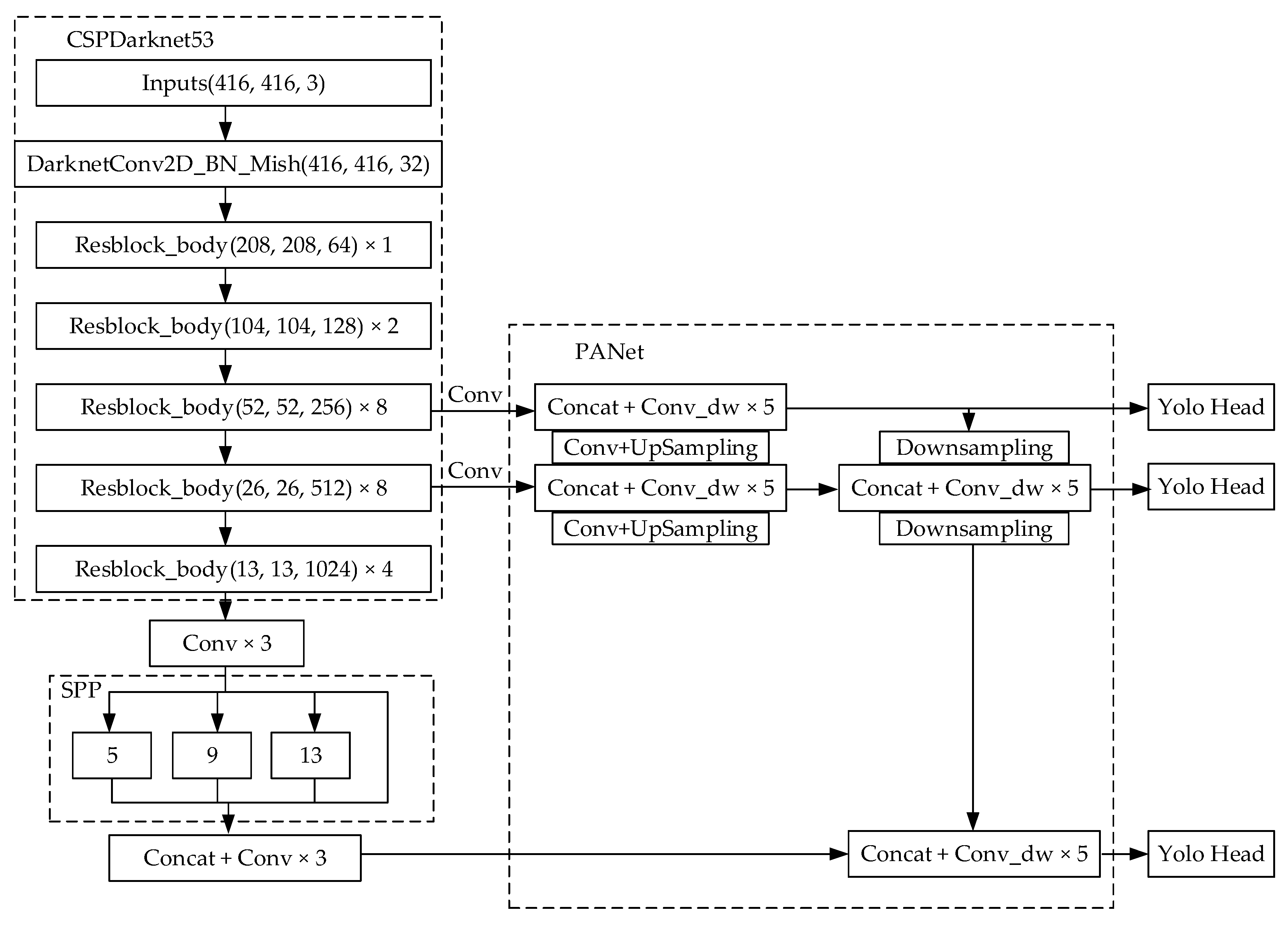
2.2.1. The Classic YOLOv4 Algorithm
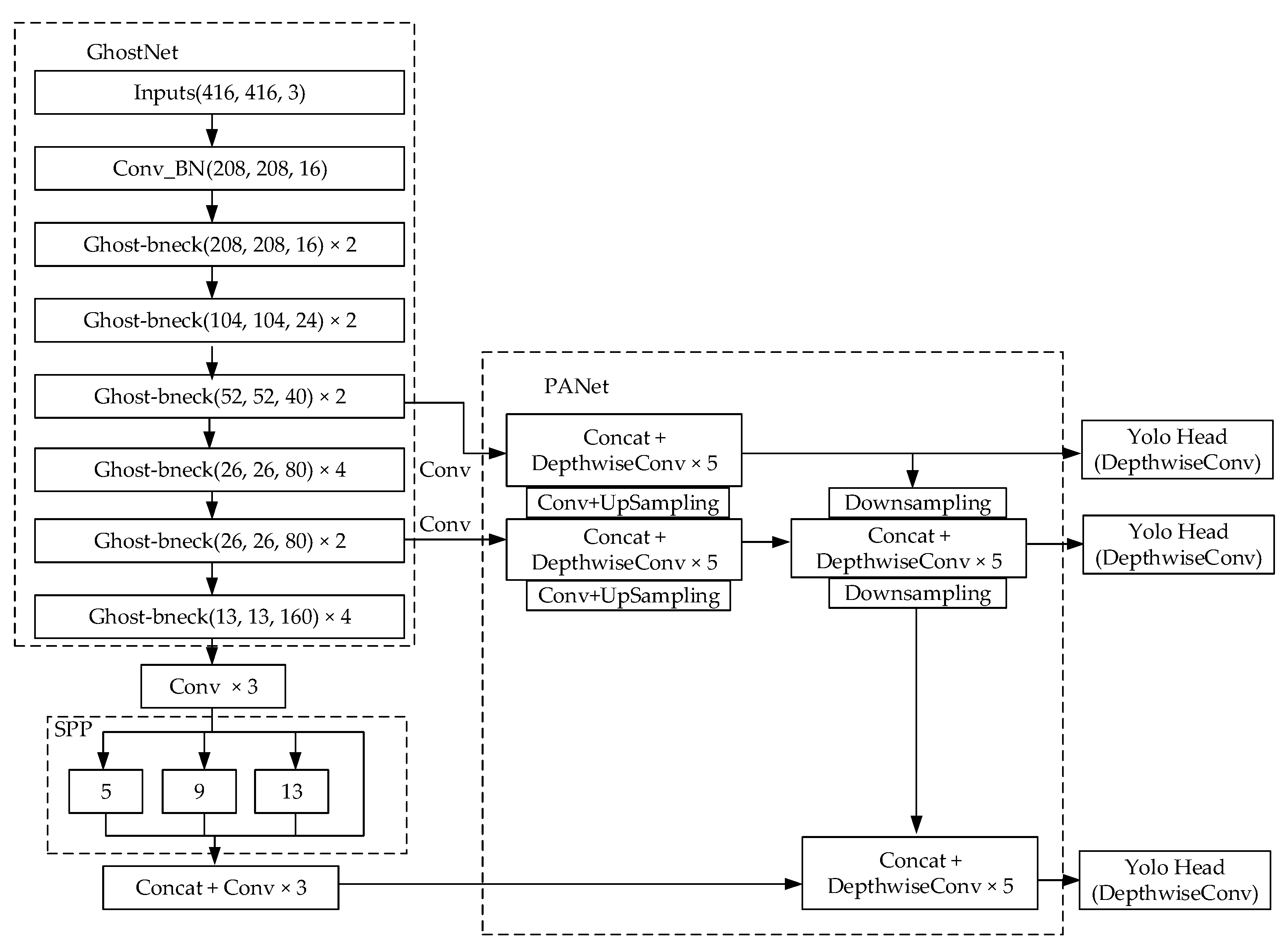
2.2.2. GhostNet Network
2.2.3. Ghost–YOLOv4 Detection Algorithm of Lentinula Edodes Log Sundry Bacteria Contamination
2.3. Model Evaluation Method
3. Results
4. Discussion
Author Contributions
Funding
Institutional Review Board Statement
Informed Consent Statement
Data Availability Statement
Conflicts of Interest
References
- Geng, L.; Gong, F.P.; Zhang, Y.X. The main contamination forms and their relationship in the industrialized production of Lentinula edodes logs. Edible Med. Fungi 2019, 27, 283–286. [Google Scholar]
- Zhong, Z.L. Causes and control measures of rotten tube of Lentinula edodes in layered cultivation in summer. Edible Fungi 2021, 43, 68–69. [Google Scholar]
- Wan, L.C.; Ren, H.X.; Guo, H.D.; Ren, P.F.; Qu, L.; Chang, Z.H.; Zhao, J.C.; Wang, H.P.; Zhao, Y. Analysis of severe contamination of rhizopus longipectus and key technologies of green prevention and control. Edible Fungi 2021, 43, 66–68. [Google Scholar]
- Liu, Y.N.; Mao, F.R.; Zhu, X.T.; Lin, X.X.; Sun, Z.Y. Contamination and control of main sundry bacteria in the production of Lentinula edodes. Jilin Veg. 2017, 21, 31–32. [Google Scholar]
- Zhang, L.L.; An, F.Y.; Wang, Q. Investigation of main diseases of Lentinula edodes in maling township and screening of control methods. Anhui Agric. Sci. 2017, 45, 133–135. [Google Scholar]
- Chen, M.Z. Mold contamination and control of bag cultivated Lentinula edodes. Agric. Technol. Serv. 2016, 33, 98–99. [Google Scholar]
- Li, Y.L. Industrialized production and contamination control of Lentinula edodes logs. Agric. Sci. Technol. Inf. 2016, 25, 83–84. [Google Scholar]
- Cui, L.H. Isolation, identification and diversity analysis of contaminated fungi on edible fungi cultivation rods. Liaoning Norm. Univ. 2018, 4, 67–71. [Google Scholar]
- Cheng, C.B.; Xu, X.J. Characteristics and comprehensive preventive measures of Aspergillus flavus contamination of Lentinula edodes in summer. Edible Med. Fungi 2014, 22, 359–360. [Google Scholar]
- Liu, Y.; Dong, H.; Wang, L. Trampoline motion decomposition method based on deep learning image recognition. Sci. Program. 2021, 9, 1215065. [Google Scholar] [CrossRef]
- Wang, H.; Huang, D.; Wang, Y. GridNet: Efficiently learning deep hierarchical representation for 3D point cloud understanding. Front. Comput. Sci. 2022, 16, 1–9. [Google Scholar] [CrossRef]
- Elyan, E.; Vuttipittayamongkol, P.; Johnston, P. Computer vision and machine learning for medical image analysis: Recent advances, challenges, and way forward. Artif. Intell. Surg. 2022, 2, 24–45. [Google Scholar] [CrossRef]
- Edna, C.T. A comparative study of fine-tuning deep learning models for plant disease identification. Comput. Electron. Agric. 2019, 161, 272–279. [Google Scholar]
- Rahman, C.R.; Arko, P.S.; Ali, M.E. Identification and recognition of rice diseases and pests using convolutional neural networks. Biosyst. Eng. 2020, 194, 112–120. [Google Scholar] [CrossRef]
- Xiong, F.K.; Lu, L.; Cao, T.R. Crop leaf diseases recognition: A generative adversarial network based approach. Comput. Mod. 2020, 303, 43–50. [Google Scholar]
- Wang, G.W.; Wang, J.X.; Yu, H.Y.; Sui, Y.Y. Research on identification of corn disease occurrence degree based on improved ResNeXt network. Int. J. Pattern Recognit. Artif. Intell. 2022, 36, 2250005. [Google Scholar] [CrossRef]
- Sravan, V.; Swaraj, K.; Meenakshi, K. A deep learning based crop disease classification using transfer learning. Mater. Today Proc. 2021, in press. [CrossRef]
- Zi, C.F.; Cao, Z.Y.; Xu, J.J.; Chen, M.; Gao, Y. Research on rice blast recognition based on deep learning. Mod. Agric. Sci. Technol. 2022, 01, 111–118. [Google Scholar]
- Huang, L.S.; Luo, Y.W.; Yang, X.D.; Yang, G.J.; Wang, D.Y. Crop disease identification based on attention mechanism and multi-scale residual network. J. Agric. Mach. 2021, 52, 264–271. [Google Scholar]
- Li, W.Q.; Wang, D.; Ning, Z.T.; Lu, M.L.; Qin, P.F. Survey of fruit object detection algorithms in computer vision. Comput. Mod. 2022, 06, 87–95. [Google Scholar]
- Yang, P.X.; Wang, H.L.; Zong, Q.; Chen, L. Design of automatic fruit grading system based on computer vision. Shihezi Sci. Technol. 2022, 03, 16–17. [Google Scholar]
- Wang, T.S. The development and application of computer vision technology. Inf. Syst. Eng. 2022, 04, 63–66. [Google Scholar]
- Lu, H.T.; Luo, M.K. Survey on new progresses of deep learning based computer vision. J. Data Acquis. Process. 2022, 37, 247–278. [Google Scholar]
- Chen, Z.X.; Tian, S.W.; Yu, L.; Zhang, L.Q.; Zhang, X.Y. An object detection network based on YOLOv4 and improved spatial attention mechanism. J. Intell. Fuzzy Syst. 2022, 42, 2359–2368. [Google Scholar] [CrossRef]
- Dlamini, S.; Kao, C.Y.; Su, S.L.; Jeffrey, K.C. Development of a real-time machine vision system for functional textile fabric defect detection using a deep YOLOv4 model. Text. Res. J. 2022, 92, 675–690. [Google Scholar] [CrossRef]
- Wang, G.B.; Ding, H.W.; Yang, Z.J.; Li, B.; Wang, Y.H.; Bao, L.Y. TRC-YOLO: A real-time detection method for lightweight targets based on mobile devices. IET Comput. Vis. 2021, 16, 126–142. [Google Scholar] [CrossRef]
- Liu, T.; Pang, B.; Zhang, L.; Yang, W.; Sun, X.Q. Sea surface object detection algorithm based on YOLO v4 fused with reverse depthwise separable convolution (RDSC) for USV. J. Mar. Sci. Eng. 2021, 9, 753. [Google Scholar] [CrossRef]
- Han, K.; Wang, Y.; Tian, Q.; Guo, J.; Xu, C.; Xu, C. GhostNet: More features from cheap operations. In Proceedings of the IEEE Computer Society Conference on Computer Vision and Pattern Recognition, Seattle, WA, USA, 14–19 June 2020; pp. 1577–1586. [Google Scholar]
- Wei, B.; Shen, X.; Yuan, Y. Remote sensing scene classification based on improved GhostNet. J. Phys. Conf. Ser. 2020, 1621, 012091. [Google Scholar] [CrossRef]
- Zhang, S.; Zhou, X. MicroNet: Realizing micro neural network via binarizing GhostNet. In Proceedings of the International Conference on Intelligent Computing and Signal Processing (ICSP), Xi’an, China, 9–11 April 2021. [Google Scholar]
- Cao, Y.J.; Gao, Y.X. Lightweight beverage recognition network based on GhostNet residual structure. Comput. Eng. 2022, 48, 310–314. [Google Scholar]
- Sun, D.L.; Wang, J.C.; Chen, K.; Sun, S.W.; Liu, X.T.; Zhou, W.T. Two-scale pig target detection based on Ghost-YOLOv3-2. Jiangsu Agric. Sci. 2022, 50, 189–196. [Google Scholar]
- Zhang, Z.T.; Hu, X.Q.; Wang, S.Q.; Kang, L.; Ma, Q.Y. Trip-GhostNet for Hyperspectral Image Classification. J. Phys. Conf. Ser. 2021, 2024, 012006. [Google Scholar] [CrossRef]
- Xiang, X.J.; Song, X.M.; Zheng, Y.P.; Wang, H.B.; Fang, Z.Y. Research on embedded face detection based on mobilenet YOLO. China J. Agric. Mach. Chem. 2022, 43, 124–130. [Google Scholar]
- Li, G.Q.; Zhang, J.W.; Zhang, M.; Wu, R.X.; Cao, X.Y.; Liu, W.Z. Efficient depthwise separable convolution accelerator for classification and UAV object detection. Neurocomputing 2022, 490, 1–16. [Google Scholar] [CrossRef]
- Jiang, Z.T.; Huang, Y.S.; Hu, L.R. Single image super-resolution: Depthwise separable convolution super-resolution generative adversarial network. Appl. Sci. 2020, 10, 375. [Google Scholar] [CrossRef]
- Hu, G.; Wang, K.J.; Liu, L.L. Underwater acoustic target recognition based on depthwise separable convolution neural networks. Sensors 2021, 21, 1429. [Google Scholar] [CrossRef] [PubMed]
- Zhou, W.; Niu, Y.Z.; Wang, Y.W.; Li, D. Rice pests and diseases identification method based on improved YOLOv4-GhostNet. Jiangsu J. Agric. Sci. 2022, 38, 685–695. [Google Scholar]
- Zhu, X.D. Research on pedestrian detection method based on YOLOv5. Agric. Equip. Veh. Eng. 2022, 60, 4. [Google Scholar]
- Wong, L.J.; Michaels, A.J. Transfer learning for radio frequency machine learning: A taxonomy and survey. Sensors 2022, 22, 1416. [Google Scholar] [CrossRef] [PubMed]
- Xie, L.Y.; Xia, Z.J.; Zhu, S.H.; Zhang, D.Q.; Zhao, F.K. Analysis and research on over fitting of image recognition based on convolutional neural network. Softw. Eng. 2019, 22, 27–29. [Google Scholar]










| Performance Index | YOLOv4 | Mobilenetv3–YOLOv4 | Ghost–YOLOv4 |
|---|---|---|---|
| mAP/% | 93.59 | 92.27 | 93.17 |
| Precision/% | 95.1 | 94.47 | 94.5 |
| Recall/% | 91.46 | 89.11 | 91.02 |
| Model size/MB | 224.29 | 53.77 | 43.4 |
| Network structure parameter quantity | 69,040,001 | 11,729,069 | 11,482,545 |
| FPS/(frames/s) | 23 | 27.68 | 39 |
Publisher’s Note: MDPI stays neutral with regard to jurisdictional claims in published maps and institutional affiliations. |
© 2022 by the authors. Licensee MDPI, Basel, Switzerland. This article is an open access article distributed under the terms and conditions of the Creative Commons Attribution (CC BY) license (https://creativecommons.org/licenses/by/4.0/).
Share and Cite
Zu, D.; Zhang, F.; Wu, Q.; Lu, C.; Wang, W.; Chen, X. Sundry Bacteria Contamination Identification of Lentinula Edodes Logs Based on Deep Learning Model. Agronomy 2022, 12, 2121. https://doi.org/10.3390/agronomy12092121
Zu D, Zhang F, Wu Q, Lu C, Wang W, Chen X. Sundry Bacteria Contamination Identification of Lentinula Edodes Logs Based on Deep Learning Model. Agronomy. 2022; 12(9):2121. https://doi.org/10.3390/agronomy12092121
Chicago/Turabian StyleZu, Dawei, Feng Zhang, Qiulan Wu, Cuihong Lu, Weiqiang Wang, and Xuefei Chen. 2022. "Sundry Bacteria Contamination Identification of Lentinula Edodes Logs Based on Deep Learning Model" Agronomy 12, no. 9: 2121. https://doi.org/10.3390/agronomy12092121
APA StyleZu, D., Zhang, F., Wu, Q., Lu, C., Wang, W., & Chen, X. (2022). Sundry Bacteria Contamination Identification of Lentinula Edodes Logs Based on Deep Learning Model. Agronomy, 12(9), 2121. https://doi.org/10.3390/agronomy12092121

