Biogeosystem Technique (BGT*) Methodology Will Provide Semiarid Landscape Sustainability (A Case of the South Russia Volgograd Region Soil Resources)
Abstract
1. Introduction
2. Object
- Area of the ancient glaciation. The parent rocks are covering and glacial clays and loams, and the Chernozem spreads here.
- Area of non-glacial denudation and accumulative-denudation of relief forms. The soils formed on the Quaternary loam and outcrops of older rocks, which are clays, sandstones, sands, chalk, limestone, flakes. Some rocks are saline. The Kastanozem spreads here.
- Area of the juvenile marine Caspian plain on marine saline clays. The Saline Kastanozem and saline soil complexes spread here.
3. Methodology
3.1. Methods of the Study
3.2. Soil Bonitet
3.3. Calculation of the Soil Bonitet
4. Results
4.1. Soil Properties
4.2. Soil Quality
5. Discussion
5.1. Land-Use Restrictions
5.2. Current State of Soil-Ecosystem Services
5.3. Biogeosystem Technique (BGT*) Improves Bidirectional Linkages between Society and Landscape
5.3.1. Intra-Soil Milling
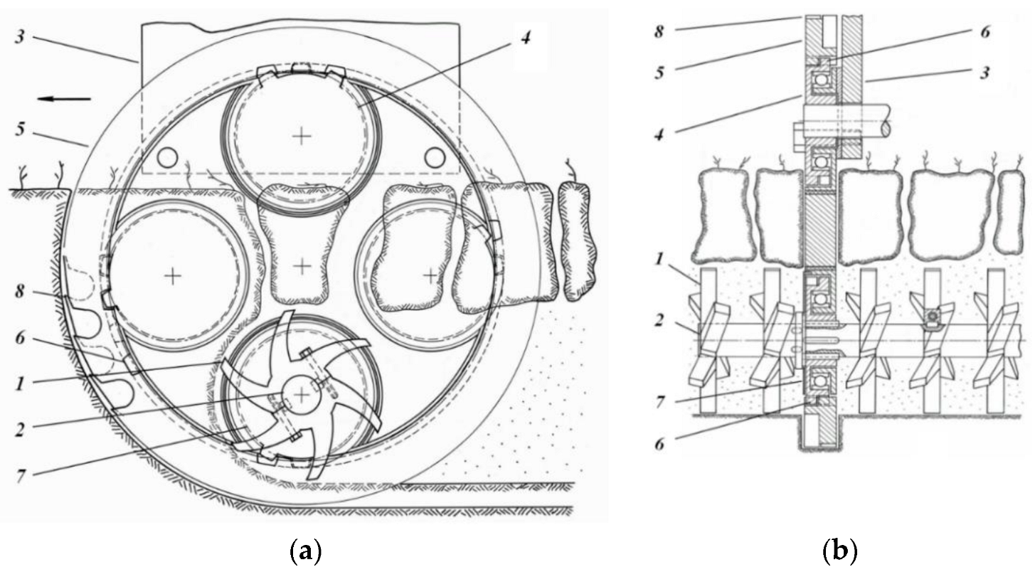
5.3.2. New Design of Intra-Soil Milling Machine
5.3.3. Intra-Soil Pulse Continuous-Discrete Watering
5.3.4. Intra-Soil Waste Recycling
5.3.5. Intra-Soil Slaughter-House Waste Recycling
5.3.6. BGT* Methodology Implications
5.3.7. BGT* Methodology Limitations
6. Conclusions
Supplementary Materials
Author Contributions
Funding
Data Availability Statement
Acknowledgments
Conflicts of Interest
References
- Watson, S.C.L.; Newton, A.C.; Ridding, L.E.; Evans, P.M.; Brand, S.; McCracken, M.; Gosal, A.S.; Bullock, J.M. Does agricultural intensification cause tipping points in ecosystem services? Landsc. Ecol. 2021, 36, 3473–3491. [Google Scholar] [CrossRef]
- Kumar, P. (Ed.) The Economics of Ecosystems and Biodiversity: Ecological and Economic Foundations; Routledge: London, UK, 2012. [Google Scholar]
- Díaz, S.; Pascual, U.; Stenseke, M.; Martín-López, B.; Watson, R.T.; Molnár, Z.; Hill, R.; Chan, K.M.A.; Baste, I.A.; Brauman, K.A.; et al. Assessing nature’s contributions to people. Science 2018, 359, 270–272. [Google Scholar] [CrossRef]
- Byerlee, D.; de Janvry, A.; Sadoulet, E. Agriculture for Development: Toward a New Paradigm. Annu. Rev. Resour. Econ. 2009, 1, 15–31. [Google Scholar] [CrossRef]
- Keesstra, S.D.; Bouma, J.; Wallinga, J.; Tittonell, P.; Smith, P.; Cerdà, A.; Montanarella, L.; Quinton, J.N.; Pachepsky, Y.; van der Putten, W.H.; et al. The significance of soils and soil science towards realization of the United Nations Sustainable Development Goals. Soil 2016, 2, 111–128. [Google Scholar] [CrossRef]
- Van Mansvelt, J.-D. Soil Fertility in Agriculture: Russia—Western Europe—USA: In the Past and Today. Biogeosyst. Tech. 2017, 4, 220–231. [Google Scholar] [CrossRef]
- United Nation. Decade for Deserts and the Fight against Desertification. Why Now? 2010. Available online: https://www.un.org/en/events/desertification_decade/whynow.shtm (accessed on 29 December 2021).
- Van der Sluis, T.; Pedroli, B.; Frederiksen, P.; Kristensen, S.B.P. The impact of European landscape transitions on the provision of landscape services: An explorative study using six cases of rural land change. Landsc. Ecol. 2019, 34, 307–323. [Google Scholar] [CrossRef]
- Plaza-Bonilla, D.; Arrúe, J.L.; Cantero-Martínez, C.; Fanlo, R.; Iglesias, A.; Álvaro-Fuentes, J. Carbon management in dryland agricultural systems. A review. Agron. Sustain. Dev. 2015, 35, 1319. [Google Scholar] [CrossRef]
- Kalinitchenko, V.P. Optimizing the matter flow in biosphere and the climate of the Earth at the stage of technogenesis by methods of biogeosystem technique (problem-analytical review). Int. J. Environ. Probl. 2016, 4, 99–130. [Google Scholar] [CrossRef]
- Kalinitchenko, V.P. Renewal of Energy and Life in the Biosphere. Eur. J. Renew. Energy 2017, 2, 3–28. [Google Scholar] [CrossRef]
- Gill, J.C.; Malamud, B.D. Anthropogenic processes, natural hazards, and interactions in a multi-hazard framework. Earth-Sci. Rev. 2017, 166, 246–269. [Google Scholar] [CrossRef]
- Lal, R. Managing Soils and Ecosystems for Mitigating Anthropogenic Carbon Emissions and Advancing Global Food Security. Bioscience 2010, 60, 708–721. [Google Scholar] [CrossRef]
- Minasny, B.; Malone, B.P.; McBratney, A.B.; Angers, D.A.; Arrouays, D.; Chambers, A.; Chaplot, V.; Chen, Z.-S.; Cheng, K.; Das, B.S.; et al. Soil carbon 4 per mille. Geoderma 2017, 292, 59–86. [Google Scholar] [CrossRef]
- Longbottom, T.; Wahab, L.; Min, K.; Jurusik, A.; Moreland, K.; Dolui, M.; Thao, T.; Gonzales, M.; Perez Rojas, Y.; Alvarez, J.; et al. What’s Soil Got to Do with Climate Change? GSA Today 2022, 32, 4–10. [Google Scholar] [CrossRef]
- Fajardy, M.; Dowell, N.M. Can BECCS deliver sustainable and resource efficient negative emissions? Energy Environ. Sci. 2017, 10, 1389–1426. [Google Scholar] [CrossRef]
- Rai, S.M.; Brown, B.D.; Ruwanpura, N.K. SDG 8: Decent work and economic growth–A gendered analysis. World Dev. 2019, 113, 368–380. [Google Scholar] [CrossRef]
- Keum, D.D. Innovation, short-termism, and the cost of strong corporate governance. Strateg. Manag. J. 2021, 42, 3–29. [Google Scholar] [CrossRef]
- Raudsepp-Hearne, C.; Peterson, G.D.; Tengö, M.; Bennett, E.M.; Holland, T.; Benessaiah, K.; MacDonald, G.K.; Pfeifer, L. Untangling the environmentalist’s paradox: Why is human well-being increasing as ecosystem services degrade? Bioscience 2010, 60, 576–589. [Google Scholar] [CrossRef]
- Rajput, V.D.; Singh, A.; Minkina, T.; Rawat, S.; Mandzhieva, S.; Sushkova, S.; Shuvaeva, V.; Nazarenko, O.; Rajput, P.; Komariah; et al. Nano-Enabled Products: Challenges and Opportunities for Sustainable Agriculture. Plants 2021, 10, 2727. [Google Scholar] [CrossRef]
- Shein, E.V.; Skvortsova, E.B.; Abrosimov, K.N. Tomographic studies of the soil pore space in swelling and shrinkage processes/Abstract book. In Proceedings of the 9th International Soil Science Congress on “The Soul of Soil and Civilization” Soil Science of Turkey Cooperation with Federation of Eurasian Soil Science Societies, Antalya, Turkey, 14–16 October 2014; p. 107. [Google Scholar]
- Kharitonova, G.V.; Shein, E.V.; Krutikova, V.O.; Ostrouhov, A.V. Calcium Carbonate Formations in Edaphic Components of Ecosystems. Biogeosyst. Tech. 2018, 5, 197–212. [Google Scholar] [CrossRef]
- Kalinichenko, V.P.; Sharshak, V.K.; Mironchenko, S.F.; Chernenko, V.V.; Ladan, E.P.; Genev, E.D.; Illarionov, V.V.; Udalov, A.V.; Udalov, V.V.; Kippel, E.V. Changes in the properties of soils in a solonetz soil complex thirty years after reclamation. Eurasian Soil Sci. 2014, 47, 319–333. [Google Scholar] [CrossRef]
- Kozina, O.V. Climate. Volgograd Region: Natural Conditions, Resources, Economy, Population, Geoecological State; Publishing House Change: Volgograd, Russia, 2011; pp. 101–119. [Google Scholar]
- Kirpo, N.I. Soils of The Lower Volga Region: Their Genesis and Agricultural Characteristics; Volgograd State Agricultural Academy Publishing: Volgograd, Russia, 2013; p. 104. ISBN 978-5-85536-739-3. [Google Scholar]
- Brylev, V.A. Geographical Atlas-Reference Book of the Volgograd Region; Planet Publishing: Moscow, Russia, 2012; p. 56. [Google Scholar]
- Chursin, B.P. Soil Resources. In Soil-Ecological Problems in Steppe Agriculture; Ross. Akad. Nauk: Pushchino, Russia, 1992; pp. 23–39. [Google Scholar]
- Degtyareva, E.T.; Zhulidova, A.N. Soils of the Volgograd region; RANEPA: Volgograd, Russia, 1982; p. 340. [Google Scholar]
- Vorobiev, A.V. Land Fund of the Volgograd Region; Volgograd Publishing House: Volgograd, Russia, 2004; p. 48. [Google Scholar]
- Vorobiev, A.V.; Ivanov, I.V.; Okolelova, A.A. Soil Cover and Land Resources. Volgograd Region: Natural Conditions, Resources, Economy, Population, Geoecological State; Publishing House Change: Volgograd, Russia, 2011; pp. 173–189. [Google Scholar]
- Degtyareva, E.T.; Zhulidova, A.N. Soils of the Volgograd Region; Nizhne-Volzhsky Publishing House: Volgograd, Russia, 1970; p. 320. [Google Scholar]
- Egorova, G.S.; Okolelova, A.A.; Bezuglova, O.S. Assessment of Soil Quality and Methods of Its Preservation; Volgograd State Agricultural Academy Publishing: Volgograd, Russia, 2007; p. 108. [Google Scholar]
- Chursin, B.P.; Mozgovoy, V.A. List of Soil Varieties of Agricultural Land In The Volgograd Region; RANEPA: Volgograd, Russia, 1988; p. 310. [Google Scholar]
- Land Code of the Russian Federation. 28 September 2001. Available online: pravo.gov.ru/proxy/ips/?docview&page=1&print=1&nd=102073184&rdk=152&&empire= (accessed on 24 October 2021).
- Regulations on the Procedure for the Conservation of Degraded Lands and Lands, Contaminated with Toxic Industrial Waste and Radioactive Substances. Decree of the Government of the Russian Federation of 5.8.1992, No. 555. Available online: https://docs.cntd.ru/document/9020019 (accessed on 29 December 2021).
- Federation Council. Federal Law “On Environmental Protection” (No. 16 (199) 2004). M: Book Service; Federation Council: Moscow, Russia, 2006; p. 48.
- Van der Meulen, S.; Maring, L.; Bartkowski, B.; Hagemann, N.; Arrúe, J.L.; Playán, E.; Castañeda, C.; Herrero, J.; Plaza, D.; Álvaro Fuentes, J.; et al. Mapping and Assessment of Ecosystems and Their Services: Soil Ecosystems (No. 1.2); DG Environment: Brussels, Belgium, 2018. [Google Scholar]
- Kulik, K.N.; Kretinin, V.M.; Rulev, A.S.; Shishkunov, V.M. Red Book of Soils of the Volgograd Region. Committee for Natural Resources, Forestry and Ecology of the Volgograd Region; RANEPA: Izhevsk, Russia, 2017; p. 240. Available online: https://oblkompriroda.volgograd.ru/upload/iblock/2e1/Krasnaya-kniga-pochv.pdf (accessed on 24 October 2021).
- Chernova, O.V. Information reference system “Red Book of Soils”. Modern state of chernozems. In Proceedings of the International Scientific Conference, Rostov-on-Don, Russia, 24–28 September 2018; Volume 2, pp. 205–212. [Google Scholar]
- Okolelova, A.A.; Nguyen, T.V. Principles of the Soil Red Book Compilation in Vietnam and Russia. Biogeosyst. Tech. 2019, 6, 23–45. [Google Scholar] [CrossRef]
- Okolelova, A.A.; Egorova, G.S.; Chursina, M.Y. "Red Book" soils of the Volgograd region. Local history issues. Materials of XXXI Volgograd Regional Local Lore Readings with international participation, dedicated to the 75th anniversary of the Great Patriotic War Victory. Volgograd 2020, 6, 3–7. [Google Scholar]
- Grassian, V.H. Physical Chemistry of Environmental Interfaces: Aerosols, Nanomaterials and Indoor Surfaces. Chemist 2019, 91, 13–17. [Google Scholar]
- Kalinitchenko, V.; Glinushkin, A.; Kudeyarov, V.; Minkina, T.; Chernenko, V.; Sushkova, S.; Mandzhieva, S.; Makarenkov, D.; Ilyina, L. Biogeosystem Technique for Sustainable Agriculture, Water Scarcity Overcoming, Healthy Soil and Environment; ACS Fall Meeting: San Francisco, CA, USA, 2020. [Google Scholar] [CrossRef]
- Shein, E.V.; Erol, S.A.; Milanovskii, E.Y.; Verkhovtseva, N.V.; Mikayilov, F.E.; Ersahin, S. Agrophysical Assessment of Alluvial Calcareous Soils of the Cumra Region of Central Anatolia in Turkey. Eurasian Soil Sci. 2014, 47, 694–698. [Google Scholar] [CrossRef]
- Shein, E.V.; Kharitonova, G.V.; Milanovsky, E.Y. Aggregation of natural disperse formations: Value of organic matter, soluble salts and diatoms. Biogeosyst. Tech. 2016, 7, 77–86. [Google Scholar] [CrossRef]
- Klute, A. (Ed.) Methods of Soil Analysis. Part 1. Physical and Mineralogical Methods, 2nd ed.; Soil Science Society of America: Madison, WI, USA, 1986; Volume xxviii, p. 1188. [Google Scholar]
- Carter, M.R.; Gregorich, E.G. Soil Sampling and Methods of Analysis, 2nd ed.; CRC Press: Boca Raton, FL, USA, 2007; ISBN 9781420005271. [Google Scholar]
- Bezuglova, O.S. Humus State of Soils in the South of Russia; North Caucasus Scientific Center of the Higher School: Rostov-on-Don, Russia, 2001; p. 228. [Google Scholar]
- Alakoz, V.V.; Poryadin, A.I.; Skufinsky, O.A.; Chelysheva, L.V.; Kiselev, S.V.; Okun, N.A.; Maslenkova, V.F.; Nedelina, S.A.; Altshuler, B.A.; Vorovchenko, A.V.; et al. Methodology for the state Cadastral Assessment of Agricultural Land at the Level of the Constituent Entities of the Russian Federation; Goskomzem RF: Moscow, Russia, 2000; 63p. [Google Scholar]
- Ca Skufinsky, O.A. Methodological Instructions on the State Cadastral Valuation. 2021. Available online: https://base.garant.ru/403258234/ (accessed on 25 October 2022).
- Organization of Cadastral Registration of Land in Russia. Reference Manual; Ogorodnikov, V.V., Ed.; Federal Land Cadastre Service of Russia: Moscow, Russia, 2004; p. 300. [Google Scholar]
- Vorobiev, A.V. Land Resources of the Volgograd Region on 1 January 2004; Publishing house Volgograd: Volgograd, Russia, 2004; p. 8. [Google Scholar]
- Valkov, V.F.; Kazeev, K.S.; Kolesnikov, S.I. Essays on Soil Fertility; North Caucasus Scientific Center of the Higher School: Rostov-on-Don, Russia, 2001; p. 238. [Google Scholar]
- Rules for the State Cadastral Valuation of Land. Russian Federation Government Decree of 8.04.2000, No. 316. Available online: https://docs.cntd.ru/document/901758494 (accessed on 25 October 2022).
- UNCCD. United Nations Convention to Combat Desertification in Those Countries Experiencing Serious Drought and/or Desertification, Particularly in Africa (UNCCD); UNCCD: Bonn, Germany, 2020; p. 78. [Google Scholar]
- Egorova, G.S.; Okolelova, A.A. Physiological Features of the Development and Growth of Alfalfa. Agronomy; Volgograd State Agricultural Academy Publishing: Volgograd, Russia, 2002; pp. 26–30. [Google Scholar]
- Churzin, V.N.; Egorova, G.S.; Khusainov, S.V. Agrobiological Features of the Cultivation of Perennial Grasses in the Lower Volga Region; Volgograd State Agricultural Academy Publishing: Volgograd, Russia, 2001; p. 96. [Google Scholar]
- Kulik, K.N.; Zaichenko, K.I. Model of a Regional Strategy for the Conservation of Biodiversity in the Volgograd Region. Steppes of Northern Eurasia: A Strategy for the Conservation of Natural Diversity and Steppe Nature Management in the 21st Century; IB Komi SC UB RAS: Orenburg, Russia, 2000; pp. 209–211. [Google Scholar]
- Semenyutina, A.V. Criteria for the Selection of Tree Species for Agroforestry Landscaping of Degraded Lands./Fundamentals of Agricultural Achievement. Materials of the International Scientific-Practical Conference Dedicated to the 60th Anniversary of the Volgograd State Agricultural Academy. Section “Agronomy, Zootechnics”; Volgograd State Agrarian University Publishing: Volgograd, Russia, 2004; pp. 46–47. [Google Scholar]
- Minkin, M.B.; Kalinichenko, V.P. Intensification of melioration process on the soils of solonetz complexes by means of regulation of hydrological regime. Soil Sci. 1981, 11, 88–99. [Google Scholar]
- Kalinichenko, V.P.; Minkin, M.B. Transformation of soil cover structure at irrigation. Soil Sci. 1993, 1, 70–76. [Google Scholar]
- Pankova, E.I.; Gorokhova, I.N.; Konyushkova, M.V.; Lyubimova, I.N.; Bazykina, G.S. Modern trends in the development of soils of solonetz complexes in the south of the steppe and semi-desert zones in natural conditions and under anthropogenic influences. Ecosyst. Ecol. Dyn. 2019, 3, 44–88. Available online: http://www.ecosystemsdynamic.ru/wp-content/uploads/2019/06/2-Pankova-arti%D1%81le.pdf (accessed on 29 December 2021).
- Kalinichenko, V.P.; Nazarenko, O.G.; Il’ina, L.P. Structural organization of soil body in overmoistened soils on slopes in the chernozemic zone. Proc. Russ. Acad. Agric. Sci. 1997, 5, 22–24. [Google Scholar]
- Glinushkin, A.P.; Kudeyarov, V.N.; Sokolov, M.S.; Zinchenko, V.E.; Chernenko, V.V. Nature-Similar Technologies of the Biogeosystem Technique in Solving a Global Social and Environmental Problem. Biogeosyst. Tech. 2018, 5, 159–196. [Google Scholar] [CrossRef]
- Kalinitchenko, V.P.; Glinushkin, A.P.; Sokolov, M.S.; Sharshak, V.K.; Ladan, E.P.; Minkina, T.M.; Zinchenko, V.E.; Chernenko, V.V.; Makarenkov, D.A.; Rykhlik, A.E.; et al. Nature-Based Technologies of Biogeosystem Technique. Agrochemistry 2020, 2, 61–68. [Google Scholar] [CrossRef]
- Kalinitchenko, V.P.; Rykhlik, A.E. Biogeosystem Technique New World Water Paradigm for the Water Scarcity Overcoming. In Proceedings of the ACS Fall 2019 National Meeting & Exposition, Chemistry & Water, San Diego, CA, USA, 25–29 August 2019; Available online: https://plan.core-apps.com/acs_sd2019/abstract/6dc4fdd9-0f1c-41b3-a54e-ac4e18736726 (accessed on 29 December 2021).
- Vrebos, D.; Bampa, F.; Creamer, R.E.; Gardi, C.; Ghaley, B.B.; Jones, A.; Rutgers, M.; Sandén, T.; Staes, J.; Meire, P. The impact of policy instruments on soil multifunctionality in the European Union. Sustainability 2017, 9, 407. [Google Scholar] [CrossRef]
- Mishustin, M. On approval of the state program of the Russian Federation. “National Spatial Data System”. Government of the Russian Federation. Resolution. December 1, 2021 No. 2148. Moscow. Available online: http://static.government.ru/media/files/TE9zT51MVjAWMp6xLtwgCG4ipvCg3JBt.pdf (accessed on 25 October 2022).
- Chursin, B.P.; Mozgovoy, V.A. (Eds.) Explanatory Note to the Calculation of Indicators for Land Valuation and Production Potential of Farms in The Volgograd Region; RANEPA: Volgograd, Russia, 2000; p. 6. [Google Scholar]
- Kalinichenko, V.P. Biogeosystem Technique as a Paradigm of Non-waste Technology in the Biosphere. Biogeosyst. Tech. 2015, 3, 4–28. [Google Scholar] [CrossRef]
- Foley, J.A.; Ramankutty, N.; Brauman, K.A.; Cassidy, E.S.; Gerber, J.S.; Johnston, M.; Mueller, N.D.; O’Connell, C.; Ray, D.K.; West, P.C.; et al. Solutions for a cultivated planet. Nature 2011, 478, 337–342. [Google Scholar] [CrossRef]
- Tilman, D.; Cassman, K.G.; Matson, P.A.; Naylor, R.; Polasky, S. Agricultural sustainability and intensive production practices. Nature 2002, 418, 671–677. [Google Scholar] [CrossRef]
- Daily, G.C.; Polasky, S.; Goldstein, J.; Kareiva, P.M.; Mooney, H.A.; Pejchar, L.; Ricketts, T.H.; Salzman, J.; Shallenberger, R. Ecosystem services in decision making: Time to deliver. Front. Ecol. Environ. 2009, 7, 21–28. [Google Scholar] [CrossRef]
- Kalinitchenko, V.P.; Glinushkin, A.P.; Swidsinski, A.V.; Minkina, T.M.; Andreev, A.G.; Mandzhieva, S.S.; Sushkova, S.N.; Makarenkov, D.A.; Ilyina, L.P.; Chernenko, V.V.; et al. Thermodynamic mathematical model of the Kastanozem complex and new principles of sustainable semiarid protective silviculture management. Environ. Res. 2021, 194, 110605. [Google Scholar] [CrossRef]
- Lin, H. Chapter 2–Understanding Soil Architecture and Its Functional Manifestation across Scales. Part I: Overviews and Fundamentals. In Hydropedology; Elsvier: Amsterdam, The Netherlands, 2012; pp. 41–74. [Google Scholar] [CrossRef]
- Shein, E.V.; Kharitonova, G.V.; Amgalan, B.; Sambuu, G.; Krutikova, V.O.; Kharitonov, E.V. Salt Neoformations in Soils of Central Mongolia. Biogeosyst. Tech. 2017, 4, 66–81. [Google Scholar] [CrossRef]
- Totsche, K.U.; Amelung, W.; Gerzabek, M.H.; Guggenberger, G.; Klumpp, E.; Knief, C.; Lehndorff, E.; Mikutta, R.; Peth, S.; Prechtel, A.; et al. Microaggregates in soils. Review Article. Special Issue: Methodological advances in studying the soil–plant–atmosphere gas exchange. J. Plant Nutr. Soil Sci. 2018, 181, 104–136. [Google Scholar] [CrossRef]
- Kalinitchenko, V.; Glinushkin, A.; Sokolov, M.; Batukaev, A.; Minkina, T.; Zinchenko, V.; Chernenko, V.; Startsev, V.; Mandzhieva, S.; Sushkova, S. Biogeosystem Technique for Healthy Soil, Water and Environment. In Proceedings of the ACS Fall 2019 National Meeting and Exposition, Chemistry and Water, San Diego, CA, USA, 25–29 August 2019. [Google Scholar]
- Wiłkomirski, B.; Jabbarov, Z.A.; Abdrakhmanov, T.A.; Vokhidova, M.B.; Jabborov, B.T.; Fakhrutdinova, M.F.; Okolelova, A.A.; Kholdorov, S.M.; Abdullayeva, Y.D. Polycyclic Aromatic Hydrocarbons (Pahs) in Natural and Anthropogenically Modified Soils (A Review). Biogeosyst. Tech. 2018, 5, 229–243. [Google Scholar] [CrossRef]
- Kalinichenko, V.P.; Glinushkin, A.P.; Minkina, T.M.; Mandzhieva, S.S.; Sushkova, S.N.; Sukovatov, V.A.; Iljina, L.P.; Makarenkov, D.A.; Zavalin, A.A.; Dudnikova, T.S. Intra-soil waste recycling provides safety of environment. Environ. Geochem. Health 2021, 44(4), 1355. [Google Scholar] [CrossRef] [PubMed]
- Kalinitchenko, V.P.; Glinushkin, A.P.; Sharshak, V.K.; LadaDOIn, E.P.; Minkina, T.M.; Sushkova, S.N.; Mandzhieva, S.S.; Batukaev, A.A.; Chernenko, V.V.; Ilyina, L.P.; et al. Intra-Soil Milling for Stable Evolution and High Productivity of Kastanozem Soil. Processes 2021, 9, 1302. [Google Scholar] [CrossRef]
- Jatav, H.S.; Rajput, V.D.; Minkina, T.; Singh, S.K.; Chejara, S.; Gorovtsov, A.; Barakhov, A.; Bauer, T.; Sushkova, S.; Mandzieva, S.; et al. Sustainable Approach and Safe Use of Biochar and Its Possible Consequences. Sustainability 2021, 13, 10362. [Google Scholar] [CrossRef]
- Danilejko, Y.K.; Belov, S.V.; Egorov, A.B.; Lukanin, V.I.; Sidorov, V.A.; Apasheva, L.M.; Dushkov, V.Y.; Budnik, M.I.; Belyakov, A.M.; Kulik, K.N.; et al. Increase of Productivity and Neutralization of Pathological Processes in Plants of Grain and Fruit Crops with the Help of Aqueous Solutions Activated by Plasma of High-Frequency Glow Discharge. Plants 2021, 10, 2161. [Google Scholar] [CrossRef]
- Kalinichenko, V.P. Rotary Subsoil Ripper. RU Patent 2273120 C2. Available online: https://new.fips.ru/Archive/PAT/2006FULL/2006.04.10/DOC/RUNWC2/000/000/002/273/120/DOCUMENT.PDF (accessed on 29 December 2021).
- Kalinichenko, V.P. Device for Rotational Subsurface Loosening. RU Patent 2376737 C1. Available online: https://new.fips.ru/Archive/PAT/2009FULL/2009.12.27/DOC/RUNWC1/000/000/002/376/737/DOCUMENT.PDF (accessed on 29 December 2021).
- Rykhlik, A.E.; Bezuglova, O.S. Method of Intra-Soil Pulse Continuous-Discrete Moistening (Model Experiment). Biogeosyst. Tech. 2017, 4, 39–65. [Google Scholar] [CrossRef]
- Lisetskii, F.; Marinina, O.; Stolba, V.F. Indicators of agricultural soil genesis under varying conditions of land use, steppe Crimea. Geoderma 2015, 239, 304–316. [Google Scholar] [CrossRef]
- Lisetskii, F.; Zelenskaya, E.; Rodionova, M. Geochemical features of fallow land in ancient plots in the chora of Chersonesos. Geosciences 2018, 8, 410. [Google Scholar] [CrossRef]
- Kalinichenko, V.P. Method of Intra-Soil Pulse Discrete Watering. RU Patent 2386243 C1. Available online: https://new.fips.ru/Archive/PAT/2010FULL/2010.04.20/DOC/RUNWC1/000/000/002/386/243/DOCUMENT.PDF (accessed on 29 December 2021).
- Pichura, V.I.; Breus, D.S. The basin approach in the study of spatial distribution anthropogenic pressure with irrigation land reclamation of the dry steppe zone. Biogeosystem Tech. 2015, 3, 89–100. [Google Scholar] [CrossRef]
- Kalinichenko, V.P. Device for Entering a Substance at Intra-Soil Rotary Hoeing. RU Patent 2387115 C2. Available online: https://new.fips.ru/Archive/PAT/2010FULL/2010.04.27/DOC/RUNWC2/000/000/002/387/115/DOCUMENT.PDF (accessed on 29 December 2021).
- Kalinichenko, V.P.; Starcev, V.F.; Batukaev, A.A.; Zarmaev, A.A. Device for Slaughter of Animals, Slaughter Product Processing and Slaughter Waste Recycling. RU Patent 2584022 C2. Available online: https://new.fips.ru/Archive4/PAT/2016FULL/2016.05.20/DOC/RUNWC2/000/000/002/584/022/DOCUMENT.PDF (accessed on 29 December 2021).
- Batukaev, A.A.; Endovitsky, A.P.; Andreev, A.G.; Kalinichenko, V.P.; Minkina, T.M.; Dikaev, Z.S.; Mandzhieva, S.S.; Sushkova, S.N. Ion association in water solution of soil and vadose zone of chestnut saline solonetz as a driver of terrestrial carbon sink. Solid Earth 2016, 7, 415–423. [Google Scholar] [CrossRef]
- Daramola, O.P.; Olowoporoku, O.A. Living with a Fatal Choice: Effects of Slaughterhouse Activities on Residents’ Health in Osogbo, Nigeria. Int. J. Environ. Probl. 2017, 3, 26–35. [Google Scholar] [CrossRef]
- Kalinichenko, V.P.; Starcev, V.F. Method of Disposal of Slaughterhouse Waste. RU Patent 2552076 C1. Available online: https://new.fips.ru/Archive/PAT/2015FULL/2015.06.10/DOC/RUNWC1/000/000/002/552/076/DOCUMENT.PDF (accessed on 29 December 2021).
- Swann, A.L.S.; Hoffman, F.M.; Koven, C.D.; Randerson, J.T. Plant responses to increasing CO2 reduce estimates of climate impacts on drought severity. Proc. Natl. Acad. Sci. USA 2016, 113, 10019–10024. [Google Scholar] [CrossRef] [PubMed]
- Van den Bergh, J.C.J.M.; Botzen, W.J.W. Monetary valuation of the social cost of CO2 emissions: A critical survey. Ecol. Econ. 2015, 114, 33–46. [Google Scholar] [CrossRef]
- Kalinitchenko, V.P.; Glinushkin, A.P.; Minkina, T.M.; Mandzhieva, S.S.; Sushkova, S.N.; Sukovatov, V.A.; Il’ina, L.P.; Makarenkov, D.A. Chemical soil-biological engineering theoretical foundations, technical means, and technology for environmentally safe intra-soil waste recycling and long-term higher soil productivity. ACS Omega 2020, 5, 17553–17564. [Google Scholar] [CrossRef] [PubMed]
- Gudkov, S.V.; Shafeev, G.A.; Glinushkin, A.P.; Shkirin, A.V.; Barmina, E.V.; Rakov, I.I.; Simakin, A.V.; Kislov, A.V.; Astashev, M.E.; Vodeneev, V.A.; et al. Production and Use of Selenium Nanoparticles as Fertilizers. ACS Omega 2020, 5, 17767–17774. [Google Scholar] [CrossRef]
- Dahlin, K.B.; Chuang, Y.-T.; Roulet, T.J. Opportunity, Motivation, and Ability to Learn from Failures and Errors: Review, Synthesis, and Ways to Move Forward. Acad. Manag. Ann. 2018, 12, 252–277. [Google Scholar] [CrossRef]
- Eggers, J.P.; Park, K.F. Incumbent Adaptation to Technological Change: The Past, Present, and Future of Research on Heterogeneous Incumbent Response. Acad. Manag. Ann. 2018, 12, 357–389. [Google Scholar] [CrossRef]
- Moskalenko, A.P.; Kalinichenko, V.P.; Moskalenko, S.A.; Gubachev, V.A. Ecological and economic methodological aspects of innovative soil processing justification. Her. South Russ. State Tech. Univ. (NPI). Ser. Socio-Econ. Sci. 2012, 4, 114–123. [Google Scholar]
- Zinchenko, V.; Grishina, E.; Kalinitchenko, V.; Glinushkin, A.; Kudeyarov, V.; Gudkov, S.; Savostyanov, A.; Minkina, T.; Ilyin, V.; Mandzhieva, S. Biogeosystem Technique methodology as a new chemical soil-biological engineering foundation for the safe expanded technological development in the Noosphere. In Proceedings of the EGU General Assembly 2021, Online, 19–30 April 2021. [Google Scholar] [CrossRef]








| Month | Number of Days without Sunshine | Total Radiation, kcal cm−2 | Radiation Balance, kcal cm−2 | The Duration of Sunshine, Hours |
|---|---|---|---|---|
| January | 18 | 2.6 | −0.2 | 70 |
| February | 10 | 4.3 | 0.6 | 101 |
| March | 6 | 8.7 | 2.8 | 132 |
| April | 2 | 11.8 | 6.2 | 212 |
| May | 1 | 16.3 | 8.8 | 296 |
| June | 0 | 16.9 | 9.0 | 312 |
| July | 0 | 16.9 | 8.9 | 331 |
| August | 0 | 14.7 | 7.7 | 299 |
| September | 1 | 10.3 | 4.2 | 245 |
| October | 6 | 6.1 | 1.7 | 159 |
| November | 11 | 3.2 | 0.2 | 65 |
| December | 19 | 1.7 | −0.1 | 43 |
| Year | 74 | 113.4 | 49.8 | 2265 |
| Soil Type | Bonitet Score, Points | Horizons AB Depth, cm | SOM Content in 0–25 cm Layer, % | SOM Stock, t ha−1 | Soil Density, g cm−3 | pH | CCE, mmol 100 g−1 SDW |
|---|---|---|---|---|---|---|---|
| Haplic Chernozem | 102.6 | 46 | 6.3 | 260 | 1.10 | 6.9 | 41.2 |
| Calcic Chernozem | 100.5 | 40 | 4.7 | 180 | 1.18 | 7.2 | 36.0 |
| Haplic Kastanozem Pachic | 92.2 | 35 | 3.4 | 120 | 1.20 | 7.4 | 29.6 |
| Gypsic Kastanozem | 82.7 | 33 | 2.5 | 80 | 1.24 | 7.8 | 27.8 |
| Endosalic Calcisols | 75.8 | 31 | 1.8 | 50 | 1.27 | 8.0 | 26.9 |
| Salic Solonetz | 17.3 | 33 | 2.2 | 60 | 1.38 | 8.1 | 28.6 |
| Soil Layer, cm | Density, gcm−3 | Porosity, % | Water Field Capacity, % | Humidity, % | |
|---|---|---|---|---|---|
| Volume | Solid Phase | ||||
| 0–10 | 1.31 | 2.62 | 50.4 | 22.6 | 8.1 |
| 10–20 | 1.35 | 2.63 | 48.4 | 22.3 | 8.6 |
| 20–30 | 1.41 | 2.65 | 47.5 | 21.1 | 9.9 |
| 30–40 | 1.46 | 2.68 | 45.6 | 20.7 | 10.5 |
| 40–50 | 1.46 | 2.68 | 45.5 | 19.2 | 9.7 |
| 50–60 | 1.49 | 2.70 | 44.5 | 17.3 | 9.0 |
| 60–70 | 1.50 | 2.70 | 45.2 | 16.9 | 8.6 |
| 70–80 | 1.51 | 2.71 | 44.5 | 15.8 | 8.1 |
| 80–90 | 1.52 | 2.72 | 44.2 | 15.5 | 6.6 |
| 90–100 | 1.52 | 2.72 | 44.3 | 13.8 | 5.8 |
| 0–100 | 1.45 | 2.68 | 46.01 | 18.5 | 8.4 |
| Soil Zone | Soil Subtype | Administrative District | Soil Zone Location |
|---|---|---|---|
| Chernozem | Haplic Chernozem | Novonikolaevsky, Uryupinsky, and Nekhaevsky | Strip along the northwestern border of region |
| Calcic Chernozem | Kikvidzensky, Novoanninsky, Mikhailovsky, Danilovsky, Elansky, Rudnyansky, Alekseevsky, and Kumylzhensky | Strip along the Haplic Chernozem soil zone from the western to the northern border of region | |
| Kastanozem | Haplic Kastanozem Pachic | Zhirnovsky, Kotovsky, Frolovsky, Olkhovsky, Serafimovichi, and Kletsky | Strip along the Calcic Chernozem subzone from the western to the northern border of region |
| Gypsic Kastanozem | Kamyshinsky, Dubovsky, Surovikinsky, Chernyshkovsky, Staropoltavsky, Nikolaevsky, and Bykovsky | Two areas: Strip from the western border of region between the Haplic Kastanozem Pachiczone and Don river valley; Strip from the northern border of region along the Haplic Kastanozem Pachicon on both banks of the Volga river | |
| Endosalic Calcisols | Ilovlinsky, Gorodishchensky, Kalachevsky, Oktyabrsky, Kotelnikovsky, Pallasovsky, Leninsky, Sredneakhtubinsky, and Svetloyarsky | Strip along the southeastern border of region |
| Soil Types and Subtypes | Area, Thousands ha | Percentage of Total Area |
|---|---|---|
| Haplic Chernozem | 569.3 | 5.0 |
| Calcic Chernozem | 1791.7 | 15.9 |
| Stagnic Phaeozems | 94.8 | 0.8 |
| Haplic Kastanozem Pachic | 1243.4 | 11.0 |
| Gypsic Kastanozem | 2271.6 | 20.1 |
| Endosalic Calcisols | 1028.1 | 9.1 |
| Gleyic Kastanozem | 443.1 | 3.9 |
| Solodic Planosols | 10.4 | 0.1 |
| Mollic Solonetz | 108.8 | 1.0 |
| Salic Solonetz, Gleyic Solonetz | 1504.2 | 13.3 |
| Solonchaks | 14.6 | 0.1 |
| Reductic Gleysols Humic | 29.3 | 0.3 |
| Fluvisols | 401.6 | 3.6 |
| Other soils (ravine-girder) | 736.3 | 6.5 |
| Subaquatic | 480.0 | 4.3 |
Publisher’s Note: MDPI stays neutral with regard to jurisdictional claims in published maps and institutional affiliations. |
© 2022 by the authors. Licensee MDPI, Basel, Switzerland. This article is an open access article distributed under the terms and conditions of the Creative Commons Attribution (CC BY) license (https://creativecommons.org/licenses/by/4.0/).
Share and Cite
Okolelova, A.A.; Glinushkin, A.P.; Sviridova, L.L.; Podkovyrov, I.Y.; Nefedieva, E.E.; Egorova, G.S.; Kalinitchenko, V.P.; Minkina, T.M.; Sushkova, S.N.; Mandzhieva, S.S.; et al. Biogeosystem Technique (BGT*) Methodology Will Provide Semiarid Landscape Sustainability (A Case of the South Russia Volgograd Region Soil Resources). Agronomy 2022, 12, 2765. https://doi.org/10.3390/agronomy12112765
Okolelova AA, Glinushkin AP, Sviridova LL, Podkovyrov IY, Nefedieva EE, Egorova GS, Kalinitchenko VP, Minkina TM, Sushkova SN, Mandzhieva SS, et al. Biogeosystem Technique (BGT*) Methodology Will Provide Semiarid Landscape Sustainability (A Case of the South Russia Volgograd Region Soil Resources). Agronomy. 2022; 12(11):2765. https://doi.org/10.3390/agronomy12112765
Chicago/Turabian StyleOkolelova, Alla A., Alexey P. Glinushkin, Larisa L. Sviridova, Igor Y. Podkovyrov, Elena E. Nefedieva, Galina S. Egorova, Valery P. Kalinitchenko, Tatiana M. Minkina, Svetlana N. Sushkova, Saglara S. Mandzhieva, and et al. 2022. "Biogeosystem Technique (BGT*) Methodology Will Provide Semiarid Landscape Sustainability (A Case of the South Russia Volgograd Region Soil Resources)" Agronomy 12, no. 11: 2765. https://doi.org/10.3390/agronomy12112765
APA StyleOkolelova, A. A., Glinushkin, A. P., Sviridova, L. L., Podkovyrov, I. Y., Nefedieva, E. E., Egorova, G. S., Kalinitchenko, V. P., Minkina, T. M., Sushkova, S. N., Mandzhieva, S. S., & Rajput, V. D. (2022). Biogeosystem Technique (BGT*) Methodology Will Provide Semiarid Landscape Sustainability (A Case of the South Russia Volgograd Region Soil Resources). Agronomy, 12(11), 2765. https://doi.org/10.3390/agronomy12112765

