Next Article in Journal
Production and Characterization of H. perforatum Oil-Loaded, Semi-Resorbable, Tri-Layered Hernia Mesh
Next Article in Special Issue
Vulcanization Characteristics and Static/Dynamic Mechanical Properties of Chlorinated Butyl Rubber Matrix Materials
Previous Article in Journal
Impact of Thermal Treatment and Aging on Lignin Properties in Spruce Wood: Pathways to Value-Added Applications
Previous Article in Special Issue
Investigation of Mechanical Properties and Oil Resistance of Hydrogenated-Butadiene-Acrylonitrile-Rubber-Based Composites Across Various Temperatures
 
 
Font Type:
Arial Georgia Verdana
Font Size:
Aa Aa Aa
Line Spacing:
Column Width:
Background:
Review

Interactive Coupling Relaxation of Dipoles and Wagner Charges in the Amorphous State of Polymers Induced by Thermal and Electrical Stimulations: A Dual-Phase Open Dissipative System Perspective

by
Jean Pierre Ibar
Rheology Department, Polymat Institute, University of the Basque Country, 20018 Donostia-San Sebastian, Euskadi, Spain
Current address: Aurrera Center of Dissipative Interactions, 20305 Irun, Euskadi, Spain.
Polymers 2025, 17(2), 239; https://doi.org/10.3390/polym17020239
Submission received: 15 October 2024 / Revised: 13 November 2024 / Accepted: 21 November 2024 / Published: 19 January 2025

Abstract

This paper addresses the author’s current understanding of the physics of interactions in polymers under a voltage field excitation. The effect of a voltage field coupled with temperature to induce space charges and dipolar activity in dielectric materials can be measured by very sensitive electrometers. The resulting characterization methods, thermally stimulated depolarization (TSD) and thermal-windowing deconvolution (TWD), provide a powerful way to study local and cooperative relaxations in the amorphous state of matter that are, arguably, essential to understanding the glass transition, molecular motions in the rubbery and molten states and even the processes leading to crystallization. Specifically, this paper describes and tries to explain ‘interactive coupling’ between molecular motions in polymers by their dielectric relaxation characteristics when polymeric samples have been submitted to thermally induced polarization by a voltage field followed by depolarization at a constant heating rate. Interactive coupling results from the modulation of the local interactions by the collective aspect of those interactions, a recursive process pursuant to the dynamics of the interplay between the free volume and the conformation of dual-conformers, two fundamental basic units of the macromolecules introduced by this author in the “dual-phase” model of interactions. This model reconsiders the fundamentals of the TSD and TWD results in a different way: the origin of the dipoles formation, induced or permanent dipoles; the origin of the Wagner space charges and the Tg,ρ transition; the origin of the TLL manifestation; the origin of the Debye elementary relaxations’ compensation or parallelism in a relaxation map; and finally, the dual-phase origin of their super-compensations. In other words, this paper is an attempt to link the fundamentals of TSD and TWD activation and deactivation of dipoles that produce a current signal with the statistical parameters of the “dual-phase” model of interactions underlying the Grain-Field Statistics.

  • The Objectives of This Review: Table of Content
This review is written to present our views on the fundamental aspects of the interactions involved in amorphous polymer matter. It is not an easy thing to do for two reasons: First, we are using a more or less unfamiliar thermal analysis technique to characterize the amorphous matter, namely the thermally stimulated depolarization procedures called TSD and TWD that many polymer scientists have never heard of; and second, we discuss the TSD/TWD results in terms of a new approach to the physics of polymer interactions, which is in its first steps of broad dissemination and thus is even more unfamiliar to readers than TSD/TWD. This new theoretical approach, the dual-phase and cross-dual phase models of the interactions in polymers, uses a new language and defines new terms to describe the interactive coupling between the macromolecules and new statistics to assess the local and the collective behavior of a set of macromolecules occupying the interactive space. The new statistics emerges from classical considerations yet adds a new dissipative term to the system energy that appears to make all the difference to explain inexplicable experimental features that are observed by TSD/TWD. To be fair, the TSD methodology is covered and discussed in over a thousand publications but is often not admitted among the other classical methods of thermal analysis characterization such as DSC (differential scanning calorimetry), DMA (dynamic mechanical analysis), etc. The reasons for not being admitted to the highest podium step include the complexity of the origin of the discharge current signals (dipoles interactions, ionic and Wagner charges occupying the free volume spaces) and the lack of a clear consensus in the understanding of the peaks observed, namely Tg, Tg,ρ or TLL.
The Table of Content for this review is as follows:
1. Introduction
  1.1. The TSD/TWD experimental thermo-kinetic features attributed to the “interactive coupling” characteristics;
  1.2. The main assumptions and main dynamics features of the dual-phase model;
  1.3. Examples of simulation of the Dual-Split equations.
2. Development
  2.1. The electrical or internal motion nature of the TSD peaks;
  2.2. The controversial issues raised in trying to understand “classically” the presence of the TSD peaks of Tg, Tg,ρ and of the TLL manifestations;
  2.3. The controversial issues related to the positive and negative compensations in relaxation maps and the origin of the super-compensations observed in the amorphous state of specially cooled polystyrene samples.
3. Discussion
  3.1. Challenging results for the conventional models of polymer physics;
  3.2. Dual-phase understanding of Tg, Tg,ρ and the TLL manifestations;
  3.3. Dual-phase understanding of compensations, multi-compensations, and super-compensations;
  3.4. Effect of the voltage field;
    3.4.1. Effect of the voltage field on the dielectric medium;
    3.4.2. Effect of the voltage field on the dual-split statistics of interactive coupling;
    3.4.3. New interpretation of thermal-windowing and compensations;
    3.4.4. The nature of what TWD is actually deconvoluting;
    3.4.5. On the potentiality of the TWD methodology to find the fundamental parameters of the dual-phase model.
4. Conclusions

1. Introduction

1.1. The Thermally Stimulated Depolarization (TSD) and the Thermal-Windowing Deconvolution (TWD) Characterization Techniques: A Brief Introduction

Originally, thermally stimulated current depolarization techniques were used to measure charge detrapping in low-molecular-weight organic and inorganic non-conductive compounds. Ever since 1967, they have been applied to the study of structural transitions in polymers, another class of non-conductive materials. The credit for the initial development must be given to C. Lacabanne at the University of Toulouse, France [1]; J. Vanderschueren at the University of Brussels, Belgium [2]; and J. Van Turnout of the University of Handoven in Holland [3], who applied thermally stimulated depolarization methods to the investigation of the microstructure and properties of polymers. The result of their 20 years of dedicated research has led to the publication of hundreds of articles in the leading scientific journals. Additionally, in 1974, Lacabanne pioneered the use of the polarization–depolarization procedural technique she called “thermal-windowing spectroscopy”, successively renamed over the years “relaxation map analysis (RMA)” in 1993 [4] and more recently “thermal-windowing deconvolution” (TWD) in 2022 [5], and applied it to the study of a wide variety of macromolecular materials, synthetic and organic [6]. The use of “thermal-windowing” rendered possible the deconvolution of the thermal stimulated depolarization peaks and the decoupling of the relaxation modes responsible for internal motion permitting, for the 1st time, a better understanding of their coupling characteristics which relate to the state of the material itself, in particular its thermodynamic sensitivity to “internal stress”.
The methods of thermally stimulated depolarization became very popular in the early 1990s as a result of the introduction by Solomat Instruments (Stamford, CT, USA) of the automated TSD/TWD spectrometer on the thermal analysis market [4]. At Solomat, where this author was the Director of Research, these dielectric spectrometers were called TSC/RMA, and a book was published as a guide for the use of these spectrometers and the analysis of the results to promote the sales of TSC/RMA spectrometers [4]. This new technology could “measure up” the amorphous state in such diverse applications as bonding and cohesion between matrices and fibers for composites, between metals and paints, between the crystalline phases in semi-crystalline polymers, or even between the phases in a blend or a block copolymer. In 2022, a new book on the same TSD/TWD subject was published [5] with a different objective in mind: explain the depolarization results using our new dual-phase model approach of describing the interactions in polymers by application of the Grain-Field Statistics. This new book provides a different interpretation of the results obtained by TSD and TWD, while the book published in 1993 [4] provided the classical formulation of Lacabanne [1], Vanderschueren [2], and Van Turnout [3]. In particular, in [7], in response to a question raised in [8], we develop a new understanding of the amorphous state of matter submitted to an electrical field using the variables that enter the dynamic equations of the dual-split statistics when it is brought out of equilibrium by such thermal–mechanical processing procedures as to induce dissipative structures (rheomolding [9], rheo-fluidification and sustained orientation) [10].
Our general objective is to explain all the properties of polymers using a new statistical formulation of their interactions: “the Grain-Field Statistics of dissipative systems”. The application to the rheology of polymer melts has been introduced [11,12] and is the subject of a specific publication [13]. In the case of the dielectric properties, in [5] and in this article, the subject of the polarization and depolarization of the dipoles and the creation of space charges is studied from a different angle than the traditional views [1,2,3]: Is it possible (or not) to correlate the parameters of the Grain-Field Statistics to the thermo-kinetic features observed in a relaxation map of interactive dipoles, namely compensations and super-compensation lines, and their comprehension in terms of the dual-phase model [7]?
Sophisticated thermal analytical instruments are available on the market, such as differential scanning calorimeters (DSCs), dynamic mechanical analyzers (DMAs), and dielectric spectrum analyzers (DEAs), but none can characterize the amorphous state to determine the interactive coupling molecular basis for its non-equilibrium characteristics, either in the solid or in the molten temperature regions.
The first book, published in 1993, narrated how industry engineers and scientists would welcome the arrival of an instrument to tag and measure the internal stress in injection-molded, extruded, or blow-molded parts, or capable of characterizing the segregation in a blend or a block copolymer, or determining the bonding strength of paints and glues. The book explained that Lacabanne, Vanderschuren, and Van Turnout developed the basic technology for such an instrument. Solomat Instruments LLP sought and obtained a license to develop, manufacture, and commercialize the new technology. The result was the first automated TSD/TWD spectrometer that started to sell in late 1988.
Several techniques exist to analyze the molecular response of materials to physical or chemical inputs in order to determine their specific performance. Differential scanning calorimetry (DSC) and differential thermal analysis (DTA) are among the most popular in laboratories and on production sites. Other techniques use equipment such as thermal–mechanical analyzers (TMAs), dynamic mechanical analyzers (DMAs), stress relaxation or creep analyzers, thermal expansion coefficient devices, and dielectric analyzers (DEAs). The method of thermally stimulated depolarization (TSD) consists of rapidly subjecting the specimen to a high temperature (above the transition temperature at which the relaxation phenomena is expected), orienting the dipoles at that temperature, and freezing in the orientation thus produced by quenching at low temperature (Figure 1).
The voltage field applied is then removed, and the temperature is ramped linearly back up to reveal the polarization induced at high temperatures. TSD is therefore a thermally stimulated recovery experiment. An electrometer is connected to the sample to record the short-circuit current while heating. A current is created when the material depolarizes. This thermally stimulated depolarization current reveals the molecular mobility of the material’s structure. The rate of depolarization is related to the relaxation times of the internal motions providing a new opportunity to study the physical and morphological structure of materials.
The depolarization current, J, flowing through the external circuit is measured by a very sensitive electrometer (capable of measuring currents 10 million times smaller than those measured by a tunneling microscope) and allows for the determination of the “dipole conductivity”.
The current peaks recorded this way (Figure 2a,b) are found to correlate well with the transition temperatures measured by mechanical relaxation (DMA), by DSC, or by conventional (a.c.) dielectric spectroscopy (DETA). A TSD output looks like a tan δ versus temperature plot, showing maxima at the transitions occurring inside the material. In fact, TSD provides very similar results to those obtained from other analytical instruments operating at the same low-frequency equivalent (10−4 Hz), with the addition of an accrued sensitivity, and a separating power unseen in other technologies.
The concept of “thermal-windowing” gives the TSD another dimension. It consists of polarizing only a fragment of the full spectrum of relaxation and depolarizing it partially to isolate or “window” a single relaxation process. There are two types of possible windowing techniques. The first method, which can be called “partial isothermal recovery” or “isothermal-windowing”, consists of the following: First, the sample is polarized at temperature Tp for a time tp adjusted to allow for orientation only of a certain fragment of the dipoles. At the same temperature Tp, the polarizing voltage is cut off and maintained at Tp for a time td. This allows for the depolarization of a fragment of the oriented dipoles. Finally, the sample is quenched to obtain To << Tp. The sample is reheated at a constant rate and the current of depolarization is measured. Δt = (tp − td) is the “time window” and can vary between 1 min and about 1 h.
The second commonly used thermal deconvolution method is the “thermal-windowing deconvolution experiment (Figure 3), which we designate TWD in this review. TWD essentially gives identical results as the first deconvolution method, yet it is faster to practice. In this option, a constant voltage is applied at Tp for a time tp, commonly of the order of 2 min. The temperature is then lowered to Td at which the voltage is removed, and the specimen is allowed to recover partially for a time td, usually equal to tp. ΔT = (Tp − Td) is the temperature window and can vary between 1° and about 10 °C. The specimen is then quenched by 50° to 100 °C to a sub-temperature (To) at which the amount of polarization induced in the material is frozen. A linear heating-up is then performed, and the variation in current due to thermally induced depolarization or other current discharges is observed as a function of time (i.e., temperature). Since the current, J(t), is the derivative of polarization, the ratio P(t) divided by J(t) is a quantity with the dimension of time and represents, according to Bucci et al. [14,15], the elementary relaxation time τi typical of the relaxing system. Figure 4 shows the result of thermal-windowing on the TSD output.
When tp, td, and (Tp − Td) are conveniently chosen, the depolarization current is supposed to represent the relaxation of a single Debye relaxation mode isolated from the spectrum of relaxation modes. By varying the value of the temperature of polarization Tp and repeating the above thermal-windowing process, one can isolate the elementary modes one by one (Figure 5).
The computer in the automated TSD/TWD spectrometer of Solomat integrates the current vs. temperature peak for each temperature and calculates the value of the relaxation time at each temperature. According to Bucci’s equation ([14,15]; also p. 7 and p. 34 of [5]), the analysis of each resolved Debye peak obtained at various polarization temperatures gives a temperature-dependent retardation time τi(T), which often follows an Arrhenius dependence (Figure 6).
According to Lacabanne [1], the relaxation time in Figure 6 is the inverse of the frequency of jump between two activated states of the depolarization process, the intercept of the Arrhenius equation is proportional to the entropy of activation for the activated process involved, and the slope is proportional to the enthalpy of activation. If a structure is “loose”, the contrary of “ordered” or “compact”, i.e., when molecular mobility is less hindered by the interactive intra–intermolecular surrounding, the entropy of activation will be “larger”. Conversely, any parameter that acts to “organize” the structure and create a tighter environment for the bonds will cause a decrease in the entropy of activation. So, the activated entropy calculated from the intercept of Figure 6 gives an indication of “the degree of disorder” (DOD) of the structure [16].
A relaxation map (Figure 7) is obtained from a TWD experiment: this involves the collection of the relaxation lines obtained for each deconvoluted Debye peak and is analyzed according to Bucci’s equation. While the techniques based on thermally stimulated depolarization, even when named using various other designations than TSD, have been popular to characterize molecular motions in all kinds of non-conductive materials [1,2,3,4,5,6], the TWD technology leading to a relaxation map appears to be more specifically suited to determine the degree of cooperativeness between the relaxation modes responsible for internal motions at the main transitions, revealing the state of their structure and their morphology [5,16]. Relaxation maps can be looked at as “fingerprints” of the material, as they are representative of its chemical structure, morphology, and non-equilibrium structure (Figure 8).
The analysis of the relaxation map determines the elementary enthalpies of activation and the pre-exponential factors (related to the entropy of activation) for all the relaxation modes obtained by varying the temperature of polarization Tp.
In summary, the relaxation observed during the recovery stage of TSD reveals the kinetics and the powerful method of “thermal-windowing deconvolution” (TWD) used to deconvolute the individual relaxation modes. This allows for the study of their coupling characteristics, reflecting the structure and the physical state of the material. Constitutive equations can be used thereafter to reconstruct the material dielectric behavior (Figure 9) by calculating the fundamental physical parameters from the spectrum of relaxation (dielectric permittivity, etc.).
The various Arrhenius lines obtained by thermal-windowing at different polarization temperatures (Tp) often converge to a common point, namely the compensation point (Figure 10).
The spectral lines in Figure 10 apply to the thermo-electrical activation of the dipoles below Tg (Tp < Tg), which results in a “positive” compensation: this means that the temperature of the compensation point is located above Tg, and the convergence points downwardly. When Tp > Tg but below TLL, the spectral lines converge upwardly and backward to a compensation point located below Tg: the compensation is designated “negative”. An example is shown in Figure 11. When Tp > TLL, the spectral lines are parallel to each other and thus no longer converge (for an amorphous state at or near equilibrium), and they may no longer display an Arrhenius behavior (their spectral line is curved).
The coordinates of the compensation points, either positive or negative, can be found by a “compensation search”, a plot of the intercept versus the slope of the Arrhenius spectral lines. The compensation is validated when the plot in the compensation search (called a compensation line) is linear. In such a case, the dipoles are not independent in their relaxation; they are “interactively coupled”, the meaning of which is defined and specified in this review. The coordinates of the compensation points are calculated from the slope and the intercept of the compensation line. When the dipoles are not interactively coupling, i.e., when their motions are independent, their spectral lines are parallel, and there is no compensation point in the compensation search. This lack of interactive coupling occurs above the TLL transition under equilibrium conditions.
It should be noted that there are several types of representation of the state of interactive coupling of an amorphous phase, with the relaxation map of log τi vs. 1/T in Figure 11 considered one of them. For instance, when the relaxation time τi of each mode is converted to its Eyring form, τι (Eyring), we obtain an “(Eyring relaxation map) pursuant to the following equation (Eq. 2.5 of ref. [5]):
τ (Eyring) = (h/kT) exp(−ΔSp/k) exp(ΔHp/kT)
where h and k are the Planck and Boltzmann constants, respectively, and ΔHp and ΔSp are the enthalpy and entropy of activation of the Debye elementary relaxation modes at T = Tp. The relaxation data can also be presented in the ΔG vs. T plane, where all the Eyring relaxation times are converted into ΔGi relaxation spectral lines using ΔG(T) = ΔHp − T ΔSp where T, the x-axis, is the temperature during the depolarization stage (see Figure 2.7 of ref. [5], p. 71). The compensation search in the ΔG plane consists of a plot of ΔSp vs. ΔHp, as illustrated in Figure 12 for an amorphous polymer exhibiting a single Tg transition, “a one-phase system”.
In Figure 12, the intersection of the positive compensation line (top) and the negative compensation line (bottom) occurs at Tg, offering a very precise and sensitive way to characterize the Tg of an amorphous phase in a polymer. For polymer blends of two largely immiscible components, the variation in the coordinates of the intersection of the two compensations allows us to quantify the amount of dissolution of one component in each phase.
In conclusion, the interest in thermally stimulated process outcomes revolves around this phenomenon of compensation, the determination of the coordinates of the compensation points, the interpretation of its origin, its practical use to characterize the degree of coupling in the amorphous phase of polymeric matter, and its relationship with the state of (non)-equilibrium [16]. In our opinion, a new type of thermal analysis was born with the introduction of the “thermal-windowing deconvolution” experimental procedure (TWD), which apparently allows us to isolate, i.e., filter out one by one, the single elementary Debye peaks that constitute the global depolarization peaks during the heating stage (Figure 5).
The purpose of this review is to clarify the general description of TWD stated above, i.e., discuss and challenge the consensual understanding that a spectrum of elementary relaxation modes coexist in global TSD peaks and that the technique of TWD can deconvolute single Debye peaks from them. The challenge is to understand the compensation of the elementary relaxations, either the positive or negative compensations, and determine the meaning of the “interactive coupling” between these elementary relaxation motions extracted from global peaks. In other words, to simplify the true fundamental issue behind this research, is the deconvolution of global depolarization peaks into relaxation maps of compensating single Debye relaxations a sophisticated curve-fitting procedure or is it fundamentally revealing the dual-phase and dissipative nature of the interactions in polymers? In order to better position this issue, we need to briefly review some of the assumptions of the model of dual-split kinetics (EKNETICS) that serve as the foundation of our development of the dual-phase open dissipative system perspective ([7,10,11,12,13]).

1.2. Introduction to the Dual-Split Kinetic Model (EKNETICS)

It is not our intention to present here the details of our model of the physics of interactions in polymers. The interested reader can refer to an introduction of the dual-phase and cross-dual-phase models of polymer physics interactions in references [10,12,13,17,18]. We will limit ourselves in this text to presenting the general principles and fundamentals of the theory in order to define the statistical parameters dealt with in the EKNETICS set of equations. In our view, “dual-conformers”, the constituents of macromolecules, gather into statistical systems that go beyond belonging to individual macromolecules. A “conformer” is shown in Figure 13, duplicated from reference [19]. The macromolecules themselves represent a chain of “covalent conformers” put together as an entity. The problem is to determine whether the chain properties, derived from its statistics, entirely control the dynamics of the collection of chains making up a polymer. This is what has been assumed by all the other theories, and this is what the dual-split kinetics and the Grain-Field Statistics challenge.
In our view, the free energy of the collection of chains assembled as a polymer is not equal to the scaled-up free energy of a macromolecule embedded in a mean field created by the influence of the other macromolecules, at least not below the temperature TLL (see below), which itself is a function of the dynamics of the experiment and the chain characteristics. In fact, for many experimental conditions, depending on temperature and other factors, our model of polymer interactions does not require, in its hypotheses and derivations, a description of the changes that occur to the individual macromolecules. The dynamic statistical systems dealt with to determine the free energy and its structure (enthalpy and entropy) are not macromolecules in our approach. However, the fact that macromolecules compose the basic structure is essential, for instance, to understand the basis of our new dual-phase statistics and to explain “entanglements”, for which our model provides a completely different interpretation than the ones offered by the conventional spaghetti bowl or tube models [10]. A “covalent conformer” is not the same as a “free conformer” (Figure 13), such as a small molecule used as the monomer in the polymerization process. Its interaction with other conformers by covalent bonding modifies the conformational potential energy of a free conformer, and this governs the statistical properties of a “free chain”. Here, we are still “classical”, yet when dealing with a collection of chains put together, our approach differs from the classical one. Conformers belong to two types of sets: they belong to macromolecules, which link them via covalent forces, as we just said, or they belong to the grand ensemble of conformers, which are linked by inter–intra molecular forces; van der Waals forces; dipole–dipole forces; and electrostatic interactions, which affect and define the viscous medium. That duality is intrinsic to conformers, which we call “dual-conformers” to mark this specificity. The potential energy of a dual conformer is different from the potential energy of a conformer part of a free chain. To simplify, one could view the difference between our statistical model and the classical model to describe the properties of polymers as follows: according to classical views, statistical systems involve macromolecules, i.e., a network of chains; the properties of the chains are disturbed by the presence of other chains and by external conditions (temperature, stress tensor, electric field, etc.). The classical definition of a statistical system contrasts with our approach in which statistical systems involve “dual-conformers”, not macromolecules. The interactive coupling between dual-conformers is defined by a new field of statistics, the Grain-Field Statistics, which explores the correlation between the local conformational property of dual-conformers and their collective behavior as a dissipative network. In what follows, for simplicity, we will just call the dual-conformers “conformers”. Again to simplify, the statistics systems that are used by classical models and our model indicate that the rotational isomeric state (RIS) of the conformers are fundamentally different: The classical molecular dynamic statistics is the Boltzmann statistics, famous for its kinetic formulation of the properties of gases. The dual-split or dual-phase statistics, leading to the Grain-Field Statistics, is inspired by the classical Boltzmann concept but departs from it by defining a dissipative term in the equations and assuming that the free energy remains always equal to its minimum value, that of the equilibrium state, even for transient states. The kinetics created by such changes in the fundamental equations result in the formation of free energy structures, which we once called “the energetic kinetic dissipative network of conformers (EKNET)” ([20,21,22,23,24,25]), and more recently, while dealing with rheology, we changed it to “the elastic dissipative network” ([10,17]). In our analytical formulation of the dynamics of these “open dissipative systems of interactions” generated by our two modifications of the classical formula, we realized that, essentially, two mechanisms of structuration of the free energy prevail and compete, namely a “vertical structuring” and a “horizontal structuring”, each specifically applying its own version of the basic equations. This distinction increases the complexity of the analytical solution but is, in our opinion, a fundamental aspect of the way interactions work. Vertical structuring refers to a split of the units (collectively interacting in the system) into two compensating sub-systems having each a different statistical partition. The horizontal structuring offers a different split of the collective set via the generation of Ns identical sub-systems, each with the same statistical partition. Each split mechanism generates a dissipative function. The total dissipative function ought to be minimized (it is 0 at stable equilibrium), a condition that creates their compensation, i.e., whether they work independently, in sequence, or together. The set of equations used to simulate the dynamics of a given dissipative system belongs to the general solution designated “the Grain-Field theory”. By applying these general principles to polymers, specifically, we can now summarize our model in one sentence: We define a polymer as a set of “dual-conformers”, i.e., a set of three-bond elements belonging or not to the same macromolecule, submitted to intra–intermolecular forces described by an energy potential to which the equations of the Grain-Field Statistics theory apply. In this review, we only focus on the simplest simulation model, the vertical dual-split kinetics. References [18,25] provide examples of more complex dynamic simulations that we suggest can be applied to simulate many specific problems of polymer physics, including the action of a mechanical stress field on the interactions between the dual-conformer networks [13]. In this paper, we present the dual-split kinetic model in a way that makes its application to TSD and TWD results more transparent. Working by analogy, one will recognize some identical patterns of behavior between computer simulations and the real response of polymers using TSD and TWD stimulation techniques. The simulation is presented in a shortened and simplified way to concentrate on the meaning of the concepts that could be useful to the study of interactive coupling in the amorphous state, the subject of this review. However, further details of dual-split simulations (the effect of cooling/heating or annealing to simulate other viscous flow or thermal analysis results) can be found elsewhere ([10,11,12,13,18]). As we will show below, the dual-split dynamics depend on the value of three fundamental parameters, namely υm and Δm, which are independent of external actions such as stress or voltage, and Δe, which can vary with the application of external actions. Within the scope of this review, we limit ourselves to dynamic situations that simulate simple experiments after the system’s initial conditions have been imposed; these simulations imply that the value of Δe is predetermined by the effect of an electrical or mechanical field applied prior to the dynamic thermal stimulation. In the Section 2, we discuss how a thermal–electrical history procedure, such as the TWD characterization studied in this article, can be simulated by modifying Δe with the temperature of polarization, Tp, and the intensity of a voltage field. Once the value of Δe is set by these preconditions, the depolarization step of TWD can be simulated by returning to the equilibrium induced by heating at a constant rate in the equations of the dual-split kinetics.
However, first, let us describe the assumptions that led to the dual-split kinetic model, also called the EKTOR model (from the fusion of energetic and kinetic considerations) or the EKNETICS equations since the result is the formation of a self-induced network, the dissipative network.

1.2.1. Conventional Kinetics

The study of kinetics is a discipline that describes the evolution of the units of a population of, say, chemical molecules, which participate in chemical reactions. Another example would be to describe the evolution of units of a population that could occupy different “states”. Many other terms have been used to describe the same objective, for instance, “statistics”, or “dynamics”, as shown in the following definitions: the population partition that evolves with time can be studied with the tools of “statistics”, a transient statistics in fact, a field also regarded as “dynamics”. All these definitions are used in our presentation. The important thing here is to define the terms quantitatively.
Consider a simple dynamic process such as a first-order reversible kinetic equation between two states, t ↔ cg, controlled by an activated process with direct and reverse kinetic constants k1 and k2 and activation energy Δ1 and Δ2, respectively. One can write the following elementary set of kinetic and thermodynamic equations to describe the evolution of the system:
Bo= (nt + ncg)
Here, Bo is the total number of units in state energy levels t, cg.
ΔG = RT Ln(nt/ncg) is the Free energy of the system with

ΔGe = RT Ln(nte/ncge) = RT Ln (k2/k1) the equilibrium value
(the sub-index “e” corresponds to the equilibrium value). R is the gas constant.
dnt/dt = −k1 nt + k2 (Bo − nt)
dncg/dt = −k2 ncg + k1 (Bo − ncg)
with
k1 = υm exp(−Δ1/RT) and k2 = υm exp(−Δ2/RT)
where υm is the frequency front factor.
In the following, we call
Δe = (Δ1 − Δ2)/2 and Δm = (Δ1 + Δ2)/2
When the total number of units in the two levels, Bo, is constant, the statistics apply to a closed thermodynamic system. If the system is cooled at a constant cooling rate q = dT/dt, the now non-linear system of differential equations above can easily be solved (for instance, using a Runje–Kutta fifth-order algorithm) to produce a set of nt and ncg values at each temperature, which can be compared to those of equilibrium at the same temperature. This will determine the effective departure from equilibrium due to non-isothermal cooling. Notice in the equation that gives the free energy that the term Ln(nt/ncg) reflects the departure of the free energy from its equilibrium value, and nt, ncg values are determined by solving the kinetic set. Therefore, under non-isothermal conditions, the free energy plays a very subordinate role, and its magnitude is driven by the kinetic aspect.
For a classical set of kinetic equations, it is clear that the transient free energy is not at its minimum value, since the value of the minimum free energy at any given temperature is known to be the equilibrium value at that temperature: ΔGe = RT Ln(k2/k1).
When the system is brought out of equilibrium and then allowed to relax, the kinetic equations drive the system back to the equilibrium state, which implies that the value of the equilibrium free energy is implicit in the formulation of the kinetic constants. In fact, the ratio of the two kinetic constants is equal to the thermodynamic constant, a quantity that gives the partition function for the two energy levels at equilibrium: ΔGe = RT Ln(nte/ncge).
In conclusion, for classical kinetic equations under non-isothermal conditions for which the solution is driven by kinetic considerations only, the free energy of the system is not equal to its minimum equilibrium value.

1.2.2. Dual-Split Kinetics (EKNETICS)

Can we modify the set of equations driving the kinetics so the system’s free energy stays at its minimum value at all times? We call the solutions to this challenge “the EKNETICS equations”. The dual-split kinetic model, also called the EKTOR model, is the simplest EKNETICS set of rate equations fulfilling these conditions.
It is assumed that we can split each state cg and t into an f and b category, giving four states cgf, cgb, tf, and tb; the result is a dual partition, between cg and t units on the one hand and between the f and b units on the other hand. The two partition functions are coupled.
In what follows, we present the assumptions driving the new EKNETICS and study the difference between its results and the results obtained classically. The new equations converge to traditional kinetic equations at “long times”, which we will learn corresponds to either T > TLL or under “true” equilibrium conditions. Under non-isothermal conditions, the system becomes self-dissipative, i.e., for closed systems, its free energy remains equal to its equilibrium value but its Eknetics cross-dual partition evolves in time.
Structuring between the b and F Dual-Conformers
Suppose the total Bo population is split into two sets of units, Nb and Nf, with Nb(t) and Nf(t) transient or steady state. The total population (Nb + Nf) = Bo remains constant, and for this reason, the rate of change in Nb is equal to minus the rate of change in Nf. The kinetics of ntb and ncgb in the Nb sub-set are different from the kinetics of ntf and ncg in the Nf sub-set. We can define a marker of the split between these two sub-sets, Nb(t)/Nf(t), to follow the split situation:
Bo = Nb + Nf
Nb = (ntb + ncgb)
Nf = (ntf + ncgf)
It is clear that, under equilibrium conditions, Nbe = Nfe = Bo/2, and that the population of each level is ntbe, ncgbe, ntfe, and ncgfe, and of course
ntbe = ntfe
ncgbe = ncgfe
Ln(ntbe/ncgbe) = Ln(ntfe/ncgfe) = Ln(k2/k1)
The free energy is equal to:
0.5 RT Ln(ntbe/ncgbe) + 0.5 RT Ln(ntfe/ncgfe) = RT Ln(k2/k1) = 2 Δe
where R is the gas constant. In the equilibrium state, the two types of units become indistinguishable; only non-isothermal kinetics will populate them distinctively.
Dual-Split Kinetics (EKTOR EKNETICS)
Let us now consider the following modified system of equations, the “vertical dual-split statistics” system of equations, and comment on the assumptions made:
Nb = ntb + ncgb
Nf = ntf + ncgf
Bo = (Nb + Nf)
dntb/dt = (dNb/dt)/2 − k1 ntb + k2 (Nb − ntb)
dntf/dt = (dNf/dt)/2 − k1 ntf + k2 (Nf − ntf)
k1 = υm exp(−Δ1/T)
k2 = υm exp(−Δ2/T)
(the gas constant R is equated to 1 here and from now on.)
Ln (ntb/ncgb) + Ln (ntf/ncgf) + Ln (Nb/Nf) = 2 Ln (k2/k1) = 4Δe/T
q = dT/dt (under isothermal relaxation q = 0)
Note the presence of an additional term, Ln (Nb/Nf), in the expression of the free energy. This function is what we designate the “dissipative term”. Its introduction is fundamental in our work on interactions; it is the source of the originality of the new statistics and results in the study of a new generation of dynamics open self-dissipative systems. At equilibrium, Nbe = Nfe = (Bo/2), and therefore Ln(Nb/Nf) is equal to zero.
Additionally, in Equation (7), note another important modification of the original kinetic equations, which now includes an extra term: (dNb/dt)/2 for b-conformers and (dNf/dt)/2 for F-conformers. The introduction of this term is to make the different rates consistent with the belonging of the units into one single closed system. Hence, the presence of this term is not an assumption: it is a requirement.
When Bo is constant in Equation (7), for closed systems, (dNf/dt)/2 = −(dNb/dt)/2.
There is no assumption in Equations (6)–(8) regarding the variation in dNb/dt and its temperature dependence: the solutions come directly from Equations (6)–(8), as illustrated in Figure 15, which is discussed in the next section. The coupling between energetic and kinetic constraints driving the new kinetic model is now apparent: the solutions for ntb, ncgb, ntf, ncgf, and Nb are not obtained from a simple kinetic assumption (the expression of the kinetic constants and the proportionality between rate and population concentration). There is a real coupling between the free energy constraint and the kinetic constraints. The condition regarding energy is nothing other than a minimal principle since it is assumed that the free energy remains that of the equilibrium state at the corresponding temperature. In conventional kinetics, a system always evolves toward its minimum free energy, and therefore the minimum value is given by the equilibrium value. In dual-split kinetics, the free energy remains equal to its equilibrium value when it evolves, which is a fundamental new assumption.

1.3. Examples of Simulation of the Dual-Split Kinetic Equations (6)–(8)

The solution of Equations (6)–(8) is obtained by solving the system of equations numerically, using a fifth-order Runje–Kutta algorithm.

1.3.1. Cooling Simulation

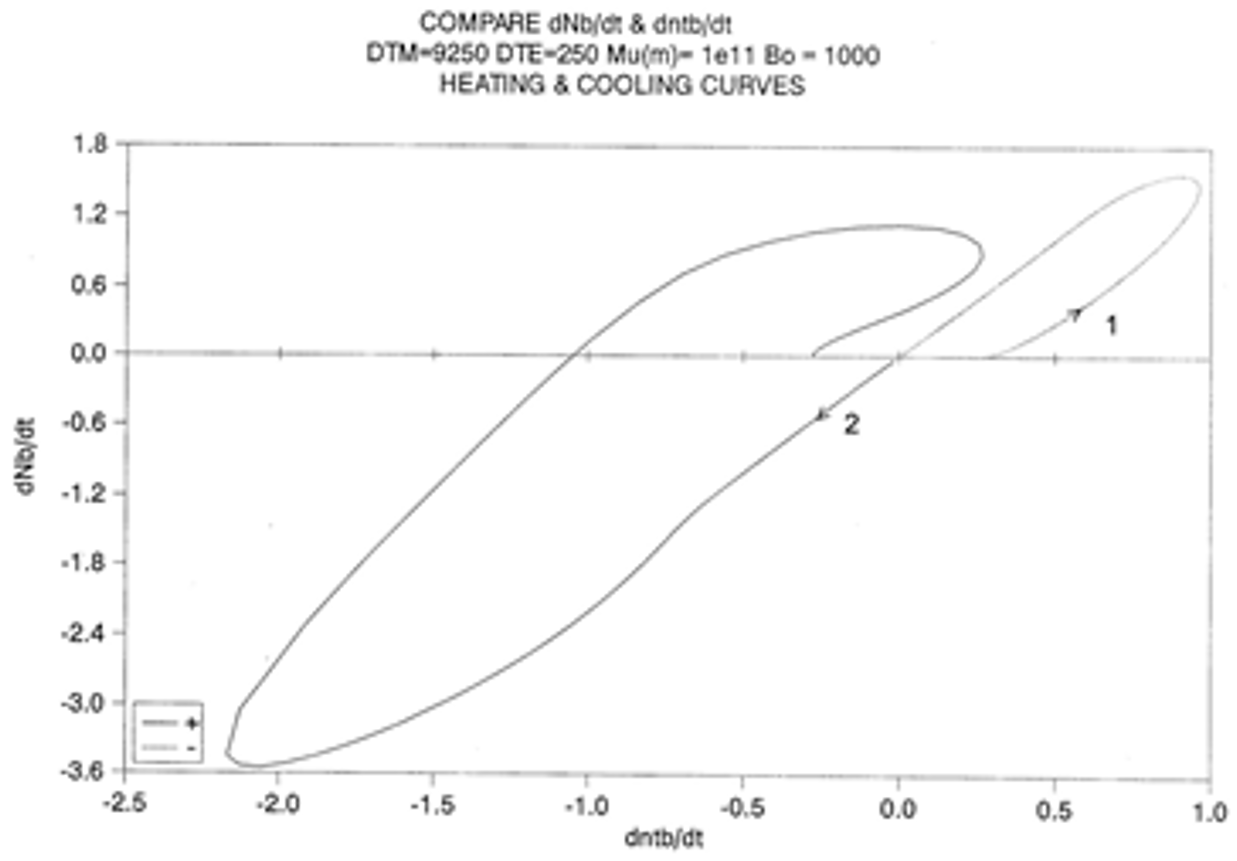
Let us consider a system of Bo = 1000 units, with statistics corresponding to the following parameters: Δe = 250, Δm = 9250, and υm = 1011. Recall that Δm is equal to (Δ1 + Δ2)/2, and Δe is equal to (Δ1 − Δ2)/2. The system cools at a rate of q = −1 degree Kelvin per second from an initial temperature of To= 400. The system is assumed to be initially at equilibrium at that temperature, so Nb = Nf = Bo/2.
In Figure 14, the rate of change in Nb and dNb/dt is plotted against the cooling temperature. The rate does not remain equal to zero: the rate increases rapidly at first, goes through a maximum, and decreases back to zero at lower temperatures. Figure 15 shows the variation in the dissipative term, Ln (Nb/Nf), which rises from its equilibrium value (0) to a plateau value at a lower temperature. This figure clearly demonstrates that the minimal principle of the free energy implies a structuring of the b/F population as the non-equilibrium triggered by cooling proceeds: cooling favors the production of b-conformers. Conventional kinetics (Equations (1)–(3)) also creates non-equilibrium values for the cg and t populations, but the interactive coupling between the b/F kinetics and the (c,g,t) kinetics in Equations (6)–(8) generates significant large differences. The differences between the conventional kinetics (“classical”) and the dual-split kinetics (EKNETICS) are illustrated in Figure 16, Figure 17 and Figure 18.
Figure 16 is a plot of nt and ntb vs. Temperature, respectively, for a system of Bo = 1000 conformers either submitted to the conditions of Equations (1)–(3), for classical kinetics, or to Equations (6)–(8) for dual-split-kinetics (“DSK”=EKNETICS in Figure 16). The values of Δm, υm, and Δe are the same for both simulations, given in the captions of Figure 14 and Figure 15. The cooling rate is also the same; q = −1 K/s. nt reaches a non-equilibrium plateau at the low temperature of 458.3, which is 22% lower than the plateau value of ntb (Figure 16), or 45% lower than the total plateau number of trans-conformers (ntb + ntf) shown in Figure 17. The modulated effect of dNb/dt on the dynamics of ntb, ntf, ncgb, and ncgf is quite significant.
In Figure 17, both ntb and ntf are plotted vs. T (ntb is the top curve). One sees that the increase in the trans-conformers is only favored in the b state but actually decreases in the free volume interfacial tissue, i.e., in the F state. The variation in ntF (the lower curve of Figure 17) suggests that the flexed conformations, the cis-gauche, are favored by the cooling process for the free volume conformers. As a result, the total trans-population, (ntb + ntF), although we said is much larger than what classical kinetics could produce, plateaus at a low temperature to a value that is only greater by 12% over the equilibrium value at To = 400.
The difference between the transient behavior for the ntb and the ncgb conformers during cooling is shown in Figure 18. From T = 400 down to 320, ncgb decreases, while ntb rises toward a plateau; then, as T continues to decrease, ncgb rises slightly toward its own frozen plateau value. The sum (ntb + ncgb), which is equal to the total of b-conformers, increases and plateaus off to 685, which is 49.6% greater than the corresponding value obtained assuming classical kinetics (nt + ncg). Figure 17 and Figure 18 provide and compare the populations in various “levels’ and demonstrate that the kinetics of (cg ↔ t) is coupled and modulated by the kinetics of (b ↔ F) and vice versa.
In summary, the coupling of pure kinetic considerations with a minimal principle, resulting in the splitting of Bo into the b and F sub-sets, has a considerable effect on the kinetics of the transient dynamics and the non-equilibrium values obtained at low temperatures (by analogy with a glass, corresponding to the glassy state values). The b and F sub-systems are conjugated open dissipative systems because their individual total number of units is not a close set; it varies with time. Only the number of units of the overall system, Bo, is closed. This dual-split kinetic mode, the vertical structuring mode, gives rise to self-dissipative effects, quantified by the dissipative parameter, Ln(Nb/Nf), which transcribes the departure from a pure equilibrium state. The minimum principle of free energy establishes the value of free energy at all times as that of equilibrium, yet pure equilibrium is obtained when the statistics of the populations are also at equilibrium.
Grain-Field Statistics is the study of all the possible ways that interactions could be organized to minimize the value of the dissipative factor. This gives rise to the concept of a dissipative wave and the finding of other compensating modes of structuration such as the horizontal structuring mode.
The energy equation, Equation (8), breaks down the total value at equilibrium, (4Δe/T), into three components, namely Ib, If, and Ids, which are defined in Equation (9), and all are found to vary with time, as shown in Figure 19.
Ib = Ln (ntb/ncgb)
If = Ln (ntf/ncgf)
Ids = Ln (Nb/Nf)
Figure 19, illustrating a plot of these functions vs. 1000/T, shows that, during cooling, If and Ib depart quickly from each other and the equilibrium condition value (at the left of the plot) when the dissipative term, Ids, sharply takes off after remaining zero until a certain temperature is reached (thus defining the equivalent of the TLL temperature for the simulation—see the Section 3).
One also sees that, when plotted against 1/T, both Ib and Ids seem to rapidly level off and stay constant at lower temperatures, whereas If takes most of the value of the total energy and varies almost linearly with 1/T, continuing the high-temperature equilibrium trend.

1.3.2. Effect of the Cooling Rate on the Dynamics

The effect of the cooling rate on the kinetic rate of dNb/dt and the “glassy” value of Nb(t) found at low T are shown for three cooling rates (q = −1, −10, −100 K/s) in Figure 20 and Figure 21.
In summary, the cooling rate, which is responsible for bringing the system out of equilibrium in the first place, modifies the kinetic and energy structuring, allowing dissipative effects to take place at higher temperatures. By analogy, the same situation is observed for the glassification process from the liquid state across the glass transition temperature of materials.
Figure 20. Variation in dNb/dT vs. T(K) during cooling. Effect of the cooling rate. Reproduced with permission from [4], SLP Press, 1993.
Figure 20. Variation in dNb/dT vs. T(K) during cooling. Effect of the cooling rate. Reproduced with permission from [4], SLP Press, 1993.
Polymers 17 00239 g020
Figure 21. Variation in Nb vs. T(K) during cooling. Effect of the cooling rate. Reproduced with permission from [4], SLP Press, 1993.
Figure 21. Variation in Nb vs. T(K) during cooling. Effect of the cooling rate. Reproduced with permission from [4], SLP Press, 1993.
Polymers 17 00239 g021

1.3.3. Heating at Constant Rate

Figure 22, Figure 23 and Figure 24 provide plots of non-isothermal returns to equilibrium and a comparison of the kinetic paths obtained during cooling and heating. In Figure 22, the system is first cooled at a constant rate (−1 K/s) until a temperature of 100 is reached. Taking the system variables at that temperature as initial conditions, the rate is reversed and one records the variation in Nb with temperature (Figure 22), ntb (Figure 23), and their derivative (Figure 24). It is clear that Nb behaves like ntb, but is modulated, and one observes the classical undershoot on heating, which is common to dynamic kinetic systems studied by thermal analysis (DSC traces for instance [26]).
It is difficult to decide whether the kinetics of Nb “drags” the kinetics of ntb or vice versa. It is probably more appropriate to say that the two are interactively coupled in some recursive fashion and that this coupling is a feature that describes the properties of a self-dissipative system (see the next section on annealing).
Figure 24 is a “phase plot” of dNb/dt vs. dntb/dt. In this plot, we compare the cooling and heating cycles. Cooling corresponds to the loop on the right end side of the plot (designated by “1”). The small upward arrow follows the cooling pattern. In the first section of this loop, the plot is non-linear, due to the strong influence of the kinetic equation, namely Equation (7), since the kinetic constants are not frozen in this temperature range. Additionally, notice the value of dntb/dt at time t = 0: it does not seem to be zero. The initial system is, however, at equilibrium (dntb/dt = 0), but it instantaneously jumps to the value 0.25, and as a result, the other values seem to emerge from this state. Once the top of the loop is passed, the two derivatives are proportional to one another: the energetic constraint, Equation (8) now dominates the overall kinetics. Both rates converge towards zero as temperature decreases.
Let us now turn to the heating loop on the left of the plot (designated as “2”). The small downward arrow follows the heating path this time. The system starts to relax right away, with dNb/dt considered proportional to dntb/dt. The system starts to imitate the process previously described for the cooling path but in reverse. Actually, there is a large difference with the cooling path: the loop is much larger, with almost double the magnitude for the maximum rates, as if the process was self-accelerating. The system finally undershoots, probably due to the excess of “speed” on its return to equilibrium, and closes in on a positive loop, which also exhibits a characteristic asymmetry with the cooling loop. We stipulate that this behavior is typical of a self-dissipative system.

1.3.4. Isothermal Return to Equilibrium (Annealing)

This simulation consists of letting the system relax at a given temperature and studying the kinetics of return to equilibrium. The initial state is taken from the cooling path (cooling rate −1 K/s for all curves), and the system is allowed to relax according to the same set of Equations (5)–(7), except that q = dT/dt is now zero. Figure 25 shows the variation in Nb(t) with time for two temperatures of isothermal relaxation, namely T1 = 313.90 K and T2 = 305.51 K. The figure demonstrates that Nb decreases back to the equilibrium value of Bo/2 in a “kinetically controlled” manner: the rate of change in Nb is dependent on the temperature of isothermal relaxation. Since there is no specific kinetic assumption regarding the variation in Nb, its temperature dependence should reveal the nature of the intercoupling between the kinetic and energetic constraints. Figure 26 and Figure 27 cast some light on this issue.
The decay of Nb(t) in Figure 25 looks exponential, and therefore, the first equation we try to fit the data with is a first-order kinetic expression of the form, which is expressed as follows:
dNb/dt = kx(1) Nb – kx(2) Nf
where kx(1) and kx(2) are kinetic constants. Equation (9) can be rewritten to graphically test its validity, so Figure 26 plots [(dNb)/dt]/Nb vs. (Bo – Nb)/Nb, since Bo = (Nb + Nf); one sees that, for these two temperatures, Equation (10) is only valid as we approach equilibrium, i.e., as dNb/dt tends toward zero. In the near equilibrium zone (98% to 100%), we find that the first-order fit is excellent with kx(1) = kx(2) = 0.009737 for T = 305.90 and 0.0216275 for T = 313.90. The fit gets non-linear below 96%, as clearly observed in the figure and explained elsewhere [27].
Figure 26. Kinetics study of Nb(t) on annealing at two temperatures (T1 = 313.90 K, T2 = 305.51 K). Reproduced with permission from [4], SLP Press, 1993.
Figure 26. Kinetics study of Nb(t) on annealing at two temperatures (T1 = 313.90 K, T2 = 305.51 K). Reproduced with permission from [4], SLP Press, 1993.
Polymers 17 00239 g026
Figure 27 illustrates the return to equilibrium for ntb at the temperature T1= 313.90. The graph is also not linear, showing non-linear kinetics. As we lower the temperature of relaxation, the non-linearity becomes predominant. However, let us turn our attention to the region where a first-order kinetic applies well to the description of the variation in Nb(t). The situation is favorable as the temperature of relaxation is raised, or as we study systems with smaller Δe values.
Figure 27. Study of ntb kinetics Δe = 250, Δm = 9250, υm = 1011. Annealing at T = 313.896 K. Reproduced with permission from [4], SLP Press, 1993.
Figure 27. Study of ntb kinetics Δe = 250, Δm = 9250, υm = 1011. Annealing at T = 313.896 K. Reproduced with permission from [4], SLP Press, 1993.
Polymers 17 00239 g027
Let us call kx the value of the kinetic constant found from a plot of Nb versus dNb/dt (Figure 28) when (dNb/dt) → 0. kx is the dual-split kinetics constant, equal to kx(1) and kx(2) of Equation (10):
(Nb – Bo/2) = −[1/(2kx)] dNb/dt
Figure 28. Arrhenius plot of Ln(kx) vs. 1000/T. Δm = 9250, υm = 1011, Δe = 300. Reproduced with permission from [4], SLP Press, 1993.
Figure 28. Arrhenius plot of Ln(kx) vs. 1000/T. Δm = 9250, υm = 1011, Δe = 300. Reproduced with permission from [4], SLP Press, 1993.
Polymers 17 00239 g028
By varying the temperature of relaxation and curve-fitting the Nb vs. dNb/dt plots, as dNb/dt → 0, we calculate kx at several temperatures. Figure 28 is a plot of Ln(kx) versus 1000/T to attempt to fit the temperature dependence of kx by an Arrhenius equation. The plot is linear with an activation energy ∆x and a frequency front factor υx respectively equal to 9048.2, and 7.815 1010 (r2 = 0.99999).
One can write the following:
dNb/dt = kx (Bo − 2Nb) = υx exp (−Δx/T) (Bo − 2Nb)
The (vertical) dual-split kinetic model produces the structuring of the total population of conformers which, as a result of non-equilibrium cooling, kinetically behaves like a rate process with activation energy and the frequency front factor easily derivable but different from the kinetic parameters of the main statistics. Note that υx and Δx are not equal to the parameters of the kinetic constants, either υm or Δm. It is interesting that the frequency front factor is found different from the main kinetics’ υm. The coupling between kinetic and energetic constraints literally generates a cross-dynamic partition: the “dissipative partition” between F and b varies in a kinetically controlled manner, just as the kinetics between cg and t, albeit with a different set of kinetic constants. The auto-catalytic effect observed for the kinetics is due to the self-generated split of the conformers into the b and F types. A thermally activated transition between a “t” and “cg” conformation, described by Δm, υm, and Δe, cannot occur without a change in the F and b populations, and the statistics b/F is itself thermally activated with an activation energy (Δx) and a frequency front factor (υx) generated by and coupled to the activation energy (Δm) and the frequency front factor (υm) that characterize the t ↔ cg conformational transition. This self-induced dissipative duality defines and describes the duality characteristics of dual-conformers submitted to coupled intra- and intermolecular interactions. This is the reason we have called our model of interaction “dual phase”: one “phase” is symbolized by Δm and υm and the other “phase” by Δx and υx.
When this (vertical) dual-split statistics is applied to real-time-dependent relaxation phenomena (say the relaxation of dipoles below or above the glass transition temperature of polymeric materials), the question to raise is whether the kinetic response observed corresponds to the “Δm, υm” kinetics, from which one can derive the dual-split kinetics parameters, or the “by-product” kinetics (Δx and υx), which seems to be a self-created image of the inner mechanism, or to a combination of both. In other words, are we dealing with the F ↔ b kinetics, the t ↔ cg kinetics, or both? If what we measure is υx and Δx, then we need to find a correlation between these variables to obtain the real kinetic constants υm and Δm. The search for this correlation is essentially the objective of the Section 3 of this review. In the Section 3, we show that a change in the value of Δe while keeping υm and Δm constant results in the compensation between the corresponding variation in Δx and ln(υx) (see Figure 63). This compensation means that the Ln(kx) vs. 1/T Arrhenius lines compensate when Δe varies. This situation is similar to the compensation of the −log τo vs. 1/T lines in the Arrhenius plane when Tp varies.
As explained in Section 3.2, this is a key result for the comprehension of interactive coupling between the conformers and the use of the compensation phenomenon to characterize it by TWD. Many classically incomprehensible features described in Section 2.2, such as the differences between the positive and negative compensations across Tg (Figure 11 and Figure 53) or the existence of a converging network of super-compensation lines in the relaxation maps of mechanically treated amorphous samples (PS), submitted to vibration during their cooling from the melt (Figure 45, Figure 46 and Figure 47), can be qualitatively understood from the normalized plots of (Ln(υx) – Ln(υm)) vs. (ΔHx − ΔHm) obtained at various values of Δe, as illustrated in Figure 66 and Figure 67, for instance. In summary, simple relationships between Lnυx, Δx, and Δe exist, which are revealed by varying Δe in Equations (6)–(8). The vertical splitting kinetics is, on its own, powerful enough to simulate the effect of activating the dipoles (permanent and/or induced) at the polarizing temperature Tp and observing its thermally activated depolarization as a Debye current.

2. Development

2.1. The Electrical or Internal Motion Nature of TSD Peaks

It should be clear from the Introduction section that the sample to be tested in a TSD instrument is a dielectric capacitor charged by the application of a voltage at a high temperature and then quenched to freeze the charges. The polarization stage consists, therefore, of producing a thermal electret. The depolarization stage, which is induced by thermal energy as temperature ramps up at a given rate, occurs by shorting the sample using an electrometer. The electrometer is nothing more than a current amplifier of exceptional characteristics capable of detecting infinitesimal current discharge. Recent advances in metal–oxide–silicon (MOS) field-effect transistors (FETs) and the development of bipolar FETs and MOS operational amplifiers have enabled the detection of ultralow current (down to 10−17 Amp). The electrometer in a TSD/TWD instrument is so sensitive that it measures currents one million times smaller than those measured in tunneling microscopes. Dipolar, ionic, and space charges create the thermally stimulated current output. As already described in Figure 1, the process involves two steps: the polarization stage and the depolarization stage. In the polarization stage, the power supply (battery) charges up the capacitor, creating a current of polarization Ip. The thermally stimulated discharge of the charges results in current, Id, in the depolarization stage, flowing in the sensitive electrometer. The effect of the voltage field is to stretch and/or orient the dipoles (either molecular or ionic), distort the orbitals of the atoms, and create new charges either at interfaces between heterogeneous surfaces or at internal local places of micro-density differences, for instance, in the F spaces around the b-grain structures in the dual-phase model (Figure 22 of ref. [12] or Figure 1.8 in ref. [10]). The current measured in the electrometer is the total of all contributions; space charge, and dipolar relaxations combined (Figure 29). When there is no good contact between the electrode and the polymer, the accumulation of surface charges at their point of contact may occur, resulting in a negative current peak just after Tg or interfering with it (Figure 2.3 of [5]). The negative peak can be eliminated by applying a small pressure to the surface of contact, by changing the metal of the electrode of the same Figure above), by performing vacuum deposition of thin-film metallic layers, or simply by using silver lacquer to paint both surfaces of the sample and suspending it with thin copper wires between the electrodes.
The temperature of polarization is −40 °C, kept for 1.5 min under a field of 200 V/mm. The peak at −75 °C represents Tg for the butadiene phase. It is important to emphasize that the choice of the temperature of polarization Tp determines the focus of molecular or relaxational motion. For instance, the Tg of the styrene phase is around 80 °C; if we polarize at −40 °C, we will not be able to excite, orient, or polarize the styrene dipoles. However, that temperature of polarization activates the butadiene dipoles, and through this selective polarization, we are capable of focusing on that Tg transition. Polarizing closer to the peak maximum, say between −95 °C and −60 °C, would enhance the peak intensity even further. TSD allows the user to zoom in on a given transition “by putting his finger on it”, so to speak, i.e., by adjusting the temperature of polarization.
Figure 29. TSD depolarization curve obtained for ABS polarized at −40 °C (arrow) for 1.5 min under 200 V/mm of sample thickness. This illustration is the output curve of the TSC/RMA spectrometer by Solomat Instrument (1989). Reproduced with permission from [4], SLP Press, 1993.
Figure 29. TSD depolarization curve obtained for ABS polarized at −40 °C (arrow) for 1.5 min under 200 V/mm of sample thickness. This illustration is the output curve of the TSC/RMA spectrometer by Solomat Instrument (1989). Reproduced with permission from [4], SLP Press, 1993.
Polymers 17 00239 g029

2.2. The TSD Manifestation of Tg, the Tg,ρ Peak, and of TLL

Some peaks of the TSD outputs are caused by the motion of the dipoles at characteristic transitions in the material, such as its Tg. Some other peaks are due to the interactions between the fundamental morphological structure of the amorphous phase (and b-grains surrounded by F-conformers in the dual-phase model) and the electrical field, creating Wagner charges in F micro-voids. Figure 30 is a typical TSD curve for polyethylene terephthalate (PET). Two peaks are clearly visible, which we call Tg and Tg,ρ. The two peaks are separated by about 50 °C in this figure, and the intensity of the higher peak, Tg,ρ, is higher than the intensity of the first peak, Tg. Figure 31 displays the TSD curve for polycarbonate (PC), showing that Tg,ρ is only 16 °C above the Tg peak.
The value of Tg,ρ observed by TSD is designated differently by various authors: Lacabanne and Boyer designate this as the TLL peak [28] and associate its existence with the local order. Vanderschueren, Van Turnout, and other authors call it Tρ [2,3,29,30] and speculate that it originates from the discharge of space charges delocalized in the structure. Extensive studies have shown that the relative intensity of the Tg and Tg,ρ peaks, as well as their respective position, depends on the thermal and mechanical history of the polymer, in particular physical aging. The magnitude of the Tg,ρ peak is also a function of the voltage field, increasing first and then leveling off as the voltage increases. The presence of the Tg,ρ peak is universal in the characterization of polymers by TSD. We found that peak just above Tg for all the polymers tested: from paints to thermoplastics, from thermosets to rubbers, and for non-polar plastics as well as polar ones. This peak is apparently absent in the characterization of the same polymers by dynamic mechanical analysis (DMA) or DEA. It is stipulated here that differential scanning calorimetry (DSC) experiments can show Tg,ρ under special cooling and processing conditions, which enhance its manifestation (see subsequent sections). The position of Tg,ρ with respect to Tg depends, to a large extent, on the choice of the polarization temperature Tp, which enhances the respective magnitude and the resolution of the peaks by the effect of polarization selectivity mentioned in the previous section. Thus, it is not uncommon to observe the Tg and Tg,ρ peaks merge into a broad intense peak for certain polarization temperatures, complicating their fine analysis. The transition TLL is also found by TSD, but it is located at a higher temperature, and it should not be confused with Tg,ρ. In some instances, the mechanical history of the specimen and the temperature of polarization are such that Tg,ρ and TLL merge or overlap, making the analysis even more complicated (Figure 32). Fortunately, the thermal-windowing process normally allows for a good separation of all the peaks, which can be isolated and deconvoluted individually. The only drawback with thermal-windowing at temperatures of polarization above Tg is that it modifies and partially erases the kinetic effects, which are responsible for the relaxations under investigation. In other words, the manifestation of both TLL and Tg,ρ is favored by thermal history treatments, which bring the specimen far out of equilibrium, but this is quickly erased by annealing above Tg, which occurs when the sample in the TSD cell is brought up to the polarization temperature. In Figure 32, the 2 mm thick polystyrene specimen is compression-molded while rapidly cooled to room temperature. A platen pressure of 226 bars is applied at 122 °C prior to and during cooling. The polarization temperature is 115 °C. Three peaks are clearly visible: Tg at 97 °C, Tg,ρ at 112 °C, and TLL at 150 °C.
The intensity of the Tg,ρ peak is enhanced by fast cooling or any other thermo-mechanical process, which creates a state of non-equilibrium in the polymer. The intensity of Tg,ρ decreases with annealing time, as demonstrated in Figure 33. In this figure, PC is subjected to a compression molding treatment involving mechanical vibrations as it is being cooled. This type of treatment is called rheomolding and is described elsewhere [8,9]. In the TSD experiments shown in Figure 33, a rheomolded PC is rerun three times in a row without changing the specimen. The same polarization conditions are used each time. Each run partially erases the initial thermal history of the specimen. We focus on the intensity and position of the Tg and Tg,ρ peaks. The first trace (first polarization) displays a very intense Tg,ρ peak relative to the Tg peak, but the intensity of this peak rapidly decreases for traces 2 and 3, as the initial state of PC returns to more traditional non-equilibrium conditions (cooling in the TSD cell, although rather fast, is no match to the severe cooling conditions imposed by rheomolding). It is interesting to observe that as the intensity of Tg,ρ decreases, the intensity of the Tg peak increases, in a kind of complementary manner. The position of the Tg and Tg,ρ peaks also changes in a reverse way: as Tg maximum increases slightly, Tg,ρ decreases, giving the impression of fusion of the two peaks.
The understanding of the existence of Tg,ρ and TLL is offered in the Discussion section (Section 3.1). As far as we are concerned, the Tg,ρ peak is real, with a high value, often stronger than Tg, and located a few degrees after Tg. In this section, which deals with the applications of TSD, it is important to introduce the existence of peaks Tg, Tg,ρ, and TLL and suggest that their presence is universal in the context of the TSD characterization technique. It is not essential, however, to speculate about their origin. Let us just mention that Part I, Chapter 3, suggests a common kinetic origin to Tg, Tg,ρ, and TLL, and even to Tβ. The apparent complexity of the relaxation behavior arises for two reasons: Even if Tg and Tg,ρ are kinetically related, their dielectric origin is different because the effect of the voltage field on the kinetic units responsible for their respective relaxation is different. In the case of Tg, the dipole moment’s relaxation is associated with a molecular dipole but probably not so for Tg,ρ. The electric moment for Tg,ρ seems to be associated with ionic dipoles or perhaps space charges. There is much evidence to confirm that the Tg,ρ peak is related to the “free volume” in the sample, which suggests that either local unstable ionic dipoles or space charges get trapped in the free volume of the polymer under the influence of the voltage field and relax at Tg,ρ. More details are provided in Section 3.1 of the Discussion where the “free volume” is defined in the morphology in terms of statistical units of the polymer chains. The difference between the characteristics of Tg,ρ and TLL is definitive: Hydrostatic pressure lowers the value of Tg,ρ and increases the value of TLL. This is shown for Tg,ρ in Figure 8 of the Section 1. In this figure, polystyrene samples are prepared by compression molding under various conditions. In the top graph, a relaxed specimen is cooled under no mechanical stress at a very slow cooling rate. The Arrhenius transform of the Tg,ρ peak is shown at the extreme right of the graph; it is curved and can be fitted with a WLF type of equation, providing the free volume thermal expansion coefficient above Tg, and the temperature of infinite viscosity (the values found match viscosity data well). In the middle graph, corresponding to the “pressurized” specimen, the WLF curve is shifted toward a lower temperature. Another thermo-mechanical treatment is shown in the bottom graph. Figure 34 displays the Arrhenius transforms of the Tg,ρ peak for several processing conditions: static pressure, rheomolding treatment, oriented sample, and relaxed polystyrene.
The relaxation mode obeys a free volume criterion for all conditions, but the content of the free volume and the mobility at a given temperature, given by the horizontal position of the WLF curve, are strong functions of the state of the polymer due to processing conditions. In some instances, the Tg,ρ peak is broad and contains a combined effect of molecular dipoles and free volume relaxations (Figure 35). In such cases, the thermal-windowing around the Tg,ρ peak produces several relaxation modes (Figure 8, bottom curve), and sometimes one or two additional compensations are observed in the (T > Tg) region up to TLL.
We consider TLL as the temperature, on heating, marking the end of a certain type of relaxation behavior due to cooperative kinetic interactions. Whether or not it actually corresponds to a TSD peak is irrelevant to our definition. For instance, we mentioned that TLL shows up in Figure 32 as a peak at 150 °C. It might be more appropriate to categorize this peak as one of the kinetic manifestations resulting from the cooperative kinetic process already giving rise to Tβ, Tg, and Tg,ρ. In Part I, Chapter 3, as well as in references [25,31,32], it is suggested that the mechanism of relaxation is due to the coherence between the collective behavior defining the statistical ensemble and the local existence of dual phases (the b and F phases), which describes the interactive coupling between the conformers belonging to the macromolecules modulating both the sub-Tg and the (T > Tg) kinetics. In that regard, TLL is probably more at 175 °C than 150 °C in Figure 32, and the peak at 150 °C should be considered as a manifestation of the modulation by the network (collective) of b/F interactions occurring in the phase richer in free volume and responsible for the Tg,ρ relaxation manifestation. This point is further illustrated in Figure 36.
In this figure, we plot the variation in Tg,ρ with Tp, Tg,ρ being considered the “first” peak observed above Tg. When a second peak appears, which we call T′g,ρ, we indicate its temperature on this graph with square dots. One sees that Tg,ρ increases slowly and linearly with Tp (the slope is much less than 1), at least until Tp = 145 °C, a temperature at which Tg,ρ rises quickly to a maximum. The first split of Tg,ρ into two peaks occurs for Tp = 165 °C, and the second split occurs for 180 °C. In the case of a split, the temperatures of the two peaks are located on both sides of the “expected” Tg,ρ extrapolated from the lower values. The departure from the baseline at 145 °C reveals the kinetic presence of the network modulating collectively the interactions [7]. Beyond Tp = 170 °C, the modulation by the elastic dissipative network of the inter–intramolecular interactions between the various dipoles is over. TLL would be 170 °C, according to our definition.
In Figure 37, the DSC trace for a rheomolded polystyrene showing cooperative relaxation above Tg is compared with a reference trace (obtained by cooling the same sample in the DSC cell after the first run). The difference between the heat flow of the two curves is significant just above the Tg peak, and until the TLL temperature is reached. The thermal history of the rheomolded sample, revealed during the first run, creates a thermal activity above Tg clearly similar to what is observed by TSD (Figure 35). The thermal history is erased as the sample is heated in the DSC cell, and both the reference and rheomolded DSC traces are identical above TLL. We consider Figure 37 as an important illustration of the existence of Tg,ρ and TLL using DSC. However, the sample needs to be severely out of equilibrium in order to reveal by DSC the Tg,ρ and TLL transitions as clearly as in Figure 37. TSD, which works at a very low-frequency equivalent (Part II, Chapter 1, [5]), is capable of resolving the Tg/Tg,ρ kinetic presence with far higher resolution and sensitivity (note how thermal history of the rheomolded PC of Figure 33 is still revealed after the successive runs). The thermal analyst should be gratified: the Tg,ρ peak gives us a new parameter to characterize polymers. It varies with the processing conditions and thus can be used to characterize the effect of processing variables (pressure, orientation, and thermal history); it is often stronger than Tg and exists for non-polar materials when the free volume can be trapped with charges. It is perhaps the only peak that one can observe to characterize thick non-polar polymers. In that case, the “Tg” value obtained is possibly a Tg,ρ value several degrees higher than what would have been expected from a DSC comparison (the TSD Tg peak matches the Tg obtained in a DSC experiment at a 20 °C/min heating rate well).

2.3. Super-Compensations Observed in the Amorphous State of Single-Phase Amorphous Samples

The objective is to explore the complexity of the phenomenon of compensation to better understand its origin. In the case of a multi-phase system, such as a segregated blend or block copolymers, the relaxation map displays multi-compensations, each associated with the Tg of the corresponding phase. In the case of crystallizable polymers or liquid crystal polymers, multi-compensations are often visible both below and above the glass transition temperature of the polymer. All these apparent complexities are expected because of the presence of multiple phases in the material. Figure 38 and Figure 39 illustrate, respectively, what is expected for the compensation search to look like for, a two-phase amorphous polymer (blend or copolymer) and a single-phase amorphous homopolymer such as polystyrene. In the case of a homopolymer (Figure 39), only one Tg is observed. The compensation search leads to a single pair of compensation lines, one positive and one negative. The presence of two phases in the morphology is clearly revealed by two Tg s and thus two pairs of compensation lines (Figure 38). A comparison of the respective position of the compensation lines for the homopolymer and the block copolymer leads to a better understanding of the segregation characteristics between the phases and, in particular, the degree of interpenetration and local compatibility (Part II, Chapter 4, [5]). It is clear that, in this case, there is a direct relationship between the number of compensation lines and the number of phases in the morphology.
It will be shown in this section (e.g., Figure 55) that, for a true monophasic amorphous polymer (in this case, polystyrene), not only is it possible to observe several compensations but also to vary the number of compensations depending on the thermo-mechanical history: the processing variables, the cooling rate, the amount of pressure, vibration [33], orientation, etc. This unexpected complex behavior has remained controversial: Lacabanne and Bernes [34] have suggested that the several compensation points observed for polystyrene (and polycarbonate) were due to the presence of several amorphous phases, the indication of “local ordering”. Furthermore, these authors suggested that TLL was the melting transition of these local micro-ordered structures [35,36,37,38]. In this Section 2.3, we describe the multi-compensations in monophasic amorphous systems giving rise to super-compensations, and in D3, we propose an alternative explanation for the existence of super-compensations and of TLL based on the dual-phase model of the dissipative interactions.
Figure 40 is a relaxation map in the “Eyring plane” (defined in A1) for a polystyrene disk (Tg~100 °C) very slowly cooled from 180 °C to 50 °C in a platen pressure mold with virtually no pressure applied on the specimen during the cooling stage. The mold is cooled very slowly by “Newtonian cooling”, i.e., by shutting off the power to the heater cartridges after thermal equilibrium is reached at 180 °C and letting it cool by itself, without the use of cooling fluids in the cooling channels of the mold halves. This procedure resulted in very slow cooling: it took approximately 7 h to cool the mold down to 50 °C. Table 1 gives the thermo-kinetic parameters as a function of Tp, namely ΔHp(“enthalpy”), ΔSp(“entropy”), and ΔGp(“Gibbs”), as well as the value of the polarizing temperature, Tp, and Tm, the temperature at the maximum of the Debye depolarization peak. Figure 41 illustrates the compensation search in the EE plane (Entropy vs. Enthalpy). Tp varies between 60 °C and 125 °C (the window temperature is 10 °C). The numbers near the data in Figure 41 apply to the row numbers in Table 1, increasing with the polarization temperature Tp. We clearly observe two negative compensation lines in Figure 41. The first compensation line comprises points 1, 2, 3, and 4, all with Tp < Tg, and the second compensation line aligns points 6, 7, and 8, all with Tp > Tg; point 5 (at Tp = 95 °C) seems to be “lost” between the two negative compensation lines. We will go back to the analysis of this PS_VA treatment in Figure 56 and Figure 57 and Table 5 after the study of the relaxation maps for other thermo-mechanical histories, which will have given us some insight into how to handle the analysis of these unusual and complex relaxation maps. Our first impression of the spectral lines in Figure 40 is that the first five lines, starting from the low Tp end, are more or less parallel. This is reflected in the compensation search by the closeness of their enthalpy values on the corresponding compensation line (from 31 to 25 Kcal/m). We also note that the entropy decreases from 24 cal/m-K to 0 (for point 4) and increases sharply to 111 for point 6.
Figure 40. Relaxation map in the Eyring plane for a very slowly cooled compression-molded polystyrene sample with almost no pressure during cooling. The sample is called PS_VA in subsequent figures. The slope and intercept of the elementary deconvoluted relaxations provide the enthalpy and entropy values in Table 1. The data are analyzed in Figure 41, Figure 56, and Figure 57. Reproduced with permission from [4], SLP Press, 1993.
Figure 40. Relaxation map in the Eyring plane for a very slowly cooled compression-molded polystyrene sample with almost no pressure during cooling. The sample is called PS_VA in subsequent figures. The slope and intercept of the elementary deconvoluted relaxations provide the enthalpy and entropy values in Table 1. The data are analyzed in Figure 41, Figure 56, and Figure 57. Reproduced with permission from [4], SLP Press, 1993.
Polymers 17 00239 g040
Table 1. Thermo-kinetics for sample PS_VA of Figure 40.
Table 1. Thermo-kinetics for sample PS_VA of Figure 40.
Row #Tp (K)Tm (K)Enthalpy △HpEntropy △Sp△Gp
(K)(K)(Kcal/m)cal/m-KKcal/m
1333.234430.890623.636823.0148
2338.2349.827.182311.192323.3971
3348.2367.525.97934.21124.5130
4353.2372.725.02930.059325.0084
5368.2380.532.490518.591525.6451
6378.238267.5262111.184525.4762
7388.2411.938.858323.336529.7991
8398.2418.130.50015.807428.1876
Figure 41. Compensation search in the EE plane for the data of Figure 40. The numbers near the data relate to the row position in Table 1. Reproduced with permission from [4], SLP Press, 1993.
Figure 41. Compensation search in the EE plane for the data of Figure 40. The numbers near the data relate to the row position in Table 1. Reproduced with permission from [4], SLP Press, 1993.
Polymers 17 00239 g041
Figure 42, Figure 43, Figure 44, Figure 45, Figure 46 and Figure 47 relate to the same polystyrene but mechanically pressurized during a fast cooling treatment. The mechanical treatment includes the application of vibrational positive pressure to induce specific thermal history patterns, a process known as “rheomolding” [39]. The mold is cooled in approximately 30 s. The rate of cooling when the glass transition temperature is crossed is around 7 °C/s, considerably faster than for the PS_VA treatment in Figure 40. Figure 42 is the relaxation map in the Eyring plane. Figure 43 is the compensation search in the EE plane based on the entropy and enthalpy data of Table 2. The thermo-mechanical treatment is called “PS_RL”. Figure 43 appears complex, unlike what is observed for stable amorphous states for which two compensation lines can be drawn passing through the data: one positive compensation line for Tp < Tg relaxations and one negative compensation line for Tp > Tg. This cannot be the correct solution in Figure 43 because the two lines only solution would not join consecutive Tp data points, which is a sine qua non condition to define compensation. In fact, as Figure 44, Figure 45, Figure 46 and Figure 47 will demonstrate, the situation is only apparently more complex because we find several correlations and a network structure between the six compensations (three positive and three negative) that are necessary to comprehend the relaxation maps in Figure 42 and Figure 43. Figure 44, Figure 45, Figure 46 and Figure 47 illustrate our step-by-step method to clarify complex compensation searches, which we will only explain for PS_RL.
In the Eyring plane, the Debye relaxation times are normalized by the vibrational energy of the atoms (kT/h), where k is the Boltzmann constant, T is the absolute temperature, and h is the Planck constant. The slope and intercept of log τ (Eyring) vs. 1/T directly provide the activation enthalpy, ΔHp = slope*k, and the activation entropy, ΔSp= intercept*k, of the elementary Debye depolarization process: (k is replaced by R, the gas constant, equal to 1.987 cal/m-K, to express the activation energies per mole instead of per molecule).
Figure 43. Compensation search in the EE plane for the PS_RL sample of Figure 42. The analysis appears complex. The numbers near the data (black squares) are the row numbers in Table 2 corresponding to the Tp value (shown in the inset) during TWD. For a simple amorphous state, such an EE plot has two straight lines going through the data, a positive and a negative compensation line intersecting at Tg, but we cannot represent such a simple solution since compensation lines should join consecutive increasing or decreasing Tp points for positive or negative compensations, respectively. The finding of the true positive and negative compensation lines for this complex situation is shown in Figure 45 and Figure 46.
Figure 43. Compensation search in the EE plane for the PS_RL sample of Figure 42. The analysis appears complex. The numbers near the data (black squares) are the row numbers in Table 2 corresponding to the Tp value (shown in the inset) during TWD. For a simple amorphous state, such an EE plot has two straight lines going through the data, a positive and a negative compensation line intersecting at Tg, but we cannot represent such a simple solution since compensation lines should join consecutive increasing or decreasing Tp points for positive or negative compensations, respectively. The finding of the true positive and negative compensation lines for this complex situation is shown in Figure 45 and Figure 46.
Polymers 17 00239 g043
A compensation search looks for an affinity between successive interactive coupling relaxation modes activated at different polarization temperatures Tp. In Figure 43, the Eyring relaxation map of Figure 42 is converted to the EE plane variables (entropy vs. enthalpy), and the affinity between the relaxation modes is determined by the alignment on a straight line (the “compensation”) of the thermo-kinetic coordinates (ΔHp and ΔSp) for neighboring Tp values. In Table 2, we see that Tp varies every 5 degrees from 65 °C to 150 °C (17 values). Here, rows 1 and 2 for Tp = 65 and 70 °C correspond to the two first relaxation lines on the left of Figure 42. These two relaxation modes appear to cross in that figure at an Eyring relaxation time, τc, and a temperature T = Tc. In the EE plane (Figure 43), these two relaxation modes are points #1 and 2. The line (1,2) is the compensation line that allows for the calculation of the coordinates of the compensation points of these two elementary relaxations in Figure 42. This is illustrated in Figure 44, which shows a plot of ΔHp vs. ΔSp in which the x and y axes are swapped to allow for an easy determination of the compensation point in the ΔG plane: Tc, ΔGc. In Figure 44, the value of ΔGc is simply the intercept of line (1,2), and the Tc value (in Kelvin degrees) is equal to 1000 times the slope of line (1,2). In Figure 43, as Tp increases beyond point # 2, one sees that #3 is not located on line (1,2) but rather below it, although its Tp has increased; a clear reversal of the direction indicates the presence of a new compensation with a change in its “sign”, here between points #2 and #3. The first compensation (1,2) is called “1+”since it is positive, while (2,3) is called “1” since it is the first negative compensation (we also use the appellations C1+ and C1 to designate these compensations). As Tp continues to increase, points #3 to #9 are aligned on a single straight line forming the second positive compensation, “2+” (or C2+). The second negative compensation lines down points #9, #10, and #11 and is designated “2” (or C2), and so on and so forth for the remaining points sub-grouping in compensations “3+” and “3” or even in “4+” and “4” in some instances. The rule followed to define the various compensation lines is that only successive points can participate in a compensation line. Sometimes, we hesitate between two options because of the errors that occur during the determination of the coordinates of the points: this happens at larger Tp values where the relaxation of non-equilibrium samples occurs faster. The compensation search is illustrated in Figure 45 for positive compensations and Figure 46 for negative compensations.
Table 2. Thermo-kinetics for sample PS_RL.
Table 2. Thermo-kinetics for sample PS_RL.
Row #TpTmEnthalpy ΔHpEntropy ΔSpΔGp
°C°C(Kcal/m)cal/m-KKcal/m
16569.726.04448.91723.03045
27070.235.705337.430422.86667
37579.831.692722.877523.73133
48084.632.34323.654923.99282
58588.835.929932.59924.25946
69090.241.319547.114424.21697
79590.643.949954.218123.99764
810094.651.645774.028624.03303
910598.857.135187.38124.10508
10115113.540.933538.996725.80278
11120120.434.000319.024226.52379
12125121.936.877626.056726.50703
13130125.441.059635.88926.59633
1413512938.093327.362126.92956
15140132.540.336432.17227.04936
16145137.327.7921−0.374327.94856
17150138.527.8984−0.300328.02543
Figure 44. Compensation search in the EE plane (Enthalpy vs. Entropy) plane for PS_RL to find the compensation(s) in Figure 42. Several positive and negative compensations emerge from what initially looked complex (in Figure 43). The down arrows indicate positive compensations, whereas the up arrows indicate negative compensations.
Figure 44. Compensation search in the EE plane (Enthalpy vs. Entropy) plane for PS_RL to find the compensation(s) in Figure 42. Several positive and negative compensations emerge from what initially looked complex (in Figure 43). The down arrows indicate positive compensations, whereas the up arrows indicate negative compensations.
Polymers 17 00239 g044
Figure 45 reveals that the positive compensation lines (in red) appear to converge on the ΔSp = 0 axis. The corresponding value of ΔHp at the intercept point is 23 kcal/mole. This point is fully independent of the value of Tp: it is a super-compensation, i.e., the compensation of all the positive compensation lines for sample PS_RL. When we say for “all” positive compensations, we should add that this is 100% sure for compensations C1+ and C2+, but that a different split of the points is possible for C3+, as shown in the inset of Figure 45: either C3+ = (11,12,14,15) or C3+ = (11,12,13) and C4+ = (14,15). Figure 45 shows the first choice, which has only three compensation lines.
Figure 45. Compensation search in the EE plane for PS_RL showing the positive compensation results only (lines joining successive Tp points with increasing values of ΔSp and ΔHp). The 3 positive compensation lines converge to a “super-compensation” point (whose y-coordinate is ΔSsc(+) = 0) for option 1. For option 2, with 4 compensations, only 3 of them super-compensate. The analysis for the negative compensations is illustrated in Figure 46.
Figure 45. Compensation search in the EE plane for PS_RL showing the positive compensation results only (lines joining successive Tp points with increasing values of ΔSp and ΔHp). The 3 positive compensation lines converge to a “super-compensation” point (whose y-coordinate is ΔSsc(+) = 0) for option 1. For option 2, with 4 compensations, only 3 of them super-compensate. The analysis for the negative compensations is illustrated in Figure 46.
Polymers 17 00239 g045
Figure 46 demonstrates the points interacting to generate negative compensation lines. This analysis is a little bit more difficult because there are fewer points to define the lines accurately. Nevertheless, it is possible to draw with confidence three negative compensation lines (option 1) or four compensation lines (option 2), and in the latter case, they themselves converge with confidence to a super-compensation (ΔHc = 18.8 Kcal/m, ΔSc = −23 cal/m-K).
Figure 46. The compensation search in the EE plane for PS_RL showing only the negative compensation results of the analysis conducted in Figure 43. In option 2, the 4 negative compensation lines converge to a single point, a super-compensation point whose ΔHpc(−) = 18.8 Kcal/m and ΔSpc(−) = −23 cal/m-K. For option 1, with C3− = (14,15,16,17)), there are only 3 negative compensations and the super-compensation is defined with less confidence (r2 = 0.988). For option 2, with C3− and C4− defined in the inset, the convergence to a super-compensation is established with confidence (r2 = 0.9987).
Figure 46. The compensation search in the EE plane for PS_RL showing only the negative compensation results of the analysis conducted in Figure 43. In option 2, the 4 negative compensation lines converge to a single point, a super-compensation point whose ΔHpc(−) = 18.8 Kcal/m and ΔSpc(−) = −23 cal/m-K. For option 1, with C3− = (14,15,16,17)), there are only 3 negative compensations and the super-compensation is defined with less confidence (r2 = 0.988). For option 2, with C3− and C4− defined in the inset, the convergence to a super-compensation is established with confidence (r2 = 0.9987).
Polymers 17 00239 g046
In Table 3, we summarize the results of the regressions of the compensation lines (ΔSp vs. ΔHp) shown in Figure 45 and Figure 46, with ΔSp in cal/m-K and ΔHp in kcal/m.
Table 3. Intercept and slope of the compensation lines in Figure 45 and Figure 46 (limited to the options studied in Figure 48, Figure 49, Figure 50, Figure 51, Figure 52, Figure 53, Figure 54 and Figure 55).
Table 3. Intercept and slope of the compensation lines in Figure 45 and Figure 46 (limited to the options studied in Figure 48, Figure 49, Figure 50, Figure 51, Figure 52, Figure 53, Figure 54 and Figure 55).
ΔSp (cal/m-K) vs. ΔHp (Kcal/m)
PS_RL
Positive CompensationsInterceptSlopeNegative Compensations InterceptSlope
(1,2)1(+)−67.9512.95142(2,3) 1(−)−92.06563.6268
(3–9) 2(+)−59.19292.57205(9,10,11) 2(−)−81.85572.96034
(11,12,13)3(+)−62.04822.38628(14,15,16,17) 3(−)−73.742.6381
Figure 47. Schematic reconstruction for PS_RL of the compensations of the spectral lines in Figure 42 following the compensation search results of Figure 45 and Figure 46. This graph shows the full Debye spectral lines for the 3 positive compensations (with F, D, and B indicating the aligned compensation points); the spectral lines for the negative compensations are only visible for the lower Tp compensation points (E and C) and not for compensation point A.
Figure 47. Schematic reconstruction for PS_RL of the compensations of the spectral lines in Figure 42 following the compensation search results of Figure 45 and Figure 46. This graph shows the full Debye spectral lines for the 3 positive compensations (with F, D, and B indicating the aligned compensation points); the spectral lines for the negative compensations are only visible for the lower Tp compensation points (E and C) and not for compensation point A.
Polymers 17 00239 g047
Figure 47 represents a summary of our complex compensation search, displaying the interactive coupling map of the relaxations revealed at different Tps. The positive compensation points are shown at F, D, and B in order of increasing Tp. The line passing through F, D, and B is the super-compensation line whose intercept and slope provide the coordinates of the super-compensation point of the positive compensations. Note that we did not draw a line through the negative E, C, and A compensation points because the spectral lines for A were not drawn. Yet, this negative super-compensation line can be imagined passing through E and C and would appear to be parallel to the positive super-compensation line FDB. In other words, all the compensation points and the super-compensation lines appear to create a macro-network where the local spectral lines collectively belong, showing their collective dependence. We will explain this concept in the next figures below (Figure 48, Figure 49, Figure 50, Figure 51, Figure 52, Figure 53, Figure 54 and Figure 55). For this, we will focus on the ΔGp(T) plane representation of the TWD relaxation map ([16], p. 79 of [5]), where ΔGp(T) is the free activation energy of depolarization at the T of the elementary Debye relaxation after polarization at Tp according to the TWD protocol, namely ΔGp(T) = ΔHp − T ΔSp, in the ΔG plane. Table 3 provides the intercept and slope of the linear relationship between ΔSp and ΔHp for the compensation lines. The free energy at each of the compensation points, ΔGc, and the temperature of compensation, Tc, can be calculated from the value of the slope (Sp) and the intercept (Ip) of the compensation lines when they are rewritten as ΔHp = Ip + Sp ΔSp; with the conversion of the energy units for enthalpy and entropy to become coherent, we obtain the following: ΔGc = Ip and Tc(K) = 1000 Sp. Their values are tabulated in Table 4 for each of the positive and negative compensations.
Table 4. Values of ΔGc and Tc for the 3 positive (+) and the 3 negative (−) compensation points. These compensation point coordinates are the references that characterize the sub-groups of interactions, each comprising the relaxation modes belonging to the sub-group.
Table 4. Values of ΔGc and Tc for the 3 positive (+) and the 3 negative (−) compensation points. These compensation point coordinates are the references that characterize the sub-groups of interactions, each comprising the relaxation modes belonging to the sub-group.
△Gc (Kcal/m)Tc (°C)
Comp(1)+23.0265.7
Comp(1)25.382.57
Comp(2)+23.01115.6
Comp(2)27.6564.6
Comp(3)+26145.9
Comp(3)27.95105.9
Figure 48 is a plot of ΔGc vs. Tc for the six compensations in Table 4, using a color change to differentiate the positive (red, bottom) from the negative (blue, top) compensation concave curves. One sees that Tc increases as the Tp range of the points belonging to the sub-group increases. The trace going through the points is monotonous for both “polarities”, but their curvature is the opposite, concave downwards for the top curve and concave upwards for the bottom one. The two traces of Figure 49 link points with the same polarity, positive or negative, just like Figure 45 and Figure 47, separate the polarities, trying to determine correlations within a given polarity: we did find the super-compensation characteristic of the compensation lines within each polar group. In Figure 49, Figure 50, Figure 51, Figure 52 and Figure 53, we investigate the possible correlations between the compensation points across polarities. For instance, in Figure 49, we show that the lines joining the “cross-compensation” points, such as C1+ and C3 or C3+ and C1, cut each other at a point belonging to the line joining C2+ and C2. In other words, the point designated Co in Figure 49 is a super-compensation point for the cross-polarity network of compensation points, i.e., the vertex of a pencil of lines formed by the 3 cross-polarities lines C1+C3, C2+C2, and C1C3+. This appears to be quite a remarkable property of the depolarization process of a rheomolded sample occurring over time as the temperature follows the TWD sophisticated protocol (Figure 3) and at the same time releases the internal stress induced by the thermal–mechanical treatment. The coordinates of Co, the super-compensation point, are ΔGco = 25.66 Kcal/m and Tco = 87.43 °C, which is 12.6 °C below the Tg of PS.
Figure 48. Plot of ΔGc vs. Tc for the 6 compensations in Table 4. Red, bottom curve: positive compensation points; blue, top curve: negative compensation points.
Figure 48. Plot of ΔGc vs. Tc for the 6 compensations in Table 4. Red, bottom curve: positive compensation points; blue, top curve: negative compensation points.
Polymers 17 00239 g048
Figure 49. Possible correlations between the compensation points across polarities.
Figure 49. Possible correlations between the compensation points across polarities.
Polymers 17 00239 g049
Figure 50 is an extension of our exploration in Figure 49 of the geometrical features characterizing the network of the compensation points. We expanded the number of links to include C3+C3 and C1+C1, in addition to C2C2+, which was already included from the previous figure. We also extended these three links so that they could cut each other. C1C1+ cuts C2+C2 at point O12, and C3C3+ cuts C2+C2 at point O32. The new remarkable feature is that O12 and O32 are found vertically below and above C3+ and C1, respectively. This may indicate that the position of the points in the geometrical network responds to symmetrical rules of dependence. We are aware of the possible errors in the determination of the coordinates of the compensation points, which is carried out at the beginning by regressions of the Debye elementary relaxation lines in the Eyring plane (Figure 42), far from being perfect straight lines even visually, followed by new regressions in the EE planes after the selection of the compensation sub-groups (Figure 45 and Figure 46). This makes the quasi-perfectness standing of the geometrical features in Figure 50 almost impossible to accept. At least some imperfection should exist. This imperfection may be actually present and could have resulted, in fact, in slightly distorting the network symmetry so that C1+ should align horizontally with C2+, C2 should also align horizontally with C3, and C3 should align vertically with C2+. In Figure 50, these alignments are almost there; for instance, C2 already aligns vertically with C1, in addition to O32 with C1 and O12 with C3+, as already mentioned above. This is as if we had discovered a crystal-like perfection of the alignment of the compensation points in the network of compensations. This finding is new and was not presented in [5], although the experimental evidence was already included (II.4.2 of [5]). Obviously, these new findings remain at the stage of speculation, and the standard scientific procedure should be applied to affirm or disapprove such new discoveries. Other geometrical particularities of the “structure of the compensation network” are noticeable in Figure 51.
-
The line (black) joining the middle of the segment C1C1+, M1 to the middle of C3C3+, M3 passes through Co, the vertex of the pencil of lines C1+C3, C1C3+, and C2+C2.
-
Line C1C2 is parallel to lines C1+C3+ and M1CoM3.
-
distance O32C2 = distance CoO12.
Figure 50. Other possible correlations between the compensation points across polarities. See the text.
Figure 50. Other possible correlations between the compensation points across polarities. See the text.
Polymers 17 00239 g050
Figure 51. Z-structure-type correlations between the compensation points across polarities.
Figure 51. Z-structure-type correlations between the compensation points across polarities.
Polymers 17 00239 g051
Another important particularity of the network of compensation points that is of great significance for the properties of the amorphous state of polymers is its ability to determine the Tg of the amorphous phases in polymers. We will refer to both Figure 52 and Figure 53 to explain this important finding. In Figure 52, we redrew the same graph that was used in a couple of previous figures but removed all the unnecessary details in the previous graph to reveal the presence of the so-called “Z structure” of the network of compensation points. The illustrated graph is actually a Z looked at in a mirror, which is the reason we called it the ZIM structure. A similar “Z structure” is already observed at the scale of the elementary Debye relaxations to characterize a Tg transition (Figure 11), but in Figure 52, we are working at a different scale, the scale of the compensation lines, not the elementary relaxations. Nevertheless, we observe a Z structure associated with the three transitions characterizing phase 1, phase 2, and say phase 3; in a way, Figure 52 is the second higher stage of a Russian doll assembly that repeats itself at different scales.
Figure 52. Z-structure (ZIM) compensation network for PS_RL.
Figure 52. Z-structure (ZIM) compensation network for PS_RL.
Polymers 17 00239 g052
Figure 53 is a plot of ΔSp vs. ΔHp limited to the positive and negative compensations C2+ and C2, with red and blue lines passing through the positive or negative data points, respectively. It can be shown [16] that the intersection of these compensations corresponds to the Tg state of the amorphous state relaxing via the process of TWD. We visually see that the intersection occurs approximately at ΔHp = 60 Kcal/m and ΔSp = 90 cal/m-K. These values are the enthalpy and entropy of activation of the mode of relaxation triggered by t polarization at Tp = Tg: we designate them ΔHg and ΔSg. In previous communications (p. 73 of ref. [5] and ref. [16]), we have also explained how to find the value of Tg from the thermo-kinetics values of the amorphous phases of the positive and negative compensations. The first method is based on the assumption that at Tg: ΔGg= (ΔGc+ + ΔGc)/2 and since for all Tp, then ΔG = ΔHp − T ΔSp for Tp = Tg, we have ΔGg = ΔHg – Tg ΔSg. In other words, we have the following:
T g = Δ H g ( Δ G c + + Δ G c ) / 2 Δ S g
Equation (13) summarizes the first method to find the value of Tg from TWD to characterize an amorphous phase. It can be used in conjunction with the values of ΔGc+ and ΔGc from Figure 52, applied to compensations 1, 2, and 3, and the values of ΔHg and ΔSg, which are calculated similarly to the way explained for phase 2 in Figure 53 to find the Tg for phases 1 and 3 besides phase 2.
Figure 53. The two compensation lines, “positive” (points 3 to 9 at the top) and “negative” ((9,10,11) at the bottom) define the behavior of amorphous phase “2”. Their intersection occurs at Tg, providing ΔHg and ΔSg.
Figure 53. The two compensation lines, “positive” (points 3 to 9 at the top) and “negative” ((9,10,11) at the bottom) define the behavior of amorphous phase “2”. Their intersection occurs at Tg, providing ΔHg and ΔSg.
Polymers 17 00239 g053
The second method to determine Tg from the results in a relaxation map is explained with regard to Figure 54 and Figure 55. Figure 54 is a plot of ΔGp (Kcal/m) at various Tp values, where ΔGp is simply the calculated value of ΔG = ΔHp – T ΔSp for T = Tp. ΔG(T) is the description of the relaxation of a single Debye relaxation in the ΔG plane during the heating step in Figure 3. Notice the difference between ΔGp and ΔGc, the latter being the value of ΔG extrapolated at the point of compensation between several relaxations. For a polymer without any singular treatment to process it, the ΔGp vs. Tp behavior is typically linear and almost invariably simple: ΔGp ~ 0.07 Tp (K) in Kcal/m. This reference behavior, ΔGpe, is represented by the red dashed line in Figure 54; subscript “e” in ΔGpe refers to the pure dielectric origin of the activation of the dipoles, resulting in a local dis-equilibrium, and of its return to equilibrium during the depolarization process. The PS_RL rheomolded sample in Figure 54 (the black squares) was purposely brought out of equilibrium to reveal the complex mechanisms of internal motions during the TWD process when the samples return to their equilibrium state during their heating or thermal annealing relaxation stages. The three stages of the relaxation process are indeed visible in Figure 54. It is clear that the sample is “sustaining” its initial non-equilibrium state to a persisting degree if we compare the evolution of the squares to the dashed reference line representing the equilibrium state. Yet, opening a short parenthesis, we should note that the highest temperature for Tp in Figure 54 does not reach the TLL value of the sample, which increases beyond 160 °C (the classical value for PS) by the mechanical treatment during cooling [10,11,12].
Figure 54. ΔGp vs. Tp for PS_RL. The dashed red line is the expected behavior for a stable sample (with no internal stress before polarization). ΔGp = ΔHp – Tp(K)ΔSp.
Figure 54. ΔGp vs. Tp for PS_RL. The dashed red line is the expected behavior for a stable sample (with no internal stress before polarization). ΔGp = ΔHp – Tp(K)ΔSp.
Polymers 17 00239 g054
Figure 55 shows the superposition of the graphs in Figure 52 and Figure 54. The ZIM structure of Figure 52 is here visible as red dashed lines. The blue line has the same slope as the dashed line of Figure 54 but is shifted by regression to fit the square data points. In other words, the blue line is obtained by linear regression of the squares forcing the value of the slope to equal 0.07 Kcal/m-K.
Figure 55. This figure illustrates the superposition of the graphs in Figure 52 and Figure 54. The ZIM structure of Figure 52 is here visible as red dashed lines. The blue line has the same slope as the dashed line of Figure 54 but is shifted by regression to fit the square data points. See the text.
Figure 55. This figure illustrates the superposition of the graphs in Figure 52 and Figure 54. The ZIM structure of Figure 52 is here visible as red dashed lines. The blue line has the same slope as the dashed line of Figure 54 but is shifted by regression to fit the square data points. See the text.
Polymers 17 00239 g055
According to the second method for the determination of a Tg transition from a TWD relaxation map [16], the value of Tg is at the cross-section of the compensation line of the Z structure pertinent to the relaxation process analyzed with the ΔGp vs. Tp straight line. Figure 55 illustrates the method to determine Tg for compensation 1 (amorphous phase 1 with Tg(−)), compensation 2 (amorphous phase 2 with Tg), and compensation 3 (amorphous phase 3 with Tg(+)). Note that, contrary to what we suggested in a previous communication (p. 495 of ref. [5]), we are affirming in this paper that Tg(−) is not associated with Tβ transition, nor is Tg(+) associated with TLL: the visible breaks are parented to a true fragmentation of Tg, or actually Tα, the mechanical manifestation of Tg, due to the initial conditions at the beginning of the thermal–mechanical treatment. In the Discussion (Section 3.2), we will show that simulations with the dual-phase model of the interactions succeed in generating positive and negative compensations, multi-compensations, super-compensations, and fragmented behavior at Tg. The results below summarize our findings to describe Tg(−), Tg, and Tg(+) in Figure 53, Equation (13), and Figure 55:
                           ΔSg = 37.42 cal/m-K, Tg = 34.2 °C (method 1) or 72.9 °C (method 2);
                           ΔHg = 35.70 Kcal/m;
                           ΔSg = 90.93, Tg = 90.2 °C (method 1) or 100.0 °C (method 2);
                           ΔHg = 58.37;
                           ΔS+g = 48.72, T+g = 126.0 °C (method 1) or 129.0 °C (method 2);
                           ΔH+g = 46.42.
The only noticeable discrepancy between the two methods to calculate Tg is for Tg(−), and we have no explanation as to why. The two methods are compatible at a 0.5-degree error for samples in a state of equilibrium [4], an empirical rule that does not appear to apply for samples out of equilibrium due to their processing history.
We propose that these “break transitions” of Tg, revealed by multi-compensations structuring as a Z network, correspond to different dissipative states of the interactions between the dual-conformers of the amorphous matter. The Tβ transition in PS, and in other amorphous polymers, is indeed a local property of the dual-conformers, corresponding to the lower horizontal branch of the Z structure at the scale of the elementary relaxations (lower scale). The Tg(−) break is different because it is the lower branch of a Z structure of compensations of the dual-conformers (higher scale), not of the dual-conformers themselves (lower scale). The same reasoning applies to the case of TLL and Tg(+): they are equivalent but not the same because working at different scales. The TLL transition is observed in a relaxation map at the Tp temperature that corresponds to the upper horizontal branch of a Z structure involving a lower scale. The Tg(+) break is the upper branch of a Z structure, apparently the equivalent of TLL but working at the higher scale level of the compensation network. Section 3.2 and Section 4 will explain what we really mean by “a different scale” in a dual-phase dissipative context [7].
Finally, we present a plot of ΔSp versus Tp for PS_RL in Figure 56. For a sample in a state of internal equilibrium, there is only one Tg, and the positive and negative compensations that cross at Tg (like in Figure 53) are transposed, in a ΔSp vs. Tp plot, to two hyperbolic functions on both sides of Tg sharing the same infinity axis at Tp = Tg [16]. Figure 56 applies to a sample in non-equilibrium, showing the fragmentation of Tg in three Tgs values and the conversion of the hyperbolic functions to linear ones. There are no distinctions in behavior for either Tg(−), Tg, or Tg(+). This confirms what was hinted before, namely the fragmented transitions perceived below and above Tg have the same relaxation origin as Tg itself (see Section 3.2 and Section 4). Another observation in Figure 56 is the sharp discontinuity observed between the fragmented transitions in a way rarely observed in physics except at critical transitions generated by chaotic behavior. This comment should be remembered when a dual-phase explanation of the fragmentation of Tg in the TWD experiments is provided in the Discussion (Figure 68).
Let us now go back to the analysis of the slowly cooled sample PS_VA (Figure 41). We said earlier that two negative compensations are clearly visible (Figure 41) and that point 5 (Tp = 95 °C) was “lost”. In view of what we learned from the analysis of PS_RL, we can now reexamine the situation (Figure 57). Knowing that positive and negative compensations alternate to define the state of an amorphous phase with a Tg transition at their crossing, point 5 is in fact located on a positive compensation that linearly lines up points 4, 5, and 6. The positive compensation line is not defined with certainty in this case since we only have one intermediate point between points 4 and 6 to determine its slope and intercept. Yet, the fact that point 5 is exactly located on the line joining points 4 and 6 gives a good probability that our assumption is correct.
We have learned how to find the values of the compensation points from the analysis of PS_RL above and will apply the same method below. We calculated the following parameters:
Comp(1): ΔSp = 3.990 ΔHp − 99.03 for Tp [60–80 °C];
Comp(2)+: ΔSp = 2.624 ΔHp − 66.08 Tp [80–105 °C];
Comp(3): ΔSp = 2.857 ΔHp − 81.93 Tp [105–125 °C].
The coordinates of the compensation points Tc and ΔGc, expressed in the ΔG plane, are found from the equation of the EE curves (above) and are compiled in Table 5.
Notice that, in the above description of PS_VA, we named the compensations comp(1), comp(2)+, and comp(3)”, since the positive compensation was added to our initial count of 2 in Figure 41 after we realized that point 5 was not “lost” and that a new compensation should be added to the set of the two negative compensations. Additionally, to match the annotations used for PS_RL, comp(3) is actually the negative compensation line of comp(2), so its name should be changed to comp(2). Hence, In our new understanding of the TWD results of PS_VA, let us change the annotations to match the ones used that will reflect the differences between PS_VA and PS_RL appear more clearly:
Comp(1) = (1,2,3,4) and the compensation point for this sub-group is C1;
Comp(2)+ = (4,5,6) and the compensation point for this sub-group is C2+;
Comp(2) = (6,7,8) and the compensation point for this sub-group is C2.
Figure 58 is a plot of ΔGc vs. Tc, using the data from Table 5 while considering the new understanding of the compensation points. The first difference observed between Figure 58 for PS_VA and Figure 48 for PS_RL is the reversal in the vertical position of the negative and positive compensation points: the negative compensations C1 and C2 are below C2+ for PS_VA, and the opposite is seen for PS_RL. This is a major difference apparently only due to their different thermo-mechanical histories. The comparison of the network of compensations for these two treatments makes it easier to realize that three additional compensation points are missing for PS_VA and would have probably become visible if we had extended the Tp range of the TWD Debye relaxations at both ends: polarizing at lower values than point 1 (Tp = 60 °C) to make C1+ visible and to higher values than point 8 (Tp = 125 °C) to make C3+ and C3 visible. Using the three existing compensation points (Figure 58) and assuming that the geometrical rules established for PS_RL remain valid for PS_VA, we can construct what the compensation network could look like for PS_VA. This extrapolated network construction is shown in Figure 59. Amazingly, provided our assumptions are verified by new experiments with a broader range of Tp values, the network for the slowly cooled sample becomes a simple parallelogram tilted upwardly, with the three positive compensation points aligned (red line on top), the three negative compensation points also aligned (blue line at the bottom), and the parallelism of the lines passing through the positive and negative compensation points. When the three compensation points are aligned, it means that their corresponding compensation lines compensate at a single point: this is a super-compensation of the single Eyring relaxations. This same situation is observed in Figure 45 and Figure 56 for PS_RL. Yet, for PS_RL, the coordinates of the super-compensation points of the negative and positive super-compensations are different for both axes. The fact that the network of compensations is a parallelogram for PS_VA (Figure 58) and only a quadrilateral for PS_RL (Figure 52) is significant and represents a characteristic of the state of non-equilibrium of the amorphous phase that can be correlated to specific thermal–mechanical treatments.
The ΔHg and ΔSg values for the visible transition (Tg) at the middle of C2+ and C2 can be calculated from the intersection of the compensation lines (4,5,6) and (6,7,8): ΔHg = 68.0 Kcal/m and ΔSg = 112.4 cal/m-K. The value of Tg from Equation (13) is determined as 92 °C. The vertex of the pencil of the line is Co (Tco = 91.78 °C, ΔGco = 26.95 Kcal/m), and therefore Tco = Tg, ΔGco = ΔGg. For the PS_VA sample, with no internal stress, Tg is exactly located at the vertex of the network of compensations. This is not true for samples that are not at equilibrium and the analysis presented in this section allows for the characterization of the differences. Figure 60 below illustrates ΔSp vs. Tp for PS_VA, which should be compared to Figure 56 for PS_RL.
The only certainty about Figure 60 is that the last three points on the left (points 6, 7, and 8 in Table 1) can possibly be fitted by a hyperbola since they belong to the negative branch of the Tg transition of an amorphous phase at equilibrium [5,16]. A hyperbolic fit is always feasible with three points, yet the interest is that, for the x-asymptote, the fit gives the vertical red line corresponding to Tp = 373 K, clearly what we expect to find for polystyrene. This is not, however, what we found for Tg using Equation (13): we found 92 °C. On the other hand, the two points on the left side of the red line belong to a hyperbola fitting the behavior of a positive branch of a Tg transition (the asymptote for that left branch is Tg = 373 K). Hence, points 3, 4, 5, 6, and 7 are correctly positioned with respect to a Tg transitional behavior for a sample at equilibrium. The other points (1–4) are not on that hyperbolic branch, and there are possibly two reasons for this deviation. First, these points may still not be at equilibrium despite the long cooling time because the cooling sample became a glass ever since it reached 100 °C, resulting in a drastic reduction in the rate to reach equilibrium. The other possibility is that points 1–4 belong to the negative branch of the Tg(−) transition, which may exist at low Tp. Figure 61 below, showing ΔGp vs. Tp for PS_VA, may help solve this uncertainty when it is compared to Figure 54. The first four points of Figure 54 are shifted vertically to position themselves around the “equilibrium” red straight dashed line in Figure 61 and, therefore, these four points belong to the negative hyperbola of Tg(−) in Figure 60, corresponding to the compensation point C1 of Figure 59.
Another comparison of PS_RL and PS_VA relates to the super-compensation coordinates. For PS_VA in Figure 59, we saw that the red and blue lines joining the positive and the negative compensation points, respectively, were parallel to each other, separated by a distance (δΔGc = 3.494 Kcal/m and δTc = 31.1 °C (31.276). The equation of the positive super-compensation line is ΔGc = 27.62 + 3.036 10−3 Tc(K), and for the blue super-compensation line, it is ΔGc = 24.12 + 3.036 10−3 Tc(K). The intercept and slope of the super-compensation line provide the coordinates of the super-compensation points “of the lower scale correlation map”: ΔHc = intercept and ΔSc = −slope. Hence, the super-compensation coordinates for the positive and negative compensations of PS_VA can be compared to the ones shown in Figure 45 and Figure 46 for PS_RL, respectively.
PS_VAPS_RL
ΔHsc+ = 27.62 Kcal/mΔHsc+ = 23.0 Kcal/m
ΔSsc+ = −3.04 cal/m-KΔSsc+ = 0 cal/m-K
ΔHsc = 24.12 Kcal/mΔHsc = 17.5 Kcal/m
ΔSsc = −3.04 cal/m-KΔSsc = −23.0 cal/m-K
One sees that the thermo-mechanical treatment essentially lowers the enthalpy of the super-compensations, for both positive and negative compensations, with the effect being stronger for the negative compensations (6.67 vs. 4.62 Kcal/m). The network of compensations becomes asymmetrical pursuant to the thermo-mechanical treatment. When there was no mechanical treatment, and the sample was cooled very slowly in the mold to induce a near-equilibrium state for the molded sample, the network of compensations appeared symmetrical; yet, the structure of the polarity of the network of compensations was reversed (upside down). Note that the confirmation of these conclusions is pending a repeat of the TWD testing of the slowly cooled samples using a broader span of Tp values to validate the construction of the compensations’ network. Our analysis of the PS_VA results was performed with only three compensation points and using the empirical rules established from analyzing samples in non-equilibrium amorphous states. We have only presented the details of our analysis for one treated ample, PS_R, but have presented elsewhere (II.4 of [5]) the influence of several other thermal–mechanical treatments validating the generalization of the results presented in this review: the presence of three scales to consider the interactions, namely the scale of their Debye relaxation, the scale of their compensation, and the scale of the compensation of the compensations, i.e., of their super-compensation, with each scale interactively coupled to the next one forming a general network of compensations.
In summary of this Section 2.3, it should be concluded that the thermal-windowing depolarization (TWD) procedure applied to the rheomolded PS samples (compression-molded under vibration) allows for the quantification of the influence of the thermal–mechanical history on the “internal stress” incurred by the rheomolding variables. In this Section 2.3, we also showed the power of the TWD analysis to gain insights into the interactive coupling relaxation mechanisms between the local molecular “tags”, i.e., the dipoles, activated dielectrically. The relaxation map of these rheomolded samples indicates that the deconvoluted dipole relaxations belong to a highly ordered network of compensation lines themselves, compensating to a single point of the relaxation map. This “super-compensation” behavior appears to indicate a unique simple kinetic origin to the various electrical relaxation mechanisms found below Tg, at Tg, and above Tg. The phenomenon of compensation of the compensation lines of the Arrhenius relaxations generated at various Tp values seems to be a key revelator of the fundamental mechanism responsible for this apparently diversified and complex behavior [5,16]. As we said in our objectives of this review, we will attempt to understand, in the Section 3 below, the dual-phase gears capable of generating such apparent simplicity and how the interactions in the amorphous phase are modulated by the presence of compensations at different scales.

3. Discussion

3.1. Challenging Results for the Conventional Models of Polymer Physics

In many ways, the results obtained by TSD or TWD represent a challenge to the classical views on macromolecules:
-
The Tg,ρ peak (Figure 30 and Figure 31) is in dispute: some scientists claim it is TLL [34], but we believe that Tg,ρ and TLL have different origins, and we propose a different dual-phase explanation for both transitions.
-
The existence of the TLL relaxation transition, which, in the context of TSD/TWD outputs, can be observed by TSD (Figure 36) or can be derived from relaxation maps (Figure 11) as the value of Tp that corresponds to ΔSp = 0 in the negative branch of a Z structure, is still a well-known controversial issue because its presence is incomprehensible using the current models of polymer physics [11,12,40,41].
-
The existence of a negative compensation, systematically found for Tp just above the Tg peak (Figure 12), is essentially ignored in the literature on the thermally stimulated depolarization current, probably because it remains without interpretation from the classical views of polymer physics: for instance, Lacabanne and collaborators [6], who have extensively contributed to exposing and documenting the benefits of TSD/TWD in thermal analysis, always search for positive compensations in a relaxation map (Figure 10) but never consider the duality positive/negative compensations, which we call the Z structure of the transition at the scale of the relaxation map (Figure 11).
-
Certain authors [42] have expressed their doubt that the compensations of Debye relaxations obtained at variable Tp values could correspond to a real physical process, claiming instead that the compensations were merely linear fitting conveniences. Additionally, the classical explanation of the physical meaning of the compensations of the relaxation modes by the protagonists of the thermal sampling compensations, Lacabanne and collaborators [6], has been challenged by our dual-phase explanation [5,16], as will be developed further in this review.
-
The network of multi-compensations and super-compensations found for the organization of the enthalpy and entropy of rheomolded specimens (Figure 45, Figure 46, Figure 50, and Figure 57 in Section 2.3) may represent the greatest challenge to any theory of polymer physics, including our own model: why do all the relaxation modes describing interactive coupling in the amorphous phase, above and below Tg, structure into a super-compensation network of positive and/or negative compensations?
-
In summary, the Tg,ρ TLL, and multi-compensation network described in Section 2.3 are experimental facts that theories cannot ignore.
The dual-phase model of dissipative interactions is introduced in Section 1.2 and in [7]. Section 1.2 is a simplified quantitative presentation of the terms and assumptions of the dual-split kinetic models (limited to the vertical structuring of the dissipative energy [7] that we will refer to in the following Section 2.2, Section 2.3 and Section 4). As explained in Section 1.2, the dual-conformers interact pursuant to a cross-duality: they belong to a given macromolecular chain that partially controls its intra-chain conformational energy (cis–gauche–trans or (c,g,t)) and are also coupled to the collective set of dual-conformers belonging to other macromolecules via intermolecular interactions. We symbolize this cross-duality of the dual-conformers by [(b/F) ↔ (c, g, t)], where b and F represent two conjugated states of the inter–intra duality, and (c, g, t) refers to three conformational states of the dual-conformers. The distribution function between the different states available is described by the dual-split kinetics (Equations (6)–(8)). The cross-duality of the dual-conformers forces the existence of a local heterogeneity, i.e., the presence of b-grains surrounded by F-conformers. Furthermore, the coupling by compensation between the horizontal and vertical solutions of the minimization of the dissipative function results in the formation of a dissipative elastic wave that propagates through the material (above its Tg) and delocalizes the local heterogeneity of the density due to the F/b duality. As explained below, these assumptions are “experimentally verifiable” by the presence of the Tg,ρ peak observed in TSD (linked to the b-grains surrounded by the F-conformers’ structure) and by the manifestations of the TLL transition in the upper melt (linked to the stability of the dissipative elastic wave that dissipates at TLL). In a certain way, the presence of the Tg,ρ peak and TLL may be considered an indirect validation of the assumptions of the local duality (b/F) in our model (at Tg,ρ) and its collective aspect (at TLL).

3.2. Dual-Phase Understanding of Tg, Tg,ρ and the TLL Manifestations

The characteristics of Tg,ρ and TLL were discussed in Section 2.2. The presence of the Tg,ρ peak is universal in the characterization of polymers by TSD. We found the peak just above Tg for all the polymers tested. The position of Tg,ρ with respect to Tg depends, to a large extent, on the choice of the polarization temperature Tp, which enhances the respective magnitude and the resolution of the peaks by the effect of polarization selectivity mentioned in Section 2.2. TSD, which works at a very low-frequency equivalent (∼10−5 to 10−3 Hz, see II.1 in [5]), is capable of resolving the Tg/Tg,ρ kinetic presence with far higher resolution and sensitivity than other techniques. However, it is not uncommon to observe that the Tg and Tg,ρ peaks merge into a broad intense peak for certain polarization temperatures, thus complicating their fine analysis. The transition TLL should not be confused with Tg,ρ, as has many times been the case [21]. Its manifestation by a peak in TSD, located at a higher temperature than Tg,ρ, is not systematic and depends on the thermo-mechanical treatment of the specimen. In some instances, the mechanical history of the specimen and the temperature of polarization are such that Tg,ρ and TLL merge or overlap (Figure 35), which may be the reason for the confusion. TWD normally allows for a good separation of all the peaks, which can be isolated and deconvoluted individually. As mentioned above, the dual-phase model assumptions are responsible for the common dynamic origin to Tg, Tg,ρ, and TLL, and even to Tβ [25]. The apparent complexity of the depolarization relaxation behavior above Tg arises for two reasons: (1) The kinetics are due to the interactive coupling between horizontal structuring and vertical structuring that combine to create the structure of the free energy. A dissipative wave, active only above Tg, generates the coherence between the two structuring modes: the result is a split of the peaks observed at the occurrence of the main relaxation, like in Figure 35. Therefore, one could say that Tg,ρ is inherently reflecting the duality of the b/F-conformers; the presence of a shoulder on the main TSD or DSC peak (Figure 35, Figure 36 and Figure 37) might just be generated by kinetic effects. However, even if the Tg and Tg,ρ are kinetically related, their dielectric origin is different most of the time, because the effect of the voltage field on the b and F-conformers is different: The Tg peak occurs due to the relaxation of dipole moments attached to the b-conformers, and the kinetic complexities might reveal some modulations on the peak itself. The dipolar moment for Tg,ρ is probably associated with ionic dipoles, or perhaps the space charges attached to the interfacial tissue created by the F-conformers. There is plenty of evidence (II.2 in [5]) that suggests that the Tg,ρ peak is related to the free volume in the sample, which the dual-phase interpretation redefines as the volume around the F-conformers. Either local unstable ionic dipoles or space charges get trapped in the free volume characteristic of the surroundings of the F-conformers. These charges are injected by the voltage field, or enhanced by it, and relax at Tg,ρ. In some instances, the Tg,ρ peak is broad and contains a combined effect of molecular dipoles and free volume relaxations (Figure 2.10 of II. 2 in [5]). In such cases, two or more additional compensations are observed in the (T > Tg) region up to TLL. The existence of this special F-conformer tissue in the structure is also revealed by the response of polymers during the Thermally Stimulated Polarization Current (TSPC) experiments, either upon heating or cooling; this type of test is not covered in this review but elsewhere (II.1 of [5]): during a TSPC run, the Tg,ρ peak is not observed, but volume or surface conductivity starts at that same onset temperature. According to studies on the dual-phase viewpoint [10,17], the local density difference between the b-grains and the F-conformers is “time-averaged” by the constant sweeping (above Tg) of a “dissipative elastic wave” with a frequency ωo that is a function of temperature and molecular weight and thus is different from the Brownian dissipation, i.e., the thermal fluctuation characteristic of the Boltzmann mean field (the classical kT/h term). As a consequence of the dissipative elastic wave in the rubbery and melt states, the F-conformers become the source of formation of a tree-type channel of nano-conduction for the injected charges from the electrodes across the non-conductor. At about 20 °C below Tg, the F-conformers are frozen, which makes the boundaries around the b-grains become localizable (and the source of crazes when submitted to axial stresses). TLL is the end of the existence of the dissipative elastic wave, which turns into a Brownian dissipation. It is the end of the network of compensation. Tg,ρ is revealed or reveals the existence of the nano-conductive charges partially filling the F-conformers in the spatial area around the b-grains.
The value of TLL can be calculated (I.2 of [7]) from the negative compensation in a relaxation map, by extrapolating the entropy vs. Tp results for ΔSp = 0 (or toward a minimum asymptotic value). In this sense, we can consider TLL as the temperature marking the end of the relaxation behavior due to the modulation by the dissipative term in the dual-phase dynamics. This is seen in Figure 62 below when the rate of dNb(t)/dt becomes 0, ending the modulation of ntb(t) by Nb (t). This figure is understood from the explanations given in Section 1.2 regarding Figure 14, Figure 15 and Figure 16 related to vertical Dual-Split kinetics.
In split structuring, Nb(t) is the sum of the population ntb and ncgb, and Figure 62 plots the derivative of Nb(t) and ntb(t) to show the modulation that starts upon cooling (q = −1 K/s) at TLL. It is clear that TLL is rate-dependent for either heating or cooling ramps. We propose that the mechanism of relaxation in polymers is due to the dynamic coupling of two types of splitting processes of the total statistical population of conformers in interactions: the creation of Ns(t) energetic kinetic systems (horizontal splitting) and the modulation of the conformational structure of these systems by the dissipative function (vertical splitting). This applies to the coupling of cooperatively interactive dipolar motions and the modulation of both the sub-Tg and (T > Tg) kinetics. It might be more appropriate to categorize TLL as one of the kinetic manifestations resulting from the cooperative kinetic process already giving rise to Tβ, Tg, and Tg,ρ. Beyond Tp = TLL, the organization of the inter–intramolecular interactions between the various dipoles as a dissipative network is kinetically inefficient and hence has ended. As we said earlier, a description of the properties of the polymer by invoking the properties of the individual macromolecules embedded in a mean field is acceptable from this point on. Tβ is the temperature for the onset of energetic kinetic coupling. It should be a function of thermal history. The temperature of infinite viscosity defined by the WLF equation, fitted to the Tg,ρ Arrhenius transform, should characterize the lower limit for Tβ. The intercept of the (T > Tg) Z lines, either from multi-compensations or for specimens with variable thermal history, should also define Tβo, the lowest Tβ achievable.

3.3. Compensations, Multi-Compensations, and Super-Compensations in Dual-Phase Systems’ Simulation

In the analysis of the TWD depolarization results, we make use of compensations as a quantitative characterization tool to evaluate the interactive coupling between the Debye relaxation modes. The compensation of the Debye characteristics (ΔH, Ln τo) means that their modes of relaxation, stimulated at various temperatures (Tp), are not independent but coupled. The interactive coupling is clearly visible graphically: a series of plots of log τ(T) vs. 1/T in the Arrhenius plane, or of ΔG(T) vs. T in the ΔG plane [16], when Tp varies, displays a set of spectral lines that converge to a single point, the compensation point. Hence, the compensation point coordinates appear to define the interactive coupling between the relaxation modes. When the Debye characteristics of the relaxation modes are their thermo-kinetics variables, ΔSp and ΔHp, their interactive coupling is characterized by the linearity between ΔSp and ΔHp when Tp varies. This line is the compensation line.
Most of the scientists working with TSD/TWD apply the concept of compensation to the analysis of complex TWD results when the amorphous phase is made up of cooperative relaxation modes of different origins, namely semi-crystalline polymers, copolymers, and blends of polymers, as well as when additives are added. In every such case, the compensation characteristics of the amorphous state(s) are modified, and this modification can be quantified by comparing its compensation point coordinates with a reference value. This is why the TWD characterization technique offers a unique value in the spectrum of thermal analysis instruments available to determine the properties of non-conductive materials.
Yet, beyond the practical usefulness of the use of compensations to characterize the amorphous state of non-conductive matter, the theoretical value of compensation laws is a full debate on its own. We refer to the appropriate literature for more details [42,43,44,45]. In this section, we examine the possible analogy between the compensation results obtained by TWD when Tp varies and the compensations observed in dual-phase systems when the variable Δe is varied in Equations (6)–(8).
The fundamental constants of the dual-split kinetic model (Equations (6)–(8) of Section 1.2) are Bo, Δm, υm, and Δe. When these constants are known, we can characterize the dynamics of this system of Bo dual-conformers by their statistical population: their cis-, gauche-, and trans-spatial conformation, and their b/F dissipative state, which controls the free volume in the system. The interactive coupling between the conformational states and the b/F state is described by Δx, υx, which are functions of Δm, υm, and Δe. At equilibrium, the system of interactions is stable, and the b and F populations are “transparent”, i.e., undistinguishable, statistically speaking. As soon as non-equilibrium conditions occur, such as by cooling or heating, the b/F population becomes asymmetric, which is governed by dissipative kinetics, the dual-split kinetics, or EKNETICS as we have called it. The EKNETICS generates a dissipative term that can be quantitatively expressed by a kinetic-like constant, kx, which varies only with T, for a given set of Δm, υm, and Δe (Figure 27 of Section 1.2). As explained in Section 1.2, for a given value of Δe, we run simulated annealing experiments after quenching from the same temperature down to a series of five lower temperatures at which the value of (kx) is determined from a phase plot of dNb/dt vs. Nb at t → 0. Figure 28 shows that the temperature dependence of kx follows an Arrhenius variation, which corresponds to the linearity of Ln(kx(T)) with 1/T. From the intercept and slope of such an Arrhenius plot, we determine Ln υx and Δx, respectively, which we could hypothetically associate with the entropy and enthalpy of activation for the (b/F ↔ (c, g, t)) interactive coupling kinetics, the way we did to convert the current of depolarization into a relaxation time and determine Ln(τo) and ΔH from the Arrhenius temperature dependence of τ(T). We repeat the simulations for a series of Δe values at constant Δm and υm. This procedure establishes the value of Ln υx and Δx for various Δe for a given set of Δm and υm. Finally, we change the values of Δm and υm and repeat the entire procedure (note that in the TWD experiments, the variables are τo and ΔH, i.e., a relaxation time and enthalpy, whereas in the simulation, υx and Δx refer to a frequency and enthalpy. This difference results in a change in sign for the log axis variable, since 1/υx = τx). Figure 63 displays the influence of Δe on the kx statistics: for a given set of Δm and υmm = 9250 and υm = 1011 in Figure 63), a compensation law is observed between Ln υx and Δx when Δe varies. The compensation between Ln υx and Δx when Δe varies is similar to the compensation between -log τo and ΔH when Tp varies in a TWD experiment (the compensation line in a compensation search). The compensation means that the Arrhenius lines of Ln(kx) vs. 1/T converge to a single point, the compensation point, when Δe varies. This is similar to the situation observed in a relaxation map showing the compensation of the spectral Arrhenius lines when Tp varies. As we said earlier, and is also explained in Section I.2.5 of [5] or in [16], the coordinates of the compensation point of Ln(kx) vs. 1/T can be determined by the slope and intercept of the corresponding compensation line in a compensation search, in our case, Ln υx vs. Δx obtained by regression.
Figure 64 shows the influence of changing the value of Δm and υm on the compensation line for various Δe. Note that the variables in Figure 64 are “normalized”, i.e., become (Δx − Δm) and (Ln(υx) − Ln(υm)). When Δe varies, for a given pair of (Δm, υm), this is Δx and υx, which vary. This will be important to remember when we simulate the behavior of (ΔH, Ln(τo)) with Tp using the behavior of (Δx, Ln(1/υx)) with Δe. In thi figure, it should also be noted that the Δe values are rather small (ranging from 5 to 150) with respect to Δm and that Δe decreases from left to right on the compensation lines that all pass through the origin. The origin corresponds to (Δx − Δm) = 0 and (Ln(υx) − Ln(υm)) = 0, obtained for Δe = 0. All of these particular features are important to note to be able to correlate the effect of Tp on the Ln(τ) vs. 1/T kinetics with the effect of Δe on the Ln(kx) vs. 1/T kinetics. In particular, we need to know if the dual-split model of the interactions can simulate the switch from a positive compensation law to a negative compensation law when Tp crosses the Tg of the polymer or if this results from another cause. This necessitates understanding how Δe and Tp are related.
It is clear in Figure 64 that changing the values of Δm and/or υm in this low-value range of Δe modifies the slope only. The inverse of the slope gives the value of Tc, the temperature of compensation for the Ln(kx) vs. 1/T lines when Δe varies (since we equate the gas constant to 1 in the simulations, we need to divide (1/slope) by 1.987 cal/mole if ΔHx is expressed in such units). In Figure 64, one sees that Tc for Δm = 9250 (square symbol) is greater than for Δm = 9500 (the “+” symbol), at a constant υm (1011). The same slope can be obtained if we change Δm and υm simultaneously. Compare the dots (8750, 1012) and the “+” symbols (9500, 1011). Figure 65, Figure 66 and Figure 67 show the effect of increasing Δe for these three sets of Δm and υm parameters. Figure 65 applies to Δm = 9500, υm = 1011. Δe is now extended to 400 (4.21% of Δm). We observe two compensation lines, one passing through the origin, point O, at low values of Δe, corresponding to the “+” symbols in Figure 64, and another straight line covering the greater values of Δe, ending at point G in the figure. We have written the equation of the compensation lines on the graph y = αo + α1 x for the larger values of Δe and y = α′1 x for the low Δe values. We can express the coordinates of the compensation points of [Ln(kx), Tc] for these two compensation lines:
Figure 65. Normalized compensation search of Ln(υxm) vs. (Δx − Δm) for Δm = 9500, υm = 1011. Effect of varying Δe. Here, Δe decreases from Δe = 400, at the left, to Δe = 5, at the far right. Notice that Δe =0 corresponds to Δx = Δm and υx = υm. Reproduced with permission from [4], SLP Press, 1993.
Figure 65. Normalized compensation search of Ln(υxm) vs. (Δx − Δm) for Δm = 9500, υm = 1011. Effect of varying Δe. Here, Δe decreases from Δe = 400, at the left, to Δe = 5, at the far right. Notice that Δe =0 corresponds to Δx = Δm and υx = υm. Reproduced with permission from [4], SLP Press, 1993.
Polymers 17 00239 g065
Tc1 = (1/1.987α1)
Ln(kx)c1 = αo + Ln(υm) − α1Δm
with Δe > Δeg, where Δeg is the value of Δe at point G.
Tc2 = (1/1.987α′1)
Ln(kx)c2 = Ln(υm) − α′1 Δm
with Δe < Δeg.
Could the two compensation lines of Figure 65 simulate the change in behavior at Tg for an amorphous phase analyzed by TWD? Let us consider the experimental evidence first: for a Debye relaxation map, scanning Tp from a low value below Tg, crossing Tg, and above Tg, we go from a positive compensation to a negative compensation, meaning that the value of ΔHp, the slope of the Arrhenius line, increases first with Tp, passes through a maximum value at Tg, and then decreases toward a minimum value. This maximum of ΔHp describes the typical response of an amorphous phase submitted to a voltage field stimulation according to the thermal-windowing protocol (Figure 3). Now, assuming that we can simulate the effect of Tp on the depolarization kinetics by a change in Δe on the kx relaxation kinetics, we can formulate and test the hypothesis that the compensation line below point G in Figure 65, corresponding to the higher values of Δe, simulates the Tp < Tg positive compensation and that the compensation line above point G, corresponding to lower and vanishing values of Δe, simulates the negative compensation. This would only occur if
Tc2 < Tc1
and
Ln(kx)c2 > Ln(kx)c1
The first requirement is met since α′1 > α1 in Figure 65, which, plugged into Equations (14) and (15), means that (16a) is true. The second requirement, (16b), will be met if and only if the following applies:
Ln(kx)c2 = {Ln(υm) − α′1 Δm} > Ln(kx)c1 = {αo + Ln(υm) − α1Δm}
where the expressions of Ln(kx)c1 and Ln(kx)c2 are brought in from (14) and (15), respectively. Equation (17) simplifies to the following:
Ln(υmxg) + α1xg − Δm) < (α′1 − α1m
where υxg and Δxg are the values of υx and Δx at point G, at which Δe = Δeg. Hence, we must demonstrate that
Ln(υmxg) < α′1 Δm − α1Δxg
However, at point G, we also have
Ln(υxgm) = α′1xg − Δm)
which is the transposition of y = α′1 x.
Finally, the second requirement in Equation (16b) resumes to test if Equation (21) is true:
α′1m − Δxg) < α′1 Δm − α1Δxg
Equation (21) simplifies to the following:
−α′1 Δxg < −α1Δxg
or
α′1 > α1
which is always true when Tc2 < Tc1.
In summary, the two conditions (16a) and (16b) are verified, and we can conclude that Figure 65 is the correct representation of the positive and negative compensations observed for describing interactive coupling in the amorphous phase of a homopolymer across its Tg. This analogy implies that Δe decreases as Tp increases, which is observed in Figure 65 since Δe decreases from left to right.
However, there is one remaining question to consider: Even if this solution seems to work, is it the only plausible solution? In other words, is the solution offered by Figure 65 the only possible explanation for the switchover at Tg from a positive to a negative compensation? Here are a few good reasons to remain cautious:
  • The simulation in Figure 65 is not exactly a simulation of the TWD experiment (we will return to this point). In particular, the depolarization stage in a TWD experiment is obtained under a thermal temperature ramp at a constant rate. This is not the case for the dual-split model simulations which are performed under isothermal conditions.
  • If Equations (16)–(21) were truly simulating the TWD two-compensation split at Tg, point G in Figure 65 would correspond to the Tg of the polymer system of interactions. At this point, Δe = Δeg, which can be obtained from the simulation data, and the values of Δx and Ln υx are those at point G. The crossing of the positive and negative compensations in an amorphous polymer occurs at Tp = Tg, defining the characteristics of the Z line, the line joining the two compensation points. However, the existence and the position of the break in Figure 65 are determined by the choice of the values of Δm and υm. As we will see, for certain pairs of Δm and υm, the break observed at point G in Figure 65 is not observed (see Figure 67 discussed later). This could, of course, simply mean that the choice of Δm and υm to simulate polymers should be restricted to those values that display a break conform to Figure 65 in their compensation search when Δe varies. The fact that the choice of Δm and υm is not unlimited but rather should correspond to some criteria to meet the requirements that they simulate polymers is, indeed, a reasonable proposition that we believe is true, regardless of the issue considered here.
  • However, the fact that we need to assign a certain value of Δe equal to Δeg, the value of Δe when Tp = Tg, faces various objections. The first objection is that Tg is a kinetic phenomenon observed whether a voltage field is applied or not. As indicated in Section 1.2, we attribute the freezing of the statistical populations at low temperatures to kinetic reasons. This occurs for all values of Δe, not just a specific one. The second objection is that we attribute the break in Figure 65 to the interference on the kinetics of kx of the coupling between Δe and (Δm, υm): this is what we mean by interactive coupling between the conformational states and free volume (the b/F state). The coupling is more prominent at large values of Δe, i.e., for Δe > Δeg in Figure 65, and simplifies to a pure influence of Δe alone at lower values of Δe, vanishing to 0. This has nothing to do with the Tg transition that is observed for all values of Δe. Moreover, in the simulations, the value of Δe is constant during cooling or heating; it is not a function of T. Even if, in our explanation of the compensation of ΔH and ln τo, it has been said that the value of Tp during the polarization stage fixes the value of Δe, this value remains constant during the simulation of the cooling and depolarization stages. Obviously, it is possible to change this assumption in the simulations and make Δe a function of T, but this was not the case in the simulations that resulted in Figure 65.
Our conclusion is that despite the remarkable and simple explanation provided by the break in Figure 65, we need to find another explanation for the sharp change in the compensation slope and intercept at Tg that results in a positive followed by negative compensation across Tg. We have found such an explanation, and it is not based on the change in slope in Figure 65; rather, it has to do with “grid-shifting”, which is not detailed in this review but in I.3.4.5 in [5]. Grid-shifting essentially indicates that there are three rheological temperature “scaling ranges” for the internal mobility in amorphous polymers [11,12] and that the transfer function of Equation (22) below is affected when the polarization temperature, Tp, is located in either one of these three ranges. For Tg < Tp < Tg + 25, the kinetics of molecular motion induces the elastic dissipative wave that starts to un-freeze, move around, and delocalize the (b/F) pockets of free volume around the b-grains, which remain frozen for Tp below Tg. This reorganization of the pockets of free volume is responsible for a change in the polarization nature in this temperature range above Tg, changing from electronic and atomic polarization to orientation polarization: this modifies the polarization efficiency, i.e., the ability to modify Δe at Tp. As we will see with respect to Figure 67, Figure 68, Figure 69 and Figure 70, a large initial value of Δe (E, Tp), relative to its equilibrium value, may be present in the sample at Tp, during the polarizing stage, as frozen-in internal stress was induced by mechanical treatment during the processing of the TWD sample, and such an initial Δe value present at Tp, could drastically change the depolarization behavior such as the slope and intercept of the compensation in Figure 66.
In the equations of the dual-split model (EKNETICS), the dynamics of the interactive coupling between the dual-conformers is characterized by the dissipative thermo-kinetic values, Δx and ln υx, which, as we saw, depends on the value of Δe. If we want to apply this model to the dynamics of the polarization and depolarization of the dipoles, that is, the activated or deactivated dual-conformers, we need to determine or assume the coupling equation between the voltage field, E; the polarization temperature, Tp; and Δe: Δe(Tp, E). Equation (22) below is formulated from considerations of both the dual-phase model and the thermo-kinetics of the dipoles by TSD/TWD:
Point O in Figure 65 can be associated with a temperature Tx of the polymer system of interactions for which Δe = 0. We assume that Tx is the thermodynamic value of TLL. In other words, Tx is the Tp value corresponding to Δe = 0. We still need to understand the physical meaning of Tx. At the origin O, x = y = 0, and thus υx = υm and Δx = Δm. Therefore, this state does not generate asymmetric b/F statistics, which is our definition of TLL. We view Tx as the thermodynamic (rate-independent) transposition of TLL that can only be experimentally measured by extrapolation of TLL at the zero rate. Regarding the TLL transition, we previously stated that it was the temperature of “superposition” of the b and F states; borrowing an expression from quantum mechanics, we called it “the temperature at which the b and F states become ‘transparent’ or ‘undistinguishable’”. Yet, in the dual-split statistics, a system of interactions at equilibrium is defined by three fundamental constants, namely Δm, υm, and Δeo, not simply Δm and υm. We, therefore, suggest that TLL is the temperature at which Δe (Tp) = Δeo, which provides a dynamic character to the “superposition” transition. By combining the statements above regarding the value of Δe at Tg, TLL, and Tx, we can tentatively conclude that Δe varies with Tp and the voltage field E as follows:
Δe (E, Tp) = Δeo + kF(α, μ,N) E (TLL − Tp) TLL
where E is the normalized voltage field (V/m); F is a transfer function affecting the efficiency of the modification of Δe; α, μ, and N are the polarization Debye parameters expressed in a modified generalization of the Clausius–Mosetti formulation of the dielectric constant (Equation 3.20 p. 245 of [5]); and k is a scaling constant.
At Tp = TLL; Δe = Δeo
Δe = 0 for Tp = Tx
Here, Tx is the thermodynamic value of TLL.
Δeo is also the value of Δe when the material is not dielectrically stimulated (E = 0). Note that F(α, μ,N) in Equation (22) is a transfer function between the macroscopic and the molecular world, which, for the present purpose, does not need to be discussed but can be derived from the expression of the dielectric constant, ε, as a function of the total dipole moment, permanent and induced, and the number of dipoles, N (Eq. 3.20, p. 245 in [7]). Equation (22) can be rewritten as a function of Δeg:
Δe (E, Tp) = Δeo + (Δeg − Δeo) (TLL − Tp) (TLL − Tg)
with:
Δeg = Δe (E, Tg) = Δeo + kF(α, μ,N) E (TLL − Tg) TLL
Equation (22) is assumed to couple the electrical field effect and the temperature effect, using the framework of the dual-phase concept to define interactions in dielectric materials: in other words, it is assumed that these two effects are not separable but coupled; furthermore, since TLL and Tg are rate-dependent and thus subject to thermal history, Δe(E,Tp) is also a function of time for samples out of equilibrium and a function of the annealing parameters. The true simulation of the TWD polarization and depolarization stages using the Bucci equations has been covered elsewhere (Equations (1.21)–(1.24) of I.1 in [5]) but is not what is simulated in Section 1.2 and in Figure 61, Figure 62, Figure 63, Figure 64, Figure 65, Figure 66, Figure 67, Figure 68, Figure 69 and Figure 70, which report the effect of Δe on Δx and υx for an isothermal relaxation process taking place to determine Δx and Ln(υx) at various Δe values. In other words, the TWD relaxation protocol is different from the dual-conformers relaxation protocol.
When Δm and υm take another set of constant values, the aspect of the normalized compensation search shown in Figure 65 presents notable changes, as evidenced by Figure 66 and Figure 67. Figure 66 applies to the system comprising Δm = 8750 and υm = 1012 and Figure 67 to the system comprising Δm = 9250 and υm = 1011, already analyzed in Figure 63 but now presented with an extended range of Δe values (from 5 to 900).
Figure 66. Influence of Δe on Δx and Ln υx using the normalized variables. This is the same graph as in Figure 65, except that Δm = 8,750 and υm = 1012. The point (x) for (Δx − Δm) = −268 appears to be off the line. See text. Reproduced with permission from [4], SLP Press, 1993.
Figure 66. Influence of Δe on Δx and Ln υx using the normalized variables. This is the same graph as in Figure 65, except that Δm = 8,750 and υm = 1012. The point (x) for (Δx − Δm) = −268 appears to be off the line. See text. Reproduced with permission from [4], SLP Press, 1993.
Polymers 17 00239 g066
Figure 67. Similar to Figure 65, except that Δm = 9250 and Δe ranges from 900 to 5 as the index of the points continuously decreases from point #12 to point #1 in Table 6. What may appear chaotic can be considered a network of interlaced positive and negative compensation lines (Figure 68) for Ln(υx) vs. Δx. Reproduced with permission from [4], SLP Press, 1993.
Figure 67. Similar to Figure 65, except that Δm = 9250 and Δe ranges from 900 to 5 as the index of the points continuously decreases from point #12 to point #1 in Table 6. What may appear chaotic can be considered a network of interlaced positive and negative compensation lines (Figure 68) for Ln(υx) vs. Δx. Reproduced with permission from [4], SLP Press, 1993.
Polymers 17 00239 g067
Figure 66 provides the same information as Figure 65: the existence of two compensation lines defined by points G and O and the slopes α1 and α′1 such that α′1 > α1. Again, the simulation results for a different set of Δm and υm values correspond to positive and negative compensations for Ln(kx) vs. 1/T. The differences bear on the relative positions of the compensation lines, their intercept defining Δeg, and the relative magnitude of Tc1 and Tc2. The other observable difference is the last point on the left corresponding to Δe = 400 and (Δx − Δm) = −260, on the higher Δe side of the y = αo + α1 x compensation line. This point is totally off the compensation line, as if it was due to an error. However, the simulation for this particular Δe is entirely similar to the other simulations at lower values of Δe, with the same regression accuracy in the determination of the values of kx(T) to find the corresponding Δx, Ln υx. Thus, this point is not due to a simulation error; it is real. We further analyze this apparently erratic phenomenon in Figure 67. As we said, this figure explores the same Δm, υm settings as in Figure 63 but with a much broader range of Δe values: 12 values ranging from Δe = 5 to Δe = 900. Table 6 provides the results of the simulation.
Table 6. Results of a simulation by Equations (6)–(8) of Section 1.2 with Δm = 9250, υm = 1011, and Δe constant varying between 5 and 900. Δx and Ln(υx) are the dissipative dual-phase kinetic parameters corresponding to Ln(kx) vs. 1/T, where kx is determined from Nb(t).
Table 6. Results of a simulation by Equations (6)–(8) of Section 1.2 with Δm = 9250, υm = 1011, and Δe constant varying between 5 and 900. Δx and Ln(υx) are the dissipative dual-phase kinetic parameters corresponding to Ln(kx) vs. 1/T, where kx is determined from Nb(t).
ΔeΔxLn(υx)Δx − ΔmLn(υx) − Ln(υm)
159250.7525.330950.750.00251
2259250.525.332850.50.00442
3759230.3825.29485−19.62−0.03359
41009223.4225.29295−26.58−0.03548
51509187.1625.23795−62.84−0.09048
63009048.2125.08195−201.79−0.24649
75008979.6825.32185−270.32−0.00658
86009121.6825.94725−128.32061882
96508887.6925.40105−362.310.07262
107008835.4525.37655−414.550.04812
118009129.5926.38035−120.411.05191
129008849.1125.64155−400.890.31312
Figure 67 is a normalized compensation search apparently showing one compensation line only: for points 1–6 (the other points are connected by dashed lines). The points are tagged by their row number listed in the first column of Table 6. They are sorted by increasing Δe values. The overall view of the effect of an increase in Δe for these Δm, υm settings is that, beyond a certain value, say corresponding to the end of the compensation line (1–6), the dissipative system of Δx, Ln(υx) values becomes chaotic in appearance. We drew dashed lines linking the successive points, following a continuous increase in Δe, and we observed the typical response of scattered disorder. For this particular set of values for Δm and υm, and for Δe between 0 and say 400, we observed a compensation line (1–6) susceptible to simulate a positive TWD compensation line in a compensation search of −Ln τo vs. ΔH. Beyond that value of Δe, which is a function of the choice of Δm and υm, in Figure 68, we assumed a certain order of the chaos by drawing a series of alternative positive and negative compensations, identified by the direction of the arrow connecting adjacent points. For instance, in Figure 68, the first positive compensation line (1–6) would not end at point 6 but at the intersection of line (1–6) and line (7–8), with the direction of the arrow going down for (1–6) and up for (7–8). Figure 68 uses the same data as in Figure 67 (Table 6), replotted as Ln υx vs. Δx (without the normalization of the axes by υm, Δm) to show the analogy with the compensation search of −Ln τo vs. ΔH (or ΔSp vs. ΔHp in the Eyring plane. In Figure 68, we have drawn three black lines with an arrow pointing down and two red lines with arrows pointing up. The arrows follow the tendency for the y variable, Δx, to decrease or increase within a range. The ranges are determined arbitrarily since the lines only join two points (with the exception of the first range which has six points). It would, indeed, be quite useful, in a complementary research project, to increase the number of Δe values to resolve the definition of the ranges in Figure 68 (for instance, Δe = 472.5, 550, 625, 675, 733, 766, 833, and 866). However, the main idea in this section of this review is to suggest that there is an analogy between the compensation of the −Ln(τo) vs. 1/T Arrhenius lines seen for the TWD depolarization behavior when Tp varies and the Ln(kx) vs. 1/T relaxation results of the EKNETICS when Δe varies at Δm and υm constant. The analogy associates the roles played by Tp and Δe in their respective relaxation processes, which may have consequences on our understanding of what is actually deconvoluting in a thermal-windowing procedure (see Section 3.4).
Figure 68. Same compensation search as in Figure 67 but without the normalization of the axes by Δm, υm. This presentation of the results makes the analogy of the compensation at Δe variable in Figure 68 with that of −Ln τo vs. ΔH at Tp variable in depolarization compensation searches more apparent.
Figure 68. Same compensation search as in Figure 67 but without the normalization of the axes by Δm, υm. This presentation of the results makes the analogy of the compensation at Δe variable in Figure 68 with that of −Ln τo vs. ΔH at Tp variable in depolarization compensation searches more apparent.
Polymers 17 00239 g068
The apparent multi-compensation structure assumed in Figure 68 to explain the chaos observed for large values of Δe in Figure 67 raises another analogy with a TWD behavior seen for samples put out of equilibrium by “strong” processing conditions (rheomolding treatments) before testing them by TWD. For instance, in Figure 68, as Δe decreases continuously from a high value, the “positive” lines (11–12, 8–9, and 1–6,) appear to compensate into a super-compensation, while the interlaced “negative” lines (10–11 and 3–8) compensate into another super-compensation; the analogy is with Figure 45 and Figure 46, respectively, for rheomolded sample PS_RL.
Figure 69 and Figure 70 present another angle to reveal the possible structure of Δx and Ln υx at higher values of Δe. These figures plot the variation in the normalized data, (Ln υxm) and (Δx − Δm), against Δe, shown in Figure 69 and Figure 70, respectively. The first observation is that Δx or Ln(υx) decreases when Δe increases in range 1 [points 1–6]; this correlation is the same for the other positive compensations but is the opposite for the negative compensations: (Δx or Ln(υx) increases when Δe increases. A second observation is that in range 1, a quadratic equation can be used to fit the Δe dependence of either Ln υx or Δx. This allows us to evaluate the value of Δe that ends the first range or starts the second range: we found Δe = 445 with Δx= 8835 and Ln υx = 24.6. The third observation is that there seems to be a periodic oscillation of the ups and downs for adjacent ranges, with the down values possibly aligned on the straight horizontal line in the case of (Δx – Δm) in Figure 70. These observations are possibly analogous to what was expressed in Section 2.3, Figure 41, Figure 45, and Figure 46, for instance, regarding the relaxation map for a classical amorphous polymer, polystyrene, which could be fragmented into separate groups, each with a characteristic compensation point; the number and sign of these multi-compensations depended on the thermo-mechanical history on cooling. The network of compensations (Figure 50, Figure 51 and Figure 52) revealed a simple relationship between the various compensation lines in the compensation search plane, from 50 °C below to approximately 60 °C above Tg. We concluded that the relaxation process described by the individual relaxation modes, i.e., occurring below Tg, at Tg, and above Tg, was correlated as a structure of compensations and super-compensations.
Figure 69. Variation of Ln(υxm) against Δe at υm and Δm constant, for the data of Figure 67 (Table 6). Reproduced with permission from [4], SLP Press, 1993.
Figure 69. Variation of Ln(υxm) against Δe at υm and Δm constant, for the data of Figure 67 (Table 6). Reproduced with permission from [4], SLP Press, 1993.
Polymers 17 00239 g069
Figure 70. Variation of (Δx − Δm) against Δe at Δm and υm constant, for the data of Figure 67 (Table 6). Reproduced with permission from [4], SLP Press, 1993.
Figure 70. Variation of (Δx − Δm) against Δe at Δm and υm constant, for the data of Figure 67 (Table 6). Reproduced with permission from [4], SLP Press, 1993.
Polymers 17 00239 g070
Now, the analogy between these two types of relaxations, both complex and difficult to analyze, namely the dual-phase relaxation when Δe varies “widely” and the TWD relaxation of “widely” out of equilibrium samples when Tp varies, appears to be strikingly confirmed. We just need to qualify what “widely” means for the TWD results and the dual-phase dynamics simulations.
Consider Figure 68, Figure 69 and Figure 70, in particular Figure 68, on the one end, and Figure 45, Figure 46, and Figure 57 on the other end. Could it be suggested that the network of compensations observed for the TWD thermo-kinetics of these out-of-equilibrium samples is generated by a combination of two effects on the value of Δe of the dual-phase system simulating the dynamics of the interactions when the sample is relaxing to return to its equilibrium state? The two effects that modify Δe are as follows:
  • The thermo-mechanical history during the processing of the sample;
  • The thermal–dielectric history during its TWD characterization.
The coupling of both of these affects the value of Δe(E, Tp, t) of Equation (22) in a way that brings its value to the range that appears chaotic but is in fact structured, as suggested in Figure 68. As the TWD sample anneals at different stages of the TWD protocol, for instance, as Tp increases or during depolarization at Td during a time td, and the heating stage at a constant rate, the value of Δe(E, Tp) decreases, passing through the different values of Δx, Ln υx from left to right in Figure 68, revealing the multi-compensation structure of Ln υx vs. Δx along the way.
Our tentative conclusion for Section 3.3, provided our analogy assumption is founded, is that the TWD characterization technique reveals the dissipative mechanisms of the structuration of the interactions that we have assumed are the basic assumptions controlling the behavior of polymers. In such a case, the TSD/TWD method should somehow lead to the determination of the fundamental parameters of the statistical model of polymer interactions introduced in Section 1.2. The value of Δe is equal to Δeo at equilibrium, but we cannot measure it directly, except at T = TLL. The values of υm and Δm are unknown, especially since what we are measuring are υx and Δx, except at Tx, the thermodynamic value of TLL, where Δe = 0 and υm = υx and Δm = Δm. In order to find Tx, we must modify the state of non-equilibrium of the amorphous phase by mechanical means and/or by dielectric means in order to access it by extrapolation.

3.4. Effect of the Voltage Field on the Dielectric Medium; on the Dual-Split Statistics of Interactive Coupling; New Interpretation of Thermal-Windowing and of Compensations; The Nature of What TWD Is Actually Deconvoluting; and on the Potentiality of the TWD Methodology to Find the Fundamental Parameters of the Dual-Phase Model

3.4.1. Effect of the Voltage Field on the Dielectric Medium

The voltage field (E) and the polarizing temperature (Tp) are a priori two independent variables: one can arbitrarily choose the value of E and Tp. Yet, this does not consider the interactions induced by the dielectric nature of the material exposed to such a voltage at such a temperature. In fact, the external field, Eo, triggers the presence of a different field, E, in the material and their ratio is the dielectric constant, ε = Eo/E, expressing the “polarizability”, i.e., the tendency of a material to polarize in response to an applied electrical field. The field inside the dielectric, E, is the vector sum, E = Eo + Ep, where Ep is generated by the polarization P of the dipoles in the dielectric: Ep = −P/εo, where εo is the permittivity of the vacuum. The polarization is usually proportional to the macroscopic field: Ep = −χE, where χ is called the macroscopic susceptibility of the dielectric. The susceptibility, χ, and the polarizability P = εo (ε − 1)Eo/ε are equivalent constants to express the polar nature of the chemical structure of the polymer. The Clausius–Mossotti expression of the dielectric constant (Eq. (3.20) p. 245 in [5]) correlates the molar mass of the dual conformer, its density, the total number of activated dipoles, the normalized induced moment, the permanent moment, and the Boltzmann thermal energy. In other words, the dielectric constant (ε) primarily depends on the chemical nature of the conformer (which controls the type and the magnitude of polarizability) but also varies with the physical state of the polymer, i.e., whether it is a solid, paste, liquid, or liquid crystal, in equilibrium or out of equilibrium, etc., all of which are controlled by the temperature at polarization and by the thermo-mechanical history of the sample, which also determines its non-equilibrium state. In summary, Tp, E, and ε are interactively coupled in a circular way, and the best way to describe it is with an implicit function of the type H(ε, Tp, E) = 0. This expression would greatly simplify if we could find a simple expression for the temperature dependence of ε. However, ε is the sum of various contributions: the electronic permittivity, the atomic permittivity (both quasi-time-independent, i.e., rapidly in steady state), and the dipolar (orientation) permittivity, with its characteristic spectrum of relaxation and its sluggish time dependence, characterized by τ(T). The main idea behind TSD and TWD is precisely to characterize the temperature dependence of all the relaxation times of the electronic, atomic, and molecular motions and their interdependence to create the cohesion of the bonds and relate it to the dielectric response as temperature varies. We can, therefore, rewrite the implicit equation by inserting the two constants that define the temperature dependence of τ(T): I(τoc, ΔHc, Tp, E) = 0. The subscript “c” in τoc and ΔHc stands for “compensation”, which this paper has shown to describe “ranges of similar dielectric behavior”. In the newly written implicit equation, the emphasis has shifted from the expression of ε to describe the behavior of dielectrics, the classical approach, to the compensation approach, i.e., the description of the interactive couplings between the enthalpy and entropy at different “scales”, where scales refer to the ranges of dielectric behavior. By enthalpy and entropy, we, of course, refer to the physical sense attributed to the slope and intercept in the Arrhenius plane of Ln(τ(T)) vs. 1/T but also to the x and y coordinates of compensation plots such as Ln(τo) vs. ΔH when Tp varies. By “different scales”, we symbolize the observed changes in the mechanism of interaction between the voltage field, temperature, and the dielectric material, in a way similar to, but fundamentally different from, the classical school description of the various contributions to the dielectric constants (electronic, atomic, and dipolar). In our dual-phase dissipative model of interactive coupling, the normalized variables of the master plot have two similar terms, (Δm − Δx) for the x-axis and (Ln(υm) − Ln(υx)) for the y-axis. It is shown elsewhere [7] that the “m” and “x” terms do not play the same role: only Δx and Ln(υx) vary with Δe; Δm and Ln(υm) remain constants within the “scales”, i.e., within the “three ranges of Tp” that create a master curve by “grid-shifting”. Δm, υm define the scale, and Δx, Ln(υx) define the dissipation character of the dual-phase dynamics. In summary, as detailed in another publication [Figure 3.56 p. 217 of [7]), we need both the dissipative contribution and the scale contribution to complete a one-line master plot of the network of compensation, which goes through the origin for the three scales (corresponding to the different nature of the dielectric behavior below Tg, between Tg and Tg + 25, and Tg + 25 to TLL. We have mentioned several times that above TLL (range 4), there is no compensation and no interactive coupling, and the Debye relaxations are parallel to each other as Tp increases, only shifted by the Boltzmann thermal energy, marking the end of EKNETICS.

3.4.2. Effect of the Voltage Field on the Statistics of Interactive Coupling

The dual-phase model claims that a polymer that is not disturbed by an external field (mechanical, electrical field, etc.) but is just simply submitted to thermal activation alone (cooling, heating, and annealing) behaves like a self-dissipative statistical system working at Δeo constant that generates specific EKNETICS non-equilibrium characteristics to the amorphous phase: upon cooling, a TLL temperature characteristic of the start of the EKNETICS is observed, followed by the Tg transition freezing the changes in the population dual conformation states; upon heating, its own dissipative statistics reactivates the changes in the dual conformational states at Tg until TLL is reached, marking the end of the EKNETICS dissipative statistics, followed by a classical kinetic return to equilibrium. Yet, in order to determine the values of Δeo, Δm, and υm, we need to modify the original value of Δeo by imposing either a voltage field, E, in the instances of this review (Equation (22)) or a mechanical stress field (shear and/or pressure) in other instances (Part I, Chapter 4, [13]), before freezing the sample into a glass. Then, we need to follow and characterize the changes occurring during the return to equilibrium of the sample induced by thermal activation means (DSC, TSD/TWD, DMA, etc.). Pursuant to the application of the voltage field or/and the mechanical field, the statistical dual-phase system has the same Δm, υm set of values but a different value of Δe, a “thermally dielectrically stimulated value of Δeo” (Equation (22)). Polarizing the sample at various Tp values precisely allows for changing the value of Δe in the simulation before quenching and thermally depolarizing the material. By repeating the process at various Tp values, we can practice what the dual-phase simulation does: change the value of various Δe to follow its impact on the EKNETICS. Finally, the value of Δe = Δeo is obtained by determining TLL either from TSD or DSC (Figure 36 and Figure 37) or TWD (Tp for ΔSp = 0 in the negative compensation region). The variation with Δeo in the dissipative dual-split pair (Δx, Ln(1/υx)) simulates the variation with Tp in the experimental TWD pair (ΔH, Ln(τo)). By sequentially scanning at various Tp values from a low temperature below Tg (range 1) to higher temperatures in the rubbery (range 2) or liquid state (range 3 below TLL and range 4 in the Boltzmann state), the TWD procedure essentially reveals the interactive coupling between the dual-conformers; the coupling between the conformational interactions and the free volume; and the organization of the collective set of all the interactions as a network, i.e., the existence of a global dissipative network of the interactions. We acknowledge that this interpretation of the thermally stimulated depolarization results is new and unconventional.

3.4.3. New Interpretations of “Thermal-Windowing” and “Compensations”

As far as the traditional interpretations of compensations observed by TWD are concerned [43,44,45], some reservations should be raised: these models stipulate that the entropy and enthalpy calculated from the Arrhenius spectral lines are equal to N times the value of a basic elementary unit with entropy and enthalpy ΔS #, ΔH #. In our opinion, this interpretation arising from trying to understand the “unreasonable” large values found for the magnitude of ΔH and Ln(τo) at Tg does not explain the asymmetry for ΔSp(Tp) and ΔHp(Tp) on the positive and negative sides of the Tp = Tg.peak. Moreover, these authors do not recognize the interactive coupling characteristic of the relaxation modes for Tp > Tg and thus ignore the differences between positive and negative compensations across Tg. The distinction between a positive and negative compensation at the crossing of Tg is crucial to understanding the reason why the entropy and enthalpy pass through a maximum at transitions, such as at Tg, and explaining why the behavior is asymmetrical crossing Tg. In this Section 3.4.3, we argue that our understanding of compensations in TWD experiments by analogy with compensations in the dual-phase simulations really comes down to questioning the “classical” physical meaning of thermal-windowing itself (sometimes designated “thermal sampling”): does TWD really deconvolute elementary Debye peaks, the traditional interpretation, or does it deconvolute the dual-split complexity of the interactions, as we suggest?

3.4.4. The Nature of What TWD Is Actually Deconvoluting

The interpretation of thermal-windowing as a filtering process takes its source in the description of the relaxation process of a viscoelastic material with the concept of a spectrum of relaxations. In this context, thermal-windowing, also called thermal sampling, consists of a physical deconvolution of the spectrum of relaxations to isolate its elementary Debye components. We still agree with the general statement that something needs to deconvolute, yet we now offer a different approach to what is deconvoluting. Our dual-split interpretation of the effect of the voltage field at temperature Tp is to modify the value of Δeo to become Δe according to Equation (22), which perturbs the statistical state of the dual-conformers, namely their (b/F) free volume state and their (c,g,s) spatial conformer state, resulting in a sample out of its original state. The mechanism of perturbation and the magnitude of this perturbation essentially depend on the original state of the material being polarized at Tp, whether it is a frozen glass below its T2 temperature or above its T2 temperature or a rubbery or molten polymer above its Tg (T2 is the value of the temperature that makes the Newtonian viscosity infinite in the Vogel–Fulcher equation (sometimes designated T). It is assumed that the free volume is zero at T2, removing any possibility of motion left to single conformers’ internal rotation. Hence, in order to evaluate the amount of disturbance by the application of the voltage at Tp, we need to position Tp with respect to T2; Tg; and, as we have seen, TLL. The other steps of the TWD procedure are carried out without the presence of an electric field: the return to the equilibrium state of the system, Δe = Δeo, is activated by temperature and time only, at Td, td, and during the ramp-up at constant ramp rate. We are able to observe the return to equilibrium because it involves the depolarization of what was polarized. It should be clear that the polarization step is not the only cause of the non-equilibrium state of the material. The material processing history also created a non-equilibrium state for the interactions between the dual-conformers. This is true for all amorphous matter cooled below its Tg. In summary, the return to equilibrium as temperature activates the relaxation to this stable state does not simply involve the return of what was disturbed dielectrically, but also, on top of that and/or besides that, the return to the stable state of the dual-conformers. The analysis of the depolarization stage is, therefore, the combination of the relaxation of the dielectric disturbance due to the voltage and the relaxation of the disturbance due to the effect of the temperature history on the initial dual-phase state. This relaxation occurs as soon as the temperature and/or the voltage field changes for the sample inserted in the TSD equipment. This happens at all the stages of the TWD procedure, starting with the polarizing step at Tp, the partial depolarizing at Td, and the depolarizing during the ramp-up to create the depolarization current–temperature curve. This represents a cycle. We could have stopped the procedure at the end of this first cycle and replaced the sample with a new one before repeating the procedure, but this is not what was conducted in this TWD procedure. After the first cycle, we changed Tp and repeated the same operation several times. It is important to realize that this is the same sample that had already been depolarized and annealed previously, perhaps many times already, depending on which thermal-windowing cycle we were starting. It appears that changing Tp is like changing the initial value of Δe of the sample. We are not talking, in this dual-phase explanation, about the successive relaxation of the discrete relaxations of a spectrum of relaxations, starting from the shortest relaxation times to the longest ones; we are talking of the evolution of Δe(t) for the same sample with a different value of Δe and a different value of Tp in Equation (22) at the beginning of each cycle of depolarization. In conclusion, TWD does not consist of isolating elementary peaks from other elementary peaks; it involves deconvoluting the dual-split complex nature of the interactions resulting from the kinetic and energetic factors working in duality (Equations (6)–(8)). TWD reveals the gears of the Grain-Field Statistics. This is a major difference in the theoretical interpretation of TWD.

3.4.5. On the Potentiality of the TWD Methodology to Find the Fundamental Parameters of the Dual-Phase Model

If the Grain-Field Statistics theory of the interactions (vertical and horizontal structuring) can successfully predict the properties of polymers by simulation, it becomes essential to know how to find the fundamental constants of the theory, Δm, υm, and Δeo. Is the TWD protocol or even a modified TWD protocol (a quench/isothermal annealing experiment) capable of extracting the fundamental constants of the Grain-Field Statistics from its own characteristic parameters, i.e., the free energy ΔGp, its structure ΔHp and ΔSp, the coordinates of the compensation points, the value of these parameters at Tg and TLL, etc.? For instance, Equation (22) proposes a physical correlation between the value of Δe, Tp, the voltage field E, and the dipole moment μ. Equation (23) incorporates the effect of the voltage in the expression of Δe via Δeg, so the unknown constant k can disappear from the expression. Δeg itself can be expressed in terms of Tg and Δeoe at T = TLL), and the equation of the Z line can be deducted from equations similar to Equations (14) and (15). The slopes and intercepts of the Ln(kx) vs. 1/T Arrhenius plots at various Δe (i.e., various Tp) can also be converted into enthalpy–entropy variables using the same equations used to convert the Ln(τo), ΔH plots into ΔHp and ΔSp, allowing us to define the free energy ΔGe (i.e., ΔGp) and write the compensation line equations in terms that are the same as those used to characterize the relaxation modes in the ΔG planes (ΔG = ΔHp − TΔSp). We seem to be ready to find the fundamental constants of the dual-split model: Δm, υm, and Δeo. Actually, the task is more complex than that, and it is impossible at this stage to achieve such a goal. The reason must be reemphasized again: the Ln(kx) vs. 1/T Arrhenius plots at various Δe do not provide the kinetic constants that could simulate the dynamic depolarization stage of the TWD, which is carried out at a constant heating rate and not under isothermal annealing conditions. The TWD thermal history is not a two-stage straightforward polarize/anneal process. As mentioned previously, it involves an intermediary stage, at Td, where the state of the melt is allowed to relax partially. In effect, the TWD procedure includes a short isothermal annealing step, the kind that we use in the simulation. This extra step makes the TWD procedure a three-step process, with this annealing step not recorded presently in the TSC/RMA instrument of Solomat, although it is straightforward to implement such an operation. Another way to match the depolarization history in the TWD protocol with an identical relaxation history for the dual-split simulations is to work from the simulation side and rewrite the algorithm to achieve this goal. However, we are still confronted with the choice of the parameters of the EKNETICS to implement to be able to perform such a similar protocol simulation. Moreover, we face another challenge: the variables that behave like Ln τo and ΔH are Ln(1/υx) and Δx, the dissipative values, not the Ln (1//υm) and Δm values. The only possibility to assess the values of υm and Δm is when Tp = Tx, the thermodynamic value of TLL, which can be obtained by extrapolation of TLL at the zero rate. We believe that this can be achieved experimentally for any given polymer, but in the simulation, it requires knowing the value of υm and Δm to perform cooling or heating simulations at various rates. The simulations can be repeated, indeed, by changing the values of υm and Δm, separately, and the cooling and heating simulations can be repeated at various rates to obtain the value of ln kx vs. 1/T from which Ln(υx), Δx and and the value of Tx matching the one found from the experiments can be extracted. This will necessitate a very large number of simulations. In summary, practically speaking, it appears extremely tedious, perhaps even unrealistic, to easily find the parameters of the dual-phase model by comparing results obtained by a modified TSD/TWD protocol and simulating the same protocol pursuant to the dual-split equations.

4. Conclusions

This communication reviews the comprehension of “interactive coupling” between molecular motions in amorphous polymers using data generated by thermally stimulated depolarization (TSD) and thermal-windowing deconvolution (TWD), analyzed either “classically”, pursuant to work published on the subject [1,2,3,6] or “unconventionally”, using the language of the dual-phase model of polymer interactions [10,11,12,13]. TSD and TWD are two characterization methods that involve thermally inducing polarization in dielectric samples using a voltage field followed by depolarization by heating the sample at a constant rate. TSD and TWD provide a powerful way to quantify the “thermo-kinetic” state of amorphous matter by studying the local and cooperative relaxations occurring during the depolarization stage. The understanding of the amorphous state of matter is, in our opinion, essential to understanding the glass transition, molecular motions in the rubbery and molten states, and even the fundamental mechanisms leading to crystallization from the amorphous state.
This review summarizes the fundamentals of this dielectric characterization technique using the “classical approach language”:
-
The polarization and depolarization stages, the description of the current of discharge using Bucci’s equations [14,15]; the filtering of the spectrum of relaxations to isolate various elementary Debye relaxation peaks, and the compensation of the Debye relaxation times deconvoluted by “thermal-windowing”;
-
The origin of the dipole formation, induced or permanent dipoles, and the origin of the Wagner space charges;
-
The observation of the Tg,ρ peak just above Tg and of the TLL manifestation, the spectroscopic nature in a relaxation map, and the description of their compensation and, for certain specimens (rheomolded), their multi-compensations and super-compensations (the compensation of the compensation lines themselves).
This review also introduces the “language” of a new physics of polymer interactions [10,11,12,13], the dual-phase theory, and applies it to simulate the relaxation of a closed system of dissipative dual-conformers that are assumed to be the statistical basic units that interactively couple to explain the viscoelastic properties of polymers. We use the language of this “unconventional” statistics (with the introduction of a dissipative term in the energy equation) to describe and understand the dielectric properties of amorphous polymers. It is assumed that the dual-conformers are polarized to generate the dipoles and that the space charges localize at the space around the b-grains (F-conformers). The simulations explain the dynamics of the dissipative system of dipoles upon cooling, heating, and relaxation and show, for instance, how cooling at a constant rate brings the system out of equilibrium in a way different from a non-dissipative system. The temperature at which the system starts to become dissipative (upon cooling) or ceases to be dissipative (upon heating) is assimilated to the TLL transition easily detectable by TSD and TWD manifestations. Additionally, the presence of the F-conformers (attributed to the free volume around the b-grains) attracts and localizes the Wagner space charges in the amorphous structure and explains the presence of the Tg,ρ peak in TSD experiments. The dissipative thermo-kinetics parameters, υx and Δx, which are self-generated by the inducement of the non-equilibrium states, are fundamental parameters of this new kinetics (the EKNETICS), which are associated by analogy to the thermo-kinetic parameters 1/τo and ΔH, extracted from the analysis of the relaxation map in TWD experiments. The analogy between the simulated relaxation dynamics of the dual conformer and the relaxation dynamics of the dipoles during the depolarization stage explains the structuring of their interactive coupling as positive and negative compensations across the Tg transition. The super-network of compensation structures observed for the rheomolded PS samples (brought out of equilibrium by mechanical means) can also be simulated. Interestingly, a relaxation map that appeared complex and incomprehensible at first in Figure 45 and Figure 46 turned out to have a very simple dual-phase explanation to comprehend it (Figure 68). This apparent successful theoretical breakthrough to explain compensations and super-compensations may be regarded as a sort of validation of the power of the TSD/TWD thermal analysis technique to measure up the amorphous state of electrets [5]; additionally, on the theoretical side, it may also provide the proof of the benefits of using the dual-phase statistics to simulate the properties of polymers, including to provide a coherent interpretation of the TLL and T manifestations.
There is also another dimension to this review: we argued in Section 3.4.3 that our understanding of compensations in the TWD experiments based on the analogy with compensations in the dual-phase simulations challenged the “classical” physical meaning of thermal-windowing itself (sometimes designated “thermal sampling”); the dual-phase approach suggests that thermal-windowing reflects the deconvolution of the dual-split complexity of the interactions, with Δe decreasing toward Δeo as Tp varies (Figure 68), which contradicts the classical interpretation of thermal-windowing as the deconvolution of global peaks into elementary Debye peaks. Likewise, the classical “local order” explanation of the TLL manifestations (TSD in Figure 36, TWD in Figure 11 (ΔSp = 0)) and the Tg,ρ peak (Figure 30 and Figure 31) is not consensual among the protagonist users of the TSD/TWD technology [1,2,3,6]. The interpretation of Lacabanne’s school regarding the compensation of ΔH and Ln(τo) [6] was challenged by Sauer and Moura Ramos [42], who raised the issue of whether compensation had a real physical meaning. The dual-phase response to that question validates the question of these authors by providing a new interpretation of the compensations than the classical answer. However, the questioning of the core interpretation of thermal-windowing was the good bargain used by the adepts of the current paradigm to discredit the reality of TLL, a transition notably more visible by TSD/TWD than by other technologies [40,41]. There is no theoretical resonance in the framework of the current paradigm of polymer physics for TLL and Tg,ρ [12,13]. The backers of the molecular dynamic models of polymer physics (the gatekeepers of the current paradigm) rightfully recognize the existential threat to their paradigm of the existence of the TLL transitions and claim that it is an experimental “artifact” [40,41]. Finally, the question of the negative compensations found for Tp > Tg and of the Z structure at Tg (Figure 11) is never mentioned by any of the protagonists of the TSD/TWD, (as if it was not a reality), nor by the gatekeepers of the current paradigm, who prefer to ignore all the facts that they cannot designate “artifacts”. Hence, in this context of theoretical questioning [40,41,42], it seems clear why the TSD/TWD methodology has only been partially adopted as a powerful characterization technique.
Yet, the recognition of TLL is essential, in our view [10,11,12,13,14], for the understanding of the dissipative nature of polymers pursuant to the dual-phase theory (Figure 62) and also to comprehend the logic behind the “disentanglement” processing technologies to improve the fluidity of melts (rheo-fluidification) and pellets (“sustained orientation”) benefitting their final properties [10].
In summary, we believe that a broader recognition of the merits of TSD/TWD in thermal analysis requires the correct interpretation of the TLL transition and of Tg,ρ, and, moreover, the reality of compensations [42]. This implies a clear and straightforward presentation of the facts regarding their experimental manifestations and a solid theoretical explanation of how their physical presence can be integrated with the rest of the properties of polymers. This requires, in our opinion, making advances on two fronts: 1. presenting a new understanding of the TSD/TWD results (this is the objective of this review) and 2. making the current paradigm of polymer physics (molecular dynamics) obsolete by providing a different explanation of the experimental facts by the dual-phase theoretical language. The molecular dynamic models, despite their many successes, are presently facing too many deficiencies, which continue to be ignored [12,13]. The experimental evidence for which the current paradigm of polymer physics is called deficient is explained in several papers [10,11,12,13], as well as, implicitly, in this review of the TSD/TWD results. The deficiency of the molecular dynamic models regards various aspects of the viscoelasticity of the melt: in rheology, the non-linearity of shear-thinning [10,11] and the misconception of entanglements [12]; in processing, the incapability to comprehend “sustained orientation” by rheo-fluidification [10,11,12,13]; and, in this review and in [5], failing to consider the existence of fundamental transitional behavior observed by TSD/TWD: the TLL transition and the Tg,ρ peak. The alternative dual-phase interpretation for those same experimental facts has been published for the last 10 years [5,8,10,11,12,17] and yet has not received any contradiction/interest.
In our view, “dual-conformers”, the constituents of macromolecules, gather into statistical systems that go beyond belonging to individual macromolecules. A conformer is shown in Figure 13, duplicated from reference [19]. The macromolecules themselves represent a chain of “covalent conformers” put together as an entity. The problem is to determine whether the chain properties, derived from its statistics, entirely control the dynamics of the collection of chains making up a polymer. This is what has been assumed by all the other theories, and this is what the dual-split kinetics and the Grain-Field Statistics challenge. In our opinion, this is a key issue: the currently established theoretical models of the interactions in polymers are based on “chain dynamics” statistics. In rheology, for instance, the Rouse and reptation models are dominant for M < Mc and M > Mc, respectively [11]. The conclusion obtained from the present work, based on the Grain-Field Statistics of the interactions, is that the application of macromolecular (chain) dynamic models could only be justified for conditions of use that position its temperature above the TLL transition (T > TLL). The significant problem is that the existence of TLL is not even recognized by these macromolecular dynamic models. Below TLL, the free energy of the collection of chains assembled as a polymer is not equal to the scaled-up free energy of a macromolecule embedded in a mean field created by the influence of the other macromolecules. Moreover, the temperature TLL is itself a function of the dynamics of the experiment and the chain characteristics. The dual-phase model of polymer interactions does not require, in its hypotheses and derivations, a description of the changes that occur in the individual macromolecules. The dynamic statistical systems dealt with in this model, which are used to determine the free energy and its structure (enthalpy and entropy), are not the macromolecules. However, the fact that macromolecules compose the basic structure is essential to understanding the basis of our new dual-phase statistics and explaining “entanglements”, for which the dual-phase model provides a completely different interpretation than the ones offered by the conventional macromolecular dynamic models [11,19]. A “dual conformer” is not the same as a “free conformer” (Figure 13), defined from the monomer repeat unit involved in the polymerization process. Its interaction with other conformers by covalent bonding modifies the conformational potential energy of a free conformer, and this governs the statistical properties of a free chain. When dealing with a collection of chains put together, our approach differs from the classical one. Dual-conformers belong to two types of sets: they belong to macromolecules, which link them via covalent forces, as we just said, and they belong to the grand ensemble of conformers, which are linked by inter–intramolecular forces, van der Waals forces, dipole–dipole forces, and electrostatic interactions which affect and define the viscous medium. That duality is intrinsic to conformers, which we call the “dual-conformers” to mark this specificity. The potential energy of a dual conformer is different from the potential energy of a conformer part of a free chain. To simplify, one could view the difference between our statistical model and the classical model to describe the properties of polymers as follows: According to the classical views, the statistical systems are the macromolecules, i.e., a network of chains; the properties of the chains are disturbed by the presence of other chains and by the external conditions (temperature, stress tensor, electric field, etc.). The classical definition of a statistical system as the macromolecule contrasts with our approach in which the statistical systems are the “dual-conformers”, not the macromolecules. The interactive coupling between the dual-conformers is defined by a new field of statistics, the Grain-Field Statistics, which explores the correlation between the local conformational property of the dual-conformers and their collective behavior as a dissipative network.

Funding

This research received no external funding.

Acknowledgments

I would like to thank the following collaborators who have helped me with the production of the research results discussed in this publication: J.R. Saffell, D. Gardiner, P. Denning, M. Rodrigues da Costa, A. Bernes, A. Beltzeki, C. Choy, C. Lacroix, J. Barlow, B. Favis, B. Torok, B. Aral, and A. Semenov. I would like to thank Remi Andre of Kep-Technologies Inc. for giving me free and full access to Fundamentals of Thermally Stimulated Current and Relaxation Map Analysis by J.P. Ibar, SLP Press, 1993; and Sebastian Schmitt, Manager Legal, and License at De Gruyter Publisher, Berlin, Germany, for the free reuse of my own illustrations given that their original sources are fully quoted. The sources of all the figures except Figure 43, Figure 44, Figure 45, Figure 46, Figure 47, Figure 48, Figure 49, Figure 50, Figure 51, Figure 52, Figure 53, Figure 54, Figure 55, Figure 56, Figure 57, Figure 58, Figure 59, Figure 60 and Figure 61 are in refs. [4,5] of this review.

Conflicts of Interest

The authors declare no conflict of interest.

References and Notes

  1. Lacabanne, C. Ph.D.Thesis, Université Paul Sabatier, Toulouse, France, 1974.
  2. Vanderschueren, J. Ph.D.Thesis, University of Liege, Liège, Belgium, 1974.
  3. Van Turnout, J. Thermally Stimulated Discharge of Polymer Electrets; Elsevier: Amsterdam, The Netherlands, 1975. [Google Scholar]
  4. Ibar, J.P. Fundamentals of Thermal Stimulated Current (TSC) and Relaxation Map Analysis (RMA); SLP Press: Stratford, CT, USA, 1993. [Google Scholar]
  5. Ibar, J.P. Dual-Phase Depolarization Analysis. Interactive Coupling in the Amorphous State of Polymers; de Gruyter: Berlin, Germany; Boston, MA, USA, 2022. [Google Scholar]
  6. Available online: https://www.degruyter.com/document/doi/10.1515/9783110756746-012/html.
  7. Ibar, J.P. A Dual and Cross-Dual Interpretation of Interactive Coupling of Conformers Applied to Thermally Activated Polarization and Depolarization of Polymers; TUTORIAL #3I-DPDA; ACDI Press: Irun, Spain, 2021; pp. 141–286. [Google Scholar]
  8. Ibar, J.P. Do we Need a New Theory in Polymer Physics? J. Macromol. Sci. Part C Polym. Rev. 1997, 37, 389–458. [Google Scholar] [CrossRef]
  9. Bernes, A.; Chatain, D.; Ibar, J.P.; Lacabanne, C. Polarization Phenomena in Rheomolded Polymers. In Proceedings of the 1985 5th International Symposium on Electrets, Heidelberg, Germany, 4–6 September 1985; pp. 347–350. [Google Scholar]
  10. Ibar, J.P. The Physics of Polymer Interactions. A Novel Approach; Application to Rheology and Processing; Hanser Publishers: Munich, Germany, 2019. [Google Scholar]
  11. Ibar, J.P. The Challenges Facing the Current Paradigm Describing Viscoelastic Interactions in Polymer Melts. Polymers 2023, 15, 4309. [Google Scholar] [CrossRef] [PubMed]
  12. Ibar, J.P. Raising Two More Fundamental Questions Regarding the Classical Views on the Rheology of Polymer Melts. Polymers 2024, 16, 2042. [Google Scholar] [CrossRef] [PubMed]
  13. Ibar, J.P. Dual-Phase Rheology of Polymer Melts; De Gruyter: Berlin/Heidelberg, Germany; Boston, MA, USA, projected 2025 (Part I), 2025 (part II).
  14. Bucci, C.; Fieschi, R. Ionic Thermoconductivity. Method for the Investigation of Polarization in Insulators. Phys. Rev. Lett. 1964, 12, 16. [Google Scholar] [CrossRef]
  15. Bucci, C.; Fieschi, R.; Guidi, G. Ionic Thermocurrents in Dielectrics. Phys. Rev. 1966, 148, 816. [Google Scholar] [CrossRef]
  16. Ibar, J.P. Application of Compensation Phenomena to the Thermal Analysis Characterization of Polymers: Introducing the Degree of Disorder (DOD) Number. Polym. Eng. Sci. 1991, 31, 1467. [Google Scholar] [CrossRef]
  17. Ibar, J.P.; Zhang, Z.; Li, Z.M.; Santamaria, A. Dynamic Rheological Properties of a Polycarbonate Melt Presenting Solid-Like Characteristics and a Departure from Pure Liquid Newtonian Behavior at Long Relaxation Times. J. Macromol. Sci. Part B Phys. 2015, 54, 649–710. [Google Scholar] [CrossRef]
  18. Ibar, J.P. The Grain-Field Statistics of Interactions Applied to Polymers; De Gruyter Publisher: Berin, Germany; Toronto, ON, Canada, in press.
  19. Ibar, J.P. Principles of Polymer Chemistry; Cornell University Press: Ithaca/New York, NY, USA; London, UK, 1953. [Google Scholar]
  20. Ibar, J.P. ACS PMSE Div. Proceedings. 1989, 61, 767. [Google Scholar]
  21. Ibar, J.P. ACS PMSE Div. Proceedings. 1989, 61, 753. [Google Scholar]
  22. Ibar, J.P. An Analysis of Compensation Phenomena: Description, Critical Review, Alternatives Interpretation. ACS PMSE Div. Proc. 1990, 63, 539, Fall Meeting, Washington D.C.. [Google Scholar]
  23. Ibar, J.P. A new theoretical approach to the kinetics of cooling of liquid-like structures. J. Non-Cryst. Solids 1985, 75, 215–221. [Google Scholar] [CrossRef]
  24. Ibar, J.P. Non-Equilibrium Network Deformation. A New Analysis of the Concept of Network. In In Proceedings of the IUPAC 28th Macromolecular Symposium, Amherst, Massachusetts, 12–16 July 1982. [Google Scholar]
  25. Ibar, J.P. The Tβ, Tg and TLL “Transitions”: Are these the Manifestation of a Unique Relaxation Process? Order in the Amorphous “State” of Polymers; Keinath, S.E., Miller, R.L., Rieke, J.R., Eds.; Plenum Press: New York, NY, USA, 1987. [Google Scholar]
  26. Saffell, J.R. Ph.D. Thesis, University of Cambridge, Cambridge, UK, 1979.
  27. Ibar, J.P. Self-Modulated Relaxation Dynamics: The Structure of Time; TUTORIALS # I41-GFS; ACDI Press: Irun, Spain, 2025. [Google Scholar]
  28. Lacabanne, C.; Goyaud, P.; Boyer, R.F. Thermally Stimulated Current (TSC) Study of the Tg and Tl,l Transition in Anionic Polystyrenes. J. Polym. Sci. Polym. Phys. 1980, 18, 277–284. [Google Scholar] [CrossRef]
  29. Carr, S.H. Thermally Stimulated Discharge Current Analysis of Polymers. In Electrical Properties of Polymers; Academic Press, Inc.: New York, NY, USA, 1982; Chapter 5. [Google Scholar]
  30. Gubanski, A.; Gubanski, S.M. On The Possibility on the TDS Measuring Technics Application for PET Films Thermal Endurance Estimation. In Proceedings of the 3rd International Conference on Conduction and Breakdown in Solids Dielectrics, Trondheim, Norway, 3–6 July 1989; p. 259. [Google Scholar]
  31. Ibar, J.P. Multiple Compensation Phenomena in the Amorphous Phase of Polymers. Thermochim. Acta 1991, 192, 265. [Google Scholar] [CrossRef]
  32. Ibar, J.P. A Dual Split Kinetics Interpretation of Compensation Law at the Tg of Amorphous Polymers. Thermochim. Acta 1991, 192, 297–311. [Google Scholar] [CrossRef]
  33. Ibar, J.P. Control of Polymer Properties by Melt Vibration: A Review. Polym. Eng. Sci. 2004, 38, 1–20. [Google Scholar] [CrossRef]
  34. Lacabanne, C.; Bernes, A. APS St Louis Meeting, 1989.
  35. Bernes, A.; Boyer, R.F.; Chatain, D.; Lacabanne, C.; Ibar, J.P. Thermally Stimulated Current Studies of Transitions in Amorphous Polymers. In Order in the Amorphous “State” of Polymers; Keinath, S.E., Miller, R.L., Rieke, J.R., Eds.; Plenum Press: London, UK, 1987. [Google Scholar]
  36. Faruque, H.S. Thesis, University Paul Sabatier, Toulouse, France, 1984.
  37. Faruque, H.S.; Lacabanne, C. Indian J. Pure Appl. Phys. 1987, 25, 114.
  38. Faruque, H.S.; Lacabanne, C.J. Mat. Sci. 1987, 22, 675. [CrossRef]
  39. Ibar, J.P. A New Process to Mold Polymeric Materials. Polym. Plast. Technol. Eng. 1981, 17, 11–44. [Google Scholar] [CrossRef]
  40. Boyer, R.F. Computational Modeling of Polymers; Bicerano, J., Ed.; Marcel Dekker: New York, NY, USA, 1992; pp. 1–52. [Google Scholar]
  41. Ibar, J.P. A Dual-Phase Approach to Reveal the Presence and the Impact of the TLL Transition in Polymer Melts”. Part I and Part II. J. Macromol. Sci, Part B, Physics, Volume 60, Issue 10 (2021). Both part I and II in the single issue 10 (112 pages).
  42. Sauer, B.; Moura Ramos, J.J. Comments on Compensation analysis applied to Thermally Stimulated Current Thermal Sampling. Polymer 1997, 38, 4065–4069. [Google Scholar] [CrossRef]
  43. Crine, J.P.J. A Thermodynamic Model for the Compensation Law and its Physical Significance for Polymers. J. Macromol. Sci. Part B Phys. 1984, 23, 201–219. [Google Scholar] [CrossRef]
  44. Hoffman, J.D.; Williams, G.; Passaglia, E.J. Polym. Sci. Part C Polym. Symp. 1965, 14, 141.
  45. Hoffman, J.D.; Williams, G.; Passaglia, E.J. Analysis of the α, β and γ Relaxations in Polychlorotrifluoroethylene and Polyethylene: Dielectric and Mechanical Properties. J. Polym. Sci. Part C Polym. Symp. 1966, 14, 173–235. [Google Scholar] [CrossRef]
Figure 1. Description of the steps involved in a TSD experiment (polarization, cooling, annealing, and heating) resulting in the output (a depolarization current vs. temperature) by thermal stimulation. Reproduced with permission from [4], SLP Press, 1993.
Figure 1. Description of the steps involved in a TSD experiment (polarization, cooling, annealing, and heating) resulting in the output (a depolarization current vs. temperature) by thermal stimulation. Reproduced with permission from [4], SLP Press, 1993.
Polymers 17 00239 g001
Figure 2. (a). Depolarization current vs. temperature during the thermal stimulation heating stage of Polyamide 12. (b). Depolarization current vs. temperature during the thermal stimulation heating stage for a polarization temperature near the β-transition of an amorphous polymer. Reproduced with permission from [4], SLP Press, 1993.
Figure 2. (a). Depolarization current vs. temperature during the thermal stimulation heating stage of Polyamide 12. (b). Depolarization current vs. temperature during the thermal stimulation heating stage for a polarization temperature near the β-transition of an amorphous polymer. Reproduced with permission from [4], SLP Press, 1993.
Polymers 17 00239 g002
Figure 3. Description of the steps involved in a TWD experiment to thermally deconvolute a global TSD peak into its elementary Debye components and determine the interactive coupling between the relaxation modes. Reproduced with permission from [4], SLP Press, 1993.
Figure 3. Description of the steps involved in a TWD experiment to thermally deconvolute a global TSD peak into its elementary Debye components and determine the interactive coupling between the relaxation modes. Reproduced with permission from [4], SLP Press, 1993.
Polymers 17 00239 g003
Figure 4. Current of depolarization vs. T for a TWD experiment. The polymer is PMMA. Reproduced with permission from [4], SLP Press, 1993.
Figure 4. Current of depolarization vs. T for a TWD experiment. The polymer is PMMA. Reproduced with permission from [4], SLP Press, 1993.
Polymers 17 00239 g004
Figure 5. Effect of changing the polarization temperature Tp in a TWD experiment, indicated by the arrow, on the current of depolarization vs. T plot. Reproduced with permission from [4], SLP Press, 1993.
Figure 5. Effect of changing the polarization temperature Tp in a TWD experiment, indicated by the arrow, on the current of depolarization vs. T plot. Reproduced with permission from [4], SLP Press, 1993.
Polymers 17 00239 g005
Figure 6. Conversion of the output in Figure 4 to an Arrhenius spectral line. The bottom axis is the Arrhenius scale, 1/T (K), in descending numbers; the top axis is the temperature in °C. The y-axis is the log of the relaxation time for the mode isolated by TWD at Tp. Reproduced with permission from [4], SLP Press, 1993.
Figure 6. Conversion of the output in Figure 4 to an Arrhenius spectral line. The bottom axis is the Arrhenius scale, 1/T (K), in descending numbers; the top axis is the temperature in °C. The y-axis is the log of the relaxation time for the mode isolated by TWD at Tp. Reproduced with permission from [4], SLP Press, 1993.
Polymers 17 00239 g006
Figure 7. Relaxation map in the Arrhenius plane of all the relaxation modes isolated by TWD at various Tp, as shown in Figure 5. Reproduced with permission from [4], SLP Press, 1993.
Figure 7. Relaxation map in the Arrhenius plane of all the relaxation modes isolated by TWD at various Tp, as shown in Figure 5. Reproduced with permission from [4], SLP Press, 1993.
Polymers 17 00239 g007
Figure 8. Illustration of the effect of various mechanical treatments of the melt during molding on the aspect of the relaxation map obtained by TWD of the glasses produced. Reproduced with permission from [4], SLP Press, 1993.
Figure 8. Illustration of the effect of various mechanical treatments of the melt during molding on the aspect of the relaxation map obtained by TWD of the glasses produced. Reproduced with permission from [4], SLP Press, 1993.
Polymers 17 00239 g008
Figure 9. Response of a dielectric material to an AC voltage field. A Cole–Cole plot (top) consists of a plot of ε″(f) vs. ε′(f) at a given T; a frequency map is shown at the bottom for ε″(f,T). Such plots can be calculated from the TSD/TWD response. Reproduced with permission from [4], SLP Press, 1993.
Figure 9. Response of a dielectric material to an AC voltage field. A Cole–Cole plot (top) consists of a plot of ε″(f) vs. ε′(f) at a given T; a frequency map is shown at the bottom for ε″(f,T). Such plots can be calculated from the TSD/TWD response. Reproduced with permission from [4], SLP Press, 1993.
Polymers 17 00239 g009
Figure 10. Relaxation map in the Arrhenius plane illustrated for PMMA (limited to Tp < Tg). The spectral lines obtained at various Tp converge at a compensation point. The coordinates of the compensation point are assumed to reflect the state of the amorphous phase due to the interactive coupling between the relaxation modes. Reproduced with permission from [4], SLP Press, 1993.
Figure 10. Relaxation map in the Arrhenius plane illustrated for PMMA (limited to Tp < Tg). The spectral lines obtained at various Tp converge at a compensation point. The coordinates of the compensation point are assumed to reflect the state of the amorphous phase due to the interactive coupling between the relaxation modes. Reproduced with permission from [4], SLP Press, 1993.
Polymers 17 00239 g010
Figure 11. The “Z structure” of the Tg transition with a positive compensation of the Debye relaxations for Tp < Tg and a negative compensation for Tp > Tg. The last relaxation of the interactive coupling network is the horizontal relaxation passing through the negative compensation point (log τc− = 4.77), which corresponds to Tp = TLL (ΔSp = 0), and the 1st relaxation of the interactive coupling network is the horizontal line passing through the positive compensation point (log τc+ = −0.77), which corresponds to Tβ. Reproduced with permission from [4], SLP Press, 1993.
Figure 11. The “Z structure” of the Tg transition with a positive compensation of the Debye relaxations for Tp < Tg and a negative compensation for Tp > Tg. The last relaxation of the interactive coupling network is the horizontal relaxation passing through the negative compensation point (log τc− = 4.77), which corresponds to Tp = TLL (ΔSp = 0), and the 1st relaxation of the interactive coupling network is the horizontal line passing through the positive compensation point (log τc+ = −0.77), which corresponds to Tβ. Reproduced with permission from [4], SLP Press, 1993.
Polymers 17 00239 g011
Figure 12. Compensation Search to determine the positive and negative compensation lines from a ΔG vs. T relaxation map. Reproduced with permission from [4], SLP Press, 1993.
Figure 12. Compensation Search to determine the positive and negative compensation lines from a ΔG vs. T relaxation map. Reproduced with permission from [4], SLP Press, 1993.
Polymers 17 00239 g012
Figure 13. Sketch of a covalent conformer (Figure 1.2 of [10]), after Flory’s three-bond unit [19]. Reproduced with permission from [4], SLP Press, 1993.
Figure 13. Sketch of a covalent conformer (Figure 1.2 of [10]), after Flory’s three-bond unit [19]. Reproduced with permission from [4], SLP Press, 1993.
Polymers 17 00239 g013
Figure 14. Variation in dNb/dt during cooling (q = −1) Δm = 9250, Δe = 250, υm = 1011, Bo = 1000, To = 400 K. The 1st peak observed (at ~ 300 K) is influenced by the value of the pair (Δm, υm), whereas the 2nd peak, only visible by a small hump at T~200 (K) in this Figure, is the reflection of the value of Δe on the kinetics. Reproduced with permission from [4], SLP Press, 1993.
Figure 14. Variation in dNb/dt during cooling (q = −1) Δm = 9250, Δe = 250, υm = 1011, Bo = 1000, To = 400 K. The 1st peak observed (at ~ 300 K) is influenced by the value of the pair (Δm, υm), whereas the 2nd peak, only visible by a small hump at T~200 (K) in this Figure, is the reflection of the value of Δe on the kinetics. Reproduced with permission from [4], SLP Press, 1993.
Polymers 17 00239 g014
Figure 15. Dual-split kinetic simulation. Variation in dNb/dt during cooling (q = −1). Δm = 9250, Δe = 250, υm= 1011, Bo = 1000, T = 400 (K). Reproduced with permission from [4], SLP Press, 1993.
Figure 15. Dual-split kinetic simulation. Variation in dNb/dt during cooling (q = −1). Δm = 9250, Δe = 250, υm= 1011, Bo = 1000, T = 400 (K). Reproduced with permission from [4], SLP Press, 1993.
Polymers 17 00239 g015
Figure 16. Dual-split kinetics (cooling at q = −1). Compare the simulations of the dual-split kinetics (DSK = EKNETICS) in Equations (6)–(8) and classical kinetics in Equations (1)–(3) using the same parameters (Δm = 9250, Δe = 250, υm = 1011, Bo = 1000, T = 400 (K)). Reproduced with permission from [4], SLP Press, 1993.
Figure 16. Dual-split kinetics (cooling at q = −1). Compare the simulations of the dual-split kinetics (DSK = EKNETICS) in Equations (6)–(8) and classical kinetics in Equations (1)–(3) using the same parameters (Δm = 9250, Δe = 250, υm = 1011, Bo = 1000, T = 400 (K)). Reproduced with permission from [4], SLP Press, 1993.
Polymers 17 00239 g016
Figure 17. Variation in the energetic kinetic variables ntb and ntf during cooling (q = −1). Δm = 9250, Δe = 250, υm = 1011. Reproduced with permission from [4], SLP Press, 1993.
Figure 17. Variation in the energetic kinetic variables ntb and ntf during cooling (q = −1). Δm = 9250, Δe = 250, υm = 1011. Reproduced with permission from [4], SLP Press, 1993.
Polymers 17 00239 g017
Figure 18. Variation in ntb and ncgb during cooling. Δm = 9250, Δe = 250, υm = 1011. Reproduced with permission from [4], SLP Press, 1993.
Figure 18. Variation in ntb and ncgb during cooling. Δm = 9250, Δe = 250, υm = 1011. Reproduced with permission from [4], SLP Press, 1993.
Polymers 17 00239 g018
Figure 19. Variation in Ib, If, and Ids with temperature (cooling curves). Reproduced with permission from [4], SLP Press, 1993.
Figure 19. Variation in Ib, If, and Ids with temperature (cooling curves). Reproduced with permission from [4], SLP Press, 1993.
Polymers 17 00239 g019
Figure 22. Compare Nb during heating and cooling. Δm = 9250, Δe = 250, υm = 1011, Bo = 1000. Reproduced with permission from [4], SLP Press, 1993.
Figure 22. Compare Nb during heating and cooling. Δm = 9250, Δe = 250, υm = 1011, Bo = 1000. Reproduced with permission from [4], SLP Press, 1993.
Polymers 17 00239 g022
Figure 23. Compare ntb during heating and cooling. Δm = 9250, Δe = 250, υm = 1011, Bo = 1000. Reproduced with permission from [4], SLP Press, 1993.
Figure 23. Compare ntb during heating and cooling. Δm = 9250, Δe = 250, υm = 1011, Bo = 1000. Reproduced with permission from [4], SLP Press, 1993.
Polymers 17 00239 g023
Figure 24. Phase plot of dNb/dt vs. dntb/dt for a cooling step (q = −1) followed by a heating step (q = +1), both steps followed by arrows 1 and 2 on the curve, respectively. Δm = 9250, Δe = 250, υm = 1011, Bo = 1000, T = 400 K. Reproduced with permission from [4], SLP Press, 1993.
Figure 24. Phase plot of dNb/dt vs. dntb/dt for a cooling step (q = −1) followed by a heating step (q = +1), both steps followed by arrows 1 and 2 on the curve, respectively. Δm = 9250, Δe = 250, υm = 1011, Bo = 1000, T = 400 K. Reproduced with permission from [4], SLP Press, 1993.
Polymers 17 00239 g024
Figure 25. Variation in Nb(t) on annealing at two temperatures (T1 = 313.90 K, T2 = 305.51 K). Reproduced with permission from [4], SLP Press, 1993.
Figure 25. Variation in Nb(t) on annealing at two temperatures (T1 = 313.90 K, T2 = 305.51 K). Reproduced with permission from [4], SLP Press, 1993.
Polymers 17 00239 g025
Figure 30. The TSD depolarization curve obtained for PET showing the Tg and T peaks. The T manifestation can be correlated to the free volume content in the material. Reproduced with permission from [4], SLP Press, 1993.
Figure 30. The TSD depolarization curve obtained for PET showing the Tg and T peaks. The T manifestation can be correlated to the free volume content in the material. Reproduced with permission from [4], SLP Press, 1993.
Polymers 17 00239 g030
Figure 31. The TSD depolarization curve obtained for PC showing the Tg and T peaks. The arrow indicates the temperature of polarization. Reproduced with permission from [4], SLP Press, 1993.
Figure 31. The TSD depolarization curve obtained for PC showing the Tg and T peaks. The arrow indicates the temperature of polarization. Reproduced with permission from [4], SLP Press, 1993.
Polymers 17 00239 g031
Figure 32. TSD depolarization curve obtained for an oriented compression-molded PS sample showing Tg and two other peaks above Tg. Reproduced with permission from [4], SLP Press, 1993.
Figure 32. TSD depolarization curve obtained for an oriented compression-molded PS sample showing Tg and two other peaks above Tg. Reproduced with permission from [4], SLP Press, 1993.
Polymers 17 00239 g032
Figure 33. TSD depolarization curve obtained for a mechanically pressurized and vibrated PC sample during its compression molding showing the compensation between the Tg and T peak intensity when the sample is annealed due to the repeated polarizations performed above Tg on the same sample. Reproduced with permission from [4], SLP Press, 1993.
Figure 33. TSD depolarization curve obtained for a mechanically pressurized and vibrated PC sample during its compression molding showing the compensation between the Tg and T peak intensity when the sample is annealed due to the repeated polarizations performed above Tg on the same sample. Reproduced with permission from [4], SLP Press, 1993.
Polymers 17 00239 g033
Figure 34. Variation with the thermo-mechanical history of the molded PS of the T peak perceived as a WLF curve in the Arrhenius plane after conversion using Bucci’s equation [14,15]. Reproduced with permission from [4], SLP Press, 1993.
Figure 34. Variation with the thermo-mechanical history of the molded PS of the T peak perceived as a WLF curve in the Arrhenius plane after conversion using Bucci’s equation [14,15]. Reproduced with permission from [4], SLP Press, 1993.
Polymers 17 00239 g034
Figure 35. TSD depolarization curve obtained for a vibrated oriented compression-molded PS sample (rheomolded) after polarization at Tp = 160 °C showing Tg and two other peaks above Tg. Reproduced with permission from [4], SLP Press, 1993.
Figure 35. TSD depolarization curve obtained for a vibrated oriented compression-molded PS sample (rheomolded) after polarization at Tp = 160 °C showing Tg and two other peaks above Tg. Reproduced with permission from [4], SLP Press, 1993.
Polymers 17 00239 g035
Figure 36. Variation in the position of the T peak with Tp for a static (no vibration) oriented compression-molded PS sample, exhibiting the TLL transition at 160 °C. Reproduced with permission from [4], SLP Press, 1993.
Figure 36. Variation in the position of the T peak with Tp for a static (no vibration) oriented compression-molded PS sample, exhibiting the TLL transition at 160 °C. Reproduced with permission from [4], SLP Press, 1993.
Polymers 17 00239 g036
Figure 37. The DSC trace comparison of two PS samples: the reference at the top is a compression-molded general-purpose PS. The bottom trace gives the response for a rheomolded sample, compression-molded, and vibrated at the same time while cooled. The cooling conditions were the same for both samples. Reproduced with permission from [4], SLP Press, 1993.
Figure 37. The DSC trace comparison of two PS samples: the reference at the top is a compression-molded general-purpose PS. The bottom trace gives the response for a rheomolded sample, compression-molded, and vibrated at the same time while cooled. The cooling conditions were the same for both samples. Reproduced with permission from [4], SLP Press, 1993.
Polymers 17 00239 g037
Figure 38. Schematic description of a compensation search in the EE plane to characterize the amorphous phases across their respective Tg for a two-phase system, typically a block polymer. Reproduced with permission from [4], SLP Press, 1993.
Figure 38. Schematic description of a compensation search in the EE plane to characterize the amorphous phases across their respective Tg for a two-phase system, typically a block polymer. Reproduced with permission from [4], SLP Press, 1993.
Polymers 17 00239 g038
Figure 39. Schematic description of a compensation search in the EE plane to characterize the amorphous phase across Tg for a single-phase system, typically an amorphous homopolymer. Reproduced with permission from [4], SLP Press, 1993.
Figure 39. Schematic description of a compensation search in the EE plane to characterize the amorphous phase across Tg for a single-phase system, typically an amorphous homopolymer. Reproduced with permission from [4], SLP Press, 1993.
Polymers 17 00239 g039
Figure 42. Relaxation map in the Eyring plane for a “rheomolded” compression-molded PS sample designated PS_RL. The sample is pressurized and vibrated during fast cooling in the mold. Reproduced with permission from [4], SLP Press, 1993.
Figure 42. Relaxation map in the Eyring plane for a “rheomolded” compression-molded PS sample designated PS_RL. The sample is pressurized and vibrated during fast cooling in the mold. Reproduced with permission from [4], SLP Press, 1993.
Polymers 17 00239 g042
Figure 56. ΔSp vs. Tp for PS_RL.
Figure 56. ΔSp vs. Tp for PS_RL.
Polymers 17 00239 g056
Figure 57. Revised Figure 41 considering points (4,5,6) forming a positive compensation. Additionally, note that the intercept of lines (1,2,3,4) and (4,5,6)+ is point 4, which is located on the ΔS = 0 horizontal line, perhaps indicating that the end of a negative compensation occurs for a Tp value for which ΔS = 0. Point 6 starts a new compensation for a Tp value that corresponds to ΔGg = ΔGc. See text.
Figure 57. Revised Figure 41 considering points (4,5,6) forming a positive compensation. Additionally, note that the intercept of lines (1,2,3,4) and (4,5,6)+ is point 4, which is located on the ΔS = 0 horizontal line, perhaps indicating that the end of a negative compensation occurs for a Tp value for which ΔS = 0. Point 6 starts a new compensation for a Tp value that corresponds to ΔGg = ΔGc. See text.
Polymers 17 00239 g057
Figure 58. New understanding of the PS_VA thermo-kinetics results of Table 1. Compare to the network of compensations of PS_RL in Figure 48. The negative compensations are positioned here below the positive compensation, which is the opposite of what is seen in Figure 48.
Figure 58. New understanding of the PS_VA thermo-kinetics results of Table 1. Compare to the network of compensations of PS_RL in Figure 48. The negative compensations are positioned here below the positive compensation, which is the opposite of what is seen in Figure 48.
Polymers 17 00239 g058
Figure 59. Speculative network of compensation using the geometrical criteria from the analysis of PS_RL to find the “missing” compensation points due to a lack of experimental points at lower and higher Tp. The known values are in colored text, the extrapolated ones are in black text and with an interrogation point beside them. Compare to Figure 52 for PS_RL.
Figure 59. Speculative network of compensation using the geometrical criteria from the analysis of PS_RL to find the “missing” compensation points due to a lack of experimental points at lower and higher Tp. The known values are in colored text, the extrapolated ones are in black text and with an interrogation point beside them. Compare to Figure 52 for PS_RL.
Polymers 17 00239 g059
Figure 60. ΔSp vs. Tp for PS_VA. Compare to Figure 56 for PS_RL. There is only Tg visible, and the peak of ΔSp at Tg is the expected aspect for stable samples. The 4 points at the lower Tp end correspond to the negative compensation branch of the peak expected to be found for Tg(−): a hyperbolic fit could be used to fit those points and determine the value of the Tp asymptote equal to Tg(−).
Figure 60. ΔSp vs. Tp for PS_VA. Compare to Figure 56 for PS_RL. There is only Tg visible, and the peak of ΔSp at Tg is the expected aspect for stable samples. The 4 points at the lower Tp end correspond to the negative compensation branch of the peak expected to be found for Tg(−): a hyperbolic fit could be used to fit those points and determine the value of the Tp asymptote equal to Tg(−).
Polymers 17 00239 g060
Figure 61. ΔGp vs. Tp (C) for sample PS_VA. Compare to Figure 54 for PS_RL. For this slowly cooled sample, the mechanical history resulting in internal stress appears to have vanished since the ΔGp vs. Tp returns to a straight line with a slope of 0.07 cal/m-K, as expected for stable samples. The explication of the deviation of 2 of the higher Tp points remains uncertain.
Figure 61. ΔGp vs. Tp (C) for sample PS_VA. Compare to Figure 54 for PS_RL. For this slowly cooled sample, the mechanical history resulting in internal stress appears to have vanished since the ΔGp vs. Tp returns to a straight line with a slope of 0.07 cal/m-K, as expected for stable samples. The explication of the deviation of 2 of the higher Tp points remains uncertain.
Polymers 17 00239 g061
Figure 62. Dual-split kinetic simulation (solution of Equations (6)–(8) of Section 1.2) for Δm = 9250, υm = 1011, Δe = 700. Cooling simulation from To = 515 K with the cooling rate q = −1. The two curves designate the kinetic rates for the population of ntb and Nb. TLL is the “dissipative“ temperature defined by the onset of an increase in dNb/dt. Upon cooling, TLL is the temperature at which the classical kinetics convert to EKNETICS. Upon heating (Figure 22 and Figure 23, and also Figure 37), TLL is the temperature ending the EKNETICS now returning to classical kinetics. Reproduced with permission from [4], SLP Press, 1993.
Figure 62. Dual-split kinetic simulation (solution of Equations (6)–(8) of Section 1.2) for Δm = 9250, υm = 1011, Δe = 700. Cooling simulation from To = 515 K with the cooling rate q = −1. The two curves designate the kinetic rates for the population of ntb and Nb. TLL is the “dissipative“ temperature defined by the onset of an increase in dNb/dt. Upon cooling, TLL is the temperature at which the classical kinetics convert to EKNETICS. Upon heating (Figure 22 and Figure 23, and also Figure 37), TLL is the temperature ending the EKNETICS now returning to classical kinetics. Reproduced with permission from [4], SLP Press, 1993.
Polymers 17 00239 g062
Figure 63. Ln υx vs. Δx for Δm = 9250, υm = 1011 and Δe variable. Reproduced with permission from [4], SLP Press, 1993.
Figure 63. Ln υx vs. Δx for Δm = 9250, υm = 1011 and Δe variable. Reproduced with permission from [4], SLP Press, 1993.
Polymers 17 00239 g063
Figure 64. Effect of Δe for various Δm and υm values. Note that Δe decreases from left to right (from 150 to 5). Reproduced with permission from [4], SLP Press, 1993.
Figure 64. Effect of Δe for various Δm and υm values. Note that Δe decreases from left to right (from 150 to 5). Reproduced with permission from [4], SLP Press, 1993.
Polymers 17 00239 g064
Table 5. Coordinates ΔGc and Tc of the compensation points for the 3 compensations in Figure 57 for sample PS_VA.
Table 5. Coordinates ΔGc and Tc of the compensation points for the 3 compensations in Figure 57 for sample PS_VA.
△Gc (kcal/m)Tc (°C)
Comp(1)24.83−22.37
Comp(2)+25.23108.08
Comp(3)28.6775.47
Disclaimer/Publisher’s Note: The statements, opinions and data contained in all publications are solely those of the individual author(s) and contributor(s) and not of MDPI and/or the editor(s). MDPI and/or the editor(s) disclaim responsibility for any injury to people or property resulting from any ideas, methods, instructions or products referred to in the content.

Share and Cite

MDPI and ACS Style

Ibar, J.P. Interactive Coupling Relaxation of Dipoles and Wagner Charges in the Amorphous State of Polymers Induced by Thermal and Electrical Stimulations: A Dual-Phase Open Dissipative System Perspective. Polymers 2025, 17, 239. https://doi.org/10.3390/polym17020239

AMA Style

Ibar JP. Interactive Coupling Relaxation of Dipoles and Wagner Charges in the Amorphous State of Polymers Induced by Thermal and Electrical Stimulations: A Dual-Phase Open Dissipative System Perspective. Polymers. 2025; 17(2):239. https://doi.org/10.3390/polym17020239

Chicago/Turabian Style

Ibar, Jean Pierre. 2025. "Interactive Coupling Relaxation of Dipoles and Wagner Charges in the Amorphous State of Polymers Induced by Thermal and Electrical Stimulations: A Dual-Phase Open Dissipative System Perspective" Polymers 17, no. 2: 239. https://doi.org/10.3390/polym17020239

APA Style

Ibar, J. P. (2025). Interactive Coupling Relaxation of Dipoles and Wagner Charges in the Amorphous State of Polymers Induced by Thermal and Electrical Stimulations: A Dual-Phase Open Dissipative System Perspective. Polymers, 17(2), 239. https://doi.org/10.3390/polym17020239

Note that from the first issue of 2016, this journal uses article numbers instead of page numbers. See further details here.

Article Metrics

Back to TopTop