Nafion: New and Old Insights into Structure and Function
Abstract
1. The Problem
 
      1.1. The Nafion Exclusion Zone and the 4th State of Water Controversy
1.2. The Deuterium Effect and Chirality
1.3. A Parallel Universe; the Biological Analogue between the Exclusion Zone and the Endothelial Surface Layer, Nafion and the Glycocalyx
2. Deuterium Effects Again: Materials and Methods
2.1. Reagents
2.2. Optimal Wavelength Selection for Optical Pumping (Technical)
2.3. Aspects and Elucidation of the Physical Nature of Luminescence (Technical)
2.4. Influence of Deuterium on Nafion Swelling
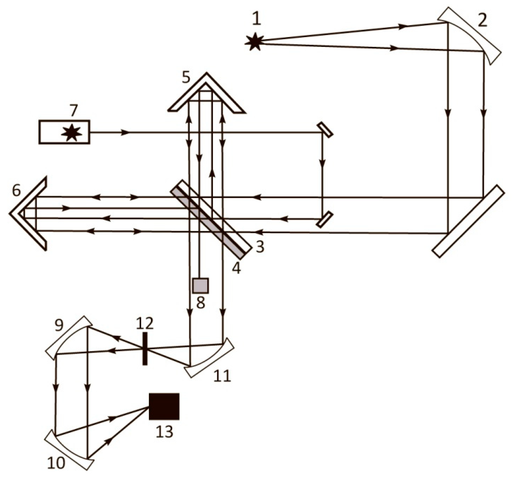
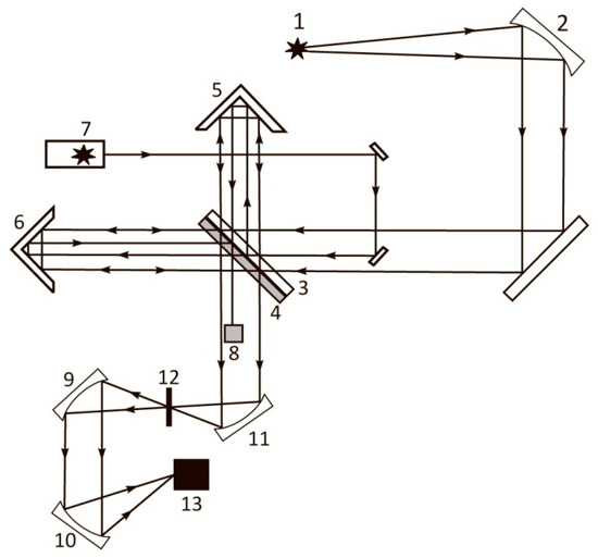
3. Laser Luminescence Diagnostics of Nafion in Liquids (Technical)
First Protocol of Photoluminescence Experiments
4. Theory for the Luminescence Measurement Technique (Technical)
4.1. Influence of Deuterium in Growth of the Exclusion Zone
4.2. Profile of Nafion Distribution
5. Spatial Distribution of Nafion in the near Surface Region
6. Nafion Swelling in a Finite Volume. Formation of Water-Free Cavity
6.1. Protocol for FTIR Experiments: Instrumentation
6.2. Transmission Spectrum in FTIR Experiments
7. Specific Electrolyte (Hofmeister) Effects
7.1. Preliminaries
7.2. Salt Effects via the Second Protocol
7.3. Parallels between the EZ and the Glycocalyx in Physiology
7.4. Very Long Range Fluctuation Forces (Technical)
8. Summing Up
Author Contributions
Funding
Institutional Review Board Statement
Informed Consent Statement
Data Availability Statement
Conflicts of Interest
References
- Kusoglu, A.; Weber, A.Z. New Insights into Perfluorinated Sulfonic-Acid Ionomers. Chem. Rev. 2017, 117, 987–1104. [Google Scholar] [CrossRef] [PubMed]
- Safronova, E.Y.; Voropaeva, D.Y.; Novikova, S.A.; Yaroslavtsev, A.B. On the Influence of Solvent and Ultrasonic Treatment on Properties of Cast Nafion (R) Membranes. Membr. Technol. 2022, 4, 39–47. [Google Scholar] [CrossRef]
- Yu, X.; Chen, X.D.; Yu, X.L.; Chen, X.P.; Ding, X.; Zhao, X.; Tang, K. Ultrahighly Sensitive QCM Humidity Sensor Based on Nafion/MoS2 Hybrid Thin Film. IEEE Trans. Electron Devices 2022, 69, 1321–1326. [Google Scholar] [CrossRef]
- Song, X.W.; Mofidfar, M.; Zare, R.N. Introducing Nafion for In Situ Desalting and Biofluid Profiling in Spray Mass Spectrometry. Front. Chem. 2022, 9, 807244. [Google Scholar] [CrossRef] [PubMed]
- Mehmandoust, M.; Mehmandoust, A.; Erk, N. Construction of a simple and selective electrochemical sensor based on Nafion/TiO2 for the voltammetric determination of olopatadine. J. Electrochem. Sci. Eng. 2022, 12, 91–103. [Google Scholar] [CrossRef]
- Islam, M.F.; Islam, M.T.; Hasan, M.M.; Rahman, M.M.; Nagao, Y.; Hasnat, M.A. Facile fabrication of GCE/Nafion/Ni composite, a robust platform to detect hydrogen peroxide in basic medium via oxidation reaction. Talanta 2022, 240, 123202. [Google Scholar] [CrossRef]
- Yesaswi, C.S.; Sreekanth, P.S.R. Characterisation of Silver-coated Teflon fabric-reinforced Nafion ionic polymer metal composite with carbon nanotubes and graphene nanoparticles. Iran. Polym. J. 2022, 31, 485–502. [Google Scholar] [CrossRef]
- Giesbrecht, P.K.; Freund, M.S. Investigation of Hydrogen Oxidation and Evolution Reactions at Porous Pt/C Electrodes in Nafion-Based Membrane Electrode Assemblies Using Impedance Spectroscopy and Distribution of Relaxation Times Analysis. J. Phys. Chem. C 2022, 126, 132–150. [Google Scholar] [CrossRef]
- Zhao, D.X.; Ru, J.; Wang, T.; Wang, Y.J.; Chang, L.F. Performance Enhancement of Ionic Polymer-Metal Composite Actuators with Polyethylene Oxide. Polymers 2022, 14, 80. [Google Scholar] [CrossRef]
- Wang, Y.; Chen, K.S.; Mishler, J.; Cho, S.; Adroher, X.C. A review of polymer electrolyte membrane fuel cells: Technology, applications, and needs on fundamental research. Appl. Energy 2011, 88, 981–1007. [Google Scholar] [CrossRef]
- Liu, L.; Chen, W.; Li, Y. An overview of the proton conductivity of nafion membranes through a statistical analysis. J. Membr. Sci. 2016, 504, 1–9. [Google Scholar] [CrossRef]
- Xu, T. Ion exchange membranes: State of their development and perspective. J. Membr. Sci. 2005, 263, 1–29. [Google Scholar] [CrossRef]
- Belov, N.A.; Pashkevich, D.S.; Alentiev, A.Y.; Tressaud, A. Effect of Direct Fluorination on the Transport Properties and Swelling of Polymeric Materials: A Review. Membranes 2021, 11, 713. [Google Scholar] [CrossRef] [PubMed]
- Ninham, B.W.; Larsson, K.; Lo Nostro, P. Two sides of the coin. Part 1. Lipid and surfactant self-assembly revisited. Colloids Surf. B Biointerfaces 2017, 152, 326–338. [Google Scholar] [CrossRef] [PubMed]
- Ninham, B.W.; Larsson, K.; Lo Nostro, P. Two sides of the coin. Part 2. Colloid and surface science meets real biointerfaces. Colloids Surf. B Biointerfaces 2017, 159, 394–404. [Google Scholar] [CrossRef]
- Ben-Barak, I.; Talmon, Y. Direct-Imaging Cryo-SEM ofNanostructure Evolution in Didodecyldimethylammonium Bromide-Based Microemulsions. Z. Phys. Chem. 2012, 226, 665–674. [Google Scholar] [CrossRef]
- Evans, D.F.; Mitchell, D.J.; Ninham, B.W. Oil, water, and surfactant: Properties and conjectured structure of simple microemulsions. J. Phys. Chem. 1986, 90, 2817–2825. [Google Scholar] [CrossRef]
- Hyde, T.; Ninham, B.W.; Zemb, T. Phase boundaries for ternary microemulsions. Predictions of a geometric model. J. Phys. Chem. 1989, 93, 1464–1471. [Google Scholar] [CrossRef]
- Pollack, G.H. The Fourth Phase of Water; Ebner and Sons Publishers: Seattle, WA, USA, 2013. [Google Scholar]
- Chai, B.H.; Pollack, G.H. Solute-Free Interfacial Zones in Polar Liquids. J. Phys. Chem. B 2010, 114, 5371–5375. [Google Scholar] [CrossRef]
- Chai, B.H.; Zheng, J.M.; Zhao, Q.; Pollack, G.H. Spectroscopic Studies of Solutes in Aqueous Solution. J. Phys. Chem. A 2008, 112, 2242–2247. [Google Scholar] [CrossRef]
- Quickenden, T.I.; Irvin, J.A. The ultraviolet absorption spectrum of liquid water. J. Chem. Phys. 1980, 72, 4416–4428. [Google Scholar] [CrossRef]
- De Almeida, S.H.; Kawano, Y. Ultraviolet-visible spectra of Nafion membrane. Eur. Polym. J. 1997, 33, 1307–1311. [Google Scholar] [CrossRef]
- Ise, N.; Sogami, I.S. Structure Formation in Solution: Ionic Polymers and Colloidal Particles; Springer: Berlin/Heidelberg, Germany, 2005. [Google Scholar]
- Konishi, T.; Ise, N. Rupture and Regeneration of Colloidal Crystals as Studied by Two-Dimensional Ultra-Small-Angle X-ray Scattering. Langmuir 2006, 22, 9843–9845. [Google Scholar] [CrossRef] [PubMed]
- Ise, N. Like likes like: Counterion-mediated attraction in macroionic and colloidal interaction. Phys. Chem. Chem. Phys. 2010, 12, 10279–10287. [Google Scholar] [CrossRef] [PubMed]
- Ise, N.; Sogami, I.S. Comment on “On the Theoryof Electrostatic Interactions in Suspensions of Charged Colloids” by Willem H. Mulder. Soil Sci. Soc. Am. J. 2010, 74, 1844–1845. [Google Scholar] [CrossRef]
- Bunkin, N.F.; Gorelik, V.S.; Kozlov, V.A.; Shkirin, A.V.; Suyazov, N.V. Colloidal Crystal Formation at the “Nafion–Water” Interface. J. Phys. Chem. B 2014, 118, 3372–3377. [Google Scholar] [CrossRef]
- Craig, H. Standard for Reporting Concentrations of Deuterium and Oxygen-18 in Natural Waters. Science 1961, 133, 1833–1834. [Google Scholar] [CrossRef]
- Scolnik, Y. Is water chiralic? (Experimental evidence of chiralpreference of water). In Aqua Incognita: Why Ice Floats on Water and Galileo 400 Years On; Lo Nostro, P., Ninham, B.W., Eds.; Connor Court Publishing Pty Ltd.: Ballarat, Australia, 2014; Chapter VIII; pp. 179–192. [Google Scholar]
- Tikhonov, V.I.; Volkov, A.A. Separation of Water into Its Ortho and Para Isomers. Science 2002, 296, 2363. [Google Scholar] [CrossRef]
- Bunkin, N.F.; Shkirin, A.V.; Kozlov, V.A.; Ninham, B.W.; Uspenskaya, E.V.; Gudkov, S.V. Near-surface structure of Nafion in deuterated water. J. Chem. Phys. 2018, 149, 164901. [Google Scholar] [CrossRef]
- Bunkin, N.F.; Kozlov, V.A.; Shkirin, A.V.; Ninham, B.W.; Balashov, A.A.; Gudkov, S.V. Dynamics of Nafion membrane swelling in H2O/D2O mixtures as studied using FTIR technique, J. Chem. Phys. 2018, 148, 124901. [Google Scholar] [CrossRef]
- Ninham, B.W.; Reines, B.; Battye, M.; Thomas, P. Pulmonary surfactant and COVID-19: A new synthesis. Q. Rev. Biophys. Discov. 2022, 3, e6. [Google Scholar] [CrossRef]
- Reines, B.P.; Ninham, B.W. Structure and function of the endothelialsurface layer: Unraveling the nanoarchitecture of biological surfaces. Q. Rev. Biophys. 2019, 52, e13. [Google Scholar] [CrossRef]
- Owen, T. Fundamentals of Modern UV-Visible Spectroscopy: A Primer; Agilent Technologies: Boeblingen, Germany, 2000. [Google Scholar]
- Lakowicz, J.R. Principles of Fluorescence Spectroscopy; Springer: Boston, MA, USA, 2006. [Google Scholar]
- Bass, M.; Berman, A.; Singh, A.; Konovalov, O.; Freger, V. Surface-induced micelle orientation in Nafion films. Macromolecules 2011, 44, 2893–2899. [Google Scholar] [CrossRef]
- Bitsadze, A.V. Integral Equations of First Kind; World Scientific Publishing Co., Pte. Ltd.: Singapore, 1995. [Google Scholar]
- Bunkin, N.F.; Astashev, M.E.; Bolotskova, P.N.; Kozlov, V.A.; Kravchenko, A.O.; Nagaev, E.I.; Okuneva, M.A. Possibility to Alter Dynamics of Luminescence from Surface of Polymer Membrane with Ultrasonic Waves. Polymers 2022, 14, 2542. [Google Scholar] [CrossRef]
- Berne, B.J.; Pecora, R. Dynamic Light Scattering; Krieger: Malabar, FL, USA, 1990. [Google Scholar]
- Chu, B. Laser Light Scattering; Academic Press: New York, NY, USA, 1974. [Google Scholar]
- Zetasizer Nano User Manual; Malvern Instruments Ltd., Enigma Business Park: Malvern, UK, 2013.
- Ninham, B.W.; Bolotskova, P.N.; Gudkov, S.V.; Juraev, Y.; Kiryanova, M.S.; Kozlov, V.A.; Safronenkov, R.S.; Shkirin, A.V.; Uspenskaya, E.V.; Bunkin, N.F. Formation of water-free cavity in the process of Nafion swelling in a cell of limited volume; effect of polymer fibers unwinding. Polymers 2020, 12, 2888. [Google Scholar] [CrossRef]
- Ninham, B.W.; Bolotskova, P.N.; Gudkov, S.V.; Baranova, E.N.; Kozlov, V.A.; Shkirin, A.V.; Vu, M.T.; Bunkin, N.F. Nafion Swelling in Salt Solutions in a Finite Sized Cell: Curious Phenomena Dependent on Sample Preparation Protocol. Polymers 2022, 14, 1511. [Google Scholar] [CrossRef] [PubMed]
- Workman, J., Jr.; Weyer, L. Practical Guide and Spectral Atlas for Interpretive Near-Infrared Spectroscopy; CRC Press: Boca Raton, FL, USA, 2013. [Google Scholar]
- Hyde, S.; Andersson, S.; Larsson, K.; Blum, Z.; Landh, T.; Lidin, S.; Ninham, B.W. The Language of Shape; the Role of Curvature in Condensed Matter, Physics, Chemistry and Biology; Elsevier Science B.V.: Amsterdam, The Netherlands, 1997. [Google Scholar]
- Ingle, J.D.; Crouch, S.R. Spectrochemical Analysis; Englewood Cliffs: Prentice Hall, NJ, USA, 1988. [Google Scholar]
- Craig, V.S.J.; Ninham, B.W.; Pashley, R.M. Effect of electrolytes on bubble coalescence. Nature 1993, 364, 317–319. [Google Scholar] [CrossRef]
- Craig, V.S.J.; Ninham, B.W.; Pashley, R.M. The effect of electrolytes on bubble coalescence in water. J. Phys. Chem. 1993, 97, 10192–10197. [Google Scholar] [CrossRef]
- Henry, C.L.; Craig, V.S.J. Inhibition of bubble coalescence by osmolytes: Sucrose, other sugars, and urea. Langmuir 2009, 25, 11406–11412. [Google Scholar] [CrossRef] [PubMed]
- Craig, V.S.J.; Henry, C.L. Inhibition of bubble coalescence by salts and sugars. In Proceedings of the XXV International Mineral Processing Congress, IMPC Proceedings, Brisbane, Australia, 6–10 September 2010; pp. 1814–1826. [Google Scholar]
- Ninham, B.W.; Lo Nostro, P. Unexpected Properties of Degassed Solutions. J. Phys. Chem. B 2020, 124, 7872–7878. [Google Scholar] [CrossRef] [PubMed]
- Ninham, B.W.; Pashley, R.M.; Lo Nostro, P. Surface forces: Changing concepts and complexity with dissolved gas, bubbles, salt and heat. Curr. Opin. Col. Int. Sci. 2016, 27, 25–32. [Google Scholar] [CrossRef]
- Yurchenko, S.O.; Shkirin, A.V.; Ninham, B.W.; Sychev, A.A.; Babenko, V.A.; Penkov, N.V.; Kryuchkov, N.P.; Bunkin, N.F. Ion-Specific and Thermal Effects in the Stabilization of the Gas Nanobubble Phase in Bulk Aqueous Electrolyte Solutions. Langmuir 2016, 32, 11245–11255. [Google Scholar] [CrossRef]
- Bunkin, N.F.; Ninham, B.W.; Ignatiev, P.S.; Kozlov, V.A.; Shkirin, A.V.; Starosvetskiy, A.V. Long-Lived Nanobubbles of dissolved Gas in Aqueous Solutions of Salts and Erythocyte Suspensions. J. Biophotonics 2011, 4, 150–164. [Google Scholar] [CrossRef] [PubMed]
- Mohanty, U.; Ninham, B.W.; Oppenheim, I. Dressed polyions, counterion condensation, and adsorption excess in polyelectrolyte solutions. Proc. Natl. Acad. Sci. USA 1996, 93, 4342–4344. [Google Scholar] [CrossRef]
- Blum, Z.; Lidin, S. DNA packing in chromatine, a manifestation of the Bonnet transformation. Acta Chem. Scand. B 1988, 42, 417–422. [Google Scholar] [CrossRef] [PubMed]
- Cheng, Y.; Moraru, C.I. Long-range interactions keep bacterial cells from liquid-solid interfaces: Evidence of a bacteria exclusion zone near Nafion surfaces and possible implications for bacterial attachment. Col. Surf. B Biointerfaces 2018, 162, 16–24. [Google Scholar] [CrossRef] [PubMed]
- Goodsell, D.S. The Machinery of Life; Springer Science + Business Media: New York, NY, USA, 2009. [Google Scholar]
- Kolářová, H.; Ambrůzová, B.; Švihálková-Šindlerová, L.; Klinke, A.; Kubala, L. Modulation of endothelial glycocalyx structure under inflammatory conditions. Mediat. Inflamm. 2014, 2014, 694312. [Google Scholar] [CrossRef]
- Van den Berg, B.M.; Vink, H.; Spaan, J.A. The endothelial glycocalyx protects against myocardial edema. Circ. Res. 2003, 92, 592–594. [Google Scholar] [CrossRef]
- Chan, D.; Mitchell, D.J.; Ninham, B.W.; White, L.R. Conformation of a non-interacting polymer near a “sticky” wall. J. Chem. Soc., Faraday Trans. 1975, 2, 235–268. [Google Scholar] [CrossRef]
- Richmond, P.; Davies, B.; Ninham., B.W. Van der Waals attraction between conducting molecules. Phys. Lett. A 1972, 39, 301–302. [Google Scholar] [CrossRef]
- Richmond, P.; Davies, B. Many body forces between long conducting molecules, Mol. Phys. 1972, 24, 1165–1168. [Google Scholar]
- Davies, B.; Ninham, B.W.; Richmond, P. Van der Waals forces between thin cylinders: New features due to conduction processes. J. Chem. Phys. 1973, 58, 744–750. [Google Scholar] [CrossRef]































| (Y0)DI_water × 104 | (Y0)DDW × 104 | (Y0)DI_water/(Y0)DDW | |
|---|---|---|---|
| LiCl | 2.6 | 2 | 1.3 ≈ 1 | 
| NaCl | 2.7 | 3.6 | 0.3 | 
| KCl | 5.4 | 2.1 | 2.6 ≈ 3 | 
| CsCl | 2.9 | 3.4 | 0.9 ≈ 1 | 
| (Y0)DI_water × 104 | (Y0)DDW × 104 | (Y0)DI_water/(Y0)DDW | |
|---|---|---|---|
| LiCl | 1.8 | 2.7 | 0.7 ≈ 1 | 
| NaCl | 3.1 | 1.9 | 1.6 ≈ 2 | 
| KCl | 5.1 | 3.6 | 1.4 | 
| CsCl | 2.1 | 4.7 | 0.4 | 
| (Y0)DI_water × 104 | (Y0)DDW × 104 | (Y0)DI_water/(Y0)DDW | |
|---|---|---|---|
| LiCl | 1.7 | 2.6 | 0.7 ≈ 1 | 
| NaCl | 4.7 | 2.7 | 1.7 ≈ 2 | 
| KCl | 3.3 | 2.8 | 1.2 ≈ 1 | 
| CsCl | 2.9 | 1 | 2.9 ≈ 3 | 
| Disclaimer/Publisher’s Note: The statements, opinions and data contained in all publications are solely those of the individual author(s) and contributor(s) and not of MDPI and/or the editor(s). MDPI and/or the editor(s) disclaim responsibility for any injury to people or property resulting from any ideas, methods, instructions or products referred to in the content. | 
© 2023 by the authors. Licensee MDPI, Basel, Switzerland. This article is an open access article distributed under the terms and conditions of the Creative Commons Attribution (CC BY) license (https://creativecommons.org/licenses/by/4.0/).
Share and Cite
Ninham, B.W.; Battye, M.J.; Bolotskova, P.N.; Gerasimov, R.Y.; Kozlov, V.A.; Bunkin, N.F. Nafion: New and Old Insights into Structure and Function. Polymers 2023, 15, 2214. https://doi.org/10.3390/polym15092214
Ninham BW, Battye MJ, Bolotskova PN, Gerasimov RY, Kozlov VA, Bunkin NF. Nafion: New and Old Insights into Structure and Function. Polymers. 2023; 15(9):2214. https://doi.org/10.3390/polym15092214
Chicago/Turabian StyleNinham, Barry W., Matthew J. Battye, Polina N. Bolotskova, Rostislav Yu. Gerasimov, Valery A. Kozlov, and Nikolai F. Bunkin. 2023. "Nafion: New and Old Insights into Structure and Function" Polymers 15, no. 9: 2214. https://doi.org/10.3390/polym15092214
APA StyleNinham, B. W., Battye, M. J., Bolotskova, P. N., Gerasimov, R. Y., Kozlov, V. A., & Bunkin, N. F. (2023). Nafion: New and Old Insights into Structure and Function. Polymers, 15(9), 2214. https://doi.org/10.3390/polym15092214
 
        



 
       