Development of Equipment for Injection Molding of Polymer Products Filled with Recycled Polymer Waste
Abstract
1. Introduction
2. Materials and Methods
3. Results
3.1. Mathematical Model of Polymer Melt Motion in Mold Cavity
- Boundary conditions near solid surfaces. According to [27], we assume that at the points where the polymer melt touches solid walls, its velocity goes to zero, i.e., at the points of contact of polymer melt with solid walls, its normal and the tangent velocity components are equal to zero: u = 0, υ = 0. The boundary conditions for pressure near solid walls and on the axis of symmetry are unknown, they can be found from the system of Equation (8) by substituting the limiting velocities in them.
- Boundary conditions at the entrance to the mold cavity. According to [25], one of the components of the velocity vector is given here. The initial conditions of the problem are the values of velocities and pressure at the initial time.
- Boundary conditions on the free surface. On the free surface, where polymer melt is assumed to flow out of the region under consideration, so-called "soft" boundary conditions are applied. Here, we assume the equality of normal pressure derivatives and velocity components to zero:
- -
- Boundary cells, in which the conditions are met near solid surfaces of the mold cavity, at the entrance to the mold cavity, on the axis of symmetry;
- -
- Full cells that contain markers and are surrounded by other full cells;
- -
- Empty cells that do not contain markers; and
- -
- Surface cells that contain markers but border on empty cells.
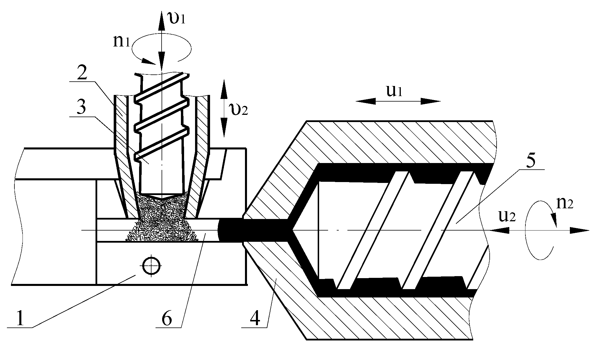
3.2. Simulation of Mold Cavity Filling Process with Polymer Melt-Containing Inclusions
3.3. Design of Mold and Device for Feeding Particles of Recycled Waste
3.3.1. Mold for Making Soles Using Mixture of Polymer Melt and Recycled Waste
3.3.2. Parameters of Device for Feeding Recycled Waste Particles into Inlet Channel of Mold
4. Discussion
5. Conclusions
Author Contributions
Funding
Conflicts of Interest
References
- Gu, F.; Guo, J.; Zhang, W.; Summers, P.A.; Hall, P. From waste plastics to industrial raw materials: A life cycle assessment of mechanical plastic recycling practice based on a real-world case study. Sci. Total Environ. 2017, 601, 1192–1207. [Google Scholar] [CrossRef]
- Eriksen, M.K.; Pivnenko, K.; Olsson, M.E.; Astrup, T.F. Contamination in plastic recycling: Influence of metals on the quality of reprocessed plastic. Waste Manag. 2018, 79, 595–606. [Google Scholar] [CrossRef]
- Garcia, J.M.; Robertson, M.L. The future of plastics recycling. Science 2017, 358, 870–872. [Google Scholar] [CrossRef]
- Nakatani, J.; Konno, K.; Moriguchi, Y. Variability-based optimal design for robust plastic recycling systems. Resour. Conserv. Recycl. 2017, 116, 53–60. [Google Scholar] [CrossRef]
- Rahimi, A.; García, J.M. Chemical recycling of waste plastics for new materials production. Nat. Rev. Chem. 2017, 1, 0046. [Google Scholar] [CrossRef]
- Aldas, M.; Paladines, A.; Valle, V.; Pazmiño, M.; Quiroz, F. Effect of the Prodegradant-Additive Plastics Incorporated on the Polyethylene Recycling. Hindawi Int. J. Polym. Sci. 2018. Available online: https://www.hindawi.com/journals/ijps/2018/2474176/ (accessed on 15 October 2019). [CrossRef]
- Satapathy, S. An analysis of barriers for plastic recycling in the Indian plastic industry. Benchmarking 2017, 24, 415–430. [Google Scholar] [CrossRef]
- Vazquez, Y.V.; Barbosa, S.E. Recycling of mixed plastic waste from electrical and electronic equipment. Added value by compatibilization. Waste Manag. 2016, 53, 196–203. [Google Scholar] [CrossRef]
- Yin, F.; Xue, L.; Liu, Z.; Li, L.; Wang, C. Structure optimization of separating nozzle for waste plastic recycling. Procedia CIRP 2019, 80, 572–577. [Google Scholar] [CrossRef]
- Kosior, E.; Mitchell, J.; Crescenzi, I. Plastics Recycling. Plast. Environ. 2018, 47, 156–176. [Google Scholar]
- Apoorva, R.; Cardoza, G.F.; Shetty, A.S.; Sujayakumar, G. Design and Fabrication of Plastic Recycling Unit Using Solar and Electrical Heating System. Int. J. Mach. Des. Manuf. 2019, 5, 14–22. [Google Scholar]
- Mondal, M.K.; Bose, B.P.; Bansal, P. Recycling waste thermoplastic for energy efficient construction materials: An experimental investigation. J. Environ. Manag. 2019, 240, 119–125. [Google Scholar] [CrossRef] [PubMed]
- Awoyera, P.O.; Adesina, A. Plastic wastes to construction products: Status, limitations and future perspective. Case Stud. Constr. Mater. 2020, 12, e00330. [Google Scholar] [CrossRef]
- Grigore, M.E. Methods of Recycling, Properties and Applications of Recycled Thermoplastic Polymers. Recycling 2017, 2, 24. [Google Scholar] [CrossRef]
- Fazli, A.; Rodrigue, D. Waste rubber recycling: A review on the evolution and properties of thermoplastic elastomers. Materials 2020, 13, 782. [Google Scholar] [CrossRef]
- Delva, L.; Ragaert, K.; Degrieck, J.; Cardon, L. The effect of multiple extrusions on the properties of montmorillonite filled polypropylene. Polymers 2014, 6, 2912–2927. [Google Scholar] [CrossRef]
- Zander, N.E. Recycled polymer feedstocks for material extrusion additive manufacturing. In Polymer-Based Additive Manufacturing: Recent Developments; Seppala, J.E., Kotula, A.P., Snyder, C.R., Eds.; American Chemical Society: Washington, DC, USA, 2019; pp. 37–51. [Google Scholar]
- Spoerk, M.; Arbeiter, F.; Raguž, I.; Holzer, C.; Gonzalez-Gutierrez, J. Mechanical recyclability of polypropylene composites produced by material extrusion-based additive manufacturing. Polymers 2019, 11, 1318. [Google Scholar] [CrossRef]
- Mantiya, F.L. Recycling of Plastics; Zaykov, G.E., Ed.; Professiya: Saint Petersburg, Russia, 2006; 400p. [Google Scholar]
- Musiał, J.; Horiashchenko, S.; Polasik, R.; Musiał, J.; Kałaczyński, T.; Matuszewski, M.; Śrutek, M. Abrasion wear resistance of polymer constructional materials for rapid prototyping and tool-making industry. Polymers 2020, 12, 873. [Google Scholar] [CrossRef]
- Chandran, S.; Baschnagel, J.; Cangialosi, D.; Fukao, K.; Glynos, E.; Janssen, L.M.; Müller, M.; Muthukumar, M.; Steiner, U.; Xu, J.; et al. Processing pathways decide polymer properties at the molecular level. Macromolecules 2019, 52, 7146–7156. [Google Scholar] [CrossRef]
- Synyuk, O.; Skyba, M. Improvement of footwear molding machines for the production of the advanced reliability items. In The 11th World Congress in Mechanism and Machine Science; Tian, H., Ed.; School of Mechanical Engineering, Tianjin University: Tianjin, China, 2004; Volume 5, pp. 2212–2216. [Google Scholar]
- Mandzyuk, I.A. Development of Scientific Bases of Recycling Technologies of Polymer Waste in Materials and Details of Footwear and Other Products of Light Industry; Khmelnytskyi National University: Khmelnytskyi, Ukraine; Kyiv National University of Technologies and Design: Kyiv, Ukraine, 2012. [Google Scholar]
- White, F.M. Fluid Mechanics, 7th ed.; McGraw-Hill Companies, Inc.: New York, NY, USA, 2011; 862p. [Google Scholar]
- Kulik, T.; Synyuk, O.; Zlotenko, B. Modeling a process of filling the mold during injection molding of polymeric parts. East.-Eur. J. Enterp. Technol. 2017, 5, 70–77. [Google Scholar] [CrossRef]
- Synyuk, O.M.; Skyba, M.E.; Zlotenko, B.M. Numerical modeling of the process of filling the cavity of the mold of complex configuration. Bull. Technol. Univ. Podillya Tech. Sci. 2004, 5, 49–52. [Google Scholar]
- Skyba, M.; Synyuk, O. Improvement of press-forms for polymeric items molding. In Archives of Foundry; Polish Academy of Sciences Branch Katowice Foundry Commission: Katowice, Poland, 2004; Volume 4, pp. 235–248. [Google Scholar]
- Brazel, C.S.; Rosen, S.L. Fundamental Principles of Polymeric Materials; John Wiley & Sons: Hoboken, NJ, USA, 2012; 407p. [Google Scholar]
- Synyuk, O.M. The problem of the evolution of the contact line of the three phases in the process of movement of the polymer in the mold. In Modern Technologies in Mechanics: Proceedings of the International Scientific and Technical Conference, 21–23 April 2016; Khmelnitsky National University: Khmelnitsky, Ukraine, 2016; pp. 172–174. [Google Scholar]
- Synyuk, O.M. Modeling of elastic recovery of a jet coming out of a forming head. Bull. Kherson Natl. Tech. Univ. 2016, 4, 203–212. [Google Scholar]
- Synyuk, O.M. Modeling of the melt filling process of the cavity of the mold with reinforcing elements. Bull. Khmelnitsky Natl. Univ. 2017, 1, 251–257. [Google Scholar]
- Skyba, M.Y.; Synyuk, O.M.; Zlotenko, B.M. Model of changing the stressed-deformed state of a polymer sheet during stretching. Sci. Bull. Natl. Min. Univ. 2019, 1, 83–89. [Google Scholar] [CrossRef]
- Synyuk, O.M. Development of molds for casting polymer products. In Technical and Economic Assistance to Business Development: Proceedings of the II International Polish-Ukrainian Scientific Conference, 13–14 October 2005; Krakow Polytechnic Named after Tadeusz Kosciuszko: Krakow, Poland, 2005; pp. 287–296. [Google Scholar]
- Sinyuk, O.M.; Kulik, T.I.; Zlotenko, B.M. Injection Mold for Plastics. Ukraine Patent 10,263, 15 November 2005. [Google Scholar]
- Ossvald, T.A.; Tung, L.-S.; Graemann, P.J. Molding Plastics under Pressure; Kalincheva, E.L., Ed.; Professiya: St. Petersburg, Russia, 2006; 712p. [Google Scholar]
- Torner, R.V.; Akutin, M.S. Equipment for Plastics Processing Plants; Chemistry: Moscow, Russia, 1986; 400p. [Google Scholar]
- Skyba, M.E.; Synyuk, O.M.; Mykhailovsky, A.Y. Mathematical modeling of the influence of the geometry of the auger and the kinematic parameters of its motion on the movement of the granular polymer during injection molding. Bull. Khmelnitsky Natl. Univ. 2015, 5, 38–45. [Google Scholar]
- Synyuk, O.M. Influence of friction on volumetric productivity of moving waste of polymeric material in the screw conveyor. Probl. Tribol. 2016, 2, 89–96. [Google Scholar]
- Horiashchenko, S.; Horiashchenko, K.; Musial, J. Methodology of measuring spraying the droplet flow of polymers from nozzle. Mechanika 2020, 26, 82–86. [Google Scholar] [CrossRef]
- Sagirov, S.N. Investigation and modeling of the polymer motion process in a single-screw extruder. Fundam. Res. Tech. Sci. 2011, 12, 179–183. [Google Scholar]
- Zelensky, E.S.; Cuperman, A.M.; Gorbatkina, Y.A.; Ivanova-Mumzhieva, B.G.; Berlin, A.A. Reinforced plastics are modern construction materials. Rus. Chem. J. 2001, 2, 56–74. [Google Scholar]














Publisher’s Note: MDPI stays neutral with regard to jurisdictional claims in published maps and institutional affiliations. |
© 2020 by the authors. Licensee MDPI, Basel, Switzerland. This article is an open access article distributed under the terms and conditions of the Creative Commons Attribution (CC BY) license (http://creativecommons.org/licenses/by/4.0/).
Share and Cite
Synyuk, O.; Musiał, J.; Zlotenko, B.; Kulik, T. Development of Equipment for Injection Molding of Polymer Products Filled with Recycled Polymer Waste. Polymers 2020, 12, 2725. https://doi.org/10.3390/polym12112725
Synyuk O, Musiał J, Zlotenko B, Kulik T. Development of Equipment for Injection Molding of Polymer Products Filled with Recycled Polymer Waste. Polymers. 2020; 12(11):2725. https://doi.org/10.3390/polym12112725
Chicago/Turabian StyleSynyuk, Oleg, Janusz Musiał, Borys Zlotenko, and Tetiana Kulik. 2020. "Development of Equipment for Injection Molding of Polymer Products Filled with Recycled Polymer Waste" Polymers 12, no. 11: 2725. https://doi.org/10.3390/polym12112725
APA StyleSynyuk, O., Musiał, J., Zlotenko, B., & Kulik, T. (2020). Development of Equipment for Injection Molding of Polymer Products Filled with Recycled Polymer Waste. Polymers, 12(11), 2725. https://doi.org/10.3390/polym12112725

