Next Article in Journal
Polymeric Coatings with Antimicrobial Activity: A Short Review
Previous Article in Journal
Effect of Different Bond Parameters on the Mechanical Properties of FRP and Concrete Interface
 
 
Font Type:
Arial Georgia Verdana
Font Size:
Aa Aa Aa
Line Spacing:
Column Width:
Background:
Article

Modification of Poly(4-methyl-2-pentyne) in the Supercritical Fluid Medium for Selective Membrane Separation of CO2 from Various Gas Mixtures

1
A.V. Topchiev Institute of Petrochemical Synthesis RAS, Leninsky pr., 29, 119991 Moscow, Russian
2
Kurnakov Institute of General and Inorganic Chemistry RAS, Leninsky pr., 31, 119991 Moscow, Russian
3
Institute of Polymer Research, Helmholtz-Zentrum Geesthacht, Max-Planck-Strasse 1, 21502 Geesthacht, Germany
*
Authors to whom correspondence should be addressed.
Polymers 2020, 12(11), 2468; https://doi.org/10.3390/polym12112468
Submission received: 18 September 2020 / Revised: 19 October 2020 / Accepted: 20 October 2020 / Published: 24 October 2020
(This article belongs to the Section Polymer Applications)

Abstract

The modification of highly permeable films of brominated 1,2-disubstituted polyacetylene, poly(4-methyl-2-penthyne), via incorporation of in situ formed butylimidazolium bromide is reported for the first time. Principal possibility and efficiency of supercritical CO2 and CHF3 use as reaction media for the corresponding process, namely for quaternization of butylimidazole by brominated polymer are revealed. As a result, we prepared new membrane materials possessing promising properties such as stability toward organic solvents, good mechanical properties and significantly improved CO2-selectivity while maintaining gas permeability at high values. Comparative analysis of the results allowed us to determine content and conditions for the incorporation of butylimidazolium groups optimal for most efficient separation of CO2 from industrial gas mixtures. These results are of interest for the designing of new CO2 selective membranes.

Graphical Abstract

1. Introduction

The problem of CO2 separation from industrial gas streams of various compositions is among most prominent ecological challenges due to well-known greenhouse effect of carbon dioxide provoking considerable climate changes. Currently, various methods are intensively investigated in this respect, e.g., chemical and physical sorption, and cryogenic and membrane separation. The most widespread industrial method is absorption by organic solvents, e.g., amines. However, further development of this approach is restricted by high energy consumption during solvent regeneration, poisoning of amines with minor flue-gas components as SOx and NOx, toxicity of amines and corrosion of the equipment [1]. A development of alternative methods for technically and economically viable CO2 separation is hence of considerable interest.
One of the promising approaches capable of solving this problem is CO2 capture via use of polymeric gas separation membranes [2]. Being a relatively new technology, membrane separation is characterized by low energy consumption, low footprint, high process stability and simplicity of equipment while high efficacy during gas separation processes [3]. However, further development of competitive techniques for application under question requires designing selective materials exhibiting both high permeability and selectivity of CO2 separation from light gases such as N2 and CH4 [4]. For instance, insufficient selectivity restricts practical application of membranes based on 1,2-disubstituted polyacetylenes [5] despite highest recorded permeability, thermal stability and impressive mechanical properties of these materials.
One of the known methods to improve gas transport properties of polymers is the incorporation of polar substituents as a side group of macromolecular chain. Upon such a modification, the increase in CO2/gas X selectivity may originate from higher affinity of polar functional groups toward CO2, which, in turn, leads to the increase in the CO2 solubility coefficient of the membrane material [6].
Among the polar substituents promising for the selective separation of CO2, alkylimidazolium cations are of particular interest due to high affinity of corresponding salts toward CO2. Indeed, there are several known studies evidencing possibility to increase CO2-selectivity of polymeric membranes after their modification with such substituents [7,8,9]. However, this approach has several restrictions. For instance, polymers with a lower degree of functionalization may not possess desired selectivity increase. On the other hand, excessive content of incorporated groups (depending on their chemical) may result either in loss of solubility in organic solvents suitable for membrane formation or in considerable deterioration of mechanical properties of corresponding polymer, thus making impossible to convert polymer to a practical polymeric membrane [10].
As a possible alternative route, surface modification of polymeric films is currently of particular applied and fundamental interest [11]. This approach allows one to form a layer of modified polymer of tunable thickness on the surface of the initial, mechanically durable, polymer, thus avoiding aforementioned problems. Thus, selective gas transport will only occur in thin surface layer, and ability to control the quantity of functional groups will allow yielding optimal parameters of gas separation.
In this study, a polymer belonging to the group of 1,2-disubstituted polyacetylenes, namely poly(4-methyl-2-pentyne) (PMP) was studied for surface modification. This polymer exhibits high permeability toward permanent and condensable gases as well as high selectivity in separating n-C4H10 from its mixtures with e.g., CH4 [12,13]. Moreover, as it comprises only C and H atoms, PMP possesses high thermal stability and low surface energy that prevents fouling and allows one to release the patterned material when used as a template [14,15,16,17,18]. Finally, due to higher stability of C-C vs. C-Si bonds [18], PMP is also more chemically stable compared to most intensively studied poly(1-trimethylsilyl-1-propyne) (PTMSP) though the latter belongs to the group of polymers with the highest known permeability coefficients of gases.
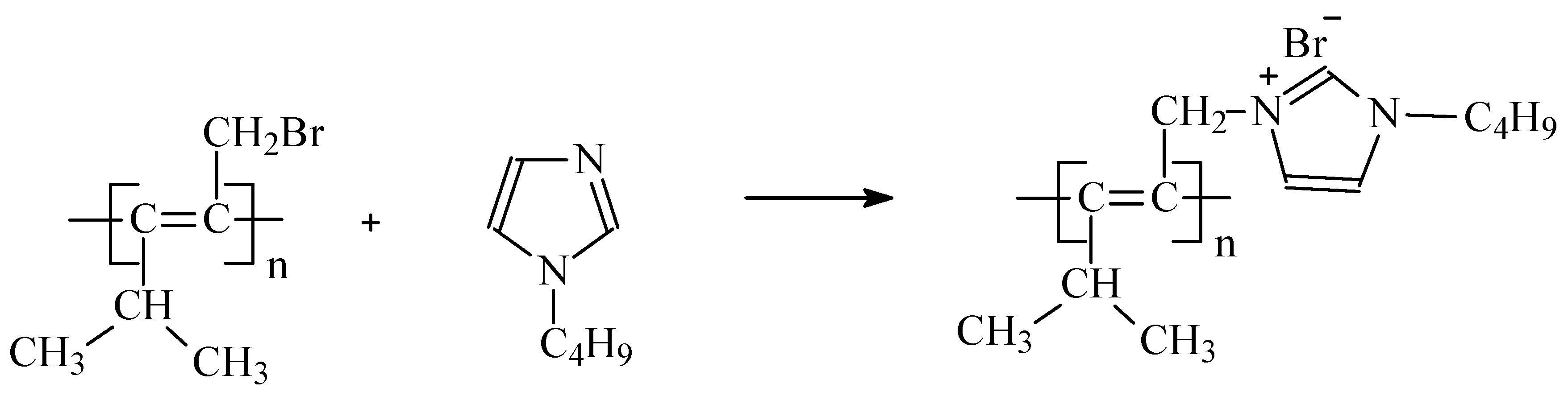
Principal possibility of butylimidazolium (BMIm) quaternization by brominated PMP (PMP-Br), i.e., replacing Br substituents of PMP with in situ formed cationic –BMIm+ side group (Figure 1) in the entire volume of PMP was demonstrated in [19]. However, quaternization of more than 15 mol % of initial PMP resulted in the loss of both solubility in common solvents and film-forming properties of the polymer.
Therefore, we developed a method for the incorporation of butylimidazolium bromide into the PMP macromolecules via the surface functionalization of PMP-Br- films by BMIm+ in a medium of supercritical fluids (SCF).
Carrying out the reaction (Figure 1) in the SCFs possessing high penetrating ability into the PMP-Br can provide limited swelling and plasticization of the polymer. The latter, in turn, may result in the speedup of the quaternization process and contribute to its completeness via the intensification of mass- and heat-transfer processes. In addition, application of SCFs allows performing the process without toxic and hazardous organic solvents or with just minimal amounts necessary for membrane post-treatment. There is also an additional important advantage, namely no residual solvent needs to be removed from the polymer after the process completes [20,21].
The aforementioned advantages make SCFs widely applicable for micronization (via PGSS process, i.e., particles from Gas Saturated Solutions) [22,23], treatment of polymers [24], impregnation [25,26], etc. Besides, there are also some studies of SCFs use as a reaction media for polymerization [27] and co-polymerization [28], whereas application of SCFs for heterogeneous chemical modification of polymers is a more rare case [20].
Herein, supercritical CO2 and CHF3 which are non-toxic, non-flammable and inert toward the ozone layer have been investigated as a reaction medium for surface modification of PMP films via quaternization of BMIm by brominated polymer. As a result, we determined conditions of quaternization and content of functional groups, which are optimal for preparation of membranes suitable for CO2 capture from the industrial gas streams.

2. Materials and Methods

2.1. Materials

Brominated PMP was prepared according to [19]. The content of brominated moieties was determined as 26 mol %, Mw = 479 kg∙mol−1, Mw/Mn = 2.
N-buthylimidazole (98%, Acros Organics, Nidderau, Germany) was distilled over CaH2 under vacuum.
CCl4 (chemically pure, Chimmed, Moscow, Russia) was purified by 10% aqueous solution of KOH and washed with H2O until the neutral reaction, then dried over anhydrous CaCl2 for 48 h and triple distilled over P2O5 under high-purity Ar (4.8 grade, TU 20.11.11.121–006–45905715–2017, 99.998 vol. % of Ar).
Food-grade CO2 (99.5%, GOST 8050-85, Linde Gas, Balashikha, Russia) and CHF3 (99.9%, Leona, Moscow, Russia) were used as a reaction media for quaternization of BMIm by PMP-Br.

2.2. Preparation of Brominated PMP Films

Polymeric membranes were prepared by pouring 1.5 mass. % solution of PMP-Br in CCl4 onto the leveled cellophane foil with subsequent covering by Petri dish in order to provide slow evaporation of the solvent. The films were dried at ambient conditions for 7 days followed by drying in vacuum for 48 h at 25 °C. The diameter of the obtained samples was 70 mm, and the thickness was in the 130–150 μm range.

2.3. Treatment of PMP-Br with BMIm in SCF Media (Quaternization of BMIm)

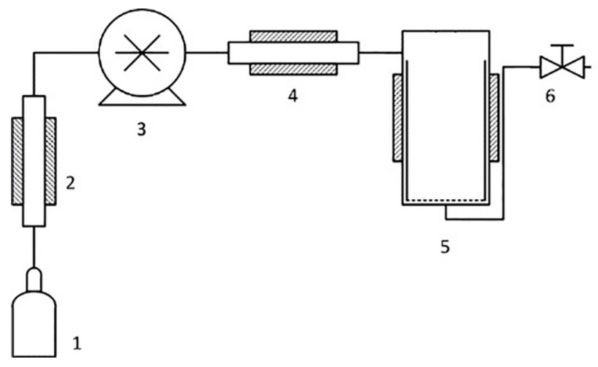
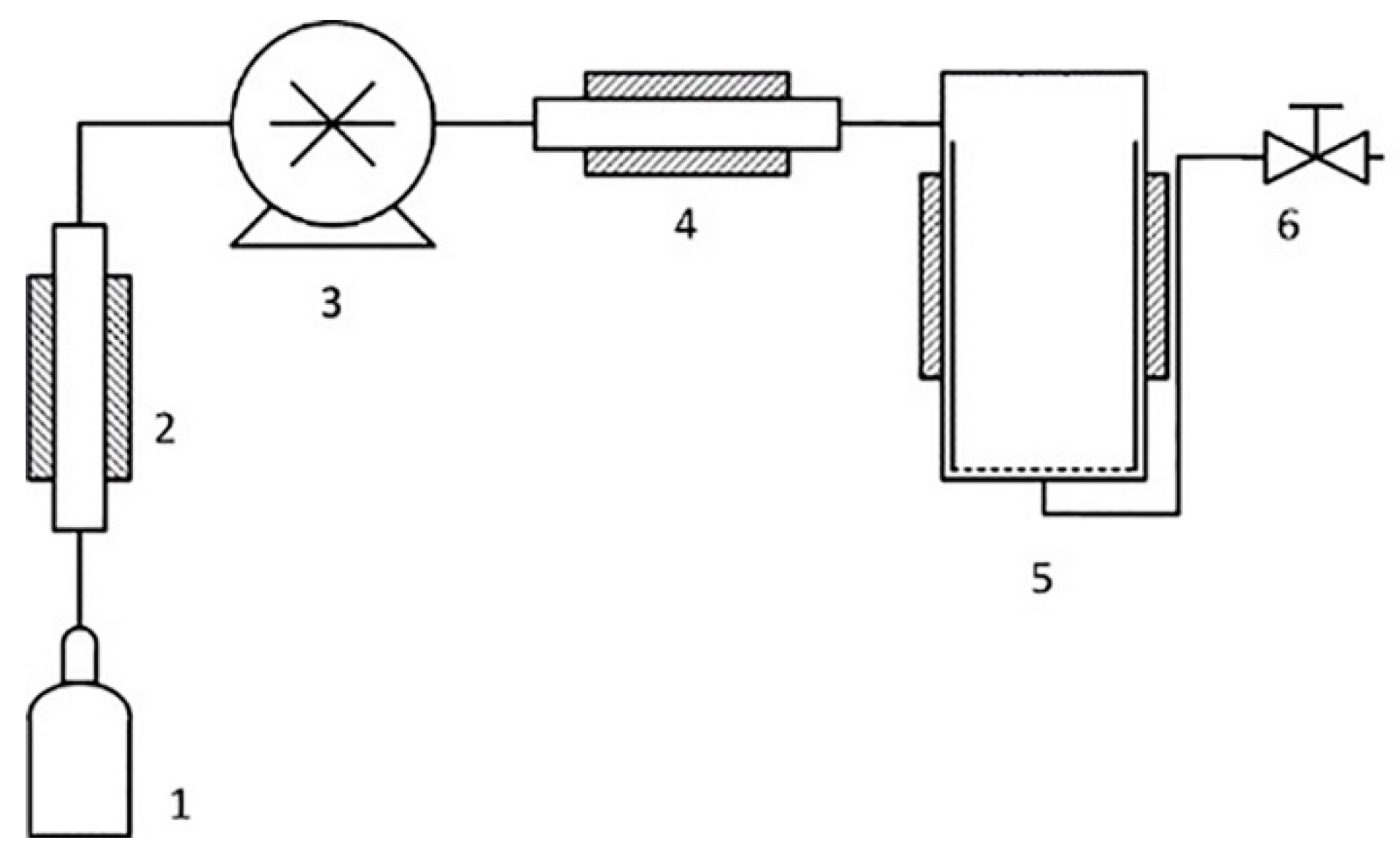
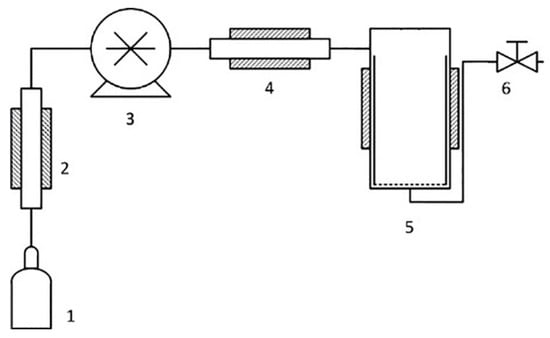
The experiments on quaternization of BMIm were performed on RESS/SAS equipment (Waters Corp., Plymouth Meeting, PA, USA). The scheme of the experimental setup is shown in Figure 2.
Before starting the experiment, PMP-Br films and BMIm in 1:20 molar ratio were placed into pre-heated reactor 5 (Figure 2). Then, the reactor vessel 5 (volume 380 mL) was sealed and SCF CO2 or CHF3 was injected under 350 Bar pressure provided by the pump 3. The quaternization experiment was carried out at constant temperature, which was varied from experiment to experiment in the range 40–80 °C. In all experiments, exposition time in SCF medium was 48 h. After the treatment, temperature was lowered to room temperature, and pressure was slowly relieved with valve 6. Modified polymer films were washed several times with excess of H2O and MeOH in order to remove residual BMIm+, and then dried under vacuum until constant mass.

2.4. Physico-Chemical Characterization

The binding of the –BMIm+ moieties onto the surface of the initial brominated PMP has been confirmed by attenuated total internal reflection IR spectroscopy and ATR-IR. Spectra were registered 24 times with subsequent averaging, at a resolution of 4 cm−1 in the 400–4000 cm−1 range by means of Bruker ALPHA (Bruker Optik GmbH, Ettlingen, Germany) spectrometer equipped with a diamond tool. Upon such an investigation, IR radiation of the source falls at an angle greater than the critical one on the surface of the sample tightly pressed against diamond crystal plate. This results in the reflection of the radiation from the surface of the sample, then from the inner surface of diamond while certain amount of the initial radiation penetrates the sample and is subsequently absorbed depending on the sample composition. As a result, residual reflexed radiation analyzed by the detector is also determined by the composition of the sample. Noteworthy is that the mentioned absorption of the radiation is very effective, and occurs in a very thin layer of the sample, which makes ATR-IR a perfect method to investigate surface and corresponding surface reactions, including those in polymeric films.
Mechanical properties were investigated at 20 °C at a constant stretching rate of 10 mm/min using the Instron 1122 tensile testing machine (Instron Corporation, Norwood, MA, USA). The specimen was in a form of a rectangular film with 30 mm length, 10 mm width, and a thickness ca. 140 µm depending on the sample cast from polymer solution.
The surface morphology of the polymeric films was studied by scanning electron microscopy (SEM) with Carl Zeiss NVision 40 (Carl Zeiss Microscopy GmbH, Jena, Germany) scanning electron microscope. Backscattered electron images were taken under the accelerating voltage of 1 keV and without the application of gold plating.
Thermogravimetric analysis (TGA) was performed on Mettler Toledo TGA/DSC instrument (Mettler-Toledo (Switzerland) GmbH, Greifensee, Switzerland) in the temperature range 20–1000 °C under a flow of Ar (10 mL/min). Specimen of 5–40 mg was placed into 70 μL Alundum™ crucible and then heated with a rate of 10 °C min−1. The accuracy of temperature measurement was ±0.3 °С, and that of mass measurements was ±0.1 μg.
Differential scanning calorimetry (DSC) measurements was performed on Mettler Toledo DSC823e (Mettler-Toledo (Switzerland) GmbH, Greifensee, Switzerland) instrument in the temperature range 20–350 °C under a flow of Ar (70 mL/min). Five to twenty milligrams of the sample was placed into 40 μL Alundum™ crucible, which was then closed with a perforated lid thus allowing carrying out measurement at constant (atmospheric) pressure. The heating rate was 20 °C/min. The experimental data were processed with STARe software supplied with the instrument. The temperature determination was ±0.2 °С.
In order to evaluate the solubility of samples in solvents, ≈100 mg of each sample was placed into the glass vial with 25 mL of corresponding solvent and left at 25 °C for 24 h, then heated to 60 °C for 6 h. After that, the solution was filtered and the filtrate was precipitated into methanol. The solubility of the polymer was determined by the difference in weights of initial and precipitated samples.
The permeability of the films toward particular gases was studied at 30 °C on a laboratory setup designed to measure the parameters of gas permeability of flat films working according to the “constant volume/variable pressure” principle [29]. Permeability coefficients (P) for membranes of known thickness were calculated as:
P = D × S = V p l A R T t l n p f p p 1 p f p p 2
where Vp is the permeate volume, l is the film thickness (130–150 μm), A is the surface area of the membrane, R is the universal gas constant, p f is the feed pressure of gas applied to the membrane (1 bar for all the gases in the Δt time interval), p p 1 and p p 2 are permeate pressure at times 1 and 2, Δt is the difference in time between points 1 and 2. The error of permeability coefficient value determination did not exceed 5%.
The ideal selectivity was calculated as a ratio of permeability coefficients of individual gases A and B:
α A B = P A P B
where α A B is ideal selectivity, P A and P B are permeability coefficients for gases А and B.

3. Results

For the preparation of butylimidazole-containing derivatives of PMP, PMP-Br films were treated by BMIm in SCF CO2 or CHF3 medium at various temperatures. The summary of experimental conditions is presented in Table 1.
Figure 3 represents visual changes of the films upon the quaternization. Gradual change of color in the series of samples 1–3 and 4–6 indicates an increasing degree of modification with an increase of temperature of treatment. Obviously, sample 6 treated in the CHF3 has more intensive color in comparison to sample 3 treated in the CO2, thus clearly indicating SCF preferable for PMP-Br quaternization.
It is worth noting that polymer comprising 26 mol % of brominated moieties was found to be the most optimal for studied modification since polymers with a higher Br content are not soluble in solvents commonly applied for the preparation of films.
The obtained results evidence the occurrence of quaternization, i.e., substitution of Br atoms by –BMIm+ groups in PMP-Br films (Figure 1). Both the process temperature and nature of the supercritical fluid affected the degree of quaternization.
Indeed, the IR spectra of samples with assumed Br to BMim+ substitution (Figure 4 and Figure 5) demonstrate considerable changes in the intensive complex band near 618 cm−1. Namely, a decrease in the intensity of a shoulder at 630 cm−1 in IR spectra of samples 1–3 makes the profile of this band more symmetric compared to that of the PMP-Br. Since valence vibrations of C-Br bonds, νC-Br, are known to be found in this range [30], the described changes do originate from the decrease in the amount of Br groups during the quaternization process.
Besides, higher quaternization degree of samples 2 and 3 compared to that of sample 1 can be assumed since IR spectra of samples 2 and 3 do not comprise distinct bands at ≈840 cm−1 (Figure 4b) and ≈1240 cm−1 (Figure 4c), respectively, corresponding to various bending C–H vibrations and δC–H [30]. The disappearance of these bands is apparently due to their considerable shift and merging with other, more intense bands. The latter, in turn, originates from considerable change in nature of peripheral substituents, i.e., from Br to –BMIm+.
In addition to changes common for IR spectra of all the quaternized samples, one can conclude on higher efficiency of SCF CHF3 comparing to SCF CO2 toward the quaternization process. Indeed, in IR spectra of corresponding samples 4–6, only one distinct band at 620 cm−1 without any νC-Br shoulders at 630 cm−1 is discernible (Figure 5a), and δC–H bands at 840–850 and 1240 cm−1 are shifted in all the spectra (Figure 5b,c). Among 4–6, in turn, the highest quaternization degree can be assumed for sample 6 due to the absence of sufficiently intensive distinct or even shoulder-like δC–H band of the initial PMP-Br at 1240 cm−1 (Figure 5c).
Since IR examination have been performed similarly in all the cases, authors believe that changes in intensities as well as broadening and splitting of particular bands in the IR spectrum of the sample 6 originates from comparatively higher content of H2O involved in interactions with polar BMIm substituents and, possibly, Br-. A higher H2O content in sample 6 is clearly evidenced as a very broad band at 3300 cm−1 (see Figures S1 and S2 of Supplementary Materials) not registered in IR spectra of other samples.
SEM investigation of the film surface before and after quaternization (Figure 6) showed a change in the film surface morphology, which can be attributed to a limited swelling of the PMP-Br in SCF CO2 leading to leveling out of artefacts of film preparation. Unfortunately, due to limitations to experimental work caused by the COVID-19, it was not possible to investigate cross-sectional morphology of quaternized films and the depth of quaternization. One can only speculate that, in case both SCFs are swelling agents for the PMP-Br, during the 48 h long exposure of films to SCF, BMIm can diffuse into the depth of the PMP-Br film through more acessible free volume voids and cause formation of quaternized material through the whole depth of the film at least in the vicinity of aforementioned free volume voids.
Film-forming, strength and relaxation properties of the quaternized PMP films were investigated. All samples have kept flexibility (Figure 7) after processing under any of the tested conditions. Besides, strength characteristics of quaternized polymeric films are similar to those of the initial polymer (Young’s modulus of 1000 MPa, tensile strength at break of 45 MPa, strain at break of 50%). These results evidence that polymer modification does not lead to the deterioration of strength characteristics of polymer. The latter, in turn, determines the principal possibility of applying a modified polymer as a membrane material.
It is also important to mention that modified polymeric films retain high thermal stability typical for disubstituted polyacetylenes comprising bulky substituents. Indeed, as evidenced in Figure 8, initial PMP and quaternized sample 6 start to decompose (5% of mass loss) at mostly the same temperature: 230 and 210 °C, respectively. The results of TGA investigation of all 6 quaternized samples are presented in Figure S4.
The results of DSC study evidence the absence of thermal effects corresponding to glass transition and fluidity up to the temperature of polymer decomposition for all studied samples. This fact allows one to conclude that, similar to non-modified PMP homopolymers, temperatures of these transitions lie above that of the onset of chemical decomposition. Examples of DSC measurement results are presented in the Figure S3.
Besides the thermal stability, resistance against various organic compounds is also essential for the possible application as membrane materials for CO2 separation. All the prepared quaternized PMP films retain stability against aliphatic and aromatic hydrocarbons, a property, which is characteristic for both PMP and PMP-Br polymers.
As it was mentioned in the experimental part, water and methanol were used for washing the modified films after exposure to SCF. Both these liquids are non-solvents for all studied polymers and the quaternization reaction was possible neither in these liquids nor in other organic solvents, e.g., dimethylsulfoxide (DMSO) able to dissolve BMIm but not dissolve the PMP-Br.
The study of the gas transport properties of the obtained polymeric films revealed considerable superiority of modified polymers over the initial PMP in CO2/(gas X) selectivity, namely by 2.5–3 and 2–4 times for the CO2/N2 and CO2/CH4 gas pairs, respectively (Table 2). Let us also emphasize on retaining high values of the permeability coefficients at the same time. Such an increase in CO2-selectivity is apparently due to stronger interactions of ionic –BMIm+ and Br- moieties with CO2 molecules compared with similar interactions involving non-polar CH4 and N2. Intoduction of the bulky BMim+ group into the structure of the polymer being already in solid but possibly swollen state should result in an alteration of the free volume voids arrangement, presumably decreasing the free volume void size, which should result in an increase of at least diffusivity selectivity. Unfortunately, it is not possible at this stage of research to investigate the free volume of obtained polymers by any physical method.
The chosen approach of polymer modification has one significant advantage, namely chemical modification of the polymer only in zones, where, presumably, the free volume elements responsible for small molecule transport are accessible for the modification agent. The rest of the polymer remains intact keeping properties of the polymer not related to transport at the level of the initial material. Since SCF causes swelling of the polymer, relatively large BMIm molecules can penetrate into the depth of the polymer matrix along the gas diffusion path.
Analysis of the permeability coefficients’ dependence on quaternization reaction temperature (Table 1 and Table 2) shows that the saturation of the PMP-Br with quaternized BMIm was not finished even after exposure to 80 °C for 48 h (Figure 9). This fact is of particular interest because diffusion coefficients known for disubstituted polyacetylenes and bulky penetrant, e.g., n-C4H10, are in the range of 1 × 10−7 cm2 s−1 at 30 °C and increase with temperature rise. This is because the sample with a 150-µm-thickness exposure for 48 h to BMIm should be more than sufficient for equilibration of BMIm concentration within the polymer film. Since no stabilization of gas transport properties was observed, one can speculate that consumption of BMIm for quaternization reaction results in the free volume alteration and thus restricts transport of the BMIm into the depth of the polymer. Further experiments with various exposure times and temperatures are necessary.
The aforementioned alteration of the free volume can be the reason for very small aging observed for the quaternized sample 6. Samples of PMP-Br and sample 6 were tested for gas transport properties changes caused by either treatment in SCF or aging. Data presented in Table 2 clearly shows that PMP-Br in 48 h after exposure to the supercritical CO2 demonstrates permeability coefficients higher than that of non-treated PMP-Br film, and only after 4 month aging time degrades in gas transport properties to the level of the initial PMP-Br both in terms of permeability and selectivity. Sample 6 was investigated for the gas transport properties according to the same procedure and after 4 month demonstrated stability of CO2 permeability coefficient and some increase in CO2/N2 and CO2/CH4 selectivity. One can attribute this very minor change of properties to the restriction of relaxation process in the polymer into which bulky ionic functional groups were introduced while polymer was already in the solid state.
A conventional method for assessing the quality of the gas separation properties of a particular membrane material is its location relative to the “Upper bound” of the Robeson diagram representing the trade-off between the permeability coefficients and ideal selectivity for various polymers [31].
Namely, the closer the polymer is to the “Upper bound”, the higher result in the separation process can be achieved in both investment (permeability coefficient converts into membrane permeance and finally into the required membrane area) and operation costs (selectivity of the membrane will be related to the energy necessary for compression and recirculation of gas streams).
Figure 10 and Figure 11 demonstrate trade-off between CO2/N2 and СO2/CH4 ideal selectivities and CO2 permeability coefficients for a variety of polymers [31,32]. As one can see, PMP comprising maximal amount of –BMIm+ moieties (sample 6) is located near the upper border of the diagram in both cases, and exhibits more attractive gas separation properties compared to the initial PMP. These results allows one to consider sample 6 as a promising material for the separation of CO2-containing gas mixtures.
Modeling of the membrane gas separation process of CO2 removal from flue gas of hard coal power plant [33,34] shows that in case thin film composite (TFC) membrane will have a selective layer of sample 6 with 100 nm effective thickness, which is a common value for PolyActive™ TFC membrane, the CO2 concentration in the permeate for the sample 6 will exceed 50 mol % compared to 64 mol % for PolyActive™ but necessary membrane area will be 10 times smaller. The CO2 content above 50 mol % is sufficient for the second membrane separation stage where less permeable but more selective membrane will finally concentrate CO2 to >95 mol % required for liquefaction. These facts as well as chemical stability of the quaternized PMP-BMIm make the developed materials interesting for further investigation in real gas separation environment.

4. Conclusions

To sum up, we demonstrated the principal possibility and efficiency of applying supercritical CO2 and CHF3 as a reaction medium for surface modification of PMP films for quaternization of BMIm by brominated polymer. While different treatment temperatures were examined, the results of comparative IR study evidences that maximal quaternization degree is achieved during polymer processing in CHF3 at 80 °C, the highest studied temperature. The resulting quaternized PMP films retain good mechanical strength as well as high thermal and chemical stability of the initial polymer combined with increased CO2-selectivity while maintaining the permeability coefficients at a high level. Such a set of properties makes these modified polymers promising membrane materials for CO2 removal from the industrial gas mixtures containing hydrocarbons or from the flue gas streams.
Besides, our results evidence the prospects for further development of surface modification of PMP via treatment in SCF medium for preparation of membrane materials with increased selectivity of CO2 separation.

Supplementary Materials

The following are available online at https://www.mdpi.com/2073-4360/12/11/2468/s1, Figure S1: IR spectra of PMP-Br (blue line), Samples: 1 (pink line), 2 (green line) and 3 (red line), Figure S2: IR spectra of the Samples: 4 (blue line), 5 (red line) and 6 (green line), Figure S3: Examples of DSC measurements for samples: PMP-Br (a), samples 3 (b) and 6 (c), Figure S4: Results of TGA investigation of quaternized samples 1–6. The curve for the initial PMP can be found in the main text, Figure 8.

Author Contributions

V.P.: polymer synthesis, film formation, data evaluation, manuscript writing; A.V.: experiments on quaternization of BMIm, basic characterization, data evaluation; A.G.: IR spectroscopy, manuscript writing; S.S.: gas transport properties, data evaluation, manuscript writing; S.M.: manuscript writing, data evaluation, idea formulation; O.P. and V.K.: idea formulation, manuscript writing. All authors have read and agreed to the published version of the manuscript.

Funding

This research was financially supported by the State Program of TIPS RAS, the State Program of IGIC RAS, and the Co-operation Agreement (HZG-Agreement 088/2014 on 26.06.2014) between the Helmholtz-Zentrum Geesthacht Zentrum für Material- und Küstenforschung GmbH and A.V. Topchiev Institute of Petrochemical Synthesis RAS.

Acknowledgments

The authors are grateful to G.A. Shandruck for performing TG and DSC measurements, T. Brinkmann for membrane separation process modeling.

Conflicts of Interest

The authors declare no conflict of interest.

References

  1. Pires, J.C.M.; Martins, F.G.; Alvim-Ferraz, M.C.M.; Simões, M. Recent developments on carbon capture and storage: An overview. Chem. Eng. Res. Des. 2011, 89, 1446–1460. [Google Scholar] [CrossRef]
  2. Merkel, T.C.; Lin, H.; Wei, X.; Baker, R. Power plant post-combustion carbon dioxide capture: An opportunity for membranes. J. Membr. Sci. 2010, 359, 126–139. [Google Scholar] [CrossRef]
  3. Belaissaoui, B.; Favre, E. Membrane Separation Processes for Post-Combustion Carbon Dioxide Capture: State of the Art and Critical Overview. Oil Gas Sci. Technol. 2014, 69, 1005–1020. [Google Scholar] [CrossRef]
  4. Maas, P.; Nauels, N.; Zhao, L.; Markewitz, P.; Scherer, V.; Modigell, M.; Stolten, D.; Hake, J.-F. Energetic and economic evaluation of membrane-based carboncapture routes for power plant processes. Int. J. Greenh. Gas Control 2016, 44, 124–139. [Google Scholar] [CrossRef]
  5. Yampolskii, Y. A Current Position of Polyacetylenes Among Other Highly Permeable Membrane Materials. Polym. Rev. 2017, 57, 200–212. [Google Scholar] [CrossRef]
  6. Shahrom, M.S.R.; Wilfred, C.D.; Taha, A.K.Z. CO2 capture by task specific ionic liquids (TSILs) and polymerized ionic liquids (PILs and AAPILs). J. Mol. Liq. 2016, 219, 306–312. [Google Scholar] [CrossRef]
  7. Privalova, E.; Karjalainen, E.; Nurmi, M.; Arvela, P.; Ernen, K.; Tenhu, H.; Murzin, D.Y.; Mikkola, J. Imidazolium-based poly(ionic liquid)s as new alternatives for CO2 capture. ChemSusChem 2013, 6, 1500–1509. [Google Scholar] [CrossRef]
  8. Bhavsar, R.S.; Kumbharkar, S.C.; Kharul, U.K. Investigation of gas permeation properties of film forming polymeric ionic liquids (PILs) based on polybenzimidazoles. J. Membr. Sci. 2014, 470, 494–503. [Google Scholar] [CrossRef]
  9. Xiong, Y.B.; Wang, H.; Wang, Y.J.; Wang, R.M. Novel imidazolium-based poly(ionic liquid)s: Preparation, characterization, and absorption of CO2. Polym. Adv. Technol. 2012, 23, 835–840. [Google Scholar] [CrossRef]
  10. Sakaguchi, T.; Ito, H.; Masuda, T.; Hashimoto, T. Highly CO2-permeable and -permselective poly(diphenylacetylene)s having imidazolium salts: Synthesis, characterization, gas permeation properties, and effects of counter anion. Polymer 2013, 54, 6709–6715. [Google Scholar] [CrossRef]
  11. Nemani, S.K.; Annavarapu, R.K.; Mohammadian, B.; Raiyan, A.; Heil, J.; Haque, M.A.; Abdelaal, A.; Sojoudi, H. Surface Modification of Polymers: Methods and Applications. Adv. Mater. Interfaces 2018, 5, 1801247–1801273. [Google Scholar] [CrossRef]
  12. Morisato, A.; Pinnau, I. Synthesis and gas permeation properties of poly (4-methyl-2-pentyne). J. Membr. Sci. 1996, 121, 243–250. [Google Scholar] [CrossRef]
  13. Yave, W.; Shishatskiy, S.; Abetz, V.; Matson, S.; Litvinova, E.; Khotimskiy, V.; Peinemann, K.-V. A novel poly (4-methyl-2-pentyne)/TiO2 hybrid nanocomposite membrane for natural gas conditioning: Butane/methane separation. Macromol. Chem. Phys. 2007, 208, 2412–2418. [Google Scholar] [CrossRef]
  14. Khosravi, A.; Vatani, A.; Mohammadi, T. Application of polyhedral oligomeric silsesquioxane to the stabilization and performance enhancement of poly (4-methyl-2-pentyne) nanocomposite membranes for natural gas conditioning. J. Appl. Polym. Sci. 2017, 134, 45158–45170. [Google Scholar] [CrossRef]
  15. Yang, Q.; Grest, G.Y. Molecular-level insight of gas transport in composite poly (4-methyl-2-pentyne) and nanoparticles of titanium dioxide. Eur. Polym. J. 2018, 102, 82–89. [Google Scholar] [CrossRef]
  16. Yang, Q.; Whiting, W.I. Molecular-level insight of the differences in the diffusion and solubility of penetrants in polypropylene, poly (propylmethylsiloxane) and poly (4-methyl-2-pentyne). J. Membr. Sci. 2018, 549, 173–183. [Google Scholar] [CrossRef]
  17. Yang, Q.; Achenie, L.E.K. Exploration of gas molecules transport in composite poly (4-methyl-2-pentyne) and carbon nanotubes employing molecular dynamics simulation. Comput. Mater. Sci. 2018, 143, 87–94. [Google Scholar] [CrossRef]
  18. Demko, M.T.; Cheng, J.C.; Pisano, A.P. Rigid, vapor-permeable poly(4-methyl-2-pentyne) templates for high resolution patterning of nanoparticles and polymers. ACS Nano 2012, 6, 6890–6896. [Google Scholar] [CrossRef]
  19. Polevaya, V.G.; Vorobei, A.M.; Pokrovskiy, O.I.; Shandryuk, G.A.; Parenago, O.O.; Lunin, V.V.; Khotimskiy, V.S. Modification of Poly(4-Methyl-2-Pentyne) in Supercritical Fluid Medium for Production of CO2-Selective Gas-Separation Membranes. J. Phys. Chem. B 2017, 11, 1276–1282. [Google Scholar] [CrossRef]
  20. Cooper, A.I. Polymer synthesis and processing using supercritical carbon dioxide. J. Mater. Chem. 2000, 10, 207. [Google Scholar] [CrossRef]
  21. Kemmere, M.F.; Meyer, T. Supercritical Carbon Dioxide: In Polymer Reaction Engineering; Wiley-VCH: Weinheim, Germany, 2006; pp. 1–339. [Google Scholar]
  22. Petermann, M. Supercritical fluid-assisted sprays for particle generation. J. Supercrit. Fluids 2018, 134, 234–243. [Google Scholar] [CrossRef]
  23. Yeo, S.-D.; Kiran, E. Formation of polymer particles with supercritical fluids: A review. J. Supercrit. Fluids 2005, 34, 287–308. [Google Scholar] [CrossRef]
  24. Kazarian, S.G. Polymer processing with supercritical fluids. Polym. Sci. Ser. C 2000, 42, 78–101. [Google Scholar]
  25. Champeau, M.; Thomassin, J.-M.; Tassaing, T.; Jérôme, C. Drug loading of polymer implants by supercritical CO2 assisted impregnation: A review. J. Control. Release 2015, 209, 248–259. [Google Scholar] [CrossRef]
  26. Kikic, I.; Vecchione, F. Supercritical impregnation of polymers. Curr. Opin. Solid State Mater. Sci. 2003, 7, 399–405. [Google Scholar] [CrossRef]
  27. Canelas, D.A.; Betts, D.E.; DeSimone, J.M. Dispersion polymerization of styrene in supercritical carbon dioxide:  importance of effective surfactants. Macromolecules 1996, 29, 2818–2821. [Google Scholar] [CrossRef]
  28. Scholsky, K.M. Polymerization reactions at high pressure and supercritical conditions. J. Supercrit. Fluids 1993, 6, 103–127. [Google Scholar] [CrossRef]
  29. Shishatskii, S.M.; Yampol’skii, Y.P.; Peinemann, K.-V. Effects of film thickness on density and gas permeation parameters of glassy polymers. J. Membr. Sci. 1996, 112, 275. [Google Scholar] [CrossRef]
  30. Pretsch, E.; Bühlmann, P.; Affolter, C. Structure Determination of Organic Compounds; Springer: Berlin/Heidelberg, Germany, 2000; pp. 1–421. [Google Scholar]
  31. Membrane Society of Australasia. Polymer Gas Separation Membrane Database. Available online: https://membrane-australasia.org/member-portal/polymer-gas-separation-membrane-database/ (accessed on 1 October 2018).
  32. Alders, M.; von Bargen, C.; König, A.; Wessling, M. Chilled Membranes—Efficient gas permeation at sub-ambient temperatures. J. Membr. Sci. 2019, 576, 171–181. [Google Scholar] [CrossRef]
  33. Pohlmann, J.; Bram, M.; Wilkner, K.; Brinkmann, T. Pilot scale separation of CO2 from power plant flue gases by membrane technology. Int. J. Greenh. Gas Control. 2016, 53, 56–64. [Google Scholar] [CrossRef]
  34. Brinkmann, T.; Lillepärg, J.; Notzke, H.; Pohlmann, J.; Shishatskiy, S.; Wind, J.; Wolff, T. Development of CO2 Selective Poly(Ethylene Oxide)-Based Membranes: From Laboratory to Pilot Plant Scale. Engineering 2017, 3, 485–493. [Google Scholar] [CrossRef]
Figure 1. Quaternization of butylimidazolium (BMIm) by brominiated poly(4-methyl-2-pentyne) (PMP-Br).
Figure 1. Quaternization of butylimidazolium (BMIm) by brominiated poly(4-methyl-2-pentyne) (PMP-Br).
Polymers 12 02468 g001
Figure 2. Equipment for the BMIm quaternization by PMP-Br in supercritical fluids (SCF) (1, source of CO2 or CHF3; 2, cooling heat exchanger; 3, high-pressure pump; 4, heater; 5, reactor; 6, pressure relief valve).
Figure 2. Equipment for the BMIm quaternization by PMP-Br in supercritical fluids (SCF) (1, source of CO2 or CHF3; 2, cooling heat exchanger; 3, high-pressure pump; 4, heater; 5, reactor; 6, pressure relief valve).
Polymers 12 02468 g002
Figure 3. Changes in visual appearance of quaternized samples 1–6.
Figure 3. Changes in visual appearance of quaternized samples 1–6.
Polymers 12 02468 g003
Figure 4. Normalized IR spectra of PMP-Br (blue line), samples 1 (pink line), 2 (green line) and 3 (red line) in the range of 650–550 cm−1 (a), 900–800 cm−1 (b) and 1270–1200 cm−1 (c).
Figure 4. Normalized IR spectra of PMP-Br (blue line), samples 1 (pink line), 2 (green line) and 3 (red line) in the range of 650–550 cm−1 (a), 900–800 cm−1 (b) and 1270–1200 cm−1 (c).
Polymers 12 02468 g004
Figure 5. Normalized IR spectra of the samples: 4 (blue line), 5 (red line), and 6 (green line) in the range of 650–550 cm−1 (a), 900–800 cm−1 (b) and 1270–1200 cm−1 (c).
Figure 5. Normalized IR spectra of the samples: 4 (blue line), 5 (red line), and 6 (green line) in the range of 650–550 cm−1 (a), 900–800 cm−1 (b) and 1270–1200 cm−1 (c).
Polymers 12 02468 g005
Figure 6. SEM images of the film surface of PMP-Br (a) and quaternized samples: 1 (b), 2 (c), 3 (d), 4 (e), 5 (f), and 6 (g).
Figure 6. SEM images of the film surface of PMP-Br (a) and quaternized samples: 1 (b), 2 (c), 3 (d), 4 (e), 5 (f), and 6 (g).
Polymers 12 02468 g006
Figure 7. Flexibility of the quaternized PMP (sample 6).
Figure 7. Flexibility of the quaternized PMP (sample 6).
Polymers 12 02468 g007
Figure 8. TGA curves for films of initial PMP (1) and quaternized sample 6 (2).
Figure 8. TGA curves for films of initial PMP (1) and quaternized sample 6 (2).
Polymers 12 02468 g008
Figure 9. Arrhenius type representation of CO2 permeability coefficients in dependence on temperature of quaternization reaction in two SCFs.
Figure 9. Arrhenius type representation of CO2 permeability coefficients in dependence on temperature of quaternization reaction in two SCFs.
Polymers 12 02468 g009
Figure 10. Robeson diagram for CO2/N2 mixtures.
Figure 10. Robeson diagram for CO2/N2 mixtures.
Polymers 12 02468 g010
Figure 11. Robeson diagram for CO2/СH4 mixtures.
Figure 11. Robeson diagram for CO2/СH4 mixtures.
Polymers 12 02468 g011
Table 1. Conditions for the quaternization of BMIm by PMP-Br films in the medium of CO2 and CHF3 SCFs.
Table 1. Conditions for the quaternization of BMIm by PMP-Br films in the medium of CO2 and CHF3 SCFs.
SamplePressure, BarBMIm Volume, mLTime, hSCFT, °С
13501548CO240
2”*60
380
43501548CHF340
560
680
* The mark (”) indicates “same as above”.
Table 2. Permeability coefficients and ideal selectivities of the initial and modified PMP films toward individual gases.
Table 2. Permeability coefficients and ideal selectivities of the initial and modified PMP films toward individual gases.
SamplePermeability (P), Barrer 1Selectivity (α)
CO2N2CH4P(CO2)/P(N2)P(CO2)/P(CH4)
PMP500090015005.63.3
PMP-Br480065010007.44.8
PMP-Br 2 520070012007.44.3
PMP-Br 3 47006309507.54.9
1330727154112.26.1
2307321743014.27.1
3173011117115.610.1
4291023043812.76.7
5252016532815.37.7
6 4 196011915916.512.3
6 5190011215017.012.7
1 1 Barrer = 10–10 cm3(STP) × cm × cm–2 × s–1 × cmHg–1. 2 48 h after SCF CO2 treatment. 3 4 month after SCF CO2 treatment. 4 48 h after SCF CHF3 treatment. 5 4 month after SCF CHF3 treatment.
Publisher’s Note: MDPI stays neutral with regard to jurisdictional claims in published maps and institutional affiliations.

Share and Cite

MDPI and ACS Style

Polevaya, V.; Vorobei, A.; Gavrikov, A.; Matson, S.; Parenago, O.; Shishatskiy, S.; Khotimskiy, V. Modification of Poly(4-methyl-2-pentyne) in the Supercritical Fluid Medium for Selective Membrane Separation of CO2 from Various Gas Mixtures. Polymers 2020, 12, 2468. https://doi.org/10.3390/polym12112468

AMA Style

Polevaya V, Vorobei A, Gavrikov A, Matson S, Parenago O, Shishatskiy S, Khotimskiy V. Modification of Poly(4-methyl-2-pentyne) in the Supercritical Fluid Medium for Selective Membrane Separation of CO2 from Various Gas Mixtures. Polymers. 2020; 12(11):2468. https://doi.org/10.3390/polym12112468

Chicago/Turabian Style

Polevaya, Viktoriya, Anton Vorobei, Andrey Gavrikov, Samira Matson, Olga Parenago, Sergey Shishatskiy, and Valeriy Khotimskiy. 2020. "Modification of Poly(4-methyl-2-pentyne) in the Supercritical Fluid Medium for Selective Membrane Separation of CO2 from Various Gas Mixtures" Polymers 12, no. 11: 2468. https://doi.org/10.3390/polym12112468

APA Style

Polevaya, V., Vorobei, A., Gavrikov, A., Matson, S., Parenago, O., Shishatskiy, S., & Khotimskiy, V. (2020). Modification of Poly(4-methyl-2-pentyne) in the Supercritical Fluid Medium for Selective Membrane Separation of CO2 from Various Gas Mixtures. Polymers, 12(11), 2468. https://doi.org/10.3390/polym12112468

Note that from the first issue of 2016, this journal uses article numbers instead of page numbers. See further details here.

Article Metrics

Back to TopTop