The Effect of Solution Treatment on the Microstructure and Properties of AlCuCrFe2NiTi0.25 High-Entropy Hardfacing Alloy
Abstract
1. Introduction
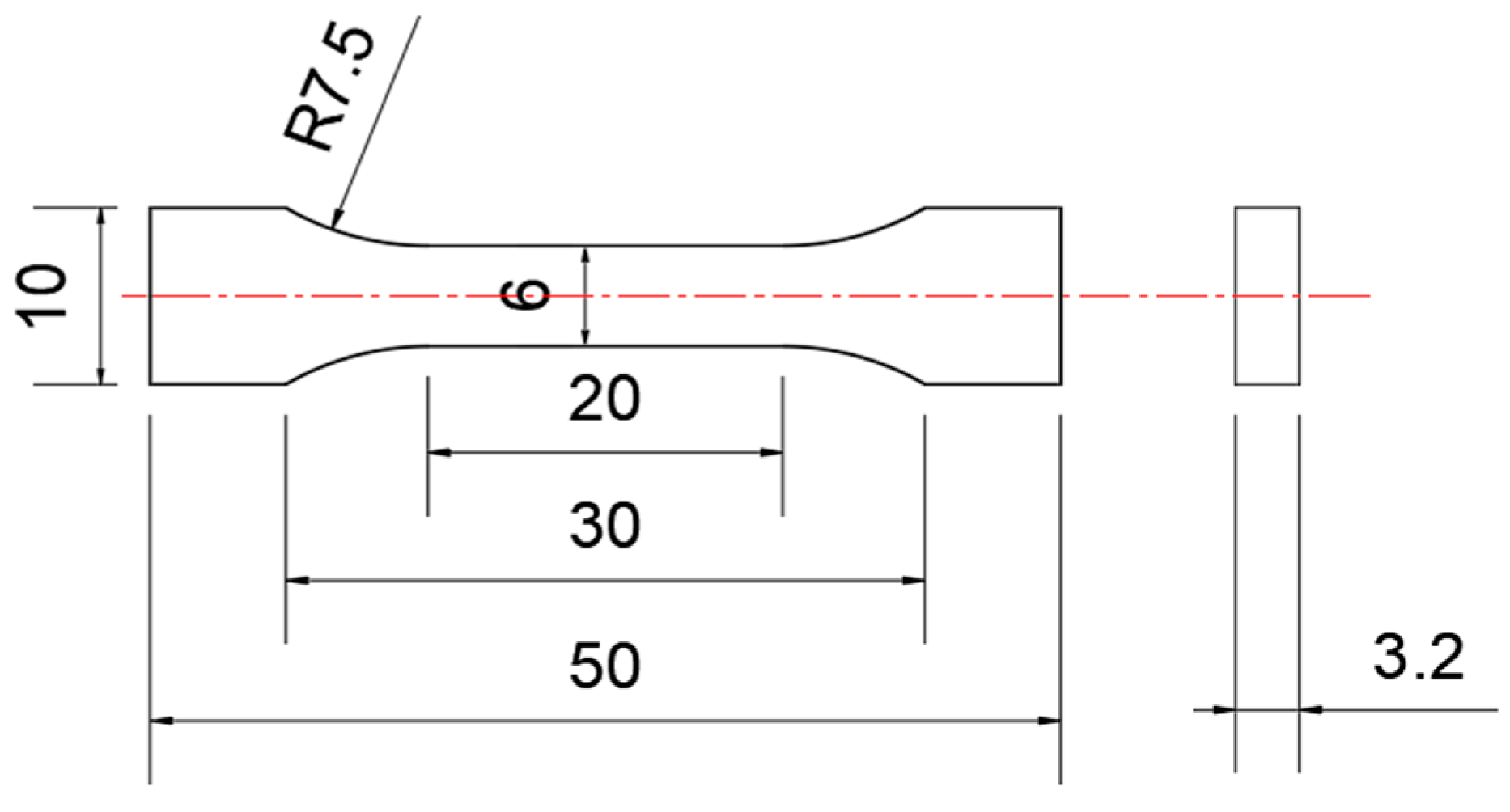
2. Experimental Process
2.1. Preparation of Hardfacing Alloy
2.2. Microstructure and Properties Analysis
3. Results and Discussion
3.1. DSC Curve Analysis
3.2. Phase Analysis
3.3. Microstructure
3.4. Mechanical Properties
4. Conclusions
- (1)
- The AlCuCrFe2NiTi0.25 high-entropy alloy underwent solid solution treatment at a temperature of 1200 °C for 2 h, 3 h, and 4 h, respectively. According to the XRD results, the type of phase composition did not change, but the quantity and morphology of the Laves phase changed. After solid solution treatment, a portion of the Laves phase dissolved back into the matrix, resulting in a decrease in its quantity. And its shape transformed from a larger rod-shaped structure to a finer spherical tissue.
- (2)
- After 3 h of solid solution treatment, room temperature tensile tests were conducted to obtain the tensile strength and elongation of the AlCuCrFe2Ni0.25 high-entropy alloy at room temperature, which were 509 MPa and 23.8%, respectively, obtaining the best comprehensive mechanical performance. As the solution treatment time increases, the number of ductile dimples on the tensile fracture surface gradually increases and the depth increases. Dislocations continuously increase in value and entangle, and can move on multiple slip planes through slip, enhancing the plasticity of the alloy.
Author Contributions
Funding
Data Availability Statement
Conflicts of Interest
References
- Gao, X.; Wang, L.; Guo, N.; Luo, L.; Zhu, G.; Shi, C.; Su, Y.; Guo, J. Microstructure and mechanical properties of multi-phase reinforced Hf-Mo-Nb-Ti-Zr refractory high-entropy alloys. Int. J. Refract. Met. Hard Mater. 2022, 102, 105723. [Google Scholar] [CrossRef]
- Yeh, J.-W.; Chen, S.-K.; Lin, S.-J.; Gan, J.-Y.; Chin, T.-S.; Shun, T.-T.; Tsau, C.-H.; Chang, S.-Y. Nanostructured High-Entropy Alloys with Multiple Principal Elements: Novel Alloy Design Concepts and Outcomes. Adv. Eng. Mater. 2004, 6, 299–303. [Google Scholar] [CrossRef]
- Yan, G.; Zheng, M.; Ye, Z.; Gu, J.; Li, C.; Wu, C.; Wang, B. In-situ Ti (C, N) reinforced AlCoCrFeNiSi-based high entropy alloy coating with functional gradient double-layer structure fabricated by laser cladding. J. Alloys Compd. 2021, 886, 161252–161259. [Google Scholar] [CrossRef]
- Martin, P.; Aguilar, C.; Cabrera, J.M. A review on mechanical alloying and spark plasma sintering of refractory high-entropy alloys: Challenges, microstructures, and mechanical behavior. J. Mater. Res. Technol. 2024, 30, 1900–1928. [Google Scholar] [CrossRef]
- Liang, X.; Su, Y.; Yang, T.; Dai, Z.; Wang, Y.; Yong, X. Study on the wear resistance and mechanism of AlCrCuFe2NiTix high-entropy surfacing alloys. J. Alloys Compd. 2024, 971, 172510. [Google Scholar] [CrossRef]
- Wang, X.; Zhang, S.; Zhao, F.; Zhang, L.; Wu, Z.; Xie, Z. corrosion wear and lubricating mechanisms of WC particles reinforced FeCoCrNiMn high entropy alloys coatings. Ceram. Int. 2024, 50, 31718–31725. [Google Scholar] [CrossRef]
- Munitz, A.; Salhov, S.; Hayun, S.; Frage, N. Heat treatment impacts the micro-structure and mechanical properties of AlCoCrFeNi high entropy alloy. J. Alloys Compd. 2016, 683, 221–230. [Google Scholar] [CrossRef]
- Qi, M.; Wu, Q.; Yang, Z.; Wang, Y.; Li, Y.; Wang, L.; Li, J.; Wang, Z.; Wang, J. Surface strengthening of Ni32-xCo30Cr10Fe10Al18Tix eutectic high-entropy alloys by laser remelting and heat treatment. Appl. Phys. A 2022, 128, 928. [Google Scholar] [CrossRef]
- Wu, M.; Li, Z.; Gault, B.; Munroe, P.; Baker, I. The Effects of carbon on the phase stability and mechanical properties of heat-treated FeNiMnCrAl high entropy alloys. Mater. Sci. Eng. A 2019, 748, 59–73. [Google Scholar] [CrossRef]
- Wu, Z.; Jia, Y.; Mu, Y.; Jia, Y.; Ji, P.; Hu, K.; Wang, Y.; Yang, D.; Ma, P.; Zhao, W.; et al. A mortise-and-tenon structure inspired high strength-ductility 3D printed high-entropy alloys with mechanically interlocked network. Mater. Sci. Eng. A 2024, 899, 146422. [Google Scholar] [CrossRef]
- Zhang, Z.K.; Hua, K.; Cao, Y.; Song, Y.; Li, X.; Zhou, Q.; Wang, H. Microstructures and properties of FeCrAlMoSix high entropy alloy coatings prepared by laser cladding on a titanium alloy substrate. Surf. Coat. Technol. 2024, 478, 130437. [Google Scholar] [CrossRef]
- Su, Y.; Liang, X.; Liu, Y.; Dai, Z. Effect of Ti addition on the microstructure and property of FeAlCuCrNiMo0.6 high-entropy alloy. Acta Metall. Sin. (Engl. Lett.) 2020, 33, 957–967. [Google Scholar] [CrossRef]
- Fujieda, T.; Shiratori, H.; Kuwabara, K.; Hirota, M.; Kato, T.; Yamanaka, K.; Koizumi, Y.; Chiba, A.; Watanabe, S. CoCrFeNiTi-based high-entropy alloy with superior tensile strength and corrosion resistance achieved by a combination of additive manufacturing using selective electron beam melting and solution treatment. Mater. Lett. 2017, 189, 148–151. [Google Scholar] [CrossRef]
- Guo, S.; Ng, C.; Lu, J.; Liu, C.T. Effect of valence electron concentration on stability of fcc or bcc phase in high entropy alloys. J. Appl. Phys. 2011, 109, 103505. [Google Scholar] [CrossRef]
- Dong, Y.; Lu, Y.; Jiang, L.; Wang, T.; Li, T. Effects of electro-negativity on the stability of topologically close-packed phase in high entropy alloys. Intermetallics 2014, 52, 105–109. [Google Scholar] [CrossRef]
- Xin, W.; YunPeng, Z.; Jing, X. Effect of Ti addition on the microstructure and properties of AlCrCuFeNi alloy. Mater. Res. Express 2018, 6, 026541. [Google Scholar] [CrossRef]
- Huang, S.; Wu, H.; Xu, Y.; Zhu, H. Effects of heat treatment on the precipitation behaviors and mechanical properties of Nb-doped CrMnFeCoNi0.8 high-entropy alloy. Mater. Sci. Eng. A 2023, 885, 145611. [Google Scholar] [CrossRef]
- Guo, Y.J.; Li, C.G.; Zeng, M.; Wang, J.; Deng, P.; Wang, Y. In-situ TiC reinforced CoCrCuFeNiSi0.2 high-entropy alloy coatings designed for enhanced wear performance by laser cladding. Mater. Chem. Phys. 2020, 242, 122522. [Google Scholar] [CrossRef]
- Soni, V.; Gwalani, B.; Alam, T.; Dasari, S.; Zheng, Y.; Senkov, O.N.; Miracle, D.; Banarjee, R. Phase inversion in a two-phase, BCC+B2, refractory high entropy alloy. Acta Mater. 2020, 185, 89–97. [Google Scholar] [CrossRef]
- Sun, W.; Fu, Y.; Ma, H.; Wang, Y.; Gao, M.; Kong, X.; Guan, R. High-strength AlCoCrFeNi2.1 eutectic high entropy alloy skeleton with hollow brick wall structures by selective laser melting. Mater. Sci. Eng. A 2023, 887, 145757. [Google Scholar] [CrossRef]
- Tong, S.; Shen, G.; Han, Z.; Ma, Z.; Sun, Y.; Guan, S.; Zhao, H.; Ren, L.; Yan, C. Mechanical-thermal coupling structural failure and in-situ deformation mechanism of cellular high entropy alloy lattice structures. J. Mater. Res. Technol. 2024, 28, 2792–2799. [Google Scholar] [CrossRef]











| Welding Current (A) | Ionic Gas Flow Rate (L/min) | Welding Speed (mm/min) | Powder Delivery Speed (g/min) | Protective Gas Flow Rate (L/min) | Nozzle Distance (mm) | Powder Delivery Air Flow Rate (L/min) |
|---|---|---|---|---|---|---|
| 105 | 5 | 125 | 16 | 10 | 8 | 7 |
| Alloy | VEC | ∆χ | Md |
|---|---|---|---|
| AlCuCrFe2NiTi0.25 | 7.52 | 0.124 | 0.91 |
Disclaimer/Publisher’s Note: The statements, opinions and data contained in all publications are solely those of the individual author(s) and contributor(s) and not of MDPI and/or the editor(s). MDPI and/or the editor(s) disclaim responsibility for any injury to people or property resulting from any ideas, methods, instructions or products referred to in the content. |
© 2025 by the authors. Licensee MDPI, Basel, Switzerland. This article is an open access article distributed under the terms and conditions of the Creative Commons Attribution (CC BY) license (https://creativecommons.org/licenses/by/4.0/).
Share and Cite
Huang, J.; Su, Y. The Effect of Solution Treatment on the Microstructure and Properties of AlCuCrFe2NiTi0.25 High-Entropy Hardfacing Alloy. Crystals 2025, 15, 117. https://doi.org/10.3390/cryst15020117
Huang J, Su Y. The Effect of Solution Treatment on the Microstructure and Properties of AlCuCrFe2NiTi0.25 High-Entropy Hardfacing Alloy. Crystals. 2025; 15(2):117. https://doi.org/10.3390/cryst15020117
Chicago/Turabian StyleHuang, Jingxuan, and Yunhai Su. 2025. "The Effect of Solution Treatment on the Microstructure and Properties of AlCuCrFe2NiTi0.25 High-Entropy Hardfacing Alloy" Crystals 15, no. 2: 117. https://doi.org/10.3390/cryst15020117
APA StyleHuang, J., & Su, Y. (2025). The Effect of Solution Treatment on the Microstructure and Properties of AlCuCrFe2NiTi0.25 High-Entropy Hardfacing Alloy. Crystals, 15(2), 117. https://doi.org/10.3390/cryst15020117

