Design and Control of a Piezoelectric-Driven Microgripper Perceiving Displacement and Gripping Force
Abstract
1. Introduction
2. Structural Model Setting-Up and Finite Element Analysis
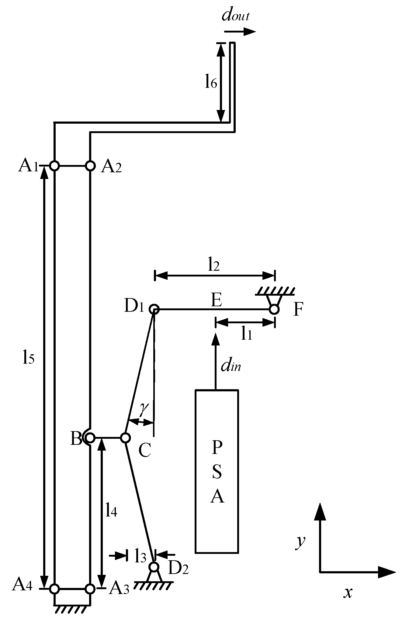
2.1. Structural Model Setting-Up and Analysis
2.2. Finite Element Analysis of the Microgripper
3. Results and Discussion
3.1. Experiment Platform
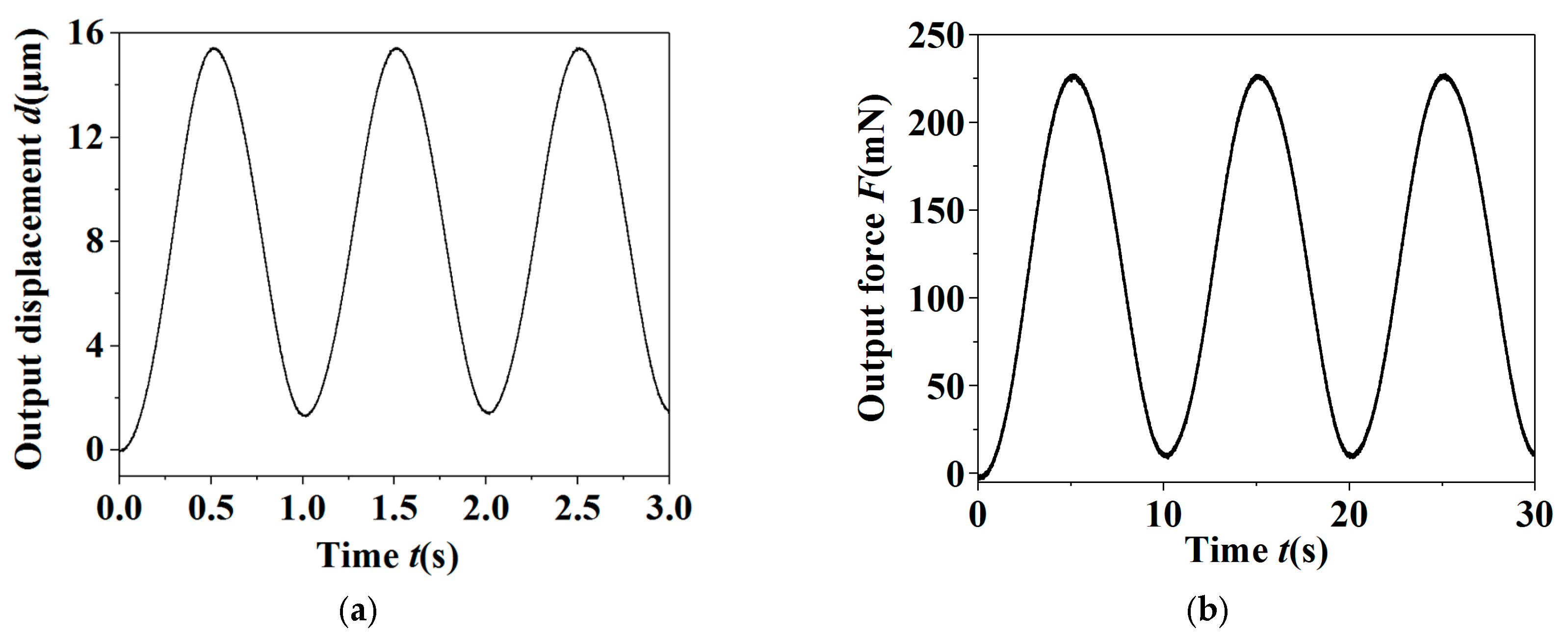
3.2. The Test of Tip Displacement and Gripping Force of the Microgripper
3.3. PID Feedback Control of the Microgripper
3.4. Actual Gripping Test of the Microgripper
4. Conclusions
Author Contributions
Acknowledgments
Conflicts of Interest
References
- Wang, D.H.; Yang, Q.; Dong, H.M. A monolithic compliant piezoelectric-driven microgripper: Design, modeling, and testing. Microelectron. Eng. 2013, 18, 138–147. [Google Scholar] [CrossRef]
- Hu, J.F.; Xu, G.Y.; Hao, Y.Z. Multi-objective optimization of micro-manipulation stage based on response surface method. Opt. Precis Eng. 2015, 23, 1096–1103. [Google Scholar]
- Das, A.N.; Murthy, R.; Dan, O.P.; Stephanou, H.E. A multiscale assembly and packaging system for manufacturing of complex micro-nano devices. IEEE Trans. Autom. Sci. Eng. 2011, 9, 160–170. [Google Scholar] [CrossRef]
- Alogla, A.; Scanlan, P.; Shu, W.; Reuben, R.L. A scalable syringe-actuated microgripper for biological manipulation. Sens. Actuat. A Phys. 2013, 202, 135–139. [Google Scholar] [CrossRef]
- Liang, C.; Wang, F.; Tian, Y.; Zhao, X.; Zhang, H.; Cui, L.; Zhang, D.; Ferreira, P. A novel monolithic piezoelectric actuated flexure-mechanism based wire clamp for microelectronic device packaging. Rev. Sci. Instrum. 2015, 86, 85–89. [Google Scholar] [CrossRef] [PubMed]
- Wang, F.; Liang, C.; Tian, Y.; Zhao, X.; Zhang, D. Design and control of a compliant microgripper with a large amplification ratio for high-speed micro manipulation. Microelectron. Eng. 2016, 21, 1262–1271. [Google Scholar] [CrossRef]
- Boudaoud, M.; Haddab, Y.; Gorrec, Y.L. Modeling and optimal force control of a nonlinear electrostatic microgripper. Microelectron. Eng. 2013, 18, 1130–1139. [Google Scholar] [CrossRef]
- Zhang, Y.; Chen, B.K.; Liu, X.; Sun, Y. Autonomous robotic pick-and-place of microobjects. IEEE Trans. Robot. 2010, 26, 200–207. [Google Scholar] [CrossRef]
- Ran, Z.; Chu, J.K.; Wang, H.X.; Chen, Z.P. SU-8 chevron electrothermal micro-actuator with three-layer structures. Opt. Precis. Eng. 2012, 20, 1500–1508. [Google Scholar]
- Kuo, J.C.; Tung, S.W.; Yang, Y.J. A hydrogel-based intravascular microgripper manipulated using magnetic fields. Sens. Actuat. A Phys. 2014, 211, 121–130. [Google Scholar] [CrossRef]
- Moussa, R.E.K.; Grossard, M.; Boukallel, M.; Hubert, A.; Chaillet, N. Optimal observability-based modelling, design and characterization of piezoelectric microactuators. Smart Mater. Struct. 2013, 22, 075036. [Google Scholar] [CrossRef]
- Hu, H.; Zhao, H.; Yang, Z.; Mi, J.; Fan, Z.; Wan, S.; Shi, C.; Ma, Z. A novel driving principle by means of the parasitic motion of the microgripper and its preliminary application in the design of the linear actuator. Rev. Sci. Instrum. 2012, 83, 463. [Google Scholar]
- Jayaram, K.; Joshi, S.S. Development of a flexure-based, force-sensing microgripper for micro-object manipulation. J. Micromech. Microeng. 2010, 20, 548–558. [Google Scholar] [CrossRef]
- Barazandeh, F.; Nazarinejad, S.; Nadafi, R.; MehdiAbadi, A.M.; Ghasemi, Z. Design and microfabrication of a compliant microgripper using nonbrittle and biocompatible material. J Mechan. Eng. Sci. 2013, 227, 2886–2896. [Google Scholar] [CrossRef]
- Randhawa, J.S.; Laflin, K.E.; Seelam, N.; Gracias, D.H. Microchemomechanical Systems. Adv. Funct. Mater. 2011, 21, 2395–2410. [Google Scholar] [CrossRef]
- Rong, W.; Fan, Z.; Wang, L.; Xie, H.; Sun, L. A vacuum microgripping tool with integrated vibration releasing capability. Rev. Sci. Instrum. 2014, 85, 085002. [Google Scholar] [CrossRef] [PubMed]
- Wang, F.; Liang, C.; Tian, Y.; Zhao, X.; Zhang, D. Design of a piezoelectric-actuated microgripper with a three-stage flexure-based amplification. Microelectron. Eng. 2015, 20, 2205–2213. [Google Scholar] [CrossRef]
- Li, Y.; Xu, Q. Design and robust repetitive control of a new parallel-kinematic XY piezostage for micro/nanomanipulation. Microelectron. Eng. 2012, 17, 1120–1132. [Google Scholar] [CrossRef]
- Xiao, S.; Li, Y. Visual servo feedback control of a novel large working range micro manipulation system for microassembly. J. Microelectromech Syst. 2014, 23, 181–190. [Google Scholar] [CrossRef]
- Cui, Y.G.; Zhu, Y.X.; Lou, J.Q.; Feng, F.Y. Detection of finger displacement and gripping force of piezoelectric micro-gripper. Opt. Precis. Eng. 2015, 23, 1372–1379. [Google Scholar] [CrossRef]
- Yang, Y.L.; Fu, L.; Tian, G.; Lou, J.Q.; Wei, Y.D. A bridge-type piezoelectric microgripper with integrated position/force sensors. Robot 2015, 37, 655–662. [Google Scholar]













| Parameters | Values | Unit | Parameters | Values | Unit |
|---|---|---|---|---|---|
| l1 | 4 | mm | rE | 1 | mm |
| l2 | 8 | mm | tA | 0.3 | mm |
| l3 | 4 | mm | tC | 0.5 | mm |
| l4 | 8 | mm | tD | 0.4 | mm |
| l5 | 40 | mm | tE, tF | 0.8 | mm |
| l6 | 24 | mm | b | 5 | mm |
| γ | 12 | ° | h | 1 | mm |
| rA, rC | 2 | mm | d | 0.4 | mm |
| rD, rF | 0.8 | mm | l | 4 | mm |
| Material | Young’s Modulus (GPa) | Density (kg/m3) | Poisson’s Ratio | Yield Limit (MPa) |
|---|---|---|---|---|
| Aluminum alloy | 71.7 | 2810 | 0.33 | 503 |
© 2020 by the authors. Licensee MDPI, Basel, Switzerland. This article is an open access article distributed under the terms and conditions of the Creative Commons Attribution (CC BY) license (http://creativecommons.org/licenses/by/4.0/).
Share and Cite
Zhao, Y.; Huang, X.; Liu, Y.; Wang, G.; Hong, K. Design and Control of a Piezoelectric-Driven Microgripper Perceiving Displacement and Gripping Force. Micromachines 2020, 11, 121. https://doi.org/10.3390/mi11020121
Zhao Y, Huang X, Liu Y, Wang G, Hong K. Design and Control of a Piezoelectric-Driven Microgripper Perceiving Displacement and Gripping Force. Micromachines. 2020; 11(2):121. https://doi.org/10.3390/mi11020121
Chicago/Turabian StyleZhao, Yanru, Xiaojie Huang, Yong Liu, Geng Wang, and Kunpeng Hong. 2020. "Design and Control of a Piezoelectric-Driven Microgripper Perceiving Displacement and Gripping Force" Micromachines 11, no. 2: 121. https://doi.org/10.3390/mi11020121
APA StyleZhao, Y., Huang, X., Liu, Y., Wang, G., & Hong, K. (2020). Design and Control of a Piezoelectric-Driven Microgripper Perceiving Displacement and Gripping Force. Micromachines, 11(2), 121. https://doi.org/10.3390/mi11020121
