Combined Block Adjustment for Optical Satellite Stereo Imagery Assisted by Spaceborne SAR and Laser Altimetry Data
Abstract
:1. Introduction
2. Materials and Methods
2.1. Automatic Acquisition of PCPs
- using classical feature point detection operators (e.g., Harris, Forstner, etc.) to extract a large number of evenly distributed feature points as key points with a block strategy in the images.
- using HOPC as a similarity measure and a template matching strategy to obtain homonymous points between images.
- acquiring sub-pixel accuracy by a local extreme fitting technique and eliminating the mismatch points.
- using the acquired homonymous points to correct the orbital attitude parameters or RPC parameters of the images to obtain the exact geometric transformation relationship between image coordinates and geographic coordinates, and to fine-correct the images to finally achieve exact registration between images.
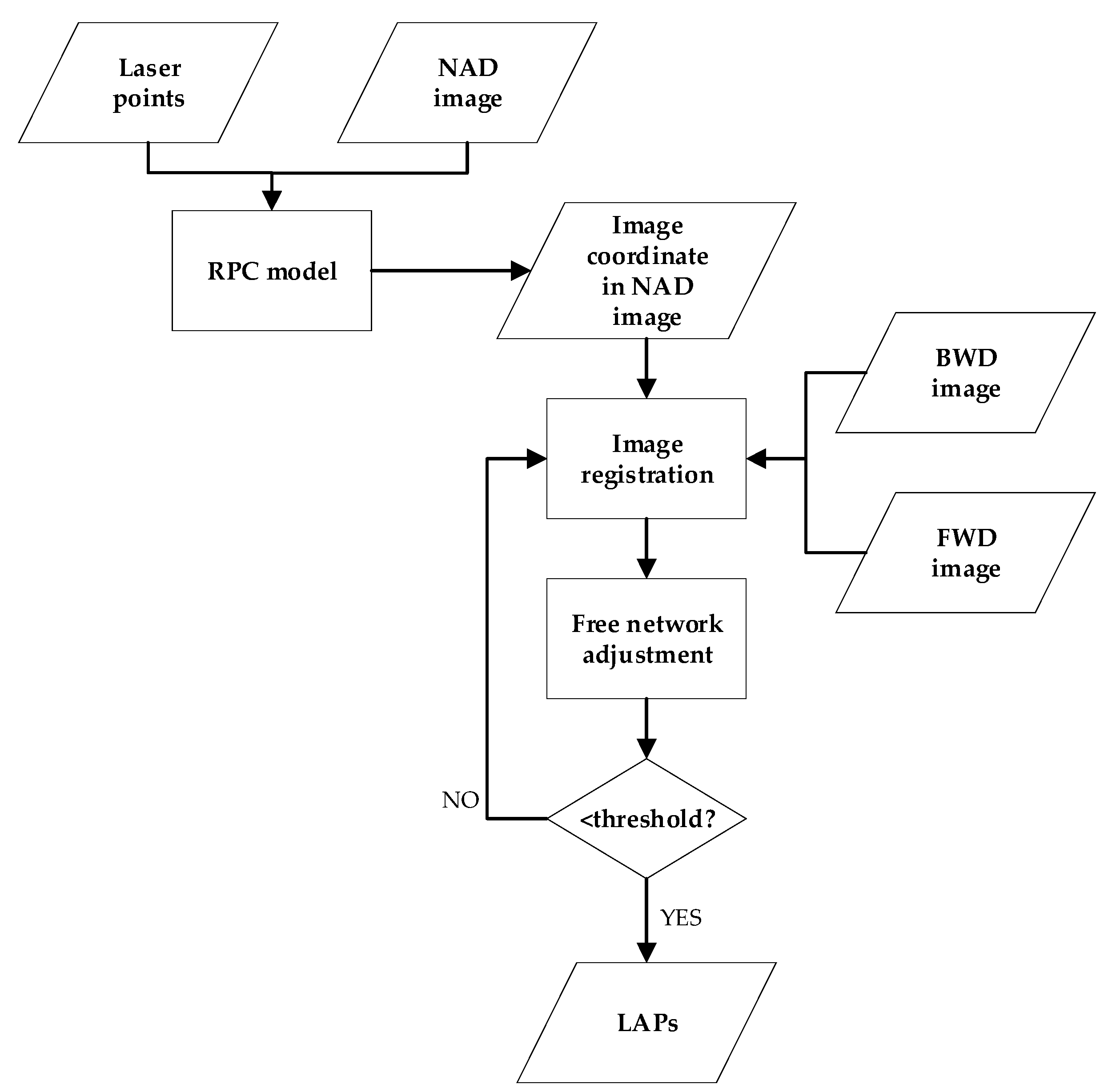
2.2. Automatic Acquisition of LAPs
- (1)
- In the process of laser measurement, if there are thick clouds over the surface, the laser points may be reflected directly on the clouds, and at this time the laser signal recorded by the laser rangefinder is actually the elevation value of the clouds, so it is first necessary to use the DEM data to remove the laser points with large differences between the elevation value and the actual surface elevation value, and this process can be carried out by setting the threshold value of elevation difference.
- (2)
- If the slope of the terrain within the laser spot changes greatly, the increase of the slope will lead to the pulse broadening of the received laser signal. Since the laser spot diameter is 70 m and the positioning accuracy is about 15 m, if the slope within the spot range causes the elevation change of the ground surface to exceed the high accuracy of the laser spot, the error of plane positioning will cause the actual accuracy of the laser spot to decrease and affect the use of the laser spot. In order to reduce the influence of surface deformation on the laser point, the DEM can be used to estimate the change of slope within the laser spot range, and when the change of slope causes the laser height measurement error to exceed the laser point’s high accuracy threshold, the laser point that exceeds the threshold will be rejected to ensure that the selected laser point’s high accuracy meets the use requirements.
- (3)
- After selection of the two types of elevation anomalies of laser points using DEM, the remaining laser points can be further selected by using the quality evaluation parameters of the laser points themselves; mainly, the laser points whose atmospheric scattering gain and saturation correction parameters do not meet the requirements can be eliminated, and at this time the remaining laser points can ensure their measurement accuracy and can be extracted for LAPs.
- (1)
- Firstly, the geographic coordinates of the LAPs can be obtained by using the latitude, longitude and elevation information of the LAPs itself, and after the conversion of the coordinate system, calculate the ground coordinates of LAPs and obtain the corresponding image coordinates in NAD images by back-projection.
- (2)
- Then, by using the laser points projected on the NAD camera image as references, obtain the LAPs on the backward-view (BWD) and forward-view (FWD) camera images by registration.
- (3)
- After obtaining the LAP’s image coordinates on the NAD, BWD, and FWD images, in order to eliminate the mis-registration points, the LAPs can be regarded as the tie points to perform free network adjustment among the stereo images, and the tie points with errors larger than the threshold are eliminated until the error of all the points meets the requirements. At this time, the image coordinates and the corresponding object square coordinates of LAPs are obtained.
2.3. Combined Adjustment Model
2.4. Experimental Data and Test Area
3. Results
3.1. Combined Block Adjustment Test for ZY-3 Images
3.2. Combined Block Adjustment Test for Mapping Satellite-1 Images
4. Discussion
- (1)
- Using LAPs as elevation control can effectively improve the elevation positioning accuracy of the image after adjustment, and at the same time, if the accuracy of the plane position is firstly improved before introducing LAPs, then the plane error of the laser control points can be partially eliminated, thus further improving the results of its elevation positioning accuracy. The results of ZY-3 show that after adding LAPs, the elevation accuracy is improved from the original 15.30 m to 4.24 m without corrected plane accuracy and 3.09 m after corrected plane accuracy, which is 72.2% and 79.8% respectively, while the accuracy after corrected plane position is 27.2% higher than that without correction, which indicates that corrected plane positioning accuracy is effective for improving elevation accuracy.
- (2)
- The PCPs obtained by using SAR registration can effectively improve the planar positioning accuracy of the image after adjustment, but the accuracy depends on the sampling interval of the SAR DOM and the positioning accuracy, and if the resolution of the optical image is high and the resolution of the SAR DOM is enough high, taking the HOPC registration accuracy of 1.5 pixels as an example, a SAR DOM with a sampling interval of 5 m can provide a maximum positioning accuracy of 7.25 m for the optical image, which can effectively ensure the planar positioning accuracy for areas lacking GPCs in the global mapping process. However, for higher accuracy positioning requirements, it is necessary to provide a higher resolution and higher accuracy SAR DOM to meet the accuracy needs.
- (3)
- ZY-3 experiments using both LAPs and PCPs can guarantee a plane accuracy of 7.15 m and an elevation accuracy of 2.29 m, which is better than the elevation accuracy of 22.38 m when using PCPs alone and plain accuracy of 9.02 m when using LAPs alone. This result shows that the combination of plan and elevation control points provides the best plain and elevation positioning accuracy.
5. Conclusions
Author Contributions
Funding
Institutional Review Board Statement
Informed Consent Statement
Data Availability Statement
Acknowledgments
Conflicts of Interest
References
- Zhang, L.; Zhang, J.; Chen, X.; Hong, A.N. Block-Adjustment with SPOT-5 Imagery and Sparse GCPs Based on RFM. Acta Geod. Cartogr. Sin. 2009, 38, 302–310. [Google Scholar]
- Bouillon, A.; Breton, E.; De Lussy, F.; Gachet, R. SPOT5 geometric image quality. In Proceedings of the IGARSS 2003. 2003 IEEE International Geoscience and Remote Sensing Symposium, Proceedings (IEEE Cat. No.03CH37477), Toulouse, France, 21–25 July 2003; pp. 303–305. [Google Scholar]
- Pan, H.B.; Zou, Z.R.; Zhang, G.; Zhu, X.Y.; Tang, X.M. A Penalized Spline-Based Attitude Model for High-Resolution Satellite Imagery. IEEE Trans. Geosci. Remote Sens. 2016, 54, 1849–1859. [Google Scholar] [CrossRef]
- Rottensteiner, F.; Weser, T.; Lewis, A.; Fraser, C.S. A Strip Adjustment Approach for Precise Georeferencing of ALOS Optical Imagery. IEEE Trans. Geosci. Remote Sens. 2009, 47, 4083–4091. [Google Scholar] [CrossRef]
- Wang, T.Y.; Zhang, G.; Li, D.R.; Tang, X.M.; Jiang, Y.H.; Pan, H.B.; Zhu, X.Y. Planar Block Adjustment and Orthorectification of ZY-3 Satellite Images. Photogramm. Eng. Remote Sens. 2014, 80, 559–570. [Google Scholar] [CrossRef]
- Zhang, Y.J.; Wan, Y.; Huang, X.H.; Ling, X. DEM-Assisted RFM Block Adjustment of Pushbroom Nadir Viewing HRS Imagery. IEEE Trans. Geosci. Remote Sens. 2016, 54, 1025–1034. [Google Scholar] [CrossRef]
- Li, X.; Wang, T.; Zhang, G.; Jiang, B.; Zhao, Y. Planar Block Adjustment for China’s Land Regions with LuoJia1-01 Nighttime Light Imagery. Remote Sens. 2019, 11, 2097. [Google Scholar] [CrossRef] [Green Version]
- Cao, H.; Tao, P.J.; Li, H.H.; Shi, J. Bundle adjustment of satellite images based on an equivalent geometric sensor model with digital elevation model. ISPRS J. Photogramm. Remote Sens. 2019, 156, 169–183. [Google Scholar] [CrossRef]
- Cheng, A.F.; Cole, T.D.; Zuber, M.T.; Smith, D.E.; Guo, Y.P.; Davidson, F. In-flight calibration of the Near Earth Asteroid Rendezvous laser rangefinder. Icarus 2000, 148, 572–586. [Google Scholar] [CrossRef] [Green Version]
- Shan, J.; Yoon, J.S.; Lee, D.S.; Kirk, R.L.; Neumann, G.A.; Acton, C.H. Photogrammetric analysis of the Mars Global Surveyor mapping data. Photogramm. Eng. Remote Sens. 2005, 71, 97–108. [Google Scholar] [CrossRef]
- Ouyang, Z.; Jiang, J.; Li, C.; Sun, H.; Zou, Y.; Liu, J.; Liu, J.; Zhao, B.; Ren, X.; Yang, J.; et al. Preliminary Scientific Results of Chang’E-1 Lunar Orbiter:Based on Payloads Detection Data in the First Phase. Chin. J. Space Sci. 2008, 28, 361–369. [Google Scholar]
- Abshire, J.B.; Sun, X.L.; Riris, H.; Sirota, M.; McGarry, J.; Palm, S.; Ketchum, E.A.; Follas, R.B. Geoscience laser altimeter system (GLAS) on the ICESat mission: Pre-launch and on-orbit measurement performance. Geophys. Res. Lett. 2003, 32, 1534–1536. [Google Scholar] [CrossRef] [Green Version]
- Markus, T.; Neumann, T.; Martino, A.; Abdalati, W.; Brunt, K.; Csatho, B.; Farrell, S.; Fricker, H.; Gardner, A.; Harding, D.; et al. The Ice, Cloud, and land Elevation Satellite-2 (ICESat-2): Science requirements, concept, and implementation. Remote Sens. Environ. 2017, 190, 260–273. [Google Scholar] [CrossRef]
- Walker, C.C.; Gardner, A.S. Evolution of ice shelf rifts: Implications for formation mechanics and morphological controls. Earth Planet. Sci. Lett. 2019, 526, 115764. [Google Scholar] [CrossRef]
- Zhang, G.; Chen, W.; Xie, H. Tibetan Plateau’s Lake Level and Volume Changes from NASA’s ICESat/ICESat-2 and Landsat Missions. Geophys. Res. Lett. 2019, 46, 13107–13118. [Google Scholar] [CrossRef]
- Lin, C.S. Improved derivation of forest stand canopy height structure using harmonized metrics of full-waveform data. Remote Sens. Environ. 2019, 235, 111436. [Google Scholar] [CrossRef]
- Huang, X.D.; Xie, H.J.; Liang, T.G.; Yi, D.H. Estimating vertical error of SRTM and map-based DEMs using ICESat altimetry data in the eastern Tibetan Plateau. Int. J. Remote Sens. 2011, 32, 5177–5196. [Google Scholar] [CrossRef]
- Rizzoli, P.; Martone, M.; Gonzalez, C.; Wecklich, C.; Tridon, D.B.; Brautigam, B.; Bachmann, M.; Schulze, D.; Fritz, T.; Huber, M.; et al. Generation and performance assessment of the global TanDEM-X digital elevation model. Isprs J. Photogramm. 2017, 132, 119–139. [Google Scholar] [CrossRef] [Green Version]
- Wu, B.; Guo, J.; Hu, H.; Li, Z.; Chen, Y. Co-registration of lunar topographic models derived from Chang’E-1, SELENE, and LRO laser altimeter data based on a novel surface matchingmethod. Earth Planet. Sci. Lett. 2013, 364, 68–84. [Google Scholar] [CrossRef]
- Li, G.Y.; Tang, X.M.; Gao, X.M.; Wang, H.B.; Wang, Y. ZY-3 Block adjustment supported by glas laser altimetry data. Photogramm. Rec. 2016, 31, 88–107. [Google Scholar] [CrossRef]
- Jin, W.; Yong, Z.; Zuxun, Z.; Xiao, L.; Pengjie, T.; Mengxiao, S. ICESat laser points assisted block adjustment for Mapping Satellite-1 stereo imagery. Acta Geod. Cartogr. Sin. 2018, 47, 359. [Google Scholar]
- Zhang, G.; Xu, K.; Jia, P.; Hao, X.Y.; Li, D.R. Integrating Stereo Images and Laser Altimeter Data of the ZY3-02 Satellite for Improved Earth Topographic Modeling. Remote Sens. 2019, 11, 2453. [Google Scholar] [CrossRef] [Green Version]
- Ye, Y.X.; Bruzzone, L.; Shan, J.; Bovolo, F.; Zhu, Q. Fast and Robust Matching for Multimodal Remote Sensing Image Registration. IEEE Trans. Geosci. Remote Sens. 2019, 57, 9059–9070. [Google Scholar] [CrossRef] [Green Version]
- Magruder, L.A.; Webb, C.E.; Urban, T.J.; Silverberg, E.C.; Schutz, B.E. ICESat altimetry data product verification at White Sands Space Harbor. IEEE Trans. Geosci. Remote Sens. 2007, 45, 147–155. [Google Scholar] [CrossRef]
- Zhang, G.; Fei, W.B.; Li, Z.; Zhu, X.Y.; Li, D.R. Evaluation of the RPC Model for Spaceborne SAR Imagery. Photogramm. Eng. Remote Sens. 2010, 76, 727–733. [Google Scholar] [CrossRef]
- Tao, C.V.; Hu, Y. A comprehensive study of the rational function model for photogrammetric processing. Photogramm. Eng. Remote Sens. 2001, 67, 1347–1357. [Google Scholar]
- Grodecki, J.; Dial, G. Block adjustment of high-resolution satellite images described by rational polynomials. Photogramm. Eng. Remote Sens. 2003, 69, 59–68. [Google Scholar] [CrossRef]
- Dial, G.; Grodecki, J. Block adjustment with rational polynomial camera models. In Proceedings of the ASCM-ASPRS Annual Conventions, Washington, DC, USA, 29 April 2002. [Google Scholar]
- Zhang, G.; Wu, Q.W.; Wang, T.Y.; Zhao, R.S.; Deng, M.J.; Jiang, B.Y.; Li, X.; Wang, H.B.; Zhu, Y.; Li, F.T. Block Adjustment without GCPs for Chinese Spaceborne SAR GF-3 Imagery. Sensors 2018, 18, 4023. [Google Scholar] [CrossRef] [Green Version]
- Zhao, R.S.; Zhang, G.; Deng, M.J.; Xu, K.; Guo, F.C. Geometric Calibration and Accuracy Verification of the GF-3 Satellite. Sensors 2017, 17, 1977. [Google Scholar] [CrossRef] [Green Version]
- Deng, M.J.; Zhang, G.; Zhao, R.S.; Li, S.N.; Li, J.S. Improvement of Gaofen-3 Absolute Positioning Accuracy Based on Cross-Calibration. Sensors 2017, 17, 2903. [Google Scholar] [CrossRef] [Green Version]











| Item | Test Area | |
|---|---|---|
| ZY-3 | Mapping Satellite-1 | |
| Acquisition Date | 11.1.2012–24.12.2021 | 27.4.2012–29.2.2018 |
| Test Area | Jiangxi | Hubei |
| Elevation Range (m) | (6.107, 1335.71) | (3.58, 2572.21) |
| Latitude Range | 25.61°N–30.62°N | 29.00°N–32.90°N |
| Longitude Range | 113.20°E–117.12°E | 108.81°E–116.10°E |
| Image Num | 255 | 297 |
| Cover Range | 50 km × 50 km | 60 km × 60 km |
| Image resolution | NAD-2.1 m BWD/FWD-3.5 m | 5 m |
| Plan | LAP Num | PCP Num | Maximum Error (m) | Mean Difference (m) | RMSE (m) | |||||||||
|---|---|---|---|---|---|---|---|---|---|---|---|---|---|---|
| East | North | Plain | Height | East | North | Plain | Height | East | North | Plain | Height | |||
| Plan A | 0 | 0 | 44.68 | 21.99 | 38.00 | −40.67 | 7.76 | −1.10 | 11.79 | 6.96 | 12.47 | 7.64 | 14.62 | 15.30 |
| Plan B | 0 | 14,287 | 7.52 | −13.33 | 13.39 | 48.97 | 1.51 | −5.51 | 6.68 | 14.42 | 3.37 | 6.28 | 7.13 | 22.38 |
| Plan C | 9074 | 0 | 13.53 | −11.32 | 15.10 | −10.26 | 5.92 | −2.24 | 7.48 | −0.24 | 6.85 | 4.19 | 9.02 | 3.09 |
| Plan D | 8348 | 0 | −15.37 | 21.33 | 23.40 | −9.86 | −4.54 | 10.82 | 13.38 | −0.06 | 7.31 | 11.82 | 13.90 | 4.24 |
| Plan E | 8348 | 14,287 | 7.43 | −13.57 | 13.58 | −10.24 | 1.60 | −5.54 | 6.70 | −0.21 | 3.38 | 6.307 | 7.15 | 2.29 |
| Plan | LAP Num | PCP Num | Maximum Error (m) | Mean Difference (m) | RMSE (m) | |||||||||
|---|---|---|---|---|---|---|---|---|---|---|---|---|---|---|
| East | North | Plain | Height | East | North | Plain | Height | East | North | Plain | Height | |||
| Plan A | 0 | 0 | −19.24 | −23.30 | 25.36 | −31.65 | −2.31 | −6.99 | 9.62 | −1.11 | 5.94 | 9.68 | 11.35 | 8.37 |
| Plan B | 0 | 35,825 | 21.32 | −17.34 | 22.75 | −16.95 | 3.61 | −5.21 | 8.09 | 0.39 | 5.46 | 7.11 | 9.00 | 5.91 |
| Plan C | 13,213 | 0 | 17.56 | −16.66 | 18.65 | 9.47 | −1.72 | −5.70 | 7.89 | −0.15 | 5.13 | 7.36 | 8.97 | 3.56 |
| Plan D | 14,005 | 0 | 17.91 | −16.55 | 19.00 | 9.37 | −1.73 | −5.65 | 7.80 | −0.10 | 5.17 | 7.31 | 8.95 | 3.51 |
| Plan E | 14,005 | 35,825 | 21.31 | −17.33 | 22.75 | 9.10 | 3.59 | −5.24 | 8.09 | −0.16 | 5.45 | 7.12 | 8.97 | 3.51 |
Publisher’s Note: MDPI stays neutral with regard to jurisdictional claims in published maps and institutional affiliations. |
© 2021 by the authors. Licensee MDPI, Basel, Switzerland. This article is an open access article distributed under the terms and conditions of the Creative Commons Attribution (CC BY) license (https://creativecommons.org/licenses/by/4.0/).
Share and Cite
Zhang, G.; Jiang, B.; Wang, T.; Ye, Y.; Li, X. Combined Block Adjustment for Optical Satellite Stereo Imagery Assisted by Spaceborne SAR and Laser Altimetry Data. Remote Sens. 2021, 13, 3062. https://doi.org/10.3390/rs13163062
Zhang G, Jiang B, Wang T, Ye Y, Li X. Combined Block Adjustment for Optical Satellite Stereo Imagery Assisted by Spaceborne SAR and Laser Altimetry Data. Remote Sensing. 2021; 13(16):3062. https://doi.org/10.3390/rs13163062
Chicago/Turabian StyleZhang, Guo, Boyang Jiang, Taoyang Wang, Yuanxin Ye, and Xin Li. 2021. "Combined Block Adjustment for Optical Satellite Stereo Imagery Assisted by Spaceborne SAR and Laser Altimetry Data" Remote Sensing 13, no. 16: 3062. https://doi.org/10.3390/rs13163062
APA StyleZhang, G., Jiang, B., Wang, T., Ye, Y., & Li, X. (2021). Combined Block Adjustment for Optical Satellite Stereo Imagery Assisted by Spaceborne SAR and Laser Altimetry Data. Remote Sensing, 13(16), 3062. https://doi.org/10.3390/rs13163062

