A Comprehensive Real-Time Indoor Air-Quality Level Indicator
Abstract
:1. Introduction
2. Comprehensive Air-Quality Index
- I(n) = the (Air-Quality) index of pollutant n,
- C = the pollutant concentration,
- BPLO = the concentration breakpoint that is ≤ C,
- BPHI = the concentration breakpoint that is ≥ C,
- ILO = the index breakpoint corresponding to BPLO, and
- IHI = the index breakpoint corresponding to BPHI.
3. Experiments with a Tiny Air-Quality Monitoring System
4. Designing a Comprehensive Real-Time Indoor Air-Quality Level Indicator
4.1. Overview
- Minimum overhead in processing: IoT devices generally use low-end MCU, so processing overhead should be minimized.
- Small memory usage: When calculating a comprehensive and individual air-quality index, memory consumption should be minimized, since, due to cost-efficiency, the system has a small memory.
- Outlier or missing value handling capability: The sensors used in IoT-based air-quality systems can effectively cope with several outliers or missing values caused by frequent sensing interval and concurrent-intensive operations.
- Indication representing comprehensive pollutants: In order to notify the current air-quality information in real time, an intuitive indication method is necessary.
- Quick response with respect to real-time air-quality changes: A comprehensive index (or indicator) should be able to quickly respond to dynamic indoor air-quality changes.
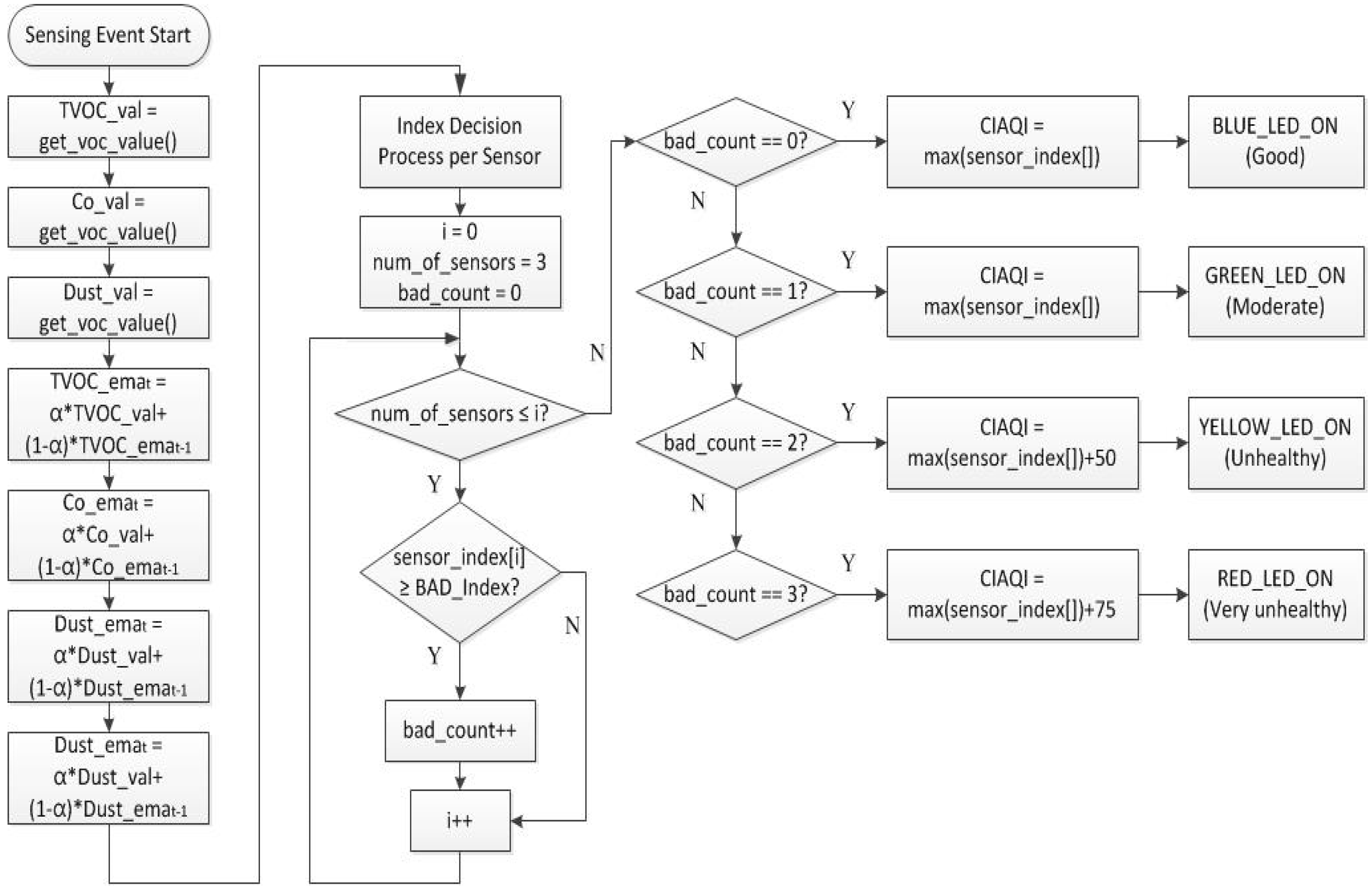
4.2. CIAQI: Comprehensive Indoor Air-Quality Indicator
4.3. Real-Time Enhancement
5. Evaluations
6. Conclusions
Acknowledgments
Author Contributions
Conflicts of Interest
Abbreviations
| AQI | Air-Quality Index |
| IoT | Internet of Things |
| VOC | Volatile Organic Compound |
| PM | Particulate matters |
| CO | Carbon Oxide |
| BP | Break Point |
| CAQI | Comprehensive Air-Quality Index |
| CIAQI | Comprehensive Indoor Air-Quality Indicator |
| EMA | Exponential Moving Average |
| SMA | Simple Moving Average |
| AVG | Average |
| RMSE | Root Mean Square Error |
References
- Maroni, M.; Seifert, B.; Lindvall, T. Indoor Air-Quality: A Comprehensive Reference Book; Elsevier: Amsterdam, The Netherlands, 1995; Volume 3. [Google Scholar]
- Open Source DIY Project: LiV RPi Indoor Air-Quality Monitor. Available online: http://www.livpi.com/ (accessed on 28 October 2015).
- Szczys, M. Standalone Air-Quality Monitor Based around Raspberry Pi. Available online: http://hackaday.com/2012/12/11/standalone-air-quality-monitor-based-around-raspberry-pi (accessed on 11 December 2012).
- Homemade Arduino Based Indoor Air-Quality CO2 PPM, Temperature, Humidity Monitor. Available online: https://www.youtube.com/watch?v=gBtDGUB8HO8 (accessed on 1 September 2012).
- Environment and Climate Change Canada. Air Quality Health Index Categories and Health Messages—The AQHI Uses a Scale to Show the Health Risk Associated with the Air Pollution We Breathe. 2008. Available online: http://www.ec.gc.ca/cas-aqhi/default.asp?lang=En&n=79A8041B-1 (accessed on 11 November 2011). [Google Scholar]
- Government of the Hong Kong Special Administrative Region. “Air-Quality Health Index”. Available online: https://en.wikipedia.org/wiki/Air_Quality_Health_Index_(Canada) (accessed on 9 February 2014).
- Chinese Environmental Protection Department. People’s Republic of China Ministry of Environmental Protection Standard: Technical Regulation on Ambient Air-Quality Index (Chinese PDF). Available online: http://kjs.mep.gov.cn/hjbhbz/bzwb/dqhjbh/jcgfffbz/201203/W020120410332725219541.pdf (accessed on 16 November 2015).
- Lakshmi, R. India Launches Its Own Air-Quality Index. Can Its Numbers Be Trusted? Washington Post. 2014. Available online: https://www.washingtonpost.com/news/worldviews/wp/2014/10/17/india-launches-its-own-air-quality-index-can-its-numbers-be-trusted/ (accessed on 20 August 2015).
- Ministry of the Environment and Water Resources. Singapore, MEWR—Key Environment Statistics—Clean Air. 2007. Available online: http://unpan1.un.org/intradoc/groups/public/documents/APCITY/UNPAN026593.pdf (accessed on 11 November 2011).
- Air Korea. What’s CAI. Available online: http://www.airkorea.or.kr/eng/cai/cai1 (accessed on 25 October 2015).
- COMEAP. Review of the UK Air-Quality Index. Available online: http://webarchive.nationalarchives.gov.uk/20140505104700/http://comeap.org.uk/documents/130-review-of-the-uk-air-quality-index.html (accessed on 5 May 2014).
- Garcia, J.; Colosio, J. Air-Quality Indices: Elaboration, Uses and International Comparisons; Les Presses de l’cole des Mines: Paris, France, 2002. [Google Scholar]
- AirNow. Air-Quality Index (AQI) Basics. 2011. Available online: https://www.airnow.gov/index.cfm?action=aqibasics.aqi (accessed on 8 August 2012). [Google Scholar]
- International Air-Quality. Available online: https://www.airnow.gov/index.cfm?action=airnow.international (accessed on 20 August 2015).
- National Weather Service Corporate Image Web Team. NOAA’s National Weather Service/Environmental Protection Agency—United States Air-Quality Forecast Guidance. Available online: http://airqualityweather.gov/ (accessed on 20 August 2015).
- European Air-Quality Monitoring and Forecasting. Available online: https://www.gmes-atmosphere.eu/services/raq/raq_nrt/ (accessed on 11 September 2015).
- U.S. Environmental Protection Agency. Step 2—Dose-Response Assessment. Available online: https://www.epa.gov/risk (accessed on 20 August 2015).
- U.S. Environmental Protection Agency. Technical Assistance Document for the Reporting of Daily Air-Quality—The Air-Quality Index (AQI). 2013. Available online: http://www.epa.gov/airnow/aqi-technical-assistance-document-dec2013.pdf (accessed on 1 December 2013). [Google Scholar]
- Sharp. PM10 Sensor, GP2Y1010AU0F. Available online: https://www.sparkfun.com/datasheets/Sensors/gp2y1010au_e.pdf (accessed on 1 December 2006).
- Ogam Technology. VOC Sensor, GSBT11. Available online: http://www.ogamtech.com/page/page.php?pid=109853 (accessed on 12 September 2015).
- HANWEI Electronics. CO Sensor, MQ7. Available online: https://www.sparkfun.com/products/9403 (accessed on 1 May 2014).
- DFRobot. Temperature and Humidity Sensor, DHT22. Available online: http://www.dfrobot.com/index.php?route=product/product&product_id=1102&search=dht22&description=true#.V3SGssuwcy9 (accessed on 11 January 2016).
- R Project. Available online: https://cran.r-project.org/ (accessed on 31 August 2016).
- Plotly. Available online: https://plot.ly/feed/ (accessed on 29 August 2016).
- The Ministry of Environment, Korea. Indoor Air-Quality Recommendation Level for New Apartment. 2015. Available online: http://www.law.go.kr/lsInfoP.do?lsiSeq=176456&efYd=20151118#0000 (accessed on 18 November 2015). [Google Scholar]
- The Ministry of Environment. Indoor Air-Quality Maintenance Level; The Ministry of Environment: Seoul, Korea, 2014.
- Imaizumi, H.; Nagata, T.; Kunito, G.; Yamazaki, K.; Morikawa, H. Power Saving Mechanism Based on Simple Moving Average for 802.3ad Link Aggregation. In Proceedings of the 2009 IEEE GLOBECOM Workshops, Honolulu, HI, USA, 30 November–4 December 2009; pp. 1–6.
- Yu, J.; Kim, S.B.; Han, S. Comparison of exponential smoothing methods for prediction under non-trendy data. In Proceedings of the KIIE Fall Conference, Seoul, Korea, 15 November 2013; Volume 11, pp. 249–259.
- Risteski, D.; Kulakov, A.; Davcev, D. Single Exponential Smoothing Method and Neural Network in One Method for Time Series Prediction. Cybern. Intell. Syst. 2004, 2, 741–745. [Google Scholar]
- Zhuang, Y.Z.; Chen, L.; Wang, X.S.; Lian, J. A Weighted Moving Average-based Approach for Cleaning Sensor Data. In Proceedings of the 27th International Conference on Distributed Computing Systems (ICDCS ’07), Toronto, ON, Canada, 25–27 June 2007.












| Location | Embedded Networked System Architecture Lab, INU |
|---|---|
| Type of Sensors | VOC |
| CO | |
| PM10 | |
| Temperature | |
| Humidity | |
| Collection Period | 5 min |
| Collection Duration | 355 h (about 2 weeks) |
| Number of Collected Data | 4006 |
| Data Analysis Tool | R Studio [23] |
| Plotting Tool | Plotly [24] |
| Database | MySQL Workbench 5.1 CE |
| VOC | CO | PM10 | CIAQI | |||||||||
|---|---|---|---|---|---|---|---|---|---|---|---|---|
| Smoothing method | AVG 12 | SMA 12 | EMA 0.3 | AVG 12 | SMA 12 | EMA 0.3 | AVG 12 | SMA 12 | EMA 0.3 | AVG 12 | SMA 12 | EMA 0.3 |
| RMSE | 1.6785 | 3.2993 | 1.2296 | 8.8225 | 11.0439 | 5.7809 | 18.2461 | 19.3337 | 14.7557 | 13.7972 | 16.3289 | 10.8457 |
| Variability | 0.9963 | 0.9857 | 0.9980 | 0.9118 | 0.8619 | 0.9621 | 0.7758 | 0.7510 | 0.8549 | 0.7798 | 0.7194 | 0.8762 |
| Memory usage | 180 bytes | 180 bytes | 30 bytes | 180 bytes | 180 bytes | 30 bytes | 180 bytes | 180 bytes | 30 bytes | 180 bytes | 180 bytes | 30 bytes |
© 2016 by the authors; licensee MDPI, Basel, Switzerland. This article is an open access article distributed under the terms and conditions of the Creative Commons Attribution (CC-BY) license (http://creativecommons.org/licenses/by/4.0/).
Share and Cite
Kang, J.; Hwang, K.-I. A Comprehensive Real-Time Indoor Air-Quality Level Indicator. Sustainability 2016, 8, 881. https://doi.org/10.3390/su8090881
Kang J, Hwang K-I. A Comprehensive Real-Time Indoor Air-Quality Level Indicator. Sustainability. 2016; 8(9):881. https://doi.org/10.3390/su8090881
Chicago/Turabian StyleKang, Jungho, and Kwang-Il Hwang. 2016. "A Comprehensive Real-Time Indoor Air-Quality Level Indicator" Sustainability 8, no. 9: 881. https://doi.org/10.3390/su8090881
APA StyleKang, J., & Hwang, K.-I. (2016). A Comprehensive Real-Time Indoor Air-Quality Level Indicator. Sustainability, 8(9), 881. https://doi.org/10.3390/su8090881
