Next Article in Journal
Sustainable Alternative to Perchlorate-Based Propellants via Use of Foaming Strategies: Case Study of Porous Solid Rocket Propellants Based on Ammonium Nitrate
Previous Article in Journal
Bridging the Compliance Gap in Indonesia Green Building Projects Through a Systems Thinking Approach
Previous Article in Special Issue
Factors Influencing Sustainable Development in Pacific Asia: A Quantile Panel Analysis
 
 
Due to scheduled maintenance work on our servers, there may be short service disruptions on this website between 11:00 and 12:00 CEST on March 28th.
Font Type:
Arial Georgia Verdana
Font Size:
Aa Aa Aa
Line Spacing:
Column Width:
Background:
Article

Coordinated Low-Voltage Ride-Through Strategy for Hybrid Grid-Forming and Grid-Following Converter Interconnected Grid Systems

The Electrical Engineering College, Guizhou University, Guiyang 550025, China
*
Author to whom correspondence should be addressed.
Sustainability 2026, 18(7), 3246; https://doi.org/10.3390/su18073246
Submission received: 15 February 2026 / Revised: 15 March 2026 / Accepted: 25 March 2026 / Published: 26 March 2026
(This article belongs to the Special Issue Transitioning to Sustainable Energy: Opportunities and Challenges)

Abstract

The transition towards sustainable energy systems is critically dependent on the reliable integration of renewable energy sources into the power grid. With the increasing penetration of renewable generation, hybrid grid-connected systems comprising grid-following (GFL) and grid-forming (GFM) converters have become essential in modern power stations. This paper addresses a key challenge to sustainable grid operation: maintaining stability and power delivery during grid faults. When faults cause voltage sags at the point of common coupling (PCC), different low-voltage ride-through (LVRT) strategies significantly impact both the voltage support capability and the active power transmission capacity, which are vital for a stable and resilient energy supply. To address this, the paper proposes a coordinated LVRT strategy for GFL/GFM converters that adapts to varying grid requirements, thereby promoting sustainable grid integration. First, the topology and control strategies of the hybrid system are briefly described. The conventional LVRT control strategies for both GFL and GFM converters are then improved. Based on the severity of the grid voltage sag, the converters’ active and reactive power output are adaptively adjusted. This dual-function approach not only effectively limits fault currents, protecting sensitive equipment, but also prioritizes the continuous transmission of active power, thereby minimizing the loss of renewable generation during faults and supporting grid stability. Subsequently, through an analysis of the voltage and active power characteristics of different LVRT modes, a coordinated strategy is designed. Unlike single-converter LVRT control, the proposed method flexibly selects and adjusts control modes to meet specific grid code requirements, ensuring robust voltage support and maximizing the utilization of clean energy even under adverse conditions. Finally, the effectiveness of this coordinated control strategy in ensuring a sustainable and resilient grid connection is validated through MATLAB R2022b/Simulink simulations.

1. Introduction

With the deepening of China’s “dual carbon” strategic goals, the proportion of new energy power generation continues to increase. The large-scale integration of new energy sources exacerbates the randomness and volatility of local power grids [1,2], often resulting in a weak grid integration environment [3]. In recent years, GFM converters have been widely adopted in new energy stations, operating in parallel with traditional GFL converters to form hybrid GFM/GFL converter systems [4,5]. When facing voltage sags caused by grid faults, the coordinated LVRT capability of GFM and GFL converters within such hybrid systems is crucial for ensuring stable system operation. However, the coordination control mechanisms between them remain underexplored, representing a core area of current research.
Extensive research has been conducted on LVRT strategies for single converter units, establishing a rich foundation of knowledge. For GFL converters, which are the more established technology, studies have progressed from basic current-limiting methods to sophisticated system-level controls. Early work focused on internal converter management, such as adaptive DC-link voltage control for photovoltaic inverters [6] and active current-limiting techniques for back-to-back converters [7]. A significant body of research has also addressed the challenges posed by weak grids, particularly the instability of the phase-locked loop (PLL). For instance, ref. [8] revealed that PLL loss of synchronism during LVRT stems from transient interaction with weak terminal voltage, leading to the development of enhanced PLL structures like the nonlinear complex filter PLL [9] and low-pass notch PLL [10] to ensure fast and smooth transient responses. At the system level, decentralized [11] and hierarchical [12] control schemes have been proposed to enable multiple distributed generation units to achieve asymmetric LVRT and provide effective grid support [13,14,15].
Parallel to this, significant progress has been made in developing LVRT capabilities for GFM converters. A primary challenge for GFM units is reconciling their voltage source behavior with the need for overcurrent limitation during faults. To address this, researchers have proposed strategies ranging from modifying control parameters, such as using the power factor angle to comply with grid codes [16], to implementing smooth switching mechanisms that transition the converter from voltage source mode to current source mode during faults [17]. Another prevalent approach is the use of virtual impedance control, which has been adaptively combined with power angle analysis to enhance transient stability and suppress overcurrents [18,19]. For more severe fault conditions, hardware solutions like installing fault current limiters at the point of common coupling have also been explored [20]. Beyond individual converter control, studies have begun to address coordination in heterogeneous GFM systems, employing schemes to enforce coherency and prevent loss of synchronism among multiple GFM units during faults [21,22,23]. Further research has refined these techniques, focusing on asymmetrical fault handling [24] and advanced control methods like reactive power synchronization [25] and linear active disturbance rejection control [26] to ensure robust fault ride-through.
While the literature summarized above provides deep insights and effective solutions for LVRT in systems composed exclusively of either GFL or GFM converters, this focus on homogeneous systems leaves a critical gap in understanding their coordinated behavior within hybrid GFM/GFL systems. The coexistence of these two fundamentally different control philosophies—one acting as a current source synchronized to the grid via PLL, the other as a voltage source forming its own internal voltage—introduces complex dynamic interactions during grid faults that are not present in single-unit or homogeneous multi-unit scenarios. The strategies optimized for one converter type may not be optimal, or could even be detrimental, when operating in parallel with the other. For instance, a GFL converter’s PLL-based synchronization could be disturbed by the voltage dynamics of a co-located GFM converter during a fault, or a GFM converter’s current-limiting scheme might inadvertently affect the fault current contribution expected by a GFL unit’s control system. Despite the practical proliferation of such hybrid systems [4,5], the coordination mechanisms between GFM and GFL converters during LVRT remain largely unexplored.
To address this gap, this paper takes the hybrid GFM/GFL converter system as the research object and proposes a coordinated adaptive LVRT strategy tailored to different voltage sag depths. This strategy first enhances the LVRT capabilities of both GFM and GFL converters individually, ensuring stable operation while maximizing active power transmission during faults. Furthermore, it investigates combinations of different LVRT modes, discusses the advantages and disadvantages of various control strategies under diverse grid requirements, and designs a coordinated LVRT approach adaptable to varying voltage sag depths. By bridging the gap between single-unit LVRT studies and the practical needs of hybrid systems, this work contributes to more resilient and efficient new energy integration.

2. Topology and Control of GFM/GFL Hybrid Systems

2.1. The Main Circuit Structure of the System

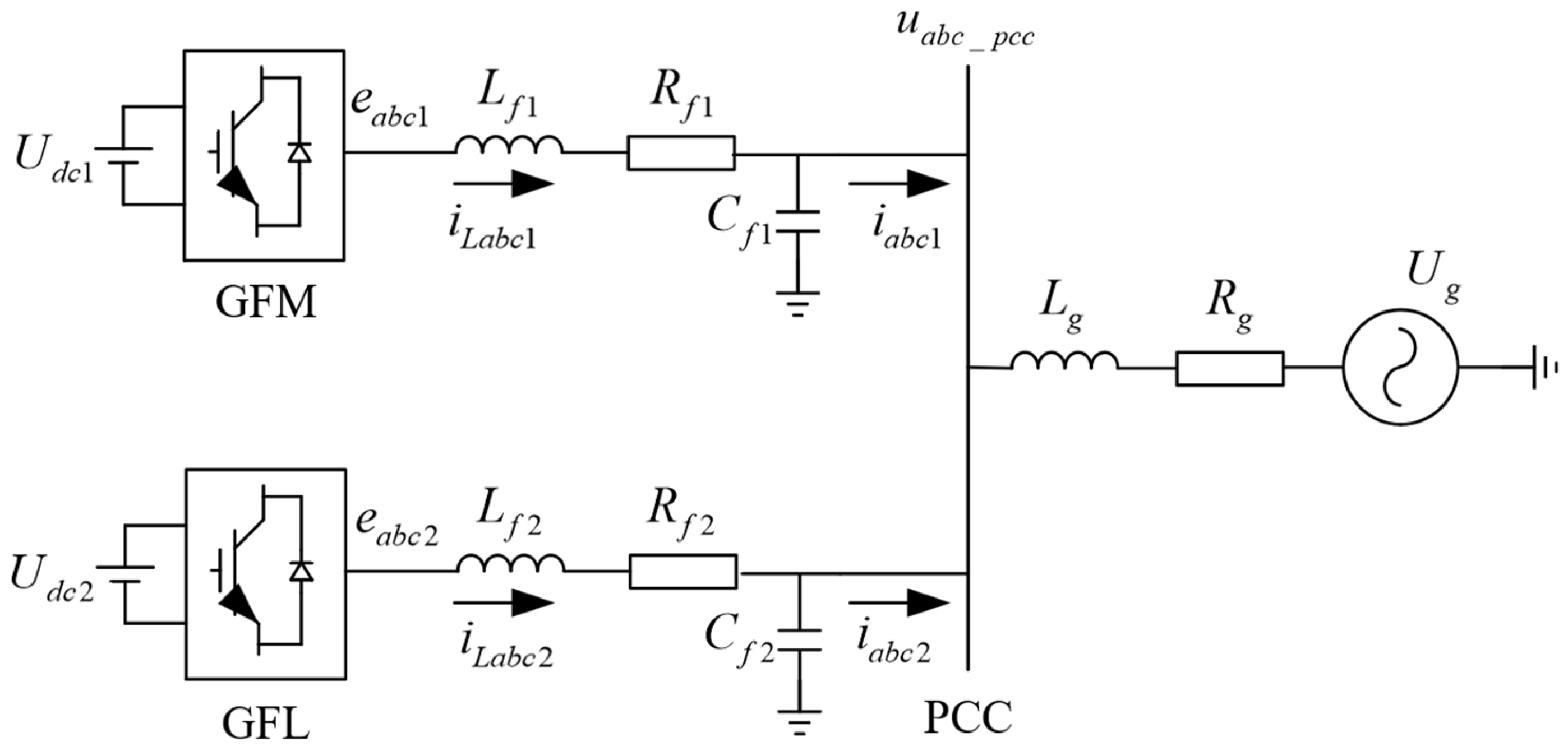
The topology of the GFL/GFM converters hybrid system studied in this paper is shown in Figure 1. The system consists of two converters with the same capacity, which are first connected in parallel at the point of common coupling (PCC) after LC filtering, and then connected to the grid. In the figure, Udc1,2 represent the DC side voltages of VSC1,2; Lf1,2, Rf1,2 are the filter inductors and parasitic resistances of VSC1,2 respectively; Cf1,2 is the filter capacitor of VSC1,2; eabc1,2, uabc_pcc are the three-phase voltages at the AC side, output side of the converter and the PCC respectively; iLabc1,2, iabc1,2 are the currents of the filter inductors and the output side of the converter respectively; Lg, Rg are the equivalent inductance and resistance of the power grid; Ug is the voltage of the power grid.

2.2. GFM Converter

The GFM converter adopts VSG control. Its control structure consists of the active power–frequency droop control section (hereafter called P-f loop), the reactive power–voltage droop control section (hereafter called Q-v loop), and the dual-loop of voltage and current control [27]. The control block diagram is shown in Figure 2.
According to the control block diagram of the GFM converter, its mathematical model is established as shown in Equation (1):
J d Δ ω d t = P r e f P / ω n + D p ω n ω 1 d θ 1 d t = ω n ω 1 K d E 1 d t = Q r e f Q + U n U g / D q E m = E 0 + E 1 i L d 1 r e f = i L d 1 + k p v 1 v d 1 r e f v d 1 + k i v 1 v d 1 r e f v d 1 d t ω n C f 1 v q 1 i L q 1 r e f = i L q 1 + k p v 1 v q 1 r e f v q 1 + k i v 1 v q 1 r e f v q 1 d t + ω n C f 1 v d 1 c d 1 = v d 1 + k p i 1 i L d 1 r e f i L d 1 + k i i 1 i L d 1 r e f i L d 1 d t ω n L f 1 i L q 1 c q 1 = v q 1 + k p i 1 i L q 1 r e f i L q 1 + k i i 1 i L q 1 r e f i L q 1 d t + ω n L f 1 i L d 1
In the formula, ω1, ωn represent the actual and rated values of the output angular frequency of the P-f loop; θ1 represents the actual value of the output angular of the P-f loop; Un represents the rated value of the grid voltage; J, Dp are the inertia coefficients and droop coefficients of the P-f loop; Pref, Qref and P, Q represent the reference values and feedback values of the active and reactive power output of the GFM converter; K, Dq are the inertia coefficients and droop coefficients of the Q-v loop; E0, Em are the reference values of the output voltage amplitude of the GFM converter and the output voltage amplitude; vabcref is the reference values of the three-phase voltage of the GFM converter; vd1ref, vq1ref, vd1, vq1 are the reference and feedback values of the output voltage on the dq axis of the GFM converter; iLd1ref, iLq1ref, iLd1, iLq1 are the reference and feedback values of the filter inductor current on the dq axis of the GFM converter; cd1, cq1 are modulated wave on the dq axis of the GFM converter; kpv1, kiv1, kpi1, kii1 are the control parameters of the PI controller on the voltage and current control loops.
The GFM converter behaves externally as a voltage source, with the amplitude and phase of its output voltage determined by the controller’s internal electromotive force. When the grid voltage drops, the difference between the converter’s output voltage and the grid voltage increases. This significant voltage difference immediately generates a large inrush current on the line. Without additional current-limiting strategies, the converter would trip due to overcurrent protection at the moment of LVRT, failing to achieve “ride-through.”

2.3. GFL Converter

The control of the GFL converter includes phase-locked loop (PLL) and current control loop [28]. The control block diagram is shown in Figure 3.
Based on the control block diagram of the GFL converter, the mathematical model of it is established as shown in Equation (2):
d θ 2 d t = ω 2 = k p p l l v q 2 + k i p l l v q 2 d t c d 2 = v d 2 + k p i 2 i d 2 r e f i d 2 + k i i 2 i d 2 r e f i d 2 d t ω n L f 2 i q 2 c q 2 = v q 2 + k p i 2 i q 2 r e f i q 2 + k i i 2 i q 2 r e f i q 2 d t + ω n L f 2 i d 2
In the formula, ω2, θ2 represent the actual values of the angular frequency and angle output by the phase-locked loop of the GFL converter; vd2, vq2 are the feedback values of the output voltage of the GFL converter on the dq axis; iLd2ref, iLq2ref, iLd2, iLq2 are the reference and feedback values of the filtered inductor current of the GFL converter on the dq axis; cd2, cq2 are modulated wave on the dq axis of the GFL converter; kppll, kipll, kpi2, kii2 are the control parameters of the PI controllers in the phase-locked loop and the current control loop.
The core limitation of traditional GFL converters during LVRT lies in the contradiction between their strong dependence on the grid and the weak support from the grid under fault conditions. Since GFL converters rely on phase-locked loops for synchronization, when the grid voltage suddenly drops, the phase-locked loop is prone to oscillation or even loss of lock due to phase jumps, leading to the converter losing synchronization. Additionally, their current-source characteristic makes them susceptible to severe transient impacts caused by step changes in power commands during the recovery process after fault clearance, which may result in overcurrent and disconnection, ultimately preventing the successful completion of LVRT.

2.4. Stability Analysis of GFM/GFL Hybrid Systems

Based on the small-signal model proposed in references [27,28], the generalized Nyquist plot of the GFM/GFL Hybrid Systems is drawn, and the results are shown in Figure 4. It can be observed from the figure that as the PCC voltage drops from 1 pu to 0.2 pu, the range of the Nyquist curve on the imaginary axis gradually expands and approaches the imaginary axis. When the PCC voltage drops to 0.3 pu, the curve encircles the point (−1, j0), at which point the system is prone to oscillation or even instability. This indicates that if a grid fault causes the PCC voltage to drop, it is necessary to adopt an appropriate LVRT strategy.

3. Low-Voltage Ride-Through Control

IEEE Std 1547-2018 [29] stipulates the standards for LVRT, as shown in Figure 5. During power system faults, to ensure LVRT without disconnecting renewable energy units, it is necessary to limit the fault current and ensure that the renewable energy units have the capability to provide dynamic reactive current for voltage support based on actual conditions.

3.1. LVRT Control Mode of GFM Converter

When a grid voltage sag fault occurs, GFM-LVRT requires that the reactive power setpoint of the GFM increases as the grid voltage drops. However, if not restricted, the fault current of the GFM will quickly exceed the maximum limit, causing it to overload.
Therefore, to ensure the normal operation of the GFM during LVRT, it is necessary to limit its power output. The dynamic reactive power limit is shown in Equation (3):
Q max = S F 2 P 2
In the formula, SF represents the apparent power when the GFM fails.
S F = U p c c S max / U n
In the formula, Smax represents the maximum value of the apparent power of the GFM. According to the requirements of IEEE std 1547-2018 [29], during fault ride-through or short-term power support periods, the converter is typically required to provide reactive power support equivalent to 1.2 times the rated current, that is Smax = 1.2 Sn, where Sn is the rated apparent power of the GFM during normal operation.
When the GFM during LVRT, in order to ensure that sufficient voltage support is provided to the PCC while simultaneously maximizing the active power output to the grid, the rated reactive power value of the GFM is as shown in Equation (5):
Q r e f = 0 ,   1 U p c c 0.9 min S F ,   K g f m × S F 1 U p c c ,   0.9 > U p c c 0.2
In the formula, Kgfm represents the ratio of the dynamic reactive current of the GFL converter, Kgfm ≥ 1.5 [29], This paper, through a preliminary experiment, concludes that when Kgfm = 2, the GFM converter exhibits better LVRT performance.
Meanwhile, the rated active power of the GFM converter is shown in Equation (6):
P r e f = P s e t , 1 U p c c 0.9 min P s e t , S F 2 Q r e f 2 ,   0.9 > U p c c 0.2
In the formula, Pset represents the set value of active power for the GFM converter when it is operating normally.
In conclusion, the control block diagram of the GFM converter for LVRT is shown in Figure 6. Firstly, by detecting the relationship between the actual value and the rated value of the grid voltage, the situation of grid voltage drop is determined. If the amplitude of the voltage at the PCC is lower than 0.9 times the rated value, the rated values of active and reactive power are re-calibrated according to Equations (5) and (6); if the amplitude of the voltage at the PCC is lower than 0.2 times the rated value, at this point, the system is difficult to maintain stable operation under small signals, and the converter should be disconnected from the grid. After the grid voltage stabilizes, it should be reconnected. Compared with the traditional GFM control, the improved LVRT mode can effectively prevent overcurrent problems under adverse conditions. At the same time, under the premise of providing a certain reactive power support, it can deliver the maximum active power to the grid within the limit to avoid the waste of DC-side generation power.

3.2. LVRT Control Mode of GFL Converter

When a voltage drop fault occurs on the power grid side, GFL_LVRT control mode is adopted. The GFL converter takes the lead in injecting reactive current into the grid to support the PCC voltage. At this time, the rated value of the q-axis current of the GFL converter, iq2ref (a negative value indicates injecting capacitive reactive power into the grid), should be:
i q 2 r e f = 0 , 1 U p c c 0.9 min [ I max , K g f l × I B 0.9 U p c c ] ,   0.9 > U p c c 0.2
In the formula, IB and Imax represent the rated current and the maximum current of the GFL converter when it is operating normally, similar to the previous section, Imax = 1.2 IB. Kgfl represents the ratio of the dynamic reactive current of the GFL converter, Kgfl ≥ 1.5 [29], This paper, through a preliminary experiment, concludes that when Kgfl = 4.3, the GFL converter exhibits better LVRT performance.
Meanwhile, the rated value of the d-axis current for the GFL converter is id2ref:
i d 2 r e f = i d 2 s e t ,   1 U p c c 0.9   min I d 2 s e t , I max 2 i q 2 r e f 2 ,   0.9 > U p c c 0.2
In the formula, id2set represents the d-axis current set value during the normal operation of the GFL converter.
In conclusion, the control block diagram of the GFL converter for LVRT is shown in Figure 7. Firstly, when the hybrid system adopts the GFL_LVRT control mode, if the voltage amplitude at the PCC is detected to be lower than 0.9 times the rated value, then the given values of active and reactive power should be re-adjusted according to Equations (7) and (8); if the voltage amplitude at the PCC is detected to be lower than 0.2 times the rated value, at this time, the converter should be disconnected from the grid, and then re-connected to the grid after the voltage stability of the grid is restored.

4. Low-Voltage Ride-Through Strategy of Hybrid System

4.1. Analysis of Single GFM or GFL LVRT Control Modes

To study the variation patterns of the power output characteristics of GFL and GFM converters during LVRT with respect to the depth of voltage sags, this section first conducts a theoretical analysis of the power characteristics of the two types of converters under single-machine operation. For GFM converters, the instantaneous power theory can be used to determine their output active power P2 and reactive power Q2. The specific calculation formulas are as follows:
P 2 = 1.5 v d 2 i d 2 + v q 2 i q 2 Q 2 = 1.5 v q 2 i d 2 v d 2 i q 2
Taking each 10 kVA converter as an example, based on Equations (3)–(9), the output power comparison of the two types of converters under normal mode and LVRT mode is shown in Figure 8. Based on the above expressions for converter output power, when P s e t = S F 2 Q r e f 2 in Equation (6), the calculated UPCC is approximately 0.86 pu, which serves as the boundary between region ② and region ③; when i d 2 s e t = I m a x 2 i q 2 r e f 2 in Equation (8), the calculated UPCC is approximately 0.75 pu, serving as the boundary between region ③ and region ④; when I m a x = K g f l × I B 0.9 U P C C in Equation (7), the calculated UPCC is approximately 0.62 pu, serving as the boundary between region ④ and region ⑤; and when S F = K g f m × S F 1 U P C C in Equation (5), the calculated UPCC is approximately 0.5 pu, serving as the boundary between region ⑤ and region ⑥. The specific analysis results are summarized in Table 1. The above-mentioned boundary values are calculated based on the maximum allowable current (1.2 pu), and the boundary values for other operating conditions can be obtained by following this method and scaling proportionally according to Equations (4)–(8).
As shown in Figure 8, when the voltage sag occurs before operating point 1, the GFM converter outperforms the GFL converter in terms of both active power output efficiency and reactive power support capability. Therefore, the introduction of the GFM converter in a multi-converter parallel grid-connected system helps to enhance the system’s anti-interference performance under voltage sag conditions. Between operating point 1 and operating point 2, the active power output of the GFL converter rapidly turns into reactive power output, and at this time, its reactive power support effect on the system is more significant. After operating point 2, due to the current limitation requirements of the converters, the power output capabilities of the two types of converters tend to be consistent.

4.2. Comparison and Analysis of Different LVRT Combination Control Modes

After the grid voltage drops, the LVRT control strategy injects a certain amount of reactive power into the PCC by controlling the converter to provide voltage support and achieve voltage boosting. Let the reference values of the total active power and reactive power injected by the converter be P and Q, respectively. Due to the small phase angle difference between the PCC voltage UPCC and the grid voltage Ug, the voltage boosting capability of the injected power on UPCC can be approximately expressed as:
U P C C U g = P R g + Q X g U P C C
From the above formula, it can be concluded that the power injected by the converter into the grid and the line impedance characteristics have a significant impact on the amplitude of the voltage at the PCC point. When the reactance X is much greater than the resistance R, that is, the line is inductive, the reactive power output by the converter has a relatively obvious effect on voltage support; when the reactance X is much smaller than the resistance R, that is, the line is resistive, the active power injected by the converter has a significant contribution to voltage rise; if the line impedance is resistive-inductive, that is, the values of the resistance and reactance are comparable, then the voltage at the PCC point is affected by both. The relationship between UPCC and Ug in the hybrid system under different LVRT combination control modes is shown in Figure 9.
Based on the previous analysis of the GFM-LVRT and GFL-LVRT control modes, a further comparative analysis can be conducted on the power output characteristics of different combination control modes adopted in the hybrid system. The total output power of each control combination of the hybrid system under different voltage drop degrees is shown in Figure 10.
For GFM converters, whether to adopt LVRT control has little impact on their final power output. The reason is that GFM converters inherently have a Q-v droop control mechanism, which can automatically provide certain reactive power support based on voltage deviations. Moreover, the LVRT control mode proposed in this paper, in order to maintain its original voltage source characteristics and meet the current limitation requirements, collectively leads to this phenomenon. However, in the case of deep voltage drop, if GFM converters still use the traditional control mode, it may result in a significant gap between the reference value and the measured value, which is unfavorable for the accurate regulation of the control system and is highly likely to cause the system stability to collapse. Nevertheless, the proposed GFM-LVRT control in this paper can modify the reference value of output power according to different voltage drop degrees, effectively solving the above problems. For GFL converters, LVRT control has a more obvious effect on improving their reactive power support capability, but it also accelerates the decline of their active power output capability.

4.3. GFM and GFL Coordinated LVRT Strategy

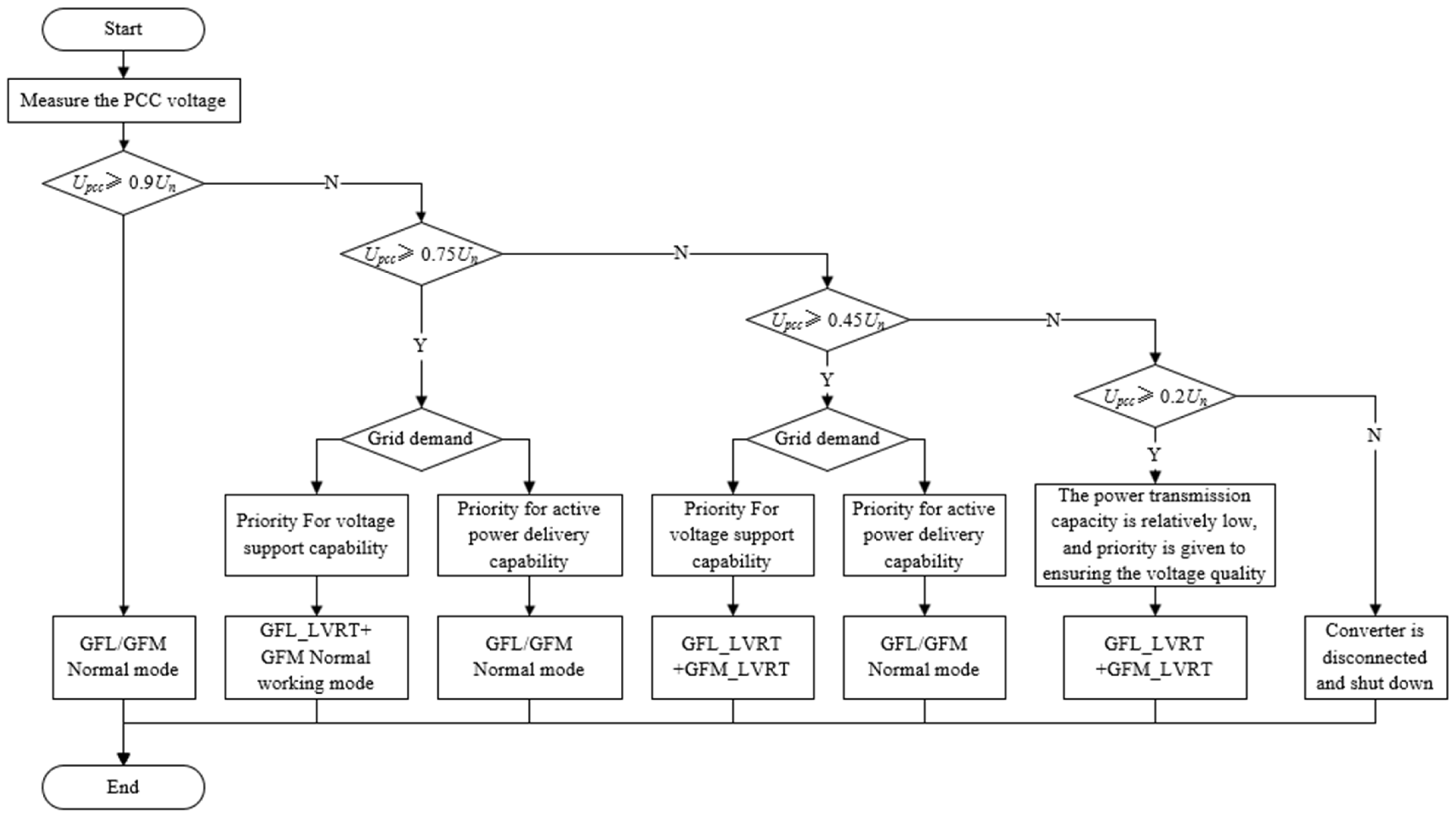
For different degrees of grid voltage drop, if the GFL and GFM converters do not change their own GFL/GFM characteristics without any alteration, there are significant differences in the active and reactive power output capabilities of GFM and GFL converters under different control modes. Therefore, this paper designs a GFM and GFL cooperative LVRT strategy that is adaptable to different voltage drop depths. The mode switching process is shown in Figure 11.
According to Equations (5)–(8), it can be known that before the voltage drops to 0.9 Un, the converters are all operating in the normal working mode. When the voltage drop is relatively mild (0.9 Un > UPCC ≥ 0.75 Un), the differences in active power output among the four control modes are small. Therefore, when the voltage quality requirements are relatively low, in order to reduce the switching of control modes, both converters do not adopt the LVRT mode; if the grid requires a higher voltage support capability, under the condition that the reactive power output capabilities of the GFL_LVRT and GFL_LVRT + GFM_LVRT control modes are not much different, in order to reduce the switching of control modes, the GFL_LVRT + GFM normal operation control mode should be adopted. When the grid experiences a moderate voltage drop (0.75 Un > UPCC ≥ 0.5 Un), the power characteristics of different control modes show significant differences. At this time, based on the actual system requirements, when the goal is to maximize voltage support, the GFL_LVRT + GFM_LVRT control mode should still not be adopted; when prioritizing the transmission of active power, the GFL_LVRT + GFM_LVRT control mode should be selected. In the case of a very deep voltage drop (0.5 Un > UPCC ≥ 0.2 Un), the active power that the converters can output is already very limited. At this time, the reactive power output should be maximized to maintain the stability of the PCC voltage and ensure the system achieves stable fault ride-through. When the grid voltage drop is extremely severe (UPCC < 0.2 Un), for the protection of the converters, they should be quickly separated and shut down.

5. Simulation Verification

To verify the effectiveness and correctness of the control strategy and theoretical analysis mentioned earlier, a simulation system of the grid-connected parallel operation of the GFM and GFL converters as shown in Figure 1 was built in MATLAB R2022b/Simulink. The system and control parameters are listed in Table 2.
In this simulation, the duration is set to 3 s. During the 0 to 1 s period, the hybrid system operates under rated normal conditions, with each converter transmitting a rated active power of 10 kW. At 1 s, a system fault causes a grid voltage sag, which lasts for 1 s. The fault is cleared at 2 s, and from 2 to 3 s, the grid voltage returns to its rated value. Since the PCC voltage cannot be precisely controlled, the fault is triggered by the grid voltage sag. Taking the grid voltage sag to 0.6 pu as an example, with both GFM and GFL converters operating in normal mode, the simulation results are shown in Figure 12.

5.1. Parameter Sensitivity Analysis of GFM Converter

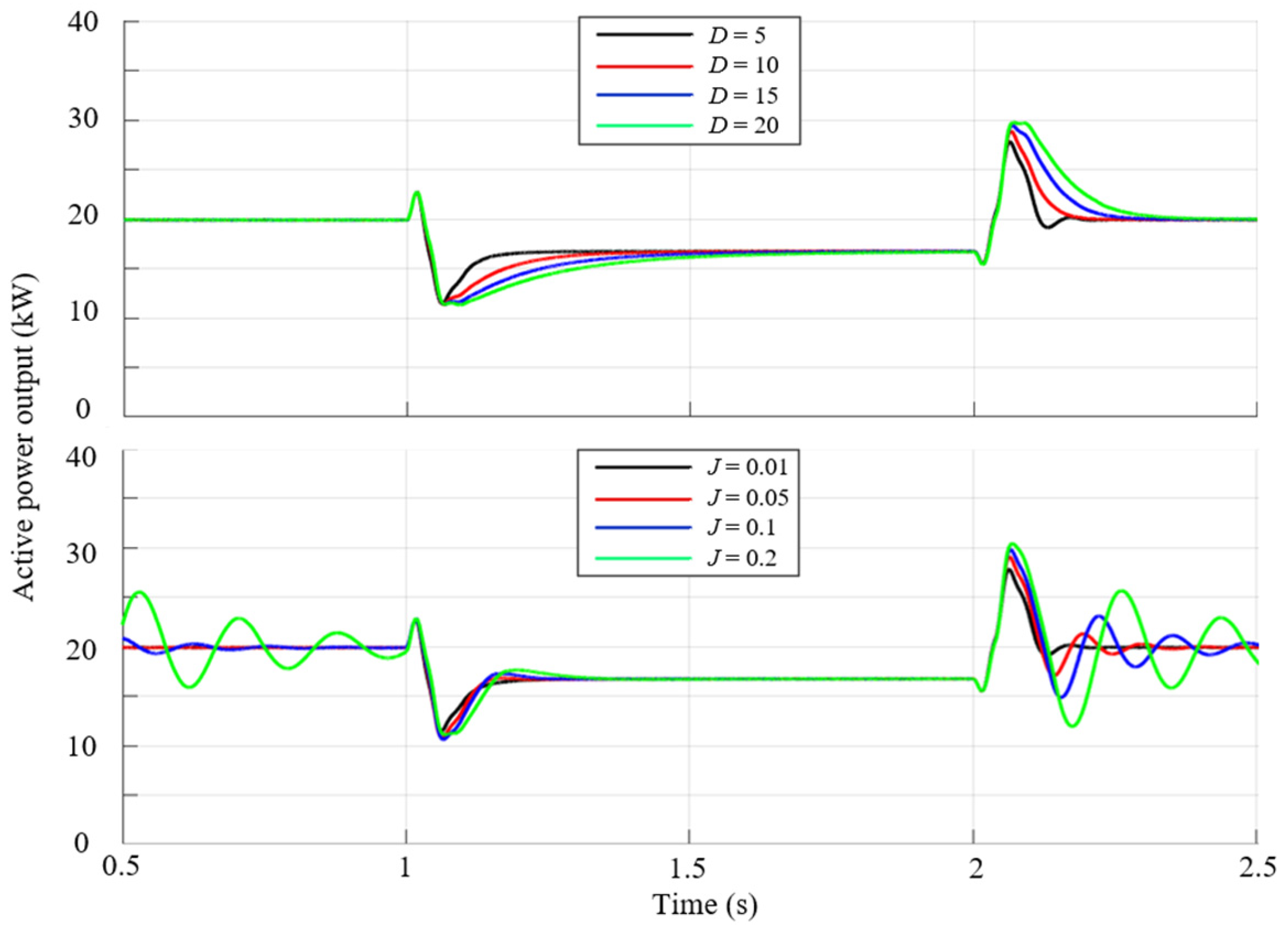
As shown in Figure 13, when the damping coefficient D remains constant and the rotational inertia J is increased, the system response speed accelerates, but the amplitude of the active power oscillation increases accordingly; conversely, when J is relatively small, the system converges faster, which is beneficial for the rapid stability of the dynamic process. When the rotational inertia J remains unchanged, increasing the damping coefficient D slows down the system response speed and reduces the rapidity of the dynamic response; reducing D can effectively suppress the amplitude of the system oscillation and enhance the transient stability. Therefore, by reasonably coordinating the values of J and D, a balance can be achieved between the response speed and the oscillation suppression, thereby optimizing the dynamic performance of the system.

5.2. The Impact of Different LVRT Strategies on PCC Voltage Under Various Grid Voltage Sags

The simulation results are recorded in Table 3 and Table 4, and the graphs are shown in Figure 14 and Figure 15. Generally speaking, all control modes are beneficial to improving the PCC voltage level. However, due to the fact that GFM converters themselves have voltage compensation capabilities, the increase in PCC voltage when they switch to LVRT control mode is usually not as significant as that when GFL control strategies are switched. Nevertheless, in the case of deep voltage sags, GFM control still plays an important supporting role in maintaining system stability during low-penetration periods.

5.3. The Impact of Different LVRT Strategies on the Active Power Output Under Various Grid Voltage Sags

From the analysis in Table 4, it can be seen that when different LVRT control strategies are adopted, there are significant differences in the active power output capacity of the converter. Since the GFM converter itself has a certain reactive power support effect on the PCC voltage, the actual transmitted active power during current-limiting operation is slightly higher than the theoretical analysis result.
It should be noted that the 0.8 pu value set in the text refers to the initial value of the voltage drop on the grid side. However, after the inverter actually participates in the dynamic reactive power support, the voltage at the PCC will be effectively raised. As shown in Section 4.2 and Figure 9 of the text, the voltage at the PCC point has actually increased to close to 0.9 pu after the support. Therefore, the theoretical calculation corresponds to the actual voltage level at the PCC point (0.9 pu), while the simulation results are obtained through automatic iteration based on the complete dynamic process. The two are corresponding in terms of the underlying conditions and not inconsistent.

5.4. The Impact of Different LVRT Strategies on the Active Power Overshoot Under Various Grid Voltage Sags

The power overshoot of the GFM/GFL hybrid system during LVRT refers to the instantaneous peak deviation between the output active and reactive power and the steady-state value at the moment of sudden voltage drop or increase in the power grid. This phenomenon is mainly caused by the inability of the internal potential phase to change abruptly, resulting in a sharp increase in the power angle with the fault voltage. At the same time, the adjustment actions generated by the controller to quickly support the voltage and the intervention of the limiting mechanism also exacerbate the fluctuation. An excessive overshoot may trigger overcurrent protection, leading to the disconnection of the equipment. Therefore, in the control strategy, a balance must be struck between the rapid support capability and the suppression of transient impacts to ensure the stability during LVRT. The statistical results of the simulation are shown in Table 5. Based on the statistical data, it can be concluded that the active power overshoot of a GFM converter adopting the LVRT strategy is relatively stable, and it can effectively suppress the active power overshoot under the condition of deep voltage sag.

6. Case Study

Case 1: The grid voltage dropped to 0.8 pu. At this point, the voltage drop was relatively mild, and the requirement for the converter to provide voltage support was low. It was allowed to transmit as much active power as possible to the grid side. According to Figure 11, the strategy proposed in this paper adopts the GFL_LVRT + GFM normal operation mode when voltage support is prioritized. In the case of active power priority, both GFL and GFM converters operate in normal mode without employing LVRT. As shown in Figure 16, the simulation results show that when the grid voltage drops to 0.8 pu, under the condition of voltage support being prioritized, the strategy proposed in this paper can approximately lift the voltage by 6.25% compared to the theoretical voltage drop; at the same time, the gap in the transmission of active power among the control modes is not significant, and the strategy proposed in this paper meets the requirement of reducing control mode switching when active power transmission is prioritized.
Case 2: The grid voltage dropped to 0.6 pu. At this point, there was a significant difference in voltage support and active power transmission capacity among various control modes. Therefore, the control mode should be adjusted according to the grid demand. According to Figure 11, the strategy proposed in this paper adopts the GFL_LVRT + GFM_LVRT control mode when voltage support is prioritized. In the case of active power priority, both GFL and GFM converters operate in normal mode without employing LVRT. As shown in Figure 17, the simulation results show that when the grid voltage dropped to 0.6 pu, under the condition of priority for voltage support, the strategy proposed in this paper can lift the voltage by approximately 12.17% compared to the theoretical voltage drop; when the priority is for active power, it can output approximately 34.18% more active power than when the voltage support is prioritized.
Case 3: The grid voltage dropped to 0.3 pu. At this point, the maximum apparent power of the converter was already very limited. It was necessary to prioritize the output of reactive power to support the PCC voltage and ensure the stability of the system as it crossed the fault zone. According to Figure 11, the strategy proposed in this paper was that both the GFM and GFL converters adopted the LVRT mode of operation. As shown in Figure 18, compared with the theoretical voltage drop, the strategy proposed in this paper enabled the PCC voltage to rise by up to 116.67%; compared with the hybrid system that did not adopt the LVRT strategy, this strategy could ensure the voltage stability during the LVRT period and facilitate the subsequent voltage recovery; compared with the traditional single-machine converter in the LVRT mode, it could recover to a stable operation more quickly after the fault was resolved.
During LVRT, the active power of GFM converters briefly becomes negative. This occurs because, in the transient moment of the fault, the sudden change in the amplitude and phase of the grid voltage creates a significant power angle deviation relative to the converter’s internal potential, which has not yet been adjusted in time. As a result, energy temporarily flows back into the converter. This phenomenon reflects the electromagnetic transient process and the adjustment process of the synchronization mechanism of GFM equipment when responding to severe grid disturbances. It is an inevitable adjustment process as the controller transitions from the “pre-fault state” to the “fault state.”

7. Conclusions

With the widespread application of GFM/GFL hybrid systems in new energy power stations, this paper addresses the issue of coordinating different control modes for LVRT. A strategy for GFM and GFL converters to achieve coordinated low-voltage ride-through, adaptable to different voltage drop levels, is proposed. Through MATLAB R2022b/Simulink simulation verification and comparative analysis, the effectiveness of the proposed strategy is verified, and the following conclusions are drawn:
(1) This paper improves the control mode of GFM converters during LVRT, ensuring that the current does not exceed the limit. The system can actively adjust its output power according to different voltage drop levels, sacrificing some active power output to provide certain reactive power compensation, ensuring the stability of the system during LVRT.
(2) This paper investigates the impact of different control modes on the PCC voltage and active power transmission capacity in GFM and GFL hybrid systems under various voltage drop levels. A coordinated LVRT strategy for GFM and GFL converters is proposed, tailored to different degrees of voltage sag. Under mild voltage drops, control mode switching is minimized to maintain system stability. In moderate voltage drop scenarios, control modes are flexibly adjusted based on grid requirements—for example, when the grid voltage drops to 0.6 pu, the voltage-priority strategy increases the PCC voltage by 12.17%, while the active power-priority strategy enhances active power output by an additional 34.18%. During severe voltage drops, priority is given to voltage support to ensure the system can successfully ride through the fault. Specifically, when the grid voltage drops to 0.3 pu, the proposed strategy boosts the PCC voltage by 116.67%, thereby improving fault ride-through capability.
It should be noted that the fault scenarios discussed in this paper are limited to three-phase symmetrical faults. Under such faults, although the grid voltage amplitude drops, it still maintains three-phase balance and does not generate negative sequence components. The phase-locked loop can still accurately lock onto the phase of the positive sequence voltage. For asymmetric fault conditions, subsequent research needs to introduce positive and negative sequence separation algorithms to enhance the fault tolerance of the system. Additionally, the verification in this paper is mainly based on detailed offline simulations. Although various non-ideal factors are fully considered in the simulation, they still cannot completely replicate the effect of the hardware-in-the-loop test. Therefore, conducting further verification of the dynamic response and reliability of the proposed strategy in the real-time operating environment through hardware-in-the-loop tests will be the core work of the next research.

Author Contributions

Conceptualization, Y.Z.; methodology and software, H.Z. and C.Z.; data curation, X.Y.; writing—original draft preparation, Y.Z.; writing—review and editing, H.Z.; supervision, W.X. All authors have read and agreed to the published version of the manuscript.

Funding

This work was supported by the National Natural Science Foundation of China (NSFC) (52367019) and the Guizhou Province Science and Technology Support Plan (Qiankehe Support [2023] General 292).

Institutional Review Board Statement

No applicable.

Informed Consent Statement

No applicable.

Data Availability Statement

The data presented in this study are available on request from the corresponding author due to confidentiality agreements related to ongoing research and proprietary restrictions within the laboratory.

Conflicts of Interest

Authors declare that the research was conducted in the absence of any commercial or financial relationships that could be construed as a potential conflict of interest.

Abbreviations

The following abbreviations are used in this manuscript:
GFLGrid-following
GFMGrid-forming
PCCPoint of common coupling
LVRTLow-voltage ride-through
GFM-LVRTLow-voltage ride-through of grid-forming converters
GFL-LVRTLow-voltage ride-through of grid-following converters
VSGVirtual synchronous generators
VSCVoltage source converter
DCDirect Current
P-f loopActive power—frequency droop control section
Q-v loopReactive power—voltage droop control section
PLLPhase-locked loop
PWMPulse-width modulation

References

  1. Peng, Q.; Jiang, Q.; Yang, Y.H.; Liu, T.; Wang, H.; Blaabjerg, F. On the stability of power electronics-dominated systems: Challenges and potential solutions. IEEE Trans. Ind. Appl. 2019, 55, 7657–7670. [Google Scholar] [CrossRef]
  2. Almesri, Z.M.; Hussain, H.A.; Kamel, R.M. Low Voltage Ride-Through Capability of Grid-Connected PV Systems: A Comparative Study of Grid-Following and Grid-Forming Converters Under Current Limits. IEEE Access 2025, 13, 105590–105607. [Google Scholar] [CrossRef]
  3. Li, M.; Zhang, X.; Fu, X.; Geng, H.; Zhao, W. Stability Studies on PV Grid-connected Inverters under Weak Grid: A Review. Chin. J. Electr. Eng. 2024, 10, 1–19. [Google Scholar] [CrossRef]
  4. Fu, X.; Huang, M.; Pan, S.; Zha, X. Cascading Synchronization Instability in Multi-VSC Grid-Connected System. IEEE Trans. Power Electron. 2022, 37, 7572–7576. [Google Scholar] [CrossRef]
  5. Fan, L.; Wang, Z.; Miao, Z. Large Angle Deviation in Grid-Following IBRs Upon Grid Voltage Dip. IEEE Trans. Energy Convers. 2024, 39, 368–378. [Google Scholar] [CrossRef]
  6. Ding, G.; Gao, F.; Tian, H.; Ma, C.; Chen, M.; He, G.; Liu, Y. Adaptive DC-Link Voltage Control of Two-Stage Photovoltaic Inverter During Low Voltage Ride-Through Operation. IEEE Trans. Power Electron. 2016, 31, 4182–4194. [Google Scholar] [CrossRef]
  7. Liu, X.; Chen, X.; Shahidehpour, M.; Li, C.; Wu, Q.; Wu, Y.; Wen, J. Active Fault Current Limitation for Low-Voltage Ride-Through of Networked Microgrids. IEEE Trans. Power Deliv. 2022, 37, 980–992. [Google Scholar]
  8. He, X.; Geng, H.; Li, R.; Pal, B.C. Transient Stability Analysis and Enhancement of Renewable Energy Conversion System During LVRT. IEEE Trans. Sustain. Energy 2020, 11, 1612–1623. [Google Scholar] [CrossRef]
  9. Sun, G.; Li, Y.; Jin, W.; Li, S.; Gao, Y. A Novel Low Voltage Ride-Through Technique of Three-Phase Grid-Connected Inverters Based on a Nonlinear Phase-Locked Loop. IEEE Access 2019, 7, 66609–66622. [Google Scholar] [CrossRef]
  10. Shin, D.; Lee, K.-J.; Lee, J.-P.; Yoo, D.-W.; Kim, H.-J. Implementation of Fault Ride-Through Techniques of Grid-Connected Inverter for Distributed Energy Resources with Adaptive Low-Pass Notch PLL. IEEE Trans. Power Electron. 2015, 30, 2859–2871. [Google Scholar] [CrossRef]
  11. Shabestary, M.M.; Mohamed, Y.A.-R.I. Autonomous Coordinated Control Scheme for Cooperative Asymmetric Low-Voltage Ride-Through and Grid Support in Active Distribution Networks with Multiple DG Units. IEEE Trans. Smart Grid 2020, 11, 2125–2139. [Google Scholar] [CrossRef]
  12. Zhao, X.; Guerrero, J.M.; Savaghebi, M.; Vasquez, J.C.; Wu, X.; Sun, K. Low-Voltage Ride-Through Operation of Power Converters in Grid-Interactive Microgrids by Using Negative-Sequence Droop Control. IEEE Trans. Power Electron. 2017, 32, 3128–3142. [Google Scholar] [CrossRef]
  13. Wang, X.; Yang, R.; Shi, Z.; Cai, X.; Shi, X.; Chen, Y. Coordinated Low Voltage Ride-Through of MMC-HVDC Transmission System and Wind Farm with Distributed Braking Resistors. IEEE Access 2022, 10, 87860–87869. [Google Scholar] [CrossRef]
  14. Nithya, C.; Roselyn, J.P. Multimode Inverter Control Strategy for LVRT and HVRT Capability Enhancement in Grid Connected Solar PV System. IEEE Access 2022, 10, 54899–54911. [Google Scholar] [CrossRef]
  15. Zhang, Y.; Tian, J.; Jia, K.; Jiang, X. System-Level Low-Voltage Ride-Through Control for the Renewable Power Plant Connecting to Weak Grid. IEEE Trans. Ind. Electron. 2025, 72, 8007–8016. [Google Scholar] [CrossRef]
  16. Pal, A.; Pal, D.; Panigrahi, B.K. A Current Saturation Strategy for Enhancing the Low Voltage Ride-Through Capability of Grid-Forming Inverters. IEEE Trans. Circuits Syst. II Express Briefs 2023, 70, 1009–1013. [Google Scholar] [CrossRef]
  17. Shi, K.; Song, W.; Xu, P.; Liu, R.; Fang, Z.; Ji, Y. Low-Voltage Ride-Through Control Strategy for a Virtual Synchronous Generator Based on Smooth Switching. IEEE Access 2018, 6, 2703–2711. [Google Scholar] [CrossRef]
  18. Xiao, H.; Gong, K.; Gan, H. Adaptive LVRT Control Strategy for VSC Based on Hybrid Synchronization Control. IEEE Access 2025, 13, 88972–88983. [Google Scholar] [CrossRef]
  19. Long, B.; Hu, C.; Chen, Z.; Hu, J.; Rodríguez, J. Transient Stability Analysis and Virtual Power Compensation of a Virtual Synchronous Generator Under Low-Voltage Fault. IEEE Trans. Power Electron. 2024, 39, 12803–12814. [Google Scholar] [CrossRef]
  20. Chen, L.; Li, G.; Chen, H.; Ding, M.; Zhang, X.; Li, Y.; Xu, Y.; Ren, L.; Tang, Y. Investigation of a Modified Flux-Coupling-Type SFCL for Low-Voltage Ride-Through Fulfillment of a Virtual Synchronous Generator. IEEE Trans. Appl. Supercond. 2020, 30, 1–6. [Google Scholar] [CrossRef]
  21. Umar, M.F.; Nazari, A.G.; Shadmand, M.B.; Abu-Rub, H. Resilient Operation of Grid-Forming Inverters Under Large-Scale Disturbances in Low Inertia Power System. IEEE Open J. Ind. Electron. Soc. 2024, 5, 1286–1299. [Google Scholar] [CrossRef]
  22. Qiu, R.; Liu, C. Adaptive Dynamic Voltage Support Scheme for Multiple Grid-Forming Converters in Distributed Networks. IEEE Trans. Energy Convers. 2025, 40, 2624–2641. [Google Scholar] [CrossRef]
  23. Li, Z.; Chan, K.W.; Hu, J.; Or, S.W. An Adaptive Fault Ride-Through Scheme for Grid-Forming Inverters Under Asymmetrical Grid Faults. IEEE Trans. Ind. Electron. 2022, 69, 12912–12923. [Google Scholar] [CrossRef]
  24. Chi, S.; Zhang, R.; Zhang, G.; Chen, A.; Ren, Q.; Xing, X. Asymmetrical Low-Voltage Ride-Through Control Strategy Based-on PBC with Virtual Voltage Compensation for Voltage-Controlled VSG. IEEE Trans. Ind. Electron. 2025, 72, 2551–2562. [Google Scholar] [CrossRef]
  25. Deng, H.; Qi, Y.; Fang, J.; Tang, Y.; Debusschere, V. A Robust Low-Voltage-Ride-Through Strategy for Grid-Forming Converters Based on Reactive Power Synchronization. IEEE Trans. Power Electron. 2023, 38, 346–357. [Google Scholar] [CrossRef]
  26. Yang, D.; Cao, Z.; Li, C. Reactive voltage support strategy for droop-controlled grid-forming converters based on LADRC. iEnergy 2025, 4, 259–268. [Google Scholar] [CrossRef]
  27. Wu, W.; Zhou, L.; Chen, Y.; Luo, A.; Dong, Y.; Zhou, X.; Xu, Q.; Yang, L.; Guerrero, J.M. Sequence-Impedance-Based Stability Comparison Between VSGs and Traditional Grid-Connected Inverters. IEEE Trans. Power Electron. 2019, 34, 46–52. [Google Scholar] [CrossRef]
  28. Cespedes, M.; Sun, J. Impedance Modeling and Analysis of Grid-Connected Voltage-Source Converters. IEEE Trans. Power Electron. 2014, 29, 1254–1261. [Google Scholar] [CrossRef]
  29. P1547.9/D5.5; IEEE Draft Guide to Using IEEE Std 1547(TM) for Interconnection of Energy Storage Distributed Energy Resources with Electric Power Systems. IEEE: Piscataway, NJ, USA, 2022; pp. 1–83.
Figure 1. Main circuit topology of hybrid parallel grid-connected system.
Figure 1. Main circuit topology of hybrid parallel grid-connected system.
Sustainability 18 03246 g001
Figure 2. Control block diagram of GFM converter.
Figure 2. Control block diagram of GFM converter.
Sustainability 18 03246 g002
Figure 3. Control block diagram of GFL converter.
Figure 3. Control block diagram of GFL converter.
Sustainability 18 03246 g003
Figure 4. The Nyquist diagram of the system when the voltage at the PCC drops.
Figure 4. The Nyquist diagram of the system when the voltage at the PCC drops.
Sustainability 18 03246 g004
Figure 5. LVRT requirements of IEEE Std 1547-2018.
Figure 5. LVRT requirements of IEEE Std 1547-2018.
Sustainability 18 03246 g005
Figure 6. LVRT Control block diagram of GFM converter.
Figure 6. LVRT Control block diagram of GFM converter.
Sustainability 18 03246 g006
Figure 7. LVRT Control block diagram of GFL converter.
Figure 7. LVRT Control block diagram of GFL converter.
Sustainability 18 03246 g007
Figure 8. Comparison chart of output power of GFL-LVRT and GFM-LVRT with different PCC voltages.
Figure 8. Comparison chart of output power of GFL-LVRT and GFM-LVRT with different PCC voltages.
Sustainability 18 03246 g008
Figure 9. Comparison of PCC Voltage Support Effects by LVRT Combined Control Modes under Different Voltage Dip Depths.
Figure 9. Comparison of PCC Voltage Support Effects by LVRT Combined Control Modes under Different Voltage Dip Depths.
Sustainability 18 03246 g009
Figure 10. Comparison chart of output power of each control mode with different PCC voltages.
Figure 10. Comparison chart of output power of each control mode with different PCC voltages.
Sustainability 18 03246 g010
Figure 11. Coordinated LVRT strategy for GFL and GFM.
Figure 11. Coordinated LVRT strategy for GFL and GFM.
Sustainability 18 03246 g011
Figure 12. Simulation waveform of grid voltage sag to 0.6 pu at the PCC.
Figure 12. Simulation waveform of grid voltage sag to 0.6 pu at the PCC.
Sustainability 18 03246 g012
Figure 13. Comparison of dynamic response of active power output under different D and J.
Figure 13. Comparison of dynamic response of active power output under different D and J.
Sustainability 18 03246 g013
Figure 14. The PCC voltage with different LVRT strategies at varying grid voltage sag levels.
Figure 14. The PCC voltage with different LVRT strategies at varying grid voltage sag levels.
Sustainability 18 03246 g014
Figure 15. Active power output with different LVRT strategies at varying grid voltage sag levels.
Figure 15. Active power output with different LVRT strategies at varying grid voltage sag levels.
Sustainability 18 03246 g015
Figure 16. Simulation waveform of coordinated LVRT strategy with 0.8Un voltage drop.
Figure 16. Simulation waveform of coordinated LVRT strategy with 0.8Un voltage drop.
Sustainability 18 03246 g016
Figure 17. Simulation waveform of coordinated LVRT strategy with 0.6Un voltage drop.
Figure 17. Simulation waveform of coordinated LVRT strategy with 0.6Un voltage drop.
Sustainability 18 03246 g017
Figure 18. Simulation waveform of coordinated LVRT strategy with 0.3Un voltage drop.
Figure 18. Simulation waveform of coordinated LVRT strategy with 0.3Un voltage drop.
Sustainability 18 03246 g018
Table 1. Comparative analysis of GFL-LVRT and GFM-LVRT control modes.
Table 1. Comparative analysis of GFL-LVRT and GFM-LVRT control modes.
Degree of Grid Voltage Sag (pu)Characteristic Analysis
1.00–0.90 (Stage ①)The converter operates in the general control mode;
For the GFM converter, the maximum output active power is achieved through reactive-voltage droop control, ensuring a certain amount of reactive power output;
For the GFL converter, it does not output reactive power, and the output active power decreases as the voltage drops.
0.90–0.86 (Stage ②)The converter begins to enter the LVRT mode;
The GFM converter can still briefly output the maximum active power, and the reactive power output is still provided by the droop control;
For the GFL converter, under the effect of current limiting, the active power output decreases as the voltage drops, while a small amount of reactive power is output.
0.86–0.75 (Stage ③)The GFM converter starts to sacrifice a portion of its active power output to provide reactive power support for the system according to Formulas (5) and (6);
The power characteristics of the GFL converter are the same as those in the previous stage.
0.75–0.62 (Stage ④)The power characteristics of the GFM converter are the same as in the previous stage;
For the GFL converter, according to Formulas (7) and (8), more active power output is sacrificed to provide more reactive power support for the system.
0.62–0.50 (Stage ⑤)The power characteristics of the GFM converter are the same as in the previous stage;
The GFL converter no longer outputs active power and instead provides full reactive power support. However, the reactive power output also declines as the voltage drops.
0.50–0.20 (Stage ⑥)The GFM converter no longer outputs active power and instead provides full reactive power support. However, the reactive power output also declines as the voltage drops;
The power characteristics of the GFL converter are the same as in the previous stage.
Table 2. Main parameters of the simulations.
Table 2. Main parameters of the simulations.
ParametersValue
Main SystemRated power Sn/kVA10
Rated line voltage Ug/V380
DC voltage Udc/V700
Filter inductor Lf/mH3
Inductive parasitic resistance Rf0.05
Filter capacitor Cf/μF20
Grid inductor Lg/mH5
Grid resistance Rg0.2
Grid frequency fn/Hz50
Switch Frequency fs/kHz20
Reference value of active power Pref/kW10
Reference value of reactive power Qref/kVar0
GFMP-f loop J0.01
P-f loop Dp5
Q-v loop Dq70
Q-v loop K8
Inner current loop kpi13
Inner current loop kii18
Outer voltage loop kpv110
Outer voltage loop kiv1100
GFLPLL kppll50
PLL kipll500
Current control loop kpi20.5
Current control loop kii2100
Table 3. The PCC voltage with different LVRT strategies at varying grid voltage sag levels.
Table 3. The PCC voltage with different LVRT strategies at varying grid voltage sag levels.
Degree of Grid Voltage Sag (pu)Voltage of the PCC (pu)
GFL (Mode 1)
GFM (Mode 1)
GFL (Mode 2)
GFM (Mode 1)
GFL (Mode 1)
GFM (Mode 2)
GFL (Mode 2)
GFM (Mode 2)
0.800.850.860.850.86
0.700.760.800.760.80
0.600.690.740.680.74
0.500.580.690.600.69
0.400.460.640.530.65
0.30Instability0.540.430.56
0.20Instability0.440.330.46
Table 4. Active power output with different LVRT strategies at varying grid voltage sag levels.
Table 4. Active power output with different LVRT strategies at varying grid voltage sag levels.
Degree of Grid Voltage Sag (pu)Output Active Power (kW)
GFL (Mode 1)
GFM (Mode 1)
GFL (Mode 2)
GFM (Mode 1)
GFL (Mode 1)
GFM (Mode 2)
GFL (Mode 2)
GFM (Mode 2)
0.8018.5918.517.9218.3
0.7018.0217.5415.5316.79
0.6017.4316.7714.9512.99
0.5015.7115.5211.6410.26
0.4014.3113.158.257.08
0.30Instability9.954.222.57
0.20Instability9.153.140
Table 5. Active power overshoot with different LVRT strategies at varying grid voltage sag levels.
Table 5. Active power overshoot with different LVRT strategies at varying grid voltage sag levels.
Degree of Grid Voltage Sag (pu)Active Power Overshoot During the Voltage Recovery Process (%)
GFL (Mode 1)
GFM (Mode 1)
GFL (Mode 2)
GFM (Mode 1)
GFL (Mode 1)
GFM (Mode 2)
GFL (Mode 2)
GFM (Mode 2)
0.8028.6730.2329.1530.81
0.7034.7138.1430.6635.25
0.6038.8041.9930.0337.88
0.5055.6858.4428.7538.02
0.40100.2663.9424.3836.17
0.30Instability70.3123.4535.49
0.20Instability76.4321.8833.87
Disclaimer/Publisher’s Note: The statements, opinions and data contained in all publications are solely those of the individual author(s) and contributor(s) and not of MDPI and/or the editor(s). MDPI and/or the editor(s) disclaim responsibility for any injury to people or property resulting from any ideas, methods, instructions or products referred to in the content.

Share and Cite

MDPI and ACS Style

Zhang, Y.; Zheng, H.; Yuan, X.; Zhang, C.; Xiong, W. Coordinated Low-Voltage Ride-Through Strategy for Hybrid Grid-Forming and Grid-Following Converter Interconnected Grid Systems. Sustainability 2026, 18, 3246. https://doi.org/10.3390/su18073246

AMA Style

Zhang Y, Zheng H, Yuan X, Zhang C, Xiong W. Coordinated Low-Voltage Ride-Through Strategy for Hybrid Grid-Forming and Grid-Following Converter Interconnected Grid Systems. Sustainability. 2026; 18(7):3246. https://doi.org/10.3390/su18073246

Chicago/Turabian Style

Zhang, Yichong, Huajun Zheng, Xufeng Yuan, Chao Zhang, and Wei Xiong. 2026. "Coordinated Low-Voltage Ride-Through Strategy for Hybrid Grid-Forming and Grid-Following Converter Interconnected Grid Systems" Sustainability 18, no. 7: 3246. https://doi.org/10.3390/su18073246

APA Style

Zhang, Y., Zheng, H., Yuan, X., Zhang, C., & Xiong, W. (2026). Coordinated Low-Voltage Ride-Through Strategy for Hybrid Grid-Forming and Grid-Following Converter Interconnected Grid Systems. Sustainability, 18(7), 3246. https://doi.org/10.3390/su18073246

Note that from the first issue of 2016, this journal uses article numbers instead of page numbers. See further details here.

Article Metrics

Article metric data becomes available approximately 24 hours after publication online.
Back to TopTop