Research Status and Prospects of Automatic Leveling Technology for Orchard Machinery
Abstract
1. Introduction
2. Overview of Automatic Leveling Technology
2.1. The Basic Principle of Automatic Leveling Technology
2.2. Composition and Classification
3. Research Status of Automatic Leveling Machinery in Orchards
3.1. Power Machinery
3.1.1. Research Progress in Power Machinery in China
3.1.2. Research Progress in Power Machinery Abroad
3.1.3. Summary of Automatic Leveling Technology for Power Machinery at Home and Abroad
3.2. Operation Platform
3.2.1. Research Progress in Operation Platform in China
3.2.2. Research Progress in Operation Platform Abroad
3.2.3. Summary of Automatic Leveling Technology for Domestic and International Work Platforms
3.3. Construction Machinery and Tools
3.3.1. Research Progress in Construction Machinery and Tools in China
3.3.2. Research Progress in Construction Machinery and Tools Abroad
3.3.3. Summary of Domestic and International Automatic Leveling Operation Machinery
4. Key Technology of Chassis Leveling
5. Challenges Faced
5.1. The Working Environment in the Orchard Is Complex
5.2. The Combination of Agricultural Machinery and Agronomy Is Difficult to Achieve Effectively
5.3. The Leveling Performance Needs to Be Improved
6. Outlook
6.1. Apply Interdisciplinary Integration Methods to Conduct In-Depth Research on the Characteristics of Orchard Working Environments
6.2. Applying Systemic Thinking at All Stages of Orchard Management Combines the Agricultural Machinery Research and Development Process with the Requirements of Planting Agronomy
6.3. Comprehensively Improve Leveling Performance
6.3.1. Improve Mechanical Structure Design
6.3.2. Optimize Control Algorithms
6.3.3. Strengthen the Application of Sensor Technology
6.4. Strengthen Policy Support
Author Contributions
Funding
Conflicts of Interest
References
- Faostat. Available online: https://www.fao.org/faostat/zh/#data/QCL (accessed on 26 April 2025).
- National Bureau of Statistics of China. China Statistical Yearbook, 1st ed.; China Statistics Press: Beijing, China, 2024; ISBN 978-7-5230-0486-9.
- Yang, T.; Sun, F.C.; Huang, B.; Wu, B.Q.; Ran, G.Z. Research Progress on Key Technologies of Orchard Operating Platform. J. Chin. Agric. Mech. 2024, 45, 152. [Google Scholar] [CrossRef]
- Miao, Y.Y.; Chen, X.B.; Zhu, J.P.; Yuan, D.; Chen, W.; Ding, Y. Research Progress of Orchard Work Platform. J. Chin. Agric. Mech. 2021, 42, 41–49. [Google Scholar] [CrossRef]
- Zheng, Y.J.; Jiang, S.J.; Chen, B.T.; Lv, H.T.; Wan, C.; Kang, F. Review on Technology and Equipment of Mechanization in Hilly Orchard. Nongye Jixie Xuebao/Trans. Chin. Soc. Agric. Mach. 2020, 51, 1–20. [Google Scholar] [CrossRef]
- Statistical Bulletin of National Agricultural Mechanization Development in 2022. Available online: http://www.njhs.moa.gov.cn/nyjxhqk/202406/t20240618_6457395.htm (accessed on 26 April 2025).
- Focus Interview: Speeding Up the Solution of Nearly 700 Million Mu of Farming Problems in Hilly and Mountainous Areas. Available online: http://www.njhs.moa.gov.cn/qcjxhtjxd/202405/t20240521_6455764.htm (accessed on 26 April 2025).
- Li, Y.J.; Wei, G.L.; Deng, J.S.; Wang, W.; Zhang, Z.W.; Yang, H. Study on Automatic Leveling Technology. Piezoelectrics Acoustooptics 2010, 32, 949–952. [Google Scholar] [CrossRef]
- Liu, R.N. Stability Control of Inverted Pendulum Based on 3-Rpc Parallel Platform. Master’s Thesis, Yanshan University, Qinhuangdao, China, 2019. [Google Scholar]
- Yao, Y.; Zhang, B.C.; Cai, Y. Coupling Analysis and Control of Series-Parallel Mechanism, 1st ed.; Chemical Industry Press: Beijing, China, 2023; ISBN 978-7-122-43561-3. Available online: https://book.douban.com/subject/36629637/ (accessed on 26 April 2025).
- Fan, J.Z.; Xu, B.L.; Zhang, L.H.; Zhang, D.W.; Wang, B.T.; Yan, Q.Y. Forward Kinematics and Workspace Analysis of the Stewart-Type Six-Degree-of-Freedom Platform. Intell. Comput. Appl. 2025, 15, 77–84. [Google Scholar] [CrossRef]
- Stewart, D. A Platform with Six Degrees of Freedom. Proc. Inst. Mech. Eng. 1965, 180, 371–386. [Google Scholar] [CrossRef]
- Zhang, F. Research on High Precision Platform Leveling Control System. Master’s Thesis, North University of China, Taiyuan, China, 2008. [Google Scholar]
- Guo, Y.K.; Wu, Y.S.; Wu, X.K. The Design and Implementation of Leveling Control System for Large-Scale Vehicle-Mounted Radar Platform. J. Xihua Univ. (Nat. Sci. Ed.) 2021, 40, 76–81. [Google Scholar] [CrossRef]
- Li, B. Structural Analysis and Dynamic Simulation of a Rocket Weapon Special Container Launch System. Master’s Thesis, Nanjing University of Science and Technology, Nanjing, China, 2008. [Google Scholar]
- Yang, H.Q.; Zhong, J.S. Design of Direct Drive Hydraulic Leveling System Based on LabVIEW. Comput. Meas. Control 2020, 28, 108–111. [Google Scholar] [CrossRef]
- Zhao, Y.; Xiao, H.R.; Mei, S.; Song, Z.Y.; Ding, W.Q.; Jin, Y.; Han, Y.; Xia, X.F.; Yang, G. Current Status and Development Strategies of Orchard Mechanization Production in China. J. China Agric. Univ. 2017, 22, 116–127. [Google Scholar] [CrossRef]
- Wang, T. Design and Test of the Hillside Tractor Body Automatic Leveling Control System. Master’s Thesis, Northwest A&F University, Yangling, China, 2014. [Google Scholar]
- Wang, T.; Yang, F.Z.; Wang, Y.J. Design of Body Automatic Leveling Control System of Hillside Tractor. J. Agric. Mech. Res. 2014, 36, 232–235+244. [Google Scholar] [CrossRef]
- Liu, H.P.; Yang, F.Z.; Liu, S.; Lu, Y. Effect of Mechanism of Height Difference on Stability of Miniature Crawler Hillside Tractor. Tract. Farm Transp. 2013, 40, 18–21. [Google Scholar]
- He, J.Y.; Yang, F.Z.; Xu, X.D. Design of Remote Control System for Hillside Crawler Micro-Farming Tractor. Tract. Farm Transp. 2011, 38, 19–22. [Google Scholar] [CrossRef]
- Zhang, J.Q.; Yang, F.Z.; Liu, M.L.; Zhang, Z.W.; Zhang, Z.P. Design of an Hydraulic Difference in Elevation Equipment Used in Mountainous Micro-Tiller. Tract. Farm Transp. 2011, 38, 92–93+96. [Google Scholar] [CrossRef]
- Sun, J.B.; Chu, G.P.; Pan, G.T.; Meng, C.; Liu, Z.J.; Yang, F.Z. Design and Performance Test of Remote Control Omnidirectional Leveling Hillside Crawler Tractor. Trans. Chin. Soc. Agric. Mach. 2021, 52, 358–369. [Google Scholar] [CrossRef]
- Sun, J.B.; Meng, C.; Zhang, Y.Z.; Chu, G.P.; Zhang, Y.J.; Yang, F.Z.; Liu, Z.J. Design and Physical Model Experiment of an Attitude Adjustment Device for a Crawler Tractor in Hilly and Mountainous Regions. Inf. Process. Agric. 2020, 7, 466–478. [Google Scholar] [CrossRef]
- Sun, Q.K.; Zhang, J.; Yang, Y.M.; Zheng, D.C.; Li, Z.W. Stability Analysis of Three-Point Leveling Mechanism of Hilly Mountain Tractor. Agric. Eng. 2023, 13, 91–97. [Google Scholar] [CrossRef]
- NY/T 1929-2010; Test Method for Static Rollover Stability of Wheeled Tractors. 2010. Available online: https://std.samr.gov.cn/hb/search/stdHBDetailed?id=B06EFD6F8793A9F0E05397BE0A0ACF17 (accessed on 26 April 2025).
- Jian, H.L.; Zhang, J.; Liu, Y.; Zheng, D.C.; Li, Z.W. Virtual Design and Simulation Analysis of Adaptive Hilly Mountain Tractor. J. Shanxi Agric. Sci. 2023, 51, 935–941. [Google Scholar] [CrossRef]
- Qi, W.C.; Li, Y.M.; Tao, J.F.; Qin, C.J.; Liu, C.L.; Zhong, K. Design and Experiment of Active Attitude Adjustment System for Hilly Area Tractors. Trans. Chin. Soc. Agric. Mach. 2019, 50, 381–388. [Google Scholar] [CrossRef]
- Qi, W.C.; Li, Y.M.; Zhang, J.H.; Qin, C.J.; Liu, C.L.; Yin, Y.P. Double Closed Loop Fuzzy PID Control Method of Tractor Body Leveling on Hilly and Mountainous Areas. Trans. Chin. Soc. Agric. Mach. 2019, 50, 17–23+34. [Google Scholar] [CrossRef]
- Qi, W.C. Research on Active Attitude Adjustment System of Tractors in Hilly Mountainous. Master’s Thesis, Shanghai Jiao Tong University, Shanghai, China, 2020. [Google Scholar]
- Zhang, J.H.; Li, Y.M.; Qi, W.C.; Liu, C.L.; Yang, F.Z.; Li, Z.P. Synchronous Control System of Tractor Attitude in Hills and Mountains Based on Neural Network PID. Trans. Chin. Soc. Agric. Mach. 2020, 51, 356–366. [Google Scholar] [CrossRef]
- Zhang, J.H. Research on Terrain Adaptive Coordinated Control and Autonomous Operation of Tractors in Hilly Mountainous. Master’s Thesis, Shanghai Jiao Tong University, Shanghai, China, 2021. [Google Scholar]
- Li, Z.; Fan, G.J.; Zhang, H.; Qin, F. Analysis on the Present Situation and Tendency of Automatic Leveling in Agricultural Machinery. J. Chin. Agric. Mech. 2019, 40, 48–53. [Google Scholar] [CrossRef]
- Zhen, L.; Muneshi, M.; Eiji, I.; Takashi, O.; Yasumaru, H.; Zhu, Z.X. Parameter Sensitivity for Tractor Lateral Stability against Phase I Overturn on Random Road Surfaces. Biosyst. Eng. 2016, 150, 10–23. [Google Scholar] [CrossRef]
- Mashadi, B.; Nasrolahi, H. Automatic Control of a Modified Tractor to Work on Steep Side Slopes. J. Terramech. 2009, 46, 299–311. [Google Scholar] [CrossRef]
- Ahmadi, I. Dynamics of Tractor Lateral Overturn on Slopes under the Influence of Position Disturbances (Model Development). J. Terramech. 2011, 48, 339–346. [Google Scholar] [CrossRef]
- Fei, Z.; Vougioukas, S.G. A Robotic Orchard Platform Increases Harvest Throughput by Controlling Worker Vertical Positioning and Platform Speed. Comput. Electron. Agric. 2024, 218, 108735. [Google Scholar] [CrossRef]
- Zou, D.Q.; Ding, R.K.; Shi, F.H.; Sun, Z.Y. Design of Omnidirectional Leveling System for Crawler Machines in Hilly and Mountainous Areas. Agric. Equip. Technol. 2023, 49, 11–13. [Google Scholar] [CrossRef]
- Sun, Z.Y.; Xia, C.G.; Jiang, Y.; Guo, Y.F.; Wang, R.C. Omnidirectional Leveling Control of Crawler Machine Based on QBP-PID. Trans. Chin. Soc. Agric. Mach. 2023, 54, 397–406. [Google Scholar] [CrossRef]
- Ding, X.B.; Li, Y.L.; Liu, L.H.; Cao, Z.H.; Wang, Y.M.; Zhan, X.M. Development and Test of General Lifting Operation Platform for Orchard in Hilly and Mountainous Areas. South China Agric. 2023, 17, 266–272. [Google Scholar] [CrossRef]
- Yu, Y.C.; Kang, F.; Zheng, Y.J.; Lv, H.T.; Wang, Y.X. Design and Simulation of the Automatic-Leveling High-Position Platform in Orchards. J. Beijing For. Univ. 2021, 43, 150–159. [Google Scholar] [CrossRef]
- Yu, Y.C. Design and Test of High-Position and Automatic Leveling Work Platform in Orchard. Master’s Thesis, Beijing Forestry University, Beijing, China, 2021. [Google Scholar]
- Jin, S. Design and Research of Electric Working Platform for Fruit Picking and Transportation. Master’s Thesis, Hunan Agricultural University, Changsha, China, 2022. [Google Scholar]
- Lu, Z.M.; Guo, J.P. An All-Terrain Orchard Operation Platform 12. Available online: https://kns.cnki.net/kcms2/article/abstract?v=79O6ZE_Rn2rJYD_CiMyGbMlni-bJy9J5-oggn3R_3p3yxrLqddIBy4fuLzGHd4lYVIk-OsfCexWlRUrK9BGHJi5inM5XlQntenuqEULiIJkQeRKH0TougBtXQ0HbFnGJ5jEMMKEdWsYLi5oTknl4VENYRiifL1myPWBTCmN1zHydmsC6hzYR4A==&uniplatform=NZKPT&language=CHS (accessed on 26 April 2025).
- Li, Z.A. Design and Test of Orchard Multifunctional Opreating Platform with Four-Wheel Independent Drive. Master’s Thesis, Huazhong Agricultural University, Wuhan, China, 2023. [Google Scholar]
- Fan, G.J.; Wang, Y.Z.; Wang, J.C.; Zhang, X.H. Development and Experiment of Platform for Orchards in Hill Area. J. Agric. Mech. Res. 2016, 38, 77–81. [Google Scholar] [CrossRef]
- Gao, L.W.; Zeng, K. The Structure and Control System Design of a Movable Automatic Leveling Platform. China South. Agric. Mach. 2022, 53, 65–68. [Google Scholar] [CrossRef]
- Gao, L.W. Development of On-Board Platform Servo Self-Leveling System. Master’s Thesis, Chang′an University, Xi′an, China, 2022. [Google Scholar]
- Zheng, Y.J.; Chen, B.T.; Lv, H.T.; Kang, F.; Jiang, S.J. Research Progress of Orchard Plant Protection Mechanization Technology and Equipment in China. Trans. Chin. Soc. Agric. Eng. 2020, 36, 110–124. [Google Scholar] [CrossRef]
- Masao, N. Development and Improvement of Mobile Work Platform for Use in Apple Orchards. Jpn. J. Farm Work Res. 2006, 41, 68–73. [Google Scholar] [CrossRef][Green Version]
- Yamada, Y.; Ota, T.; Kanamitsu, M. Development of a Compact and High Mobility Elevating Work Platform for Orchards; ASABE: St. Joseph, MI, USA, 2011. [Google Scholar]
- Lee, S.S.; Kim, J.T.; Park, W.Y. Structural Analysis for the Development of a Vertically Raise Type Aerial Work Machinery. J. Korea Inst. Inf. Electron. Commun. Technol. 2017, 10, 225–231. [Google Scholar] [CrossRef]
- Lee, S.S.; Kim, J.T.; Park, W.Y. Development of Centralized Controller with Remote Control and Hydraulic Lift. J. Korea Inst. Inf. Electron. Commun. Technol. 2017, 10, 232–241. [Google Scholar] [CrossRef]
- Jang, I.J. Development of a Lifting Utility with Balance-Controlled Platform. J. Biosyst. Eng. 2011, 36, 171–179. [Google Scholar] [CrossRef]
- Crendon Machinery. Available online: https://www.crendon.com.au/squirrel-358-sd-d (accessed on 27 April 2025).
- Raccolta | Tecnofruit. Available online: https://tecnofruit.it/product-category/raccolta/ (accessed on 27 April 2025).
- Zheng, H.; Yu, G.H.; Wu, M.; Huang, W. A Picking Device with Automatic Leveling Function 2020, 11. Available online: https://kns.cnki.net/kcms2/article/abstract?v=79O6ZE_Rn2oFJ0RnFHHLebcR5xI_U7JWPAabJ9Z-S-NvJfDV0yba7HMk0A1_TVZnEjurw6MnCMemsTnlhnDvA3ZWHGVUumIKH00nid3uK4Yq2d5eS00WVcgK8Llwz8B2QFzdrK9tTSYXG63BumDcmV7qen19DkU3opF3rb9EulSP7j5_XuiA0A==&uniplatform=NZKPT&language=CHS (accessed on 26 April 2025).
- Zhang, X.G.; Ma, J.G.; Li, G.R.; Zhong, B.L.; Yuan, X.Y.; Qi, L.L.; Qi, P.; Wu, C.C. Gantry Orchard Spray Mechanism 2021, 15. Available online: https://kns.cnki.net/kcms2/article/abstract?v=79O6ZE_Rn2q4dG_bUSWRrDDnDso0OuwlicP-_MfqMENz0T1SFq0QG_qV7DcyCTSzCL_KgDxi_5DY94y6L9IuSwAtlh6BpcFzfMlusfBAeAGFISiP0p9V3rCN-eqamtMJqq0gI84c3cJ_2G8qI_iL6C_CxKKCr7Mss0LKwIU3O1Sn_Qqgp6Nrbw==&uniplatform=NZKPT&language=CHS (accessed on 26 April 2025).
- Yang, F.Z.; Li, Y.N.; Zhang, Y.Z.; Niu, H.L.; Feng, C.; Liu, Z.J.; Sun, J.B. A Suspended Disc-Type Obstacle Avoidance Profiling Mowing Device for Hilly Orchards 2020, 11. Available online: https://kns.cnki.net/kcms2/article/abstract?v=79O6ZE_Rn2qSLD6aydKQG6B2pTwTy6gvwEsqkRxtKzRVy8FhQBN7c55IlfSuyLmaVEf-1RbDun3kmrGAjP7maS1qkW5fAfPHEep67JH_1wyN8lPxr2OWW8f4OLulSiyVHBjkBstldjxkagMMeZOsFtIFDUcugFAk2ns5OJagDIaRuXtFBYGj4g==&uniplatform=NZKPT&language=CHS (accessed on 26 April 2025).
- Yang, F.Z.; Li, Y.N.; Niu, H.L.; Zhang, Y.Z. A Multi-Directional Profiling Mowing Device for Orchard Based on Spring Pneumatic Push Rod 2020, 6. Available online: https://kns.cnki.net/kcms2/article/abstract?v=79O6ZE_Rn2ozLaxEPXhDRJyUT8AjY9aJXfA8ELuSf8Chn89MdROEtN5gdcnsUX0HRQpxaF0hYaPMn4i9KamfZd6zFJAiJ71VXgBOPT75S2WFqhxggDtpFDLlc65KraVKHytjqO994CV9sJmtZLOClo58A8bn2OeAMkAmcj16fOrQP1PLYXb_Dg==&uniplatform=NZKPT&language=CHS (accessed on 26 April 2025).
- Nie, Z.C. Design and Experiment of Automatic Omnidirectional Leveling Platform for Orchard Spectral Data Collection in Hilly Mountainous Areas. Master’s Thesis, Southwest University, Chongqing, China, 2023. [Google Scholar]
- Haun, R.D.; Trefz, H.J. Mower Deck Leveling System 2015, 8. Available online: https://kns.cnki.net/kcms2/article/abstract?v=79O6ZE_Rn2qWANB4ptWABDqkSPLMHdQgleCjk44gESWK34MAACRMNqGAW-GT9MihG8OvHPdTP3-LAC8bjQ6ORzG0C6RQtCBmlpCUcff5AtO-XupTykWrZ7eH2iOY5B4FECc7ceQ_2kL8m1hXlDRkYB-TQ1BJfPHgAOXVAVJmlLv1E0Kl2xQI-A==&uniplatform=NZKPT&language=CHS (accessed on 26 April 2025).
- Denis, D.; Thuilot, B.; Lenain, R. Online Adaptive Observer for Rollover Avoidance of Reconfigurable Agricultural Vehicles. Comput. Electron. Agric. 2016, 126, 32–43. [Google Scholar] [CrossRef]
- Xiong, H. Brief Introduction of Deere New R4038 Self-Propelled Spraying Machine. Mod. Agric. 2014, 49. [Google Scholar] [CrossRef]
- Hoehn, K.W.; Lynn, W. Thompson Remotely Adjustable Disk Leveling System 1989, 6. Available online: https://pss-system.cponline.cnipa.gov.cn/documents/detail?prevPageTit=changgui (accessed on 26 April 2025).
- Wang, W.W.; Chen, L.Q.; Yang, Y.; Liu, L.C. Development and Prospect of Agricultural Machinery Chassis Technology. Trans. Chin. Soc. Agric. Mach. 2021, 52, 1–15. [Google Scholar] [CrossRef]
- Lv, F.Y.; Li, X.K.; He, C.Z.; Ding, L.L.; Sun, A. Design and Test of Agricultural Machinery Crawler Chassis with Omnidirectional Attitude Adjustment. J. Chin. Agric. Mech. 2024, 45, 132–137. [Google Scholar] [CrossRef]
- Wu, W.B.; He, Z.K.; Yao, B.H.; Zheng, Z.F.; Sun, S.L.; Zhang, F.R.; Gao, C.L.; Luo, M.L.; Han, C.Y.; Lin, H.R.; et al. A Light Crawler Chassis with Slope Adaptive Adjustment 2022, 14. Available online: https://kns.cnki.net/kcms2/article/abstract?v=79O6ZE_Rn2q4mA9jAyu_IgBJ_Ylwa7YZdPnP8eQri60Jvc_f9WUUyBrgAlQzNjHB5_uX_wjuIVRdqQTNIVyqM9OHMnIICI1BWDkhSp8wemdEFeRQztGuEYLJhTzd6O4XKiV0faMD3SH_aWfLV3SVRS36f3_Uh6h45oxMomtHZVCJzlNLeoEHAA==&uniplatform=NZKPT&language=CHS (accessed on 26 April 2025).
- Liu, P.Y.; Peng, F.J.; Li, H.T.; Wang, Z.Z.; Wei, W.J.; Zhao, J.P. Design and Experiment of Adaptive Leveling Chassis for Hilly Area. Trans. Chin. Soc. Agric. Mach. 2017, 48, 42–47. [Google Scholar] [CrossRef]
- Liu, P.Y.; Ke, C.P.; Ke, T.; Li, H.T.; Wei, W.J.; Zhao, C. Design and Experiment of Pre-Detection Active Leveling Agricultural Chassis for Hilly Area. Trans. Chin. Soc. Agric. Mach. 2020, 51, 371–378. [Google Scholar] [CrossRef]
- Balchanowski, J. Modelling and Simulation Studies on the Mobile Robot with Self-Leveling Chassis. J. Theor. Appl. Mech. 2016, 54, 149. [Google Scholar] [CrossRef][Green Version]
- Zhao, X.; Yang, J.; Zhong, Y.; Zhang, C.; Gao, Y. Study on Chassis Leveling Control of a Three-Wheeled Agricultural Robot. Agronomy 2024, 14, 1765. [Google Scholar] [CrossRef]
- Pijuan, J.; Cornelias, M.; Nogues, M.; Roca, J.; Potau, X. Active Bogies and Chassis Levelling for a Vehicle Operating in Rough Terrain. J. Terramech. 2012, 49, 161–171. [Google Scholar] [CrossRef]
- Li, L.L.; Deng, G.R.; Lin, W.G.; Cui, Z.D.; He, F.g.; Li, G.j. Development Status and Trend of Agricultural Machinery Automatic Leveling Technology. Mod. Agric. Equip. 2021, 42, 2–7+35. [Google Scholar] [CrossRef]






















| Type | Advantages | Disadvantage | Application |
|---|---|---|---|
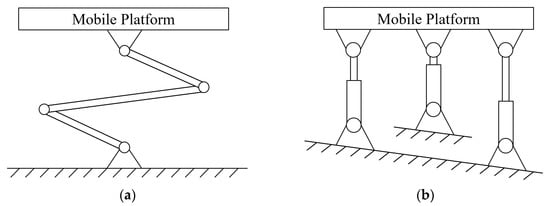
| Series type | It has a large workspace, each joint can be controlled independently, and it is easy to conduct kinematic analysis. | The structural strength is low, making it unsuitable for heavy load operations, and the accumulation of errors leads to a decrease in the positioning accuracy of the end effector. | Camera gimbal |
| Parallel type | No cumulative error, with high positioning accuracy and strong load capacity. | The workspace is small, making forward kinematics analysis quite difficult. | Stewart platform [12], motion simulator, wave compensation device |
| Classification Method | Type | Characteristics | Application |
|---|---|---|---|
| Power source type | Manual adjustment | Relying on the operator to observe the level instrument and manually adjust the leg height. It takes a long time to adjust, has poor leveling precision, and is difficult to operate. | Simple crane |
| Hydraulic drive | Using a hydraulic system as an actuator, it has a small volume, light weight, and compact structure; it features good dynamic performance and high response frequency; with high stiffness, it is suitable for large-tonnage leveling systems. However, it is sensitive to temperature and prone to leakage. | Aerial fire truck | |
| Electromechanical Drive | Using servo control systems and sensor technology, with a simple structure, high precision, easy maintenance, and strong environmental adaptability. | Radar antenna | |
| Supporting structure | Rigid support | The supporting structure is stable and not easily deformed, but it is costly and complex to install [14]. | Radar antenna |
| Semi-rigid support | It can ensure a certain degree of structural strength while also absorbing vibration and impact to some extent [16]. | Vehicle leveling system | |
| Elastic support | It has good shock absorption performance, but it may sacrifice some structural strength and stability [15]. | Earthquake rescue vehicle | |
| Number of support points | Three-point support | The structure is simple, but its anti-overturning ability is relatively poor. | Radar antenna |
| Four-point support | Strong anti-tipping ability, at most generating one virtual leg that is relatively easy to eliminate. | Crane | |
| Six-point support | Greater anti-tipping ability, but prone to multiple virtual legs, requiring more complex control strategies to eliminate virtual legs. | Heavy crane |
| Name | Characteristics | Application |
|---|---|---|
| PID control | Simple structure and determined parameters, achieving error correction through linear combinations of proportion, integration, and differentiation. | Flat terrain and stable load static working scenario |
| Feedforward-PID Control | The integration of feedforward channel pre-compensation can measure interference, providing good dynamic response and anti-interference capability. | Known interference environment or operational scenarios that require quick response during dynamic driving. |
| Fuzzy PID Control | Dynamically adjusting PID parameters based on a fuzzy rule base, without relying on precise mathematical models, offers strong robustness. | Complex operational scenarios with significant terrain fluctuations and loads that change over time. |
| Neural Network PID Control | Utilizing the self-learning capability of neural networks to fit nonlinear relationships and adaptively optimize parameters during the leveling process. | Nonlinear systems or precision leveling operations in strongly coupled, multi-degree-of-freedom scenarios |
| Research and Development Institutions | Technical Name | Characteristics | Leveling Performance |
|---|---|---|---|
| Northwest A&F University [23] | Omnidirectional leveling mechanism | Including a lateral leveling device based on a four-bar linkage mechanism and a longitudinal leveling device based on a double frame mechanism. | Satisfy leveling on horizontal slopes from 0° to 15° and vertical slopes from 0° to 10° |
| Shanxi Agricultural University [25] | Three-point leveling mechanism | Design a swing support seat and leveling hydraulic cylinder on the front steering drive axle, forming a three-point leveling mechanism with the swing support seat of the rear steering drive axle. | Meet slope leveling from −25° to 25° |
| Shanghai Jiao Tong University [28] | Posture Adjustment System | The active adjustment of the tractor’s posture is achieved through the left and right eccentric wheel swinging mechanisms attached to the rear drive axle. | It takes ≤7.5 s to level the ±10° slope, with an error of <0.5° |
| Iran University of Science and Technology [35] | Dual-level leveling controller | The two-layer controllers use fuzzy logic control and proportional-integral (PI) control, ensuring that the actual force generated is as close as possible to the target force set by the upper-layer controller. | / |
| Research and Development Institution | Name | Features | Performance Parameters |
|---|---|---|---|
| Jiangsu University/Jiangsu New Energy Vehicle Research Institute Co., Ltd. (Xuzhou, China) [39] | Omnidirectional leveling tracked work machine | The omnidirectional leveling solution is based on a “three-layer frame” structure, with a distributed hydraulic system between the frames. The leveling is ensured through the extension and compression of hydraulic cylinders to keep the omnidirectional body level. | Satisfies leveling on horizontal slopes from 0° to 20° and vertical slopes from 0° to 25°, with leveling times of 2.8 s for horizontal and 3.2 s for vertical on-site. |
| Chongqing Academy of Agricultural Sciences/Chongqing Xinyuan Agricultural Machinery Co., Ltd. (Chongqing, China) [40] | General lifting operation platform for fruit orchards in hilly areas | The leveling system outputs high-pressure oil through a gear pump and controls the left and right or front and back bi-directional balance valves via a valve spooling seat and an electromagnetic reversing valve, achieving automatic leveling of the platform. | Lifting height ≥ 1.5 m, maximum load capacity ≥ 1 t |
| Beijing Forestry University [41] | High-level automatic leveling platform | The platform achieves automatic leveling using a folding arm scissor pitch leveling mechanism and a lateral tilt leveling mechanism. | The minimum value of the limit overturning slope is 25.29° |
| Hunan Agricultural University [43] | Electric working platform | Using hydraulic rods to drive the platform for horizontal and vertical leveling. | Satisfies leveling on horizontal slopes from 0° to 12° and vertical slopes from 0° to 20° |
| Huazhong Agricultural University [45] | Four-wheel independent drive multifunctional operating platform for orchards | The leveling of the working platform is achieved by using two electric actuators placed in the front–back and left–right directions on the leveling platform. | Meet slope leveling of 0° to 10°, with an error of ≤1° |
| Kyungpook National University [54] | Crawler-type automatic leveling lift platform | Install two hydraulic cylinders on both sides of the vehicle to achieve automatic leveling of the platform. | Meet leveling for slopes of 0° to 20°, with an error of ≤0.5° and a time of ≤1 s |
| Crendon Machinery [55] | Self-propelled all-terrain aerial platform | Using multiple hydraulic cylinders in combination to achieve automatic leveling of the lifting platform. | Satisfies leveling on a horizontal slope of 0°~12.5° and a vertical slope of 0°~15° |
| Research Institution | Name | Features | Performance Parameters |
|---|---|---|---|
| Zhejiang Academy of Agricultural Sciences [57] | Harvesting device with automatic leveling function | Using an installed angle sensor on the vehicle body to detect the horizontal status of the vehicle body, driving the oil cylinder to achieve automatic leveling of the vehicle body. | / |
| Northwest A&F University [59,60] | Hanging disc-type hilly orchard obstacle-avoidance contour mowing device | Adjust the cutter head to maintain parallelism with the slope by relying on a hydraulic cylinder and a set of parallel four-bar mechanisms combined with a spring float device. | / |
| Southwest University [61] | Omnidirectional self-leveling platform | The current attitude angle of the platform is collected through sensors. After parsing and calculating by the microcontroller, commands are sent to the actuator to drive the push rod motor for platform leveling. | Satisfies leveling of slopes from 0° to 18°, with static error < 0.3°, dynamic error < 3° |
| Clemson University [63] | Online adaptive observer for anti-rollover | Update the vehicle’s dynamic model parameters through intermittent LLT (lateral torque) measurements and a sensitivity gradient search algorithm, allowing the hydraulic leveling system to automatically adjust in real time. | Meet the leveling requirements for slopes of 0° to 16.5° |
| Research Institution | Name | Characteristics | Performance Parameters |
|---|---|---|---|
| Gansu Institute of Mechanical Science Co., Ltd. (Lanzhou, China) [67] | Omnidirectional attitude adjustment agricultural machine track chassis | Adjust the height of the tracks on both sides by driving the hydraulic cylinders to keep the chassis horizontally level, connecting two sets of lifting hydraulic cylinders that are symmetrically fixed on the front and rear cross beams of the chassis through a hinged four-bar mechanism, controlling the work of the cylinders to keep the chassis longitudinally level. | Satisfies horizontal leveling from 0° to 15° and vertical leveling from 0° to 30°, with an error ≤ 15° |
| South China Agricultural University [68] | Lightweight tracked chassis with slope adaptive adjustment | Achieve chassis leveling in four ways through the combination of height adjustment mechanism and horizontal adjustment mechanism. | / |
| China Agricultural University [69] | Adaptive leveling chassis for agricultural use in hilly areas | Change the chassis height by adjusting the angle of the Y-shaped adjustable suspension, achieving dynamic adaptive leveling of the chassis. | Compared to a four-wheel rigid chassis, the sum of the roll angle and pitch angle is reduced by 54.86% |
Disclaimer/Publisher’s Note: The statements, opinions and data contained in all publications are solely those of the individual author(s) and contributor(s) and not of MDPI and/or the editor(s). MDPI and/or the editor(s) disclaim responsibility for any injury to people or property resulting from any ideas, methods, instructions or products referred to in the content. |
© 2025 by the authors. Licensee MDPI, Basel, Switzerland. This article is an open access article distributed under the terms and conditions of the Creative Commons Attribution (CC BY) license (https://creativecommons.org/licenses/by/4.0/).
Share and Cite
Xue, G.; Peng, J.; Shen, H.; Wang, G.; Zheng, W.; Huang, S.; Huan, Z.; Hu, L.; Ding, W. Research Status and Prospects of Automatic Leveling Technology for Orchard Machinery. Sustainability 2025, 17, 5297. https://doi.org/10.3390/su17125297
Xue G, Peng J, Shen H, Wang G, Zheng W, Huang S, Huan Z, Hu L, Ding W. Research Status and Prospects of Automatic Leveling Technology for Orchard Machinery. Sustainability. 2025; 17(12):5297. https://doi.org/10.3390/su17125297
Chicago/Turabian StyleXue, Guangyu, Jiwen Peng, Haiyang Shen, Gongpu Wang, Wenhao Zheng, Sen Huang, Zihan Huan, Lianglong Hu, and Wenqin Ding. 2025. "Research Status and Prospects of Automatic Leveling Technology for Orchard Machinery" Sustainability 17, no. 12: 5297. https://doi.org/10.3390/su17125297
APA StyleXue, G., Peng, J., Shen, H., Wang, G., Zheng, W., Huang, S., Huan, Z., Hu, L., & Ding, W. (2025). Research Status and Prospects of Automatic Leveling Technology for Orchard Machinery. Sustainability, 17(12), 5297. https://doi.org/10.3390/su17125297

