Abstract
Zinc oxide dust (ZOD) is an industrial solid waste produced in the production process of wet smelting Zn, with large output and great pollution to the environment. The recycling of metallurgical solid waste such as zinc oxide dust is very important to achieve the sustainable development of the circular economy. An experimental study of zinc (Zn) leaching from zinc oxide dust using an ultrasound-enhanced ammonia–ammonium chloride system was performed. The effects of ultrasonic power, leaching time, total ammonia concentration, and other factors on the leaching rate of zinc from zinc oxide dust were investigated. The results revealed that the leaching rate of Zn reached up to 80.70% under the condition of ultrasound power of 1000 W, reaction time of 15 min, total ammonia concentration of 6 mol/L, [NH3]:[NH4+] of 1:1, L/S of 5:1, temperature of 45 °C, and stirring speed of 100 r/min. The conventional leaching was conducted under similar conditions, except that the time was controlled to 40 min and the zinc leaching rate was 71.15%. The leaching rate of Zn in the ultrasound condition was improved by 9.55% compared with that in the conventional leaching process. XRD, laser particle size, and SEM-EDS analyses were conducted to study the leaching residues of ZOD. The analysis results showed that in the ultrasound condition, the largest leaching rate of soluble ZnO phases was achieved after 15 min of leaching. Under the ammoniacal system, it was difficult to leach ZnFe2O4, Zn2SiO4, and ZnS phases, which partly accounted for the low zinc leaching rate. Additionally, through ultrasound-enhanced treatment, the ZnO particles encapsulated in ZOD particles were broken into smaller sizes and exposed to the leaching solution. Thus, the leaching rate of Zn was improved. The experimental results show that ultrasound can tremendously improve the effect of Zn extraction from ZOD, shorten reaction time, and help reduce energy consumption and environmental pollution, making it a promising application in the treatment of secondary Zn resources.
1. Introduction
Zinc is an important modern industrial metal and has found wide applications in the galvanizing [1], alloy material [2], pharmaceutical [3], and chemical raw material industries [4]. With the development of the global economy and the growing scarcity of Zn resources, scientists have gradually shifted their focus to secondary Zn resources, such as industrial wastes, and are developing novel processes for resource recovery and utilization.
Zinc oxide dust (ZOD) is an intermediate byproduct from the process of Zn hydrometallurgy, which contains many valuable metals, such as Zn, Pb, Cu, Au, and Ag [5,6,7,8], as well as scattered In and Ge in most cases [9,10,11,12,13]. Therefore, it can be used for the recovery of indium, and zinc is the main raw material, with value in recycling and comprehensive utilization. ZOD is generally produced through volatilization during the high-temperature reduction of the leaching residues from the wet zinc smelting process. In the high-temperature volatilization process, ZOD forms polymers that encapsulate a part of ZnO. In addition, ZOD has a complex composition, and many valuable metals coexist with impurities. As a result, conventional acid, alkali, ammonia, and other methods exhibit poor performance in the leaching of Zn from ZOD [14,15,16,17,18].
Ultrasound technology shows great potential application in metal leaching and recovery due to its unique mechanical vibration and cavitation effects. Ultrasonic is widely used in the recovery process of Zn [8,19,20], Pb [21], Cd [22], Ge [23,24,25], In [26,27], Ag [28], Cu [29,30], Mg [31], Rb [32], Au [33], Ga [20,25], etc., and relevant studies have shown that ultrasound has significant effects in terms of improving the reaction speed and metal extraction rate. Xin et al. [12] studied the extraction of zinc and germanium from Ge-containing slag via ultrasound combined with oxygen leaching. The combined use of ultrasonic waves and oxygen not only destroyed the crystal structure of the mineral and reduced the crystallinity of the mineral, but also destroyed the mineral inclusions and promoted sulfide leaching and the release of the wrapped Ge, thus increasing the leaching rate of zinc and germanium. Mikhailov et al. [19] combined ultrasonic-assisted leaching with a Fenton-like process to treat blast furnace sludge. After 15 min of ultrasonication of blast furnace sludge, more than 99% of Zn was leached and more than 98% of Fe remained in the residue. Xie et al. [21] used ultrasonic-assisted calcium chloride to leach lead from Zn leaching residue. The results showed that under the optimum ultrasonic extraction conditions, the leaching efficiency of lead was as high as 83.8%; the leaching rate of lead increased by 18.1% compared to the conventional leaching process under the same conditions. Liu et al. [22] aimed at solving the problems of high amounts of zinc powder and the low removal rate of Cd in zinc sulfate solution in the process of zinc hydrometallurgy. The experimental study on cadmium removal by ultrasonic-enhanced zinc powder showed that, compared with the traditional process, the reaction time of 120 min was reduced to 40 min, the reaction temperature of 60 °C to 55 °C, and the dosage of zinc from 5 to 3 g/L. The removal rate of Cd increased from 68.9% to 98.7%.
Ultrasonic technology significantly increases the leaching rate of valuable metals. This discovery of promoting the comprehensive utilization of industrial solid waste valuable metals is of great significance. Ultrasonic waves produce various physical and chemical effects during precious metal leaching, such as microfluidics, cavitation effects, and high shear forces. These actions destroy the surfaces of mineral particles, accelerate the mass transfer of reactants, increase the recovery rate of valuable metals, and promote the full reaction of valuable metal minerals with leaching agents by ultrasound, thereby greatly increasing the recovery rate of valuable metals. Existing experimental studies have demonstrated that ultrasonic-assisted leaching processes can achieve higher recovery rates of valuable metals in a shorter time than traditional leaching methods.
Many studies have clarified the mechanisms by which ultrasound improves the leaching rates of valuable metals [8,22,31], including (1) the cavitation effect: Introducing ultrasonic waves into the solution can create high-speed microjets locally at high temperatures and pressures. These physical effects disrupt the lattice structure of valuable metal minerals and prompt the release of more valuable metal ions into the solution. (2) Adsorption and decomposition effect: ultrasonic can reduce the adsorption energy of valuable metal minerals, accelerate the decomposition of reactants on the surfaces of minerals, and improve the chemical reaction rate. (3) Particle dispersion effect: ultrasonic promotes the dispersion of solid particles in the reaction medium, expands the contact surface area between mineral particles and the leaching agent, effectively improves the mass transfer conditions, and thus promotes the leaching of valuable metals.
In this paper, ultrasound technology was used in combination with the ammonia–ammonium chloride–water system for Zn leaching from ZOD. The effects of ultrasonic power, leaching time, total ammonia concentration, and other factors on the zinc leaching rate from ZOD were studied. Moreover, the mechanisms underlying ultrasound-enhanced Zn leaching from ZOD were analyzed.
2. Experimental Materials and Methods
2.1. Experimental Materials
The experimental raw materials used in the experiment originated from a Zn hydrometallurgy factory in Southwest China. The chemical composition analysis of the ZOD material is shown in Table 1. ZOD had complex components, with a high content of valuable metals such as Pb, Zn, and Fe. The Zn content reached 41.37%. At the same time, ZOD also contained a large amount of lead, manganese, cadmium and other valuable metals. The content of rare metal in ZOD reached 820.8 g/t. There were also a substantial number of S, Cl, Si, and Ca elements in ZOD.
Table 1.
The chemical composition analysis of ZOD material (mass fraction, %).
In order to determine the presence of metal elements and impurities in ZOD, XRD (TTRA III type multifunctional X-ray diffractometer, Rigaku, Tokyo, Japan) and SEM-EDS (XL30 ESEM-TMP scanning electron microscope, Philips, Dutch) analyses were conducted to characterize the ZOD samples. The XRD and SEM spectra of the samples are plotted in Figure 1 and Figure 2. The zinc phase in ZOD was mainly in the form of ZnO, ZnS, ZnFe2O4, and Zn2SiO4. The phases in ZOD were conglomerated, intertwined, and wrapped by each other.
Figure 1.
XRD pattern of the raw ZOD sample.
Figure 2.
SEM image and EDS point analysis of the raw ZOD sample.
SEM spectra showed that the mineral particles in ZOD gathered together, presenting two types of structural morphologies, namely, small flocs (Part A) and conglomerations (Part B). According to the spot and area analyses of SEM-EDS spectra (Figure 2 and Figure 3), Zn in ZOD was mainly distributed in small flocs, which consisted of O, Fe, Si, and Zn elements. The conglomerations comprised the O, S, Pb, and Ca elements. The morphology, occurrence forms, and surface properties of minerals in ZOD were totally different from those of primary minerals. The mineral particles in ZOD melted and mixed together at high temperatures. Zn easily formed inclusions with other valuable metals or gangue components.
Figure 3.
SEM-EDS analysis of the ZOD sample.
2.2. Experimental Methods
A certain amount of ZOD was weighed and added into a conical flask together with the ammonia–ammonium chloride leaching solvent prepared in advance according to a specific ratio. The conical flask was then placed on a digital thermostatic magnetic stirrer. An ultrasonic probe was inserted into the thermostat water bath, and the ultrasound power and stirring speed were adjusted as required. After leaching for some time, the mixture was filtered. The zinc content in the filtrate was measured using the EDTA titration method, and the leaching rate of Zn () from ZOD was calculated using the following formula.
where Zn (in g/L) is the concentration of zinc in the leaching liquid; V (in L) is the volume of the zinc leaching liquid; m (in g) is the weight of the sample for leaching; and is the percentage of Zn in ZOD, which was 41.37%.
3. Results and Analysis
3.1. Experimental Research on the Condition of Zinc Leaching from ZOD
3.1.1. Influence of Ultrasound Power
The leaching process was controlled at 25 °C, an ammonia–ammonium ratio of 1:1, a total ammonia concentration of 4 mol/L, a liquid–solid ratio of 4:1, a stirring speed of 100 r/min, and a reaction time of 15 min. Under these conditions, the influence of different ultrasound power on Zn leaching from ZOD was analyzed, and the experimental results are shown in Figure 4. With the increase in ultrasonic power, the leaching rate of zinc increased obviously. The leaching rate of Zn was improved from 33.96% to 42.13% as the ultrasound power was raised from 600 W to 1000 W. The ultrasonic power was increased from 800 W to 1000 W, which greatly improved the leaching rate of Zn. The findings indicate that ultrasound power plays a crucial role in Zn leaching from ZOD, and ultrasound can thin the solvent molecule diffusion layer and enlarge the contact area between the solvent and ZOD particles. However, as ultrasonic power further increased, no significant change in the leaching rate of Zn was observed. The effect of low ultrasonic power on the cavitation and energy of the leaching agent and particles is not enough to effectively strengthen zinc dissolution, and the effect of high ultrasonic power will lead to the formation of a cavitation area at the liquid–solid surface interface, which is not conducive to the mass and energy transfer of the leaching solution, resulting in an insignificant ultrasonic effect [32]. Based on the above analysis, the ultrasonic power was set to 1000 W in the subsequent experiment i to facilitate zinc leaching.
Figure 4.
Influence of different ultrasonic output powers on zinc leaching rate.
3.1.2. Effect of Different Total Ammonia Concentrations on the Leaching Rate of Zn
In the leaching process, the ultrasound power, reaction time, ammonia–ammonium ratio, temperature, liquid–solid ratio, and stirring speed were set to 1000 W, 15 min, 1:1, 25 °C, 4:1, and 100 r/min, respectively. Under these parameters, the effects of different total ammonia concentrations on the leaching rate of Zn were examined. It can be seen from the experimental results in Figure 5 that the leaching rate of Zn was positively correlated with the total ammonia concentration. With the increase in total ammonia concentration from 2 mol/L to 6 mol/L, the leaching rate of zinc increased rapidly from 17.55% to 67.40%. However, there was no significant change in the leaching rate of Zn when the total ammonia concentration exceeded 6 mol/L. The above results suggest that the concentration gradient of the solvent is an important factor affecting Zn leaching. As the concentrations of ammonium chloride and ammonia gradually increase, a large concentration gradient forms on the solid surface, greatly accelerating Zn leaching. Therefore, a total ammonia concentration of 6 mol/L was selected for the experiment.
Figure 5.
Influence of different total ammonia concentrations on zinc leaching rate.
3.1.3. Impact of Different Ammonium–Ammonia Ratios on the Leaching Rate of Zn
The effects of different ammonia–ammonium ratios on the leaching rate of Zn were analyzed under the conditions of an ultrasound power of 1000 W, a reaction time of 15 min, a total ammonia concentration of 6 mol/L, a temperature of 25 °C, a liquid–solid ratio of 4:1, and a stirring speed of 100 r/min. Figure 6 summarizes the experimental results. The leaching rate of Zn was lower (below 20%) when ammonia and ammonium chloride were used as the leaching agents alone. With the increase in the [NH3]/[NH3]T from 0 to 0.5, the leaching rate of Zn was tremendously improved. The leaching rate of Zn reached the peak (62.89%) at the ammonia–ammonium ratio of 1:1 ([NH3]/[NH3]T = 0.5). The leaching rate of Zn was negatively correlated with the ammonia–total ammonia ratio when the latter exceeded 1:1. The experimental results further prove that at an ammonia–ammonium ratio of 1:1, ammonia and ammonium act better and jointly to promote Zn leaching. Therefore, it is more appropriate to control the ammonia–ammonium ratio to 1:1.
Figure 6.
Influences of different [NH3]/[NH3]T on zinc leaching rate.
3.1.4. Effect of Different Liquid-Solid Ratios on the Leaching Rate of Zn
The variation in the zinc leaching rate with the liquid–solid ratio was investigated, with the ultrasonic power set to 1000 W, the time to 15 min, the total ammonia concentration to 6 mol/L, the temperature to 25 °C, the ammonia–ammonium ratio to 1:1, and the stirring speed to 100 r/min. The experimental results are provided in Figure 7. The leaching rate of zinc was 40.45% at an L/S of 2:1. The content of ammonia and ammonium ions in the leaching system was lower than the stoichiometric amounts at a low L/S. Since the conditions for reactions to occur were not satisfied, the leaching rate of zinc was low. With the increase in the L/S, the amounts of ammonium chloride and ammonia rose in the system, reducing the viscosity of the slurry in the reaction system and further improving the leaching rate of zinc. At a L/S of 5:1, 75.37% of Zn was leached from ZOD. While the L/S was greater than 5:1, the change trend of the leaching rate of Zn was uncertain. Moreover, more leaching agents would be needed, and subsequent processes would be more complicated. Therefore, the optimal L/S was determined to be 5:1.
Figure 7.
Influences of different L/S on zinc leaching rate.
3.1.5. Influence of Different Leaching Times on the Leaching Rate of Zn
Under the parameters of an ultrasound power of 1000 W, L/S of 5:1, a total ammonia concentration of 6 mol/L, a temperature at 25 °C, an ammonia–ammonium ratio of 1:1, and a stirring speed of 100 r/min, the impact of leaching time on the leaching rate of Zn was analyzed. The experimental results (Figure 8) show that as the leaching time increased from 2 min to 15 min, the leaching rate of Zn increased from 29.40% to 75.37%, but the leaching rate of Zn almost did not change as the reaction proceeded. This indicates that after 15 min of leaching, Zn leaching was basically finished and the reaction reached equilibrium, with dissolved metal ions enriched on the particle surface. The leaching rate of zinc did not increase further. Based on the analysis results, the optimal leaching time was fixed at 15 min.
Figure 8.
Influence of different leaching times on zinc leaching rate.
3.1.6. Impact of Different Temperatures on the Leaching Rate of Zn
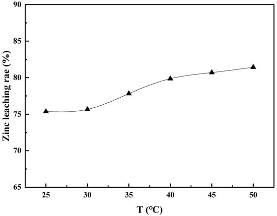
The variation in the leaching rate of Zn with temperature was investigated under the following conditions: an ultrasound power of 1000 W, an L/S of 5:1, a time of 15 min, a total ammonia concentration of 6 mol/L, an ammonia–ammonium ratio of 1:1, and a stirring speed of 100 r/min. According to the experimental results (Figure 9), the leaching rate of Zn increased with the rising temperature. An increase in the leaching rate of Zn from 75.37% at 25 °C to 80.70% at 45 °C was observed. The temperature had a huge influence on the chemical reaction process because it changed the viscosity of the solution system. The ascending temperature increased the kinetic energy of solvent molecules, promoted intermolecular flow, strengthened diffusion and mass transfer, reduced viscosity, and thus facilitated the leaching of zinc. However, when the temperature continued to increase above 45 °C, it almost did not affect the leaching rate of zinc. An overly high temperature accelerated the volatilization of ammonia and inhibited the leaching of Zn. The leaching temperature was controlled at 45 °C.
Figure 9.
Influence of different leaching temperatures on zinc leaching rate.
3.1.7. Effect of Different Stirring Speeds on Zinc Leaching Rate
The influence of the stirring speed on the leaching rate of Zn was studied under the parameters of an ultrasonic power of 1000 W, an L/S of 5:1, a total ammonia concentration of 6 mol/L, a time of 15 min, an ammonia–ammonium ratio of 1:1, and a temperature of 45 °C. Figure 10 shows the experimental results. It is evident that the leaching rate of Zn was strongly positively correlated with the stirring speed. Specifically, the leaching rate of Zn was 75.63% at a stirring speed of 75 r/min, and when the stirring speed was increased to 100 r/min, the leaching rate of Zn rose sharply, reaching 80.70%. The reason is that at a low stirring speed, the molecules diffused slowly in the leaching agent, which was not conducive to Zn dissolution. At a stirring speed greater than 100 r/min, the leaching rate of Zn remained basically unchanged. Thus, the stirring speed was controlled at 100 r/min for the experiment.
Figure 10.
Influence of different stirring speeds on zinc leaching rate.
3.2. Comparative Experiment
Under the optimal process parameters, a comparison of the leaching rate of Zn from ZOD was made between conventional and ultrasound processes. Figure 11 provides the experimental results. The ultrasound leaching conditions were as follows: an ultrasonic power of 1000 W, a time of 15 min, a total ammonia concentration of 6 mol/L, an ammonia–ammonium ratio of 1:1, an L/S of 5:1, a temperature at 45 °C, and a stirring speed of 100 r/min. The leaching rate of Zn in the ultrasound conditions attained 80.70%. The conventional leaching was conducted in similar conditions, except that the time was controlled to 40 min. The leaching rate of Zn in the conventional conditions was 71.15%. Compared with the conventional process, the ultrasonic process time was shortened by 25 min, and the zinc leaching rate was increased by 9.55%. In a previous study, the author reported a series of experiments on conventional leaching of zinc-containing dust in an ammoniacal system. The experimental study on zinc leaching from blast furnace dust by NH4Cl, (NH4)2SO4, (NH4)CO3, NH3 ·H2O, and other systems was conducted. The results showed that the zinc leaching rate was at a low level, ranging from 31.91% to 80.21% in 60 min [5]. Combined with the results of ultrasonic leaching experiments, it is shown that ultrasonic can promote the extraction of zinc, significantly improve the recovery of metal, and shorten the leaching time.
Figure 11.
Comparison experiment of conventional leaching and ultrasonic leaching of zinc oxide dust.
3.3. Mechanisms Analysis of Ultrasound-Enhanced Leaching
3.3.1. XRD Analysis
The TTRA III type multifunctional X-ray diffractometer manufactured by Rigaku of Japan was used to characterize the elemental mineral phases in the mineral samples. The XRD analysis was made for raw ZOD and the residues from ultrasound leaching processes at different leaching times. It can be seen from Figure 12 that as the leaching time increased from 2 min to 15 min, the peak intensity of Zn phases in the leaching residues weakened significantly, while the peak intensity of ZnS, PbS, and other phases in the leaching residues strengthened gradually. This result is consistent with the results of the corresponding experiments. It further proves that the highest leaching rate of soluble ZnO phases can be achieved at a leaching time of 15 min in ultrasound conditions.
Figure 12.
XRD analysis of zinc leaching residue under ultrasonic condition: (a) raw material; (b) 2 min; (c) 5 min; (d) 10 min; (e) 15 min; (f) 20 min.
Moreover, the phases on XRD spectra were compared among raw ZOD and leaching residues. As shown in Figure 13, there were still some ZnO peaks on the XRD spectra of the leaching residues after conventional and ultrasound leaching under the optimal conditions. The reason may be that ZnO phases were enclosed by impurity components and difficult to be leached. As a result, the leaching rate of Zn from ZOD was low. However, the peak intensity of the ZnO phases was greatly weakened, and the peak intensity of impurity component phases such as ZnS and PbS was significantly enhanced in ultrasound conditions compared with those in conventional conditions. In addition, Zn mainly existed in the forms of ZnFe2O4, Zn2SiO4, and ZnS in the leaching residues. This shows that it is difficult to leach ZnFe2O4, Zn2SiO4 and ZnS in an NH3-NH4Cl-H2O system, which impedes the leaching of Zn.
Figure 13.
XRD patterns of raw materials and zinc leaching residue: (a)—raw materials, (b)—conventional leaching residue, (c)—ultrasonic leaching residue.
3.3.2. Laser Particle Size Analysis
We performed a comparative analysis of particle size before and after leaching. In the experiment, a Winner 2005 wet laser particle size analyzer from Jinan Micro-Nano Particle Technology Co., Ltd. (Jinan, China) was used to test and analyze the particle distribution state. Table 2 provides the particle size parameters of the corresponding samples. As shown in Table 2, the D90 parameters of the leaching slag from conventional and ultrasound processes were 13.04 μm and 10.65 μm, respectively, which were lower than that (21.81 μm) of raw ZOD. This confirms that, through the ultrasound-enhanced treatment, the ZnO particles encapsulated in ZOD particles were broken into smaller sizes and exposed to the leaching liquor. Consequently, the leaching rate of Zn was improved.
Table 2.
Particle size parameters of the ZOD samples: (A)—raw material, (B)—conventional leaching residue, (C)—ultrasonic leaching residue.
3.3.3. SEM-EDS Analysis
A Germany ZEISS GeminiSEM 300 SEM (Oberkochen, Germany)was used to analyze the morphology of raw materials, conventional leaching slag, and ultrasonic-enhanced leaching slag by SEM. The results are shown in Figure 14a–c, respectively. The results showed that the zinc oxide dust particles were aggregated. Under conventional leaching conditions, the morphology characteristics of the coated particles did not change; the surfaces of the particles were accompanied by the dissolution of the ZnO phase, and the particles showed flocculent shapes. In addition, the leaching slag particles became dispersed after ultrasonic strengthening and the coated particles were opened, exposing the zinc oxide particles to the solvent, which was an important reason that the zinc leaching rate under ultrasonic was higher than with the conventional leaching method.
Figure 14.
SEM patterns of raw materials (a), conventional leaching residue (b), and ultrasonic leaching residue (c).
In order to further explore the distribution of elements in the leaching residue, EDS point and surface scanning analysis was carried out on the ultrasonic leaching residue. The results show in Figure 15a–h and Figure 16, respectively, that the leaching residue was composed of complex elements, mainly consisting of Pb, O, Zn, Fe, S, and Si. According to the analysis of Figure 15 and Figure 16, the leaching residue mainly existed in six morphologic structures. The white substance (point 1) was mainly PbS; the gray spherical particle (point 2) was mainly ZnFe2O4; and the gray massive particle (point 3) was mainly a compound composed of Pb, O, Zn, Fe, and other primary colors. The flocculent particles (point 4) were mainly a compound composed of Zn, O, Pb, S, Fe, and other elements, and perhaps ZnO, ZnS, PbS and other phases. The cube particles (point 5) were mainly a compound composed of Zn, O, S, and other elements, and perhaps a ZnS-based phase. The bright gray massive particles (point 6) were mainly a compound composed of Pb, O, Zn, Fe, and other elements. According to the analysis in Figure 16, ZnO, ZnS, PbS, and PbSO4 are formed by the combination of Zn, Pb, S, and O in ultrasound-enhanced leaching slag, and the surface scanning binding degree of Zn and S is higher, which further indicates that the difficulty of leaching ZnS is one of the factors contributing to the low leaching rate of zinc in the ultrasound-enhanced leaching process. This result is consistent with the analysis in Figure 13.

Figure 15.
SEM-EDS analysis of the ultrasonic leaching residue: (a)—SEM image, (b)—total spectrum of elemental, (c)—Point 1, (d)—Point 2, (e)—Point 3, (f)—Point 4, (g)—Point 5, (h)—Point 6.

Figure 16.
SEM image and EDS mapping analysis of the ultrasonic leaching residue.
In summary, the XRD, laser particle size, and SEM-EDS analysis results of the ultrasonic enhanced leaching process show that ultrasonic can promote the dissociation of zinc oxide dust particle inclusions and break large particles into smaller particles so that the ZnO phase inside the zinc oxide dust particles is exposed to the leaching solution, increasing the contact surface with solvent molecules, thus accelerating the reaction and achieving efficient dissolution of zinc. A schematic diagram of the ultrasonic-enhanced ZOD leaching mechanism is shown in Figure 17. In NH3-NH4Cl-H2O solutions, the dissolved zinc oxide (ZnO) can combine with ammonium ions, ammonia, and chloride ions to form soluble [Zn(NH3)i]2+ and ZnCli2−i complexes [5], as shown in Equations (2)–(4).
ZnO + iNH4+ = [Zn(NH3)i]2+ + H2O+ (i − 2)H+
ZnO + iNH3 + H2O = Zn(NH3)i2+ + 2OH−
ZnO + H2O + iCl− = ZnCli2−i + 2OH−
Figure 17.
Schematic diagram of the ultrasonic-reinforced zinc oxide leaching mechanism.
The process of extracting zinc from zinc oxide dust is enhanced by ultrasonic, which mainly embodies the functions of inclusions, particle crushing, and accelerated reaction.
4. Conclusions
- (1)
- Through the experimental study of ultrasonic-enhanced ammonium chloride leaching, the optimum process conditions for zinc oxide dust leaching were determined, and the leaching rate of zinc reached up to 80.70%. Compared with the influence of conventional leaching and ultrasonic leaching on zinc oxide dust under the best process conditions, the ultrasonic leaching time was shortened by 25 min, and the zinc leaching rate was increased by 9.55%.
- (2)
- The XRD analysis of the leaching residue of zinc oxide dust shows that the maximum dissolution of the soluble ZnO phase can be effectively achieved when the leaching time is 15 min under ultrasonic conditions. The ZnFe2O4, Zn2SiO4, and ZnS phases are not very leachable under the NH3-NH4Cl-H2O system, which is an important factor limiting the low leaching rate of Zn.
- (3)
- Combined with the results of XRD analysis, laser particle size and SEM-EDS characterization analysis of the leaching residue of zinc oxide dust were carried out. The results show that the ultrasonic strengthening treatment method can break the encapsulated zinc oxide particles into smaller particles so that the ZnO phase inside the zinc oxide dust particles is exposed to the leaching solution, thereby improving the dissolution rate of zinc.
- (4)
- The study of ultrasonic-enhanced zinc oxide dust extraction process is a green and environmentally friendly recycling method for metallurgical solid waste resources, and has important guiding significance for expanding the application field of ultrasonic green metallurgy technology. The resource utilization of metallurgical solid waste such as zinc oxide dust is an important way to achieve the sustainable development of the circular economy.
Author Contributions
A.M.: writing—original draft, conceptualization, methodology, investigation, validation; J.L.: investigation, writing—original draft; J.C.: validation, funding acquisition, supervision, writing—review and editing; X.Z.: visualization. All authors have read and agreed to the published version of the manuscript.
Funding
This work was supported by the Discipline Team of Liupanshui Normal University (LPSSY2023XKTD07), the Guizhou Provincial Natural Science Foundation (QKHJC-ZK [2021260]), the Guizhou Provincial Foundation for Excellent Scholars Program (No.GCC [2023]050), the Guizhou Key Laboratory of Green Metallurgy and Process Strengthening (Grant No.[2023]026), the Guizhou Provincial First-Class Professional (GZSylzy202103), the Key Cultivation Disciplines of Liupanshui Normal University (LPSSYZDXK202001), Carbon Neutral Engineering Research Center of Guizhou colleges and universities in Coal Industry (Qian Jiao Ji [2023] No. 044), and the College Students’ Innovative Entrepreneurial Training Plan Program (S202210977101).
Institutional Review Board Statement
Not applicable.
Informed Consent Statement
Not applicable.
Data Availability Statement
The data presented in this study are available upon request from the corresponding author. The data are not publicly available due to technical or time limitations.
Acknowledgments
The authors acknowledge the financial supports to carry out this work.
Conflicts of Interest
The authors declare no conflicts of interest.
References
- Arguillarena, A.; Margallo, M.; Arruti-Fernández, A.; Pinedo, J.; Gómez, P.; Ortiz, I.; Urtiaga, A. Circular economy in hot-dip galvanizing with zinc and iron recovery from spent pickling acids. RSC Adv. 2023, 13, 6481–6489. [Google Scholar] [CrossRef]
- Luqman, M.; Ali, Y.; Zaghloul, M.M.Y.; Sheikh, F.A.; Chan, V.; Abdal-hay, A. Grain Refinement Mechanism and its effect on Mechanical Properties and Biodegradation Behaviors of Zn Alloys—A Review. J. Mater. Res. Technol. 2023, 24, 7338–7365. [Google Scholar] [CrossRef]
- Renita, A.A.; Sathish, S.; Kumar, P.S.; Prabu, D.; Manikandan, N.; Iqbal, A.M.; Rajesh, G.; Rangasamy, G. Emerging aspects of metal ions-doped zinc oxide photocatalysts in degradation of organic dyes and pharmaceutical pollutants—A review. J. Environ. Manag. 2023, 344, 118614. [Google Scholar] [CrossRef]
- Wen, L.K.; Shi, G.C.; Sun, Y.Q.; Cui, Y.C.; Zhang, S.H.; Chen, X.H.; Cheng, J.; Wang, J.; Xin, B.P. Rapid and efficient extraction of Zn from wasted Zn-rich paint residue by indirect bioleaching and successive production of high-purity ZnCO3/ZnO by precipitation. J. Environ. Manag. 2023, 342, 118294. [Google Scholar] [CrossRef]
- Ma, A.Y.; Zhang, L.B.; Peng, J.H.; Zheng, X.M.; Li, S.W.; Yang, K.; Chen, W.H. Extraction of zinc from blast furnace dust in ammonia leaching system. Green Process. Synth. 2016, 5, 23–30. [Google Scholar] [CrossRef]
- Hasan, M.A.; Hossain, R.; Sahajwalla, V. Critical metals (Lithium and Zinc) recovery from battery waste, ores, brine, and steel dust: A review. Process Saf. Environ. Prot. 2023, 178, 976–994. [Google Scholar] [CrossRef]
- Jia, L.J.; Zhong, Y.Y.; Li, K.; Li, B.; Gao, J.Y.; Liu, T.; Wang, F.; Wu, W.; Feng, J. Recovery of zinc resources from secondary zinc oxide via composite ammonia leaching: Analysis of Zn leaching behavior. Chem. Eng. J. 2023, 472, 144930. [Google Scholar] [CrossRef]
- Di, H.K.; Liang, M.; Yang, K.; Zhang, L.B. Kinetics and mechanism of ultrasonic enhanced separation of zinc from tannin germanium residue. J. Saudi Chem. Soc. 2024, 28, 101803. [Google Scholar] [CrossRef]
- Liang, M.; Song, L.T.; Di, H.K.; Hong, Y.; Dai, J.; Liu, J.C.; Yang, K.; Zhang, L.B. Research on the mechanism of lead sulfate adsorption of germanium and ultrasonic inhibition during the leaching process of zinc oxide dust containing germanium. J. Saudi Chem. Soc. 2023, 27, 101740. [Google Scholar] [CrossRef]
- Xin, C.F.; Xia, H.Y.; Zhang, Q.; Zhang, L.B.; Zhang, W. Recovery of Zn and Ge from zinc oxide dust by ultrasonic-H2O2 enhanced oxidation leaching. RSC Adv. 2021, 11, 33788–33797. [Google Scholar] [CrossRef]
- Xu, Y.J.; Xia, H.Y.; Zhang, Q.; Cai, W.C.; Jiang, G.Y.; Zhang, L.B. Green and efficient recovery of valuable metals from by-products of zinc hydrometallurgy and reducing toxicity. J. Clean. Prod. 2022, 380, 134993. [Google Scholar] [CrossRef]
- Xin, C.F.; Xia, H.Y.; Jiang, G.Y.; Zhang, Q.; Zhang, L.B.; Xu, Y.J.; Cai, W.C. Mechanism and kinetics study on ultrasonic combined with oxygen enhanced leaching of zinc and germanium from germanium-containing slag dust. Sep. Purif. Technol. 2022, 302, 122167. [Google Scholar] [CrossRef]
- Li, X.H.; Zhang, Y.J.; Qin, Q.L.; Yang, J.; Wei, Y.S. Indium recovery from zinc oxide flue dust by oxidative pressure leaching. Trans. Nonferrous Met. Soc. China 2010, 20, s141–s145. [Google Scholar] [CrossRef]
- Capit, N.; Costa, G.D.; Georgiou, Y.; Huard, G. Recovery of zinc and copper from copper smelter flue dust. Optimisation of sulphuric acid leaching. Environ. Technol. 2020, 41, 1093–1100. [Google Scholar] [CrossRef]
- Rao, S.; Wang, D.X.; Liu, Z.Q.; Zhang, K.F.; Cao, H.Y.; Tao, J.Z. Selective extraction of zinc, gallium, and germanium from zinc refinery residue using two stage acid and alkaline leaching. Hydrometallurgy 2018, 183, 38–44. [Google Scholar] [CrossRef]
- Tong, Z.; Ren, X.B.; Ni, M.Q.; Bu, X.N.; Dong, L.S. Review of Ultrasound-Assisted Recycling and Utilization of Cathode Materials from Spent Lithium-Ion Batteries: State-of-the-Art and Outlook. Energy Fuels 2023, 37, 14574–14588. [Google Scholar] [CrossRef]
- Tao, J.; Meng, F.Y.; Gao, W.; Zeng, Y.; Su, H.H.; Li, Q.; Xu, B.; Yang, Y.B.; Zhong, Q. Leaching behavior of zinc from crude zinc oxide dust in ammonia leaching. J. Cent. South Univ. 2021, 28, 2711–2723. [Google Scholar] [CrossRef]
- Ma, A.Y.; Zheng, X.M.; Li, S.; Wang, Y.H.; Zhu, S. Zinc recovery from metallurgical slag and dust by coordination leaching in NH3–CH3COONH4–H2O system. R. Soc. Open Sci. 2018, 5, 180660. [Google Scholar] [CrossRef]
- Mikhailov, I.; Komarov, S.; Levina, V.; Gusev, A.; Issi, J.P.; Kuznetsov, D.S. Nanosized zero-valent iron as Fenton-like reagent for ultrasonic-assisted leaching of zinc from blast furnace sludge. J. Hazard. Mater. 2017, 321, 557–565. [Google Scholar] [CrossRef]
- Ding, W.; Bao, S.X.; Zhang, Y.M.; Xiao, J.H. Mechanism and kinetics study on ultrasound assisted leaching of gallium and zinc from corundum flue dust. Miner. Eng. 2022, 183, 107624. [Google Scholar] [CrossRef]
- Xie, H.M.; Xiao, X.Y.; Guo, Z.H.; Li, S.W. One-stage ultrasonic-assisted calcium chloride leaching of lead from zinc leaching residue. Chem. Eng. Process.-Process Intensif. 2022, 176, 108941. [Google Scholar] [CrossRef]
- Liu, X.; Wang, S.X.; Peng, Z.W.; Zhang, G.W.; Gui, Q.H.; Zhang, L.B. Removal of toxic cadmium (II) from zinc sulfate solution with zinc powder enhanced by ultrasound: Kinetics and mechanism. Sep. Purif. Technol. 2023, 308, 122995. [Google Scholar] [CrossRef]
- Song, L.T.; Di, H.K.; Liang, M.; Zeng, Y.E.; Yang, K.; Zhang, L.B. Study on ultrasonic depolymerization of Si-Ge precipitation in zinc oxide dust leaching process. Arab. J. Chem. 2023, 16, 105016. [Google Scholar] [CrossRef]
- Zhang, L.B.; Guo, W.Q.; Peng, J.H.; Li, J.; Lin, G.; Yu, X. Comparison of ultrasonic-assisted and regular leaching of germanium from by-product of zinc metallurgy. Ultrason. Sonochem. 2016, 31, 143–149. [Google Scholar] [CrossRef] [PubMed]
- Liang, Y.X.; Luo, B.Y.; Zhao, L.; Chen, L.G.; Ding, B.; Shen, Z.; Zheng, T.X.; Guo, Y.F.; Li, Q.; Zhou, B.F.; et al. Strong magnetic and ultrasonic fields enhanced the leaching of Ga and Ge from zinc powder replacement residue. Sep. Purif. Technol. 2024, 330, 125572. [Google Scholar] [CrossRef]
- Zou, J.T.; Luo, Y.G.; Yu, X.; Li, J.; Xi, Y.H.; Zhang, L.B.; Guo, W.Q.; Lin, G. Extraction of Indium from By-products of Zinc Metallurgy by Ultrasonic Waves. Arab. J. Sci. Eng. 2020, 45, 7321–7328. [Google Scholar] [CrossRef]
- Yao, J.H.; Li, X.H. Study on Indium Leaching from Indium-Poor Zinc Residue Enhanced by Ultrasonic Treatment. Adv. Mater. Res. 2011, 201–203, 1770–1773. [Google Scholar] [CrossRef]
- Li, H.Y.; Zhang, L.Y.; Xie, H.M.; Yin, S.H.; Peng, J.H.; Li, S.W.; Yang, K.; Zhu, F. Ultrasound-Assisted Silver Leaching Process for Cleaner Production. JOM 2020, 72, 766–773. [Google Scholar] [CrossRef]
- Liu, H.L.; Wang, S.X.; Fu, L.K.; Le, T.; Dai, L.Q.; Xia, H.Y.; Zhang, L.B. High-efficiency recycling of copper-cadmium slag by ozonation with ultrasonic catalysis. Sep. Purif. Technol. 2023, 313, 123539. [Google Scholar] [CrossRef]
- Beşe, A.V. Effect of ultrasound on the dissolution of copper from copper converter slag by acid leaching. Ultrason. Sonochem. 2007, 14, 790–796. [Google Scholar] [CrossRef]
- Liu, H.L.; Wang, S.X.; Fu, L.K.; Zhang, G.W.; Zuo, Y.G.; Zhang, L.B. Mechanism and kinetics analysis of valuable metals leaching from copper-cadmium slag assisted by ultrasound cavitation. J. Clean. Prod. 2022, 379, 134775. [Google Scholar] [CrossRef]
- Lin, G.; Li, J.; Zeng, B.; Wang, W.; Li, C.Z.; Zhang, L.B. Leaching of rubidium from biotite ore by chlorination roasting and ultrasonic enhancement. Arab. J. Chem. 2022, 15, 104275. [Google Scholar] [CrossRef]
- Gui, Q.H.; Fu, L.K.; Hu, Y.T.; Di, H.K.; Liang, M.; Wang, S.X.; Zhang, L.B.; Dong, E.H. Oxidative pretreatment of refractory gold ore using persulfate under ultrasound for efficient leaching of gold by a novel eco-friendly lixiviant: Demonstration of the effect of particle size and economic benefits. Hydrometallurgy 2023, 221, 106110. [Google Scholar] [CrossRef]
Disclaimer/Publisher’s Note: The statements, opinions and data contained in all publications are solely those of the individual author(s) and contributor(s) and not of MDPI and/or the editor(s). MDPI and/or the editor(s) disclaim responsibility for any injury to people or property resulting from any ideas, methods, instructions or products referred to in the content. |
© 2024 by the authors. Licensee MDPI, Basel, Switzerland. This article is an open access article distributed under the terms and conditions of the Creative Commons Attribution (CC BY) license (https://creativecommons.org/licenses/by/4.0/).