Design, Simulation and Performance Evaluation of a Risk-Based Border Management System
Abstract
:1. Introduction
2. Current Approaches and Research Gaps
2.1. Challenges of Risk-Based Traveler Profiling for Border Management
2.2. Border Control System Simulation Approaches and Gaps
3. Risk-Based Screening Concept and BCP Design Overview
3.1. Threat and Risk Information Encapsulation
- Unknown: Not enough traveler data are available to generate indicators, including passengers that did not consent to voluntary data sharing;
- Trusted: Traveler not exceeding any threshold in the threat categories and also scoring higher than thresholds in the trust category;
- Neutral: Travelers not exceeding any threshold in the threat categories, who also score lower than the threshold in the trust category;
- Suspicious: Travelers exceeding a threshold in one of the threat categories.
3.2. Design of a Risk-Based BCP
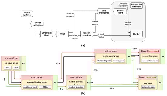
- Stage 1: This stage represents the pre-travel or the planning phase when the journey has not yet started. Associated components 1 and 2 do not require the physical presence of travelers and have zero service time, thereby not introducing any queues into the system. After Stage 1, the risk of all travelers is evaluated and corresponding risk groups, as shown in Figure 2, are determined. Travelers who are classified as Unknown (represented by black arrow), which also includes travelers not providing any personal information voluntarily, and Suspected (represented by red arrow) are navigated to Stage 3, while, on the other hand, travelers classified as Trusted (represented by green arrow) and Neutral (represented by yellow arrow) are navigated to Stage 2;
- Stage 2: All the neutral and trusted travelers after Stage 1 are navigated to Stage 2. As described in Section 3.1, this stage could have several components like real-time behavioral analytics (RTBA) (e.g., [58,59,60]), face recognition of consented travelers [61], and web intelligence [62]. After this stage, all the travelers who are classified as “Unknown” and “Suspected” are navigated to Stage 3. The other travelers proceed to cross the border at stage 5.
- Stage 3: At this stage, all the travelers classified as Suspected or Unknown are interviewed by the border guards, including the passengers not consenting to any monitoring or data transmission, i.e., rule-based standard border check. The components at this stage could be, e.g., a border guard interviewing travelers and checking their travel documents and history thoroughly. Border guards could be supplemented with other legacy devices which can be represented by adding additional components in Component group 3. Ideally, all the travelers after the assessment of Stage 3 should be classified in one of the four risk groups, but, since this stage is accompanied by a border guard with a binary decision, the travelers are only classified into two groups, i.e., Alarm, which is equivalent to Suspected, or Clear, which is equivalent to Trusted. Travelers with Alarm status are navigated to Stage 4, which is equivalent to travelers being stopped or denied crossing the border. Travelers with Clear status after Stage 3 are navigated to Stage 5, representing travelers who are allowed to cross the border;
- Stage 4: This stage is the sink for all the travelers with Suspected or Alarm status. Travelers at Stage 4 could either be denied crossing the border or could also be investigated further during a detailed interview process. This latter process is referred to as a second-line check in the context of border control and is out of scope in the current scheme;
- Stage 5: At some BCPs, there is no physical existence of this stage, meaning that the traveler is allowed to cross the BCP, for example, at the external EU land border at the Poland–Belarus land border. But, in some places, it is an electronic gate, for example, at the external EU air border at Schiphol airport with a very small service time. Thus, effectively, this stage does not contribute to the risk assessment of the traveler but only affects the flow of the travelers.
4. MC Models and Algorithms
4.1. Agent Model
4.2. Risk Indicator Model
4.3. Sensor, Data Gathering, and Border Guard Component Models
4.4. Effectiveness and Flow Algorithm
5. Performance Assessment
6. Case Study Setup, Simulation Results, and Discussion
6.1. Simulation Setup
6.2. Results and Discussion
7. Conclusions
Author Contributions
Funding
Institutional Review Board Statement
Informed Consent Statement
Data Availability Statement
Acknowledgments
Conflicts of Interest
Abbreviations
| HEU | horizon Europe |
| EU | European Union |
| TSA | Transportation Security Administration |
| EDS | explosive detection systems |
| BCP | border control point |
| CONOPS | concept of operations |
| PNR | passenger name record |
| BG | border guard |
| DR | detection rate |
| ODR | overall detection rate |
| FAR | false alarm rate |
References
- FRONTEX. Mission Statement. 2022. Available online: https://frontex.europa.eu/about-frontex/our-mission/ (accessed on 1 April 2023).
- DHS. Secure U.S. Borders and Manage Safe, Orderly, and Humane Immigration Processes. 2022. Available online: https://www.dhs.gov/secure-us-borders-and-approaches (accessed on 1 April 2023).
- Singh, S.; Singh, M. Explosives detection systems (EDS) for aviation security. Signal Process. 2003, 83, 31–55. [Google Scholar] [CrossRef]
- Renger, P.; Siebold, U.; Kaufmann, R.; Häring, I. Semi-Formal Static and Dynamic Modeling and Categorization of Airport Checkpoints; Taylor and Francis Group: London, UK, 2014; pp. 1721–1731. [Google Scholar] [CrossRef]
- Chawdhry, P.K. Risk modeling and simulation of airport passenger departures process. In Proceedings of the 2009 Winter Simulation Conference (WSC), Austin, TX, USA, 13–16 December 2009; pp. 2820–2831. [Google Scholar] [CrossRef]
- Çelik, G.; Sabuncuoglu, I. Simulation Modeling and Analysis of a Border Security System. Eur. J. Oper. Res. 2007, 180, 1394–1410. [Google Scholar] [CrossRef]
- Gkritza, K.; Niemeier, D.; Mannering, F. Airport security screening and changing passenger satisfaction: An exploratory assessment. J. Air Transp. Manag. 2006, 12, 213–219. [Google Scholar] [CrossRef]
- Noviantoro, T.; Huang, J.P. Investigating airline passenger satisfaction: Data mining method. Res. Transp. Bus. Manag. 2022, 43, 100726. [Google Scholar] [CrossRef]
- Robert, W.P.; Passantino, G. A Risk-Based Airport Security Policy. 2003. Available online: https://reason.org/wp-content/uploads/files/359408528b992e7d0804df1b590dd424.pdf (accessed on 15 April 2023).
- EC. Shengen Area. 2022. Available online: https://ec.europa.eu/home-affairs/what-we-do/policies/borders-and-visas/schengen_en (accessed on 15 April 2023).
- Drugas, D. Are there good smugglers? Solutions to migrants smuggling into europe. In Analele Universităţii din Oradea. Relaţii Internationale şi Studii Europene (RISE); Editura Universitatii din Oradea: Oradea, Romania, 2018; pp. 71–85. [Google Scholar]
- Bove, V.; Böhmelt, T. Does Immigration Induce Terrorism? J. Politics 2016, 78, 572–588. [Google Scholar] [CrossRef]
- Lai, K.; Kanich, O.; Dvořák, M.; Drahanský, M.; Yanushkevich, S.; Shmerko, V. Biometric-enabled watchlists technology. IET Biom. 2018, 7, 163–172. [Google Scholar] [CrossRef]
- Ceccorulli, M. Back to Schengen: The collective securitisation of the EU free-border area. West Eur. Politics 2019, 42, 302–322. [Google Scholar] [CrossRef]
- Štimac, I.; Vidović, A.; Mihetec, T.; Drljača, M. Optimization of Airport Capacity Efficiency by Selecting Optimal Aircraft and Airline Business Model. Sustainability 2020, 12, 3988. [Google Scholar] [CrossRef]
- Henke, I.; Esposito, M.; della Corte, V.; del Gaudio, G.; Pagliara, F. Airport Efficiency Analysis in Europe Including User Satisfaction: A Non-Parametric Analysis with DEA Approach. Sustainability 2022, 14, 283. [Google Scholar] [CrossRef]
- Lehtonen, P.; Aalto, P. Smart and secure borders through automated border control systems in the EU? The views of political stakeholders in the Member States. Eur. Secur. 2017, 26, 207–225. [Google Scholar] [CrossRef]
- Martin-Mazé, M.; Perret, S. Designs of borders: Security, critique, and the machines. Eur. J. Int. Secur. 2021, 6, 278–300. [Google Scholar] [CrossRef]
- Stachowitsch, S.; Sachseder, J. The gendered and racialized politics of risk analysis. The case of Frontex. Crit. Stud. Secur. 2019, 7, 107–123. [Google Scholar] [CrossRef] [PubMed]
- Casiraghi, S.; Burgess, J.P.; Lidén, K. Social acceptance and border control technologies. In Border Control and New Technologies; ASP Academic and Scientific Publishers: Brussels, Belgium, 2021; pp. 99–115. [Google Scholar]
- Calvi, A. Border management law in the European Union. In Border Control and New Technologies; ASP Academic and Scientific Publishers: Brussels, Belgium, 2021; pp. 117–141. [Google Scholar]
- XP-DITE. Accelerated Checkpoint Design Integration Test and Evaluation. EU Project, 2012–2017, Grant Agreement ID: 285311. 2017. Available online: https://cordis.europa.eu/project/rcn/104801/factsheet/en (accessed on 25 April 2023).
- TRESSPASS. Robust Risk-Based Screening and Alert System for Passengers and Luggage. EU Project, 2018–2021, Grant Agreement ID: 787120. 2021. Available online: https://cordis.europa.eu/project/id/787120 (accessed on 25 April 2023).
- Jain, A.K.; Satsrisakul, Y.; Fehling-Kaschek, M.; Häring, I.; Rest, J.V. Towards Simulation of Dynamic Risk-Based Border Crossing Checkpoints. In Proceedings of the 30th European Safety and Reliability Conference and the 15th Probabilistic Safety Assessment and Management Conference, Venice, Italy, 1–5 November 2020; pp. 4446–4452. Available online: https://www.rpsonline.com.sg/proceedings/esrel2020/html/4000.xml (accessed on 25 April 2023).
- Thomopoulos, S.C.A. Risk-based security: From theory to practice. In Proceedings of the Signal Processing, Sensor/Information Fusion, and Target Recognition XXX, 2021; Society of Photo-Optical Instrumentation Engineers (SPIE) Conference Series; Kadar, I., Blasch, E.P., Grewe, L.L., Eds.; SPIE Digital Library: Orlando, FL, USA, 2021; Volume 11756, p. 117560M. [Google Scholar] [CrossRef]
- Thomopoulos, S.C.A. NARRATION: A platform for curation and scenario creation with application to vulnerability and risk assessment. In Proceedings of the Signal Processing, Sensor/Information Fusion, and Target Recognition XXXI, 2022; International Society for Optics and Photonics, SPIE; Kadar, I., Blasch, E.P., Grewe, L.L., Eds.; SPIE Digital Library: Orlando, FL, USA, 2022; Volume 12122, p. 121220Q. [Google Scholar] [CrossRef]
- van der Brinck, M. Final Report Summary—XP-DITE (Accelerated Checkpoint Design Integration Test and Evaluation). 2017. Available online: https://cordis.europa.eu/docs/results/285/285311/final1-xp-dite-final-report-publishable-summary.pdf (accessed on 1 June 2023).
- Homeland Security. INS Passenger Accelerated Service System (INSPASS). 2011. Available online: https://www.globalsecurity.org/security/systems/inspass.htm (accessed on 1 April 2023).
- Leese, M. Standardizing security: The business case politics of borders. Mobilities 2018, 13, 261–275. [Google Scholar] [CrossRef]
- Přihodová, K.; Hub, M. Biometric Privacy through Hand Geometry—A Survey. In Proceedings of the 2019 International Conference on Information and Digital Technologies (IDT), Zilina, Slovakia, 25–27 June 2019; pp. 395–401. [Google Scholar] [CrossRef]
- DOJ. Immigration and Naturalization Services Passenger Accelerated Service System (INSPASS) Pilot Program. Audit Report 95-8. 1995. Available online: https://oig.justice.gov/reports/immigration-and-naturalization-service-passenger-accelerated-service-system-pilot-program# (accessed on 1 May 2023).
- CBP. APIS: Advance Passenger Information System. 2018. Available online: https://www.cbp.gov/travel/travel-industry-personnel/apis2 (accessed on 1 May 2023).
- CBP. Expedite Cross-Border Travel with NEXUS. 2021. Available online: https://www.cbp.gov/newsroom/local-media-release/expedite-cross-border-travel-nexus (accessed on 1 May 2023).
- CBP. FAST: Free and Secure Trade for Commercial Vehicles. 2022. Available online: https://www.cbp.gov/travel/trusted-traveler-programs/fast (accessed on 1 May 2023).
- Lalonde, P.C. Border Security Meets Black Mirror: Perceptions of Technologization from the Windsor Borderland. J. Borderl. Stud. 2021, 36, 1–22. [Google Scholar] [CrossRef]
- SCHIPOL. PRIVIUM. 2001. Available online: https://www.schiphol.nl/en/privium/ (accessed on 15 May 2023).
- Paul, R. Harmonisation by risk analysis? Frontex and the risk-based governance of European border control. J. Eur. Integr. 2017, 39, 689–706. [Google Scholar] [CrossRef]
- Balzacq, T. Security Versus Freedom? A Challenge for Europe’s Future, 1st ed.; Routledge: New York, NY, USA, 2016. [Google Scholar]
- Lindblom, S.; Castren, J. Implementation of European Union security strategies in the context of Integrated Border Management. In Remapping Security on Europe’s Northern Borders; Routledge: London, UK, 2021; p. 15. [Google Scholar] [CrossRef]
- Sagrera, R.H. Exporting EU integrated border management beyond EU borders: Modernization and institutional transformation in exchange for more mobility? Camb. Rev. Int. Aff. 2014, 27, 167–183. [Google Scholar] [CrossRef]
- Riya, S. Linking Land Borders: India’s Integrated Check Points. CSEP Woriking Paper-9. 2001. Available online: https://csep.org/wp-content/uploads/2021/06/WP_Linking-land-borders-ICP-1.pdf (accessed on 1 May 2023).
- EC. Automated Border Control (ABC). CSEP Woriking Paper-9. 2022. Available online: https://home-affairs.ec.europa.eu/pages/glossary/automated-border-control-abc_en (accessed on 1 May 2023).
- Zawadzka, S. Biometric technology in European Union border management after 2015. Przegląd Geopolityczn 2022, 39, 93–113. [Google Scholar]
- Lin, I.C.; Hung, W.H. Establishment of Biometric Verification System Based on Design Science Research Methodology and Sensing System for Smart Border Control. Sens. Mater. 2021, 33, 1897. [Google Scholar] [CrossRef]
- IATA. One iD, Concept Paper. 2018. Available online: https://www.iata.org/contentassets/1f2b0bce4db4466b91450c478928cf83/oneid-concept-paper.pdf (accessed on 13 May 2023).
- TRESSPASS. TRESSPASS: Robust Risk Based Screening and Alert System for PASSengers and Luggage. D1.2a Conceptual Model. 2023. Available online: http://resolver.tudelft.nl/uuid:99683d0b-36ea-4941-bc8e-1bd527a9c614 (accessed on 13 May 2023).
- Zhang, Z.G.; Luh, H.P.; Wang, C.H. Modeling Security-Check Queues. Manag. Sci. 2011, 57, 1979–1995. [Google Scholar] [CrossRef]
- Nie, X.; Parab, G.; Batta, R.; Lin, L. Simulation-based Selectee Lane queueing design for passenger checkpoint screening. Eur. J. Oper. Res. 2012, 219, 146–155. [Google Scholar] [CrossRef]
- Ruiz, N.; Giret, A.; Alvarado, O.; Perez, V.; Rodriguez, R.M.; Julián, V. Agent-Based Simulation For Border Crossing Modeling. Cybern. Syst. 2014, 45, 650–670. [Google Scholar] [CrossRef]
- McLay, L.A.; Lee, A.J.; Jacobson, S.H. Risk-Based Policies for Airport Security Checkpoint Screening. Transp. Sci. 2010, 44, 333–349. [Google Scholar] [CrossRef]
- McLay, L.A.; Jacobson, S.H.; Kobza, J.E. A multilevel passenger screening problem for aviation security. Nav. Res. Logist. (NRL) 2006, 53, 183–197. [Google Scholar] [CrossRef]
- Nikolaev, A.G.; Lee, A.J.; Jacobson, S.H. Optimal Aviation Security Screening Strategies With Dynamic Passenger Risk Updates. IEEE Trans. Intell. Transp. Syst. 2012, 13, 203–212. [Google Scholar] [CrossRef]
- Janssen, S.; Sharpanskykh, A.; Curran, R. AbSRiM: An Agent-Based Security Risk Management Approach for Airport Operations. Risk Anal. 2019, 39, 1582–1596. [Google Scholar] [CrossRef]
- Radil, S.M.; Pinos, J.C.; Ptak, T. Borders resurgent: Towards a post-COVID-19 global border regime? Space Polity 2021, 25, 132–140. [Google Scholar] [CrossRef]
- EU. Directive (eu) 2016/681 of the European Parliament and of the Council: On the Use of Passenger Name Record (PNR) Data for the Prevention, Detection, Investigation and Prosecution of Terrorist Offences and Serious Crime. 2016. Available online: http://data.europa.eu/eli/dir/2016/681/oj (accessed on 13 May 2023).
- EU. Schengen Information System. 2022. Available online: https://ec.europa.eu/home-affairs/policies/schengen-borders-and-visa/schengen-information-system_en (accessed on 1 May 2023).
- EU. Visa Information System. 2022. Available online: https://home-affairs.ec.europa.eu/policies/schengen-borders-and-visa/visa-information-system_en (accessed on 1 May 2023).
- Arroyo, R.; Yebes, J.J.; Bergasa, L.M.; Daza, I.G.; Almazán, J. Expert video-surveillance system for real-time detection of suspicious behaviors in shopping malls. Expert Syst. Appl. 2015, 42, 7991–8005. [Google Scholar] [CrossRef]
- Rezaee, K.; Rezakhani, S.; Khosravi, M.; Moghimi, M.K. A survey on deep learning-based real-time crowd anomaly detection for secure distributed video surveillance. Pers. Ubiquitous Comput. 2021, 25, 1–17. [Google Scholar] [CrossRef]
- Mudgal, M.; Punj, D.; Pillai, A. Suspicious Action Detection in Intelligent Surveillance System Using Action Attribute Modelling. J. Web Eng. 2021, 20, 129–146. [Google Scholar] [CrossRef]
- Shi, Y.; Zhou, X.; Cheng, J.; Wang, L.; Luo, D.; Guo, Y.; Yang, E.; Zhang, L.; Han, L.; Li, Z.; et al. “One-Time Face Recognition System” Drives Changes in Civil Aviation Smart Security Screening Mode; Springer: Singapore, 2021; pp. 399–425. [Google Scholar] [CrossRef]
- Sverdrup-Thygeson, B.; Engesæth, V. Intelligence Analysis in the Digital Age; Chapter Open-Source and Social Media Intelligence; Taylor and Francis Group: Abingdon, UK, 2023; Chapter 5. [Google Scholar]
- Valdivia, A.; Serrajòrdia, J.; Swianiewicz, A. There is an elephant in the room: Towards a critique on the use of fairness in biometrics. AI Ethics 2022, 2, 1–16. [Google Scholar] [CrossRef]
- Gariup, M.; Soederlind, G. Document Fraud Detection at the Border: Preliminary Observations on Human and Machine Performance. In Proceedings of the 2013 European Intelligence and Security Informatics Conference, Uppsala, Sweden, 12–14 August 2013; pp. 231–238. [Google Scholar] [CrossRef]
- Jain, A.; Grumber, C.; Gelhausen, P.; Häring, I.; Stolz, A. A Toy Model Study for Long-Term Terror Event Time Series Prediction with CNN. Eur. J. Secur. Res. 2020, 5, 1–21. [Google Scholar] [CrossRef]
- TRESSPASS. TRESSPASS: Robust Risk based Screening and Alert System for PASSengers and Luggage. D1.3 High-Level Scenarios. 2023. Available online: http://resolver.tudelft.nl/uuid:aa0f20a4-809c-4770-a40e-792f7a39f348 (accessed on 13 May 2023).
- TRESSPASS. TRESSPASS: Robust Risk based Screening and Alert System for PASSengers and Luggage D8.5 Lessons Learnt from Pilots KEMEA Report. 2023. Available online: http://resolver.tudelft.nl/uuid:3040bf47-5750-4c02-96cc-9fb059ab580e (accessed on 13 May 2023).
- The Guardian. Germany Looks to Temporary Foreign Workers to Ease Airport Staff Shortages. 2022. Available online: https://www.theguardian.com/world/2022/jun/27/germany-temporary-foreign-workers-ease-airport-staff-shortages-turkey (accessed on 13 May 2023).
- Heiets, I.; La, J.; Zhou, W.; Xu, S.; Wang, X.; Xu, Y. Digital transformation of airline industry. Res. Transp. Econ. 2022, 92, 101186. [Google Scholar] [CrossRef]
- Di Mascio, P.; Moretti, L.; Piacitelli, M. Airport Landside Sustainable Capacity and Level of Service of Terminal Functional Subsystems. Sustainability 2020, 12, 8784. [Google Scholar] [CrossRef]














| Parameter | Border Control Ontology |
|---|---|
| TS–TA | Detection rate 1 () |
| FT–TA | Detection rate 2 () |
| FS–FA | False alarm rate 1 () |
| TT–FA | False alarm rate 2 () |
| BCP Performance Dimensions | |||
|---|---|---|---|
| Security Effectiveness | Flow | Resource | Traveler Experience and Ethics |
| 1. Overall detection rate | 1. Flow rate | 1. Operation cost | 1. False alarm rate |
| 2. Average waiting time | 2. Overhead cost | 2. Average waiting time | |
| Component Name | Mean Service Time (s) | Standard Deviation (s) |
|---|---|---|
| Rule-based configuration | ||
| Border guard | 52 | 7 |
| Automatic gate | 15 | 5 |
| Risk-based configuration | ||
| Enrollment kiosk | 50 | 20 |
| Border guard | 52 | 7 |
| Automatic gate | 15 | 5 |
| Risk-based config. with no bottlenecks | ||
| Enrollment kiosk | 0 | 0 |
| Border guard | 52 | 7 |
| Automatic gate | 15 | 5 |
Disclaimer/Publisher’s Note: The statements, opinions and data contained in all publications are solely those of the individual author(s) and contributor(s) and not of MDPI and/or the editor(s). MDPI and/or the editor(s) disclaim responsibility for any injury to people or property resulting from any ideas, methods, instructions or products referred to in the content. |
© 2023 by the authors. Licensee MDPI, Basel, Switzerland. This article is an open access article distributed under the terms and conditions of the Creative Commons Attribution (CC BY) license (https://creativecommons.org/licenses/by/4.0/).
Share and Cite
Jain, A.K.; Ruiter, J.d.; Häring, I.; Fehling-Kaschek, M.; Stolz, A. Design, Simulation and Performance Evaluation of a Risk-Based Border Management System. Sustainability 2023, 15, 12991. https://doi.org/10.3390/su151712991
Jain AK, Ruiter Jd, Häring I, Fehling-Kaschek M, Stolz A. Design, Simulation and Performance Evaluation of a Risk-Based Border Management System. Sustainability. 2023; 15(17):12991. https://doi.org/10.3390/su151712991
Chicago/Turabian StyleJain, Aishvarya Kumar, Jaap de Ruiter, Ivo Häring, Mirjam Fehling-Kaschek, and Alexander Stolz. 2023. "Design, Simulation and Performance Evaluation of a Risk-Based Border Management System" Sustainability 15, no. 17: 12991. https://doi.org/10.3390/su151712991
APA StyleJain, A. K., Ruiter, J. d., Häring, I., Fehling-Kaschek, M., & Stolz, A. (2023). Design, Simulation and Performance Evaluation of a Risk-Based Border Management System. Sustainability, 15(17), 12991. https://doi.org/10.3390/su151712991

