Abstract
Modern building materials using reinforced concrete are considered the most popular in the production of housing in Algeria, specifically in desert areas such as the city of Ouargla, which is characterized by its hot and arid climate. These dwellings must be more adaptable to this difficult climate. An example is the Ouargla Ksar, which contains traditional dwellings that have proven their effectiveness in terms of the heat problem, as has been revealed in several previously conducted studies, but these dwellings have decreased in demand as they are not suitable for contemporary urban life. Therefore, the aim of this study is to improve the performance of the most recognized house typologies in the city of Ouargla in terms of thermal comfort and energy consumption by using passive strategies. In this regard, we used a research methodology based on field measurements and model simulations wherein we adopted TRNSYS 17 to determine the most often encountered problems. The simulated model was validated by statistical correlation; afterward, a simulation of a full year was run, during which many aspects of construction were studied and compared, such as insulation, the mass of the roof and walls, dimensions and types of windows, orientation, and solar shading. The results show that the studied modern house can be considered inappropriate for a desert climate, and the use of solar shading combined with insulated walls and roof allows for an increase of 35% in annual thermal comfort hours (−0.5 ≤ PMV ≤0.5) and for a 22.73% reduction in the energy consumption. We then compared the simulated scenarios with a traditional house characterized by a bioclimatic architectural design that we used as a reference building. The obtained results may be useful in guiding both refurbishment interventions on existing buildings and the design of new ones. Although the simulated interventions have been widely studied in the literature, it is very important to determine their impact on the perception of the indoor environment and on the energy consumption in this specific geographic area.
1. Introduction
Climate is a very relevant factor because it has an impact on health, energy, agriculture, biodiversity, and socio-economic factors [1]. For these reasons, nowadays, climate change represents one of the most complicated challenges. Specifically, the effects of global warming will be felt most severely through the increase in extreme air temperatures and the intensification of the occurrence of extreme events and heat stress conditions [2]. The predicted extremely hot climatic conditions, in addition to rapid urban expansion, will complicate socioeconomic and environmental factors. The energy sector is at the center of this challenge, since energy resources play a crucial role in economic and social development and, at the same time, constitute the primary source of greenhouse gas emissions (energy production, transport, and building). In order to fight against global warming, to limit the production of greenhouse gases produced by fossil fuels, and to move towards clean and green energy, a profound and gradual transformation is necessary [3].
In Algeria, the negative environmental effects associated with climate change include droughts, forest fires, land degradation and desertification, and the loss of marine ecosystems and biodiversity-sensitive sectors, which could have an impact on the socio-economic level [4]. Furthermore, another very relevant aspect in this area is represented by the evolution of the population, which has shown a remarkable increase from 30,879,000 people in 2001 to 43,900,000 people in 2020 [5]. In this critical condition, the housing and health systems are still facing major problems. Poor infrastructure and the continued flow of people from rural areas to cities are placing increased pressure on both systems. According to the United Nations Development Program, Algeria has one of the highest occupancy rates in the world, and the government has announced a housing shortage of 1.5 million units [6]. The distribution of energy consumption by sector shows that the consumption rates of single buildings are very high. Globally, these rates vary between 30% and 40%. In addition, according to the energy balance sheet for the year 2017, published by the Algerian Ministry of Energy in 2018, the residential household sector represents a rate of 44.4%, compared to 33.3% for transport and 22.3% for industry and construction. The evolution of final energy consumption in 2017 shows that the consumption of residential households increased by 1% compared to 2016 [7]. Unfortunately, this growth in energy consumption, particularly electrical energy, weakened the country’s energy and social security [8]. Algeria still relies heavily on natural gas energy for power generation, and the contribution of renewable energy is now modest considering the immense natural resources at its disposal. This reflects the low efficiency of energy policies in Algeria, but at the same time, it represents great potential [9].
The south of Algeria represents the region most affected by an extreme climate and population growth as well as the development of cities, which has led to an urban fabric without identity. Ouargla City is considered one of the most important cities in southern Algeria because of its strategic and economic location. Its climate is Saharan, with intensely cold winters and dry, hot summers. This region often has the greatest total annual technological potential for solar energy. Ouargla is rich in natural resources, including hydrocarbon, represented in the Bar Kawi basin 30 km west of the city; “Ain Mousssa”, 15 km north; and Hassi Messaoud, 80 km southeast [10]. The intensive growth of the population in Algeria, in general, and that of Ouargla City in particular, has induced socio-economic challenges, such as the need to speed up the construction process while reducing production costs. This is particularly the case of social housing as a project designed in a standardized model and distributed across the country, without worrying about regional specificities and local conditions with regard to climatic conditions and building materials. The results have led to poor-quality buildings that do not meet the needs of users in many respects, including thermal comfort and energy performance [11]. The old Ksar, or the first core of the city of Ouargla, occupies an area of 30 hectares and contains more than 2300 buildings, which are classified in national heritage as a safeguarded sector, and habitants occupy these traditional houses even today [12]. In terms of the ancient and vernacular housing construction techniques in Ouargla, most of the built houses have thick and massive load-bearing materials, especially the walls that support the structure. These thick walls provide more comfort through surface mass and solar heat gain [13].
The research conducted in [14,15] explored the adaptation of Ouargla Ksar to the local climate. It was found that traditional houses and vernacular architecture can provide better indoor thermal comfort in comparison with modern buildings. According to [16,17,18,19,20], new houses in Ouargla are unsuitable for the desert climate [17,21,22,23,24]. The use of some passive strategies, including the wind tower, the geothermal potential of the underground, and solar chimneys, can improve thermal comfort and energy consumption. Moreover, in some other cities in the south of Algeria, such as Biskra City [25,26,27] and Bousaada City [28], the impact of horizontal shading devices and materials on indoor comfort has been studied. In other countries, various studies on this topic have shown that thermal comfort may be improved by using passive building design. In [1,29,30,31,32,33] the effects of various parameters and their contributions to the envelope’s energy consumption were investigated. In [34,35], the relation between a building’s form and its related energy consumption was studied. Other researchers [36,37,38] reviewed more common strategies for the improvement of energy performance and thermal comfort in buildings, while in [39,40], new strategies for the desert area were proposed.
Although numerous studies have been published on the impact of passive strategies on thermal comfort and energy consumption, the impact of these strategies on the characteristic climatic conditions of desert areas and on the buildings most present in the North Saharan area have still hardly been investigated. The main aim of this paper was to study how the introduction of refurbishment strategies can improve thermal comfort and reduce energy consumption in the dwellings of Ouargla. The goal of this paper was reached using investigation and comparative study on the most representative typology of houses in the city of Ouargla. We considered the elements that contributed to the different passive design strategies, followed by assessing the levels of thermal comfort of the two types of houses by means of site measurements, using objective and subjective approaches. Then, a dynamic simulation by the TRNSYS 17 software was carried out to improve the level of thermal comfort and to ensure the energy efficiency of a base case (modern house) by means of passive design strategies. The simulated model was validated by monitoring the indoor temperature in both the summer and winter periods, and comparing the results. The tested improvements involve different building aspects, such as envelope thermal properties, orientation, type of windows, glazing, and solar protection. The obtained results may be useful for both supporting the design of new buildings and for guiding refurbishment interventions on existing buildings.
The following sections of the paper are organized into: (i) “Methodology”, where the building selection criteria, the creation and the validation of the model, and the different selected improvement strategies are described; (ii) “Results”, where the simulation outcomes in terms of indoor air temperature, thermal comfort hours, and energy consumption are shown; (iii) “Discussion”, where the results are compared and commented on with reference to traditional houses; (iv) “Limitations and Future Development”, where criticisms of the present study and possible research developments are highlighted; and (v) “Conclusions and Recomendations”, where the main results are summarized.
2. Methodology
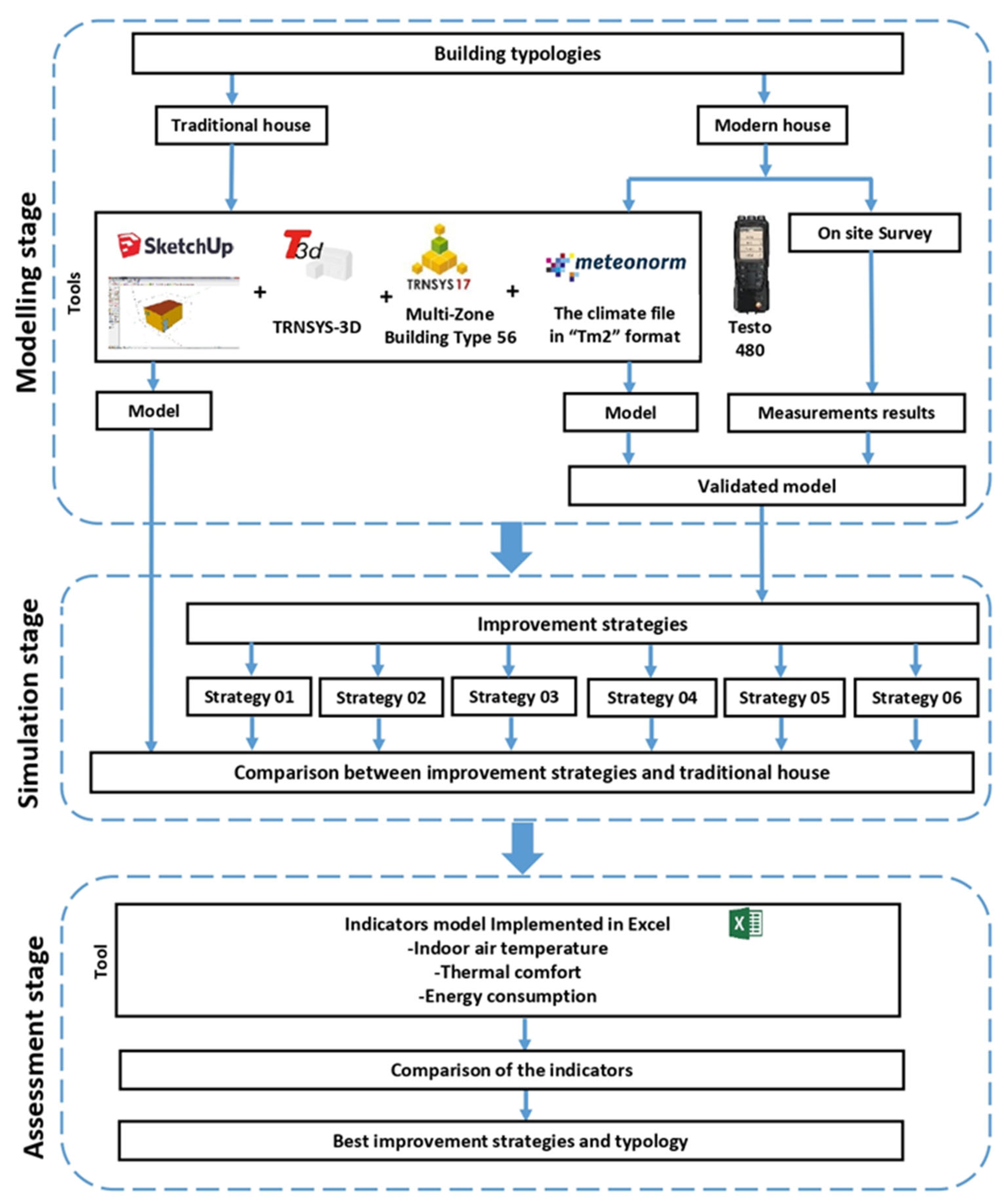
The methodology followed in this study to assess the impact of passive strategies on thermal comfort and energy consumption in the selected houses was divided into three stages: (1) modeling stage; (2) simulation stage; and (3) assessment stage (Figure 1).
Figure 1.
Conceptual framework of the study.
In Figure 1, we represent the conceptual study framework. Each stage is described in the following sections.
2.1. Modeling Stage
The modeling stage represents the first step in the methodology followed in this study. It consists of three phases: selection of building typologies, on-site survey, and model creation.
- Selection of building typologies: In the preliminary stage, a topological survey of the habitats within the urban fabric of Ouargla City was conducted. The study of the urban fabric indicated that there were two distinct types of habitat: the traditional and the modern. For this study, a modern reference house that constituted a large portion of the arid region’s residential housing stock, particularly in the city of Ouargla, was selected. Furthermore, we also selected a traditional reference house in order to compare their thermal and energy performances.
- In a previous study [17], throughout a housing survey including thermal comfort measurement campaigns of traditional and modern houses (Ouargla, Algeria), it was found that traditional houses are more adaptive in summer due to their characteristics, construction techniques, and building materials; therefore, traditional houses are more effective in palliating issues with overheating. The most important feature of traditional housing is the building envelope. The use of locally sourced materials is another feature of the envelope. In the case of Ouargla Ksar, the inhabitants used both Temchemt and stone for their walls, floors, and foundations. These materials provide thermal mass, which is essential to the passive cooling strategy. The differences between modern and traditional external houses can be observed in Table 1, Table 2 and Table 3, where the main thermal characteristics are shown. Specifically, concerning its summer performance, the external walls of the traditional house have very low values of periodic thermal transmittance and the decrement factor. Still, considering the house’s summer performance, the frequent use of a nearly blind façade, except for a few small openings, reduces heat gain and guarantees privacy; this can be also observed in the lower window-to-wall ratio (WWR) of the traditional house (Table 2). Furthermore, the district layout of traditional house is characterized by a high level of compactness, with the rooms opening onto a central courtyard. This layout makes use of natural ventilation through the courtyard and minimizes exposed exterior surfaces, contributing to the passive cooling strategy. The compact urban fabric of the traditional houses affects their energy use, which is due to the shading from adjacent houses that minimizes the annual solar irradiation, especially in the summertime. This makes these houses comfortable without the need for a cooling system; consequently energy consumption is decreased in this urban environment. On the contrary, the modern houses are unsuitable for a desert climate, and they often create dissatisfaction among their inhabitants. For these reasons, in this paper, we studied a modern house in order to improve its thermal and energy performances with passive design strategies.
Table 1. Planimetric views, plans, and photos with measurement points (red dots) of the two buildings used as case studies.
Table 2. Main characteristics of the studied modern houses (base case) and the traditional house.
Table 3. Thermal characteristics of the external walls of the modern and traditional houses.
- The two selected houses were located in the northwest of the city of Ouargla; five people occupied the modern house, whereas six people occupied the traditional one. The areas of the selected houses, as well as their plans and a description of each of them, are shown in Table 1 and Table 2. More information related to the two houses is included in [17].
- On-site survey: In order to assess thermal comfort in the modern house, two measurement campaigns were carried out during the summer and winter periods of 2019. The measured microclimatic parameters were air temperature, relative humidity, and air velocity. All the measurements were carried out in the living room using a Testo 480 multifunction thermometer (Testo SE & Co. KGaA Manufacturer, Lenzkirch, Germany) model AG 501 1ST, 0563 4800 (Figure 2). The relative humidity and air temperature probe was set at a height of 1.20 m, and the air speed probe was set at a height of 1.70 m (locations of the measured points are shown in Table 1). Specifically, the measurement campaigns were carried out from 1 January to 3 January (winter period) and from 28 July to 30 July (summer period). Each measurement started at 7:00 a.m. and ended at 8:00 p.m. To obtain adequate results, the data were acquired with the presence of the whole family at home. The occupancy profiles (number of occupants during typical days) were obtained through a survey with homeowners in order to obtain useful information for inclusion in the creation of the model.
Figure 2. Equipment used in the measurement campaigns (Testo 480). - Model creation: The analysis of the improvement in thermal comfort and energy consumption by dynamic simulations was performed using TRNSYS17 software. TRNSYS 2017 is a software program originally developed by the University of Wisconsin in the 1970s for the numerical analysis of solar energy for heating and hot water [41]. The geometry of the model for the case study was created through exploitation of the software «Sketch-up» using the plugin «Trnsys-3D», and then the file was exported to the TRNSYS software in .idf format, as shown in Figure 1. The living room of the modern house (base case) was a cube of 4.20 × 3.90 × 3 m, and 3.93 × 4.95 × 2.70 m for that of the traditional house. The two houses were modeled with a unique thermal zone, with a window facing south, and without any internal or external solar protection. The south wall was considered as the exterior wall, whereas the other walls were characterized as “boundaries” or walls with known boundary conditions (TRNSYS 17). The studied façade was the one facing south (the façade most exposed to solar radiation with the most unfavorable conditions) [42]. The simulation was limited to the living room area because it is the busiest living space, where the family gathers. The TMY (typical meteorological year) climate file was generated for Ouargla City using «Meteo-norm V7.2» software in Tm2 format for «Type 15-2 Weather data». In Table 2, the input parameters of the simulation model are shown; specifically, the following data were reported: dimensions, envelope properties, the plans of the thermal systems, and professional profiles. In addition, in Table A1 and Table A2 of Appendix A, the thermal properties of the materials used in the reference building are included. After the creation of the materials library in TRNSYS, a detailed scenario encompassing all of the parameters (infiltration, internal gains, the number of people and their activities, and possible equipment) was generated. According to the most realistic occupation scenario for the inhabitants, it was set that the inhabitants dress in traditional clothes (the thermal resistance of the clothing was set at 1.5 clo [43]) and occupy the living room in a state of rest and in a sitting position (metabolic activity was theoretically fixed at 1 met [43]). The most realistic occupancy scenario, considering an occupancy of six people in the base case and five people in the traditional house, is shown for each dwelling in Appendix A, Figure A1, with an occupancy schedule of 24 h having been set. The other internal gains were due to the equipment (5 W/m2; TV and electric lighting) found in the living room. To estimate the energy needs, temperature set points were determined for the operation of the thermal plants in the winter and summer, namely, 17 °C for heating and 27 °C for cooling, respectively. In order to avoid errors in the simulation’s initialization, we ran the simulation for a year. The simulation time step was set to one hour, and we exported the results in .xls format. Subsequently, we produced graphs for the hottest and coldest periods according to the utilized climate file.
- Model validation and calibration: Before studying the different passive improvements, we validated the model of the modern house in the current situation (base case) by comparison of the simulated temperatures (outdoor and indoor) with the on-site measurement results, as shown in Figure 3.
Figure 3. Comparison of simulated and measured temperatures (outdoor and indoor) during the winter on 3 January 2019 (Up) and during the summer on 30 July 2019 (Down) for the modern house (base case).
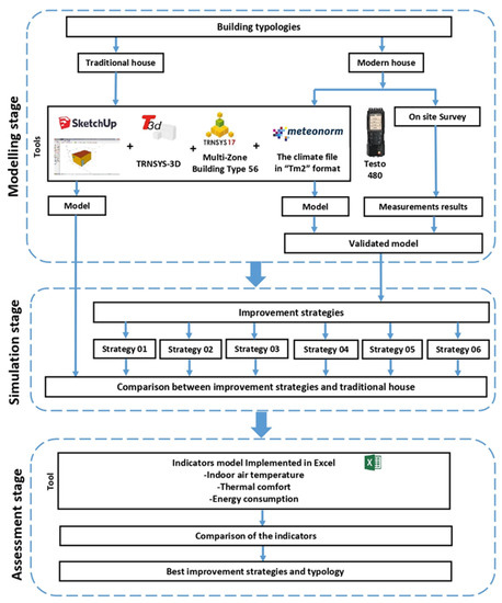
The analysis of the climatic data of Ouargla allowed us to determine the two most representative periods for hot and cold conditions during 2019. Thus, July 28 to 30 represent the summer period and the warmest conditions, and 1–3 January represent the coldest conditions of the winter period. For convenience, among the measured data, and in order to validate the model, we took the data of 30 July 2019 for the summer period and of 3 January 2019 for the winter period. Afterwards, a statistical calibration using linear regression was used to validate the model of the base case with the results of the experimental measurements and the results of the numerical simulation during the winter, on 3 January 2019, and the summer on 30 July 2019, as shown in Figure 4.
Figure 4.
Validation and calibration graph of numerical model during the winter, on 3 January 2019 (left), and summer, on 30 July 2019 (right), for the modern house (base case).
For the simulations, two three-day intervals, centered on 29 July and 2 January, were chosen for summer and winter, respectively. These two ranges represent the days with the smallest difference in outdoor air temperature values between the data measured in situ and the TMY. The trends of the measured outdoor air temperature and of the TMY are shown for two significant days in Figure 3. In particular, for the summer, the average and maximum deviations between the temperature of the measured outdoor air and of the TMY were 7% and 10%, respectively. For the winter, the average and maximum deviations between the measured outdoor air temperature and the TMY were 4% and 10%, respectively.
The model was calibrated by inserting the measured outdoor air temperature values as input data in the simulation and comparing the internal temperatures (measured and simulated). In order to calibrate the model and to obtain a higher R-square value, the internal gains were adjusted, because among the input parameters, they represented those with the higher level of uncertainty. During the winter and summer periods, correlation coefficients (R2) equal to 0.9698 and 0.9454 were obtained, respectively. These results can be considered satisfactory for the validation of the numerical simulation results. Indeed, a correlation coefficient (R2) between 0.90 and 1.00 indicated a very strong correlation. The graph below summarizes the validation of the numerical simulation model during the summer and winter seasons.
2.2. Simulation Stage
At this stage, six different passive strategies were proposed and described. According to the bioclimatic analysis of the city of Ouargla, which intended to discover the comfort zone, and with the help of the interpretation of the results of the psychometric diagram and the Mahoney tables [44], some suggestions and strategies necessary to ensure comfort during both hot and cold periods in this desert area were obtained.
From the results shown in Figure 3, it appears evident that the indoor air temperature in winter reaches very low values. Consequently, according to [45,46], the primary simulated strategy was the improvement of the thermal transmittance of the walls and roof (ST1). (Table 4). As this strategy proved to be crucial for the achievement of indoor comfort conditions (air temperature and PMV), we tested further strategies to maintain the improvement of the transmittance of the walls and roof. In other words, all the other strategies were considered in combination with the ST1. It is important to note that each passive design strategy (ST) included one or more scenarios (SC) that were simulated separately. Later in the paper, each scenario is identified by a code in the following form: STxSCy (where x is the strategy identification number and y is the scenario identification number). In this paper, the attention was placed on passive energy efficiency interventions, concerning the opaque and transparent building envelopes. The characteristics of each scenario are summarized in Table 4.
Table 4.
Summary of the six selected and simulated passive solar design strategies and related scenarios (in bold the improvement properties are highlighted).
The six strategies included the following improvement interventions:
- Strategy 1 (ST1)—Reduction in the thermal transmittance of the walls and roof; specifically, considering the negative performance of the base case (especially in the air temperature during winter season) and the fact that it is easier to intervene on the walls, the wall transmittance was strongly reduced to a quarter and the roof transmittance was reduced to half. This is a typical improvement strategy because other research activities have demonstrated its effectiveness. For example, in [47], similar solutions for a case study in Kenadsa (south of Bechar) were proposed.
- Strategy 2 (ST2)—Reduction in the thermal transmittance of the walls and roof and changing window glass types: the glass type was changed (the base case has single glazing) to double glazing in the ST2SC1 scenario, and triple glazing in the ST2SC2 scenario.
- Strategy 3 (ST3)—Reduction in the thermal transmittance of the walls and roof and increasing window dimensions: the window’s dimensions were enlarged from 0.8 × 1.0 m for the base case to 1.0 × 1.20 m for the ST3SC1 scenario, and 1.20 × 1.50 m for the ST3SC2 scenario.
- Strategy 4 (ST4)—Reduction in the thermal transmittance of the walls and roof and the use of solar shading: Since the base case does not consider the use of solar shading systems, a shading system composed of a horizontal cantilever was inserted in scenario ST4SC1 to shade the windows.
- Strategy 5 (ST5)—Reduction in the thermal transmittance of the walls and roof and an increase in the external walls’ thermal capacity by increasing the wall surface mass: in order to improve both the summer and winter performance of the envelope, beyond the improvement of the thermal insulation of the walls, the surface mass was doubled. This strategy can be considered to be in agreement with ancient and vernacular housing construction techniques. with thick and massive load-bearing materials, which were used in Ouargla City [48]. The increase in thermal capacity could also be obtained with advanced technological solutions (as an alternative to doubling the mass), for example, the use of panels with phase change materials [49,50].
- Strategy 6 (ST6)—Reduction in the thermal transmittance of the walls and roof and a change in living room orientation. The living room orientation, which, in the base case, was S: 0-90, was tested in three scenarios: W: 90-90 (ST6SC1), N: 180-90 (ST6SC2), and E: 270-90 (ST6SC3).
Finally, the results obtained for each base case scenario were compared in order to determine the best strategies.
2.3. Assessment Stage
A comparison between the base case and each improvement scenario was carried out in terms of monthly average hourly simulated data on TRNSYS17 software.
A set of thermal comfort and energy consumption indicators was used to evaluate the different tested solutions. Specifically, for the indoor thermal comfort evaluations, the predicted mean vote (PMV) and the predicted percentage dissatisfied (PPD) were calculated. For energy consumption, the useful energy demand for heating (Qheat) and for cooling (Qcool) was determined. Since the heating and cooling systems did not allow for direct control of the relative humidity values of the indoor air, the contributions of the latent heat to the energy demands (Qheat, Qcool) were neglected.
All of the selected thermal comfort and energy consumption indicators were calculated for all the scenarios for one full year. The TRNSYS 17 software automatically calculated the energy consumption for each hour of the year, which gave us hourly results. Microsoft Excel was used to calculate the annual consumption of heating and cooling for the different scenarios in order to facilitate the reading of the data and the interpretation of the results. Therefore, a comparison was made between the strategies according to their annual energy consumption.
3. Results
In this section, the results obtained from the simulation of the base case of the modern house and the different improvement scenarios are shown and compared. The results were reported in terms of the average, minimum, and maximum temperatures obtained in the living room. Then, from these data, it was possible to formulate suggestions for balancing thermal comfort and energy consumption in the modern house. Furthermore, the obtained results were compared with those obtained from the traditional house. Specifically, air temperature data are provided for two days, each representative of either the winter or summer season (Table 5).
Table 5.
Data on the maximum and minimum average air temperatures on 3 January 2019 and the 30 July 2019.
3.1. Air Temperature
Table 5 shows the air temperature resulting from the simulations of the different tested strategies in both the summer and winter periods. The air temperature results for the base case can be considered unsuitable. During the monitoring days of the winter period, the air temperature reached a minimum value of 7.5 °C, with an average value of 12.1 °C, which were clearly below the acceptable values. These values were obtained considering the entire monitored period. If only the hours in which the heating system was switched on were considered, the average internal temperature was equal to 17.4 °C. During the monitoring days of the summer period, the air temperature reached a maximum value of 33.3 °C, with an average value of 28.3 °C, which were above the acceptable values. In any case, it should be noted that the simulations only concerned the living room, and that the heating and cooling systems were considered to be working only during the actual hours of occupancy according to the profiles shown in Figure A1 in Appendix A. As stated before, the base case required a significant improvement in the thermal transmittance of the walls and roof. For this reason, the first strategy (ST1) was applied to all the scenarios. The results of this improvement are evident, as the trends of all tested scenarios were very stable, with lower temperature variation with respect to the base case. Furthermore, from Table 5, it can be observed that the scenarios with a greater impact on air temperature during the winter season were ST3SC2, ST6SC1, and ST2SC2; and during the summer season, the scenarios that allowed for lower air temperature values were ST4SC1, ST1, and ST5SC1.
As expected, the base case represented the worst simulated scenario, with the lowest average air temperature value in winter being 11.1 °C and the highest average air temperature value in summer being 28.3 °C. In addition, the temperature reached very low values in the winter (minimum recorded value: 4.5 °C) and very high values in the summer (maximum recorded value: 33.2 °C), both of which can be considered as very uncomfortable conditions.
Regarding the different scenarios, we can obtain some details on the values of air temperature and their deviations. The first represents the average value of air temperature recorded during a reference period of a day, while the second provides information about the variation of the temperature during the reference period (a day).
In the winter period, it can be observed that the minimum air temperature value of the ST4SC1 was 16.0 °C, while the maximum air temperature value was with the ST1, at 21.3 °C. Regarding the average values, the maximum average air temperature was with the ST3SC1 (19.3 °C), while the minimum average air temperature was obtained with the ST4SC1 (16.5 °C), as shown in Table 5.
In the summer period, the minimum air temperature value was found with the ST4SC1 (21.4 °C), and the maximum value of air temperature was found with more scenarios: ST2SC1, ST2SC2, ST3SC1, ST3SC2, ST6SC2, and ST6SC3 (27.0 °C). Regarding the average values, the maximum average air temperature was found with the ST2SC1 (26.7 °C), while the minimum average air temperature values were found with the ST4SC1 (22.5 °C), as shown in Table 4.
Considering the standard deviation (SD) values, it seems that the solution that allowed for the minimal amount of variation in air temperature and the minimum SD in both winter and summer was the ST2SC1. In the summer, the ST2SC2 and ST6SC3 reached the lowest SD values. On the contrary, ST5SC1 showed the maximum variations and higher SD values in winter, but ST1 demonstrated identical behavior in the summer.
3.2. Thermal Comfort
During a period of one year, we obtained the PMV index values for the different scenarios. In Figure 5, for each studied scenario, the number of hours in which the PMV fell inside the range between −0.5 and +0.5 is shown. Such a range corresponds to a PPD index less than or equal to 10%, i.e., the percentage of occupied hours during which 90% of people were satisfied with their thermal environment perception.
Figure 5.
Number of hours in the comfort zone according to the PMV indices (base case and TH represent the cases of modern and traditional houses in the current situation; STxSCy represents the studied improvement scenarios for the modern house).
According to the PMV in the different simulated strategies, the number of hours in the thermal comfort zone (PMV between −0.5 and +0.5) was higher in scenario ST4SC1 (7610 h), followed by scenarios ST1, ST5SC1, and ST6SC. On the contrary, the number of hours was lower in the ST2SC1 scenario, followed by scenarios ST3SC1, ST3SC2, and ST6SC3.
In Figure 5, the results of the simulations of thermal comfort in different strategies show that with ST2SC1, they did not show PMV improvement, as the value was the same as that of the base case. In general, the only scenario that allowed for an improvement in comparison with the ST1 strategy was the ST4SC1; all the other solutions represented improvement with respect to the base case, but they provided a number of hours lower than the ST1.
3.3. Energy Consumption
In Figure 6, the monthly heating and cooling energy demands of the base case are shown. From this figure, it can be seen that the months with heating energy demand only were January, February, March, April, October, November, and December; the months with cooling energy demand only were July and August; and in May, June, and September, there was demand for both heating and cooling energy.
Figure 6.
Annual heating and cooling energy demand of the base case.
In Figure 7, the annual overall energy demand is shown for the base case and for all the simulated scenarios. From this figure, it can be observed that in the summer, the best scenario was the ST4SC1, while the worst was the base case; in winter, the best scenarios were ST1, ST6SC3, and ST3SC1, while the worst scenario was the ST4SC1.
Figure 7.
Comparison of the overall energy consumption of all studied strategies with that of the base case.
According to Table 6, the simulation results demonstrated significant improvements in building energy performance. For the base case, an annual energy consumption equal to 21,849.66 kWh/year was obtained, while the reduction in the thermal transmittance of the walls and roof (ST1) allowed for a consumption of 16,883.43 kWh/year to be obtained. Among the various scenarios, for overall energy saving purposes, ST1, ST5SC1, and ST6SC1 represented the best scenarios, with overall energy consumption reductions of about 22.7%.
Table 6.
Comparison of the energy consumptions of the base case and other scenarios.
Considering only the energy consumption for cooling, the best scenario result was the SC5ST1 (7015.07 kWh/year), while the worst was the ST2SC1 (8828.78 kWh/year); the energy consumption reductions obtained in comparison with the base case varied from 21% to 37.2%.
Considering only the energy consumption needed for heating, the best scenario was the ST1 (9845.72 kWh/year), while the worst was the SC4SC1 (12,022.97 kWh/year). It is important to highlight that not all of the simulated scenarios represented an improvement compared to the base case in the heating season; in fact, scenarios ST2SC1, ST4SC1, and ST6SC2 led to slight increases in energy consumption. However, it is important to note that the energy reduction should not be evaluated alone, but by combining it with the results of thermal comfort, in order to understand which solution guarantees, both energy reduction and an improvement of thermal comfort simultaneously.
4. Discussion
According to the obtained results, our first consideration was that the various tested scenarios (and the various passive strategies) can improve indoor thermal comfort and mitigate energy consumption.
The simulation results indicated that the base case showed poor energy performance (high-energy consumption); despite that, the indoor air temperature fluctuated greatly, and we reached the condition of thermal comfort for only about half of the hours of the year.
In terms of indoor air temperature, the scenario ST1 (reduction in the thermal transmittance of the walls and roof) was more effective; this scenario allowed for the greatest variation from the base case. This effect was more evident in the winter, while the other scenarios (obtained by combining ST1 with other passive strategies) allowed for substantial variation in summer.
Concerning the thermal comfort in the simulated environment and considering a total of 8760 h, the most effective scenario was the ST4SC1, as it allowed for a comfortable condition to be obtained for 87% of the total hours, with an improvement of 35% with respect to the base case. While the thermal transmittance of the walls and roof (ST1) was only improved enough to obtain a comfortable condition for 72% of hours, this scenario still showed an improvement of 20% with respect to the base case. In general, the entire simulated scenario allowed for an increase in thermal comfort hours; the only exception was Scenario ST2SC1, in which the positive effect of the improvement of transmittance was mitigated by the negative effects (in terms of thermal comfort) due to the change in the type of glass used.
The use of a solar shading system combined with the improvement of the thermal transmittance of the walls and roof (ST4SC1) allowed us to obtain the lowest average indoor air temperature during the summer season (21.4 °C), with the consequent benefits of thermal comfort and a reduction in energy consumption for cooling. In fact, the use of a solar shading system involves shielding solar radiation, which has a positive effect in summer (avoiding overheating phenomena), but, at the same time, it exerts a negative effect in winter by preventing the possibility of taking advantage of free solar heat gains. Consequently, this scenario (ST4SC1) involved the lowest winter temperature (16 °C), and, therefore, a higher energy consumption for heating.
The use of double glass in windows (ST2SC1), in comparison of ST1, did not allow an increase in the internal air temperature to be obtained during the winter season, but it involved lower standard deviation values of the air temperature in both summer and winter, which translates into a lower amplitude of the temperature oscillation in both seasons. Furthermore, this scenario (ST2SC1) did not allow for an improvement to the thermal comfortable hours.
Among the different scenarios, the increase in the mass of the walls, achieved by doubling their thickness (ST5SC1), provided the lowest cooling consumption, one of the lowest levels of overall energy consumption, and the third-highest number of thermal comfortable hours.
Compared to increasing the thermal transmittance of the walls and roofs alone, increasing the size of the windows (ST3C2) was not a favorable strategy, as it entailed worsening in all of the analyzed aspects: average air temperature in winter and summer, number of thermally comfortable hours, and energy consumption in both winter and summer.
Comparison between Modern and Traditional House
This section deals with the performances of the different simulated scenarios on modern house compared to their performances on a typical traditional house (TH) representing a reference building of the typical vernacular architecture in the Southern area of the North of Africa.
In previous research [16,17,18,19,20], it was found that the traditional house (TH) always guaranteed the best indoor comfort conditions, while the typical modern house turned out to be unsuitable for the desert climate. The first goal of the traditional architecture design was to provide solutions for human comfort and to exploit natural energy in a simple and optimal way. Therefore, it was important to renovate the modern architecture in order to reach the same level of effectiveness, resulting in improvements to the thermal comfort conditions and lower energy consumption.
The traditional house (TH) chosen for this study was located in the district of Bani Ibrahim, northwest of Ouargla Ksar, as shown in Table 1. It had an area of 131.36 m2; it was on the ground floor; and it contained a hall, a living room, a kitchen, a bathroom, an accessible terrace, and a small window in the façade. As shown in Table 2, the TH was built with traditional materials and a traditional technique (Temchemt stone and palm trees), with thick walls. It had a gas heating system and no cooling system, and five persons occupied this house. The indoor air temperature was very stable in both the winter and summer seasons; specifically, during the winter season, the air temperature was constant at 18 °C, while it varied between 21.0 °C and 22.1 °C during the summer season. The thickness of the walls was also an influential variable. The properties of the traditional house allowed for thermal comfort conditions to be obtained for a very high number of hours. In fact, for 8760 simulated hours overall, the PMV fell into the thermal comfort range of −0.5–+0.5, corresponding to a PPD of 10% in 7852 h (about 90% of the total amount of hours).
Since the traditional house and the modern house studied in this research had different internal surfaces and volumes, in order to allow for a comparison of the energy performances of the two case studies, we normalized the energy consumptions of on the volumes of interest of the two houses (Figure 8). The energy consumptions, normalized to the volume (expressed in kW/m3) for each month, were calculated, allowing for a comparison of all the simulated improvement scenarios with the energy consumption of the traditional house.
Figure 8.
Comparison of the overall energy consumption of all studied scenarios with the traditional house.
We compared the energy consumptions of all simulated scenarios with those of the traditional house. From Figure 8, a curved line of energy consumption in the TH during the months of June, July, and August can be observed. That line tends to zero kWh/m3, which is due to the absence of cooling systems in the TH. On the other hand, with the use of heating systems, the traditional house showed the highest energy consumption per volume during the months of February, March, April, October, and November.
In other words, the high thermal comfort performances of the TH (see Table 4 and Figure 5) were obtained in a completely passive way (without cooling systems) during the summer, while in the winter, they were obtained by means of heating systems, with higher normalized consumption compared to the scenarios tested in the modern house.
5. Limitations and Future Development
In this study, some limitations must be considered in the evaluation of the results. The first is that the analysis of the environmental parameters and the energy performance of the base case and of the improvement scenarios concerned only a single room (living room) and not the whole building. Furthermore, there was still the need to improve the prospects of applying optimization by combining multiple strategies simultaneously or by simulating additional passive strategies.
Concerning future developments, first, it will be possible to increase the complexity of the model used; in this case, the results of the measurements taken in the living room, instead of being used for the evaluation of the building performance, may be used only to calibrate the model of the whole building. A further subsequent step could then be to consider the districts of buildings in order to evaluate the effect of building density on the energy performance and on the conditions of comfort achieved within a single house.
Future studies may examine a wide range of optimization criteria by combining different improvement strategies and implementing the use of renewable energies, as well as other strategies, such as solar chimneys.
Despite its limitations, this approach has shown the potential to respond to changes with design alternatives and include design solutions which we can apply in existing buildings, and which can lead to an improvement of indoor environmental conditions together with a simultaneous improvement of energy performance.
The results of this work represent a starting point for the study and optimization of the modern houses that are very common in the Algerian territory.
6. Conclusions and Recommendations
This research aimed to investigate the potential to improve indoor thermal comfort and to minimize the consumption in the most common housing typology in the city of Ouargla, Algeria. We used a mixed study approach, which made it possible to verify the climatic, physical, and behavioral realities of housing in Ouargla. We also used an advanced simulation approach to test and validate the design recommendations for future designers.
The modern house showed very poor conditions, with uncomfortable indoor air temperatures in both the summer and the winter. For these reasons, among the studied scenarios, improvements to the thermal insulation of the roof and walls, and, therefore, reductions in their thermal transmittance, represents the most effective improvement intervention. It allowed for a significant increase in thermally comfortable hours to be obtained, in addition to an energy consumption reduced by about 23%.
Regarding the thermal comfort, the combination of insulated walls and a roof with the use of solar shading represented the best scenario, with about 87% of the simulated hours falling in the thermal comfort range (−0.5 ≤ PMV ≤ 0.5).
In order to make a comparison with a reference building, a traditional house of the southern region of north Africa was simultaneously studied. This traditional house, which could be considered to have a bioclimatic architectural design, showed optimal indoor comfort conditions, and did not require cooling systems during the summer season.
The obtained results may be useful for a wide number of houses typically present in North Africa. They can not only guide refurbishment intervention in existing buildings, but also assist architects and engineering during the design stage of new buildings. Given the interest in the particular geographical area, although simulated interventions are widely studied in the literature, it is very important to be aware of their real impact on the perception of the indoor environment and on energy consumption.
Author Contributions
Conceptualization, A.K. and M.R.; methodology, A.K., D.D., F.L., M.R. and G.S.; software, A.K.; validation, A.K. and M.B.; formal analysis, A.K. and M.R.; investigation, A.K.; resources, A.K.; data creation, A.K.; writing—original draft preparation, A.K.; writing—review and editing, M.B., A.K., D.D., F.L., G.S. and M.R.; visualization, A.K. and M.R.; supervision, D.D., M.B., F.L., M.R. and G.S.; project administration, A.K. All authors have read and agreed to the published version of the manuscript.
Funding
This research received no external funding.
Institutional Review Board Statement
Not applicable.
Informed Consent Statement
Not applicable.
Data Availability Statement
The data presented in this study are available on request from the corresponding author.
Acknowledgments
The authors gratefully acknowledge the support of the Laboratory of design and modeling of architectural forms and ambiances (LACOMOFA), University of Biskra (for measuring instruments and software). The authors thank the Department of Energy Systems, Territory and Construction Engineering, University of Pisa, Italy for their support in the analyses, interpretation of data, and the writing of the manuscript, as well as their financial support in the article’s publication. They would also like to acknowledge the support of the ERASMUS+ 2020-1-IT02-KA-078650 project, which the European commission funded through the Italian national Erasmus + agency, which gave us an opportunity to conduct this work.
Conflicts of Interest
The authors declare no conflict of interest.
Appendix A
Table A1.
Thermal characteristics of materials of simulated modern house models.
Table A1.
Thermal characteristics of materials of simulated modern house models.
| Building Element Composition (from Outside to Inside) | Thermal Conductivity (W/mK) | Specific Heat (J/kgK) | Density (kg/m3) | Thickness (m) |
| External Walls | ||||
| Cement coating | 1.153 | 1000 | 1700 | 0.01 |
| Hollow brick | 0.502 | 1000 | 720 | 0.10 |
| Air gap | 0.026 | 1.227 | 1 | 0.05 |
| Hollow brick | 0.502 | 1000 | 720 | 0.15 |
| Plaster coating | 0.351 | 1000 | 1500 | 0.02 |
| Ceiling | ||||
| Plaster coating | 0.900 | 1000 | 1500 | 0.02 |
| Concrete slab | 1.053 | 650 | 1300 | 0.16 |
| Concrete | 0.160 | 880 | 400 | 0.04 |
| Per03-screed | 1.750 | 1000 | 2300 | 0.10 |
| Floor | ||||
| Tiling | 0.171 | 700 | 2300 | 0.02 |
| Mortar | 1.15 | 1000 | 1700 | 0.05 |
| Concrete | 1.755 | 920 | 2300 | 0.20 |
| Compacted soil | 1.750 | 1800 | 1750 | 0.005 |
Table A2.
Thermal characteristics of the materials of the traditional house.
Table A2.
Thermal characteristics of the materials of the traditional house.
| Building Element Composition (from Outside to Inside) | Thermal Conductivity (W/mK) | Specific Heat (J/kgK) | Density (kg/m3) | Thickness (m) |
| External Walls | ||||
| Temchemt | 0.140 | 1193 | 1400 | 0.02 |
| Porous stone | 0.280 | 1000 | 2000 | 0.50 |
| Temchemt | 0.140 | 1193 | 1400 | 0.02 |
| Ceiling | ||||
| Temchemt | 0.140 | 1193 | 1400 | 0.02 |
| Compacted soil | 1.75 | 1800 | 1750 | 0.12 |
| Stone | 0.292 | 1000 | 2000 | 0.24 |
| Temchemt | 0.140 | 1193 | 1400 | 0.02 |
| Floor | ||||
| Tiling | 1.704 | 700 | 2300 | 0.02 |
| Mortar | 1.15 | 1000 | 1700 | 0.05 |
| Concrete | 1.755 | 920 | 2300 | 0.20 |
| Compacted soil | 1.750 | 1800 | 1750 | 0.005 |
Figure A1.
Living room occupancy schedule.
References
- Mahar, W.A.; Verbeeck, G.; Singh, M.K.; Attia, S. An investigation of thermal comfort of houses in dry and semi-arid climates of Quetta, Pakistan. Sustainability 2019, 11, 5203. [Google Scholar] [CrossRef]
- Elbi, K.L.; Vanos, J.; Baldwin, J.W.; Bell, J.E.; Hondula, D.M.; Errett, N.A.; Hayes, K.; Reid, C.E.; Saha, S.; Spector, J.; et al. Extreme Weather and Climate Change: Population Health and Health System Implications. Annu. Rev. Public Health 2021, 42, 293–315. [Google Scholar]
- Algeria Presse Service. Climate: Algeria Called upon to Develop an Adequate Strategy. Available online: https://www.aps.dz/sante-science-technologie/115591-changements-climatiques-l-algerie-appelee-a-developper-une-strategie-adequate (accessed on 28 February 2023). (In French)
- Mohammed, T.; Al-Amin, A.Q. Climate change and water resources in Algeria: Vulnerability, impact and adaptation strategy. Econ. Environ. Stud. 2018, 18, 411–429. [Google Scholar] [CrossRef]
- National Statistics Office (ONS). Algerian Demography 2019. Statistical Data N°890, Algiers, Algeria: Technical Department in Charge of Population and Employment Statistics. 2020. Available online: https://www.ons.dz/IMG/pdf/demographie2019.pdf (accessed on 28 February 2023). (In French)
- United Nations Development Programme (UNDP). Available online: https://www.undp.org/tag/algeria (accessed on 28 February 2023).
- National Agency for the Promotion and Rationalization of Energy Use (APRUE). Final Energy Consumption in Algeria, Key Figures Year 2007; Ministry of Energy and Mines: Algiers, Algeria, 2009. [Google Scholar]
- Abderrahmane, H. Integration of solar thermal and photovoltaic energy in residential housing in Algeria. Bull. Énergies Renouvelables 2016, 40, 6–7. (In French) [Google Scholar]
- Moomin, S.; Etaieb, E. The role of renewable energy projects in promoting the production of electric power in Algeria. J. Stud. Econ. Bus. Adm. 2021, 4, 463. [Google Scholar]
- Directorate of Urbanization, Architecture and Building for the wilaya of Ouargla. Master Plan for the Development and Reconstruction of the Municipality of Ouargla—Ruwaisat (PDEAU); Report 2020; Ouargla, Algeria; (Contact: duc.ogx@gmail.com); Available online: https://www.facebook.com/profile.php?id=100076963913814 (accessed on 28 February 2023).
- National Agency for Territorial Development (ANAT). Study of Modernization of the Agglomeration of Ouargla; National Agency for Territorial Development: Kouba, Algeria. Available online: https://elmouchir.caci.dz/entreprise/8770/anaat-agence-nationale-lamnagement-et-lattractivit-des-territoires (accessed on 15 March 2023). (In French).
- Department of Culture of Ouargla. Permanent Plan for the Safeguard and Development of the Safeguarded Sector (PPSMVSS); Department of Culture of Ouargla: Ouargla, Algeria (Contact: Telephone number +213-29-71-09-69). Available online: https://www.facebook.com/profile.php?id=100063805515609 (accessed on 28 February 2023). (In French).
- Reilly, A.; Kinnane, O. The impact of thermal mass on building energy consumption. Appl. Energy 2017, 198, 108–121. [Google Scholar] [CrossRef]
- Sebti, M.; Alkama, D.; Bouchair, A. Assessment of the effect of modern transformation on the traditional settlement “Ksar” of Ouargla in southern Algeria. Front. Archit. Res. 2013, 2, 322–337. [Google Scholar] [CrossRef]
- Hebbal, B.; Marif, Y.; Belhadj, M.M. Bioclimatic Architecture in the Ancient Village of Southern Algeria. In ICREEC 2019, Proceedings of the 1st International Conference on Renewable Energy and Energy Conversion, Oran, Algeria, 11–13 November 2019; Springer: Singapore, 2020; pp. 597–603. [Google Scholar]
- Abdou, S.; Boumaza, M. INVESTIGATION SUR L’INTEGRATION CLIMATIQUE DANS LA MAISON TRADITIONNELLE DU KSAR DE OUARGLA. Sci. Technol. B 2004, 21, 121–129. (In French) [Google Scholar]
- Khechiba, A.; Djaghrouri, D.; Benabbass, M. Individual Housing Thermal Comfort Evaluation in Hot and Arid Climate Area: A Comparative Study between Modern and Traditional Houses in Ouargla City. Int. J. Innov. Stud. Sociol. Humanit. 2022, 7, 75–85. [Google Scholar]
- Khoukhi, M.; Fezzioui, N. Thermal comfort design of traditional houses in hot dry region of Algeria. Int. J. Energy Environ. Eng. 2012, 3, 5. [Google Scholar] [CrossRef]
- Chelghoum, Z.; Belhamri, A. Analysis of the thermal properties of building materials used in the city of Tamanrasset. Sci. Technologie. D 2011, 47–56. Available online: https://www.researchgate.net/publication/356493418_ANALYSE_DES_PROPRIETES_THERMIQUES_DES_MATERIAUX_DE_CONSTRUCTIONS_UTILISES_DANS_LA_VILLE_DE_TAMANRASSET (accessed on 28 March 2023). (In French).
- Benslimane, N.; Biara, W.R.; Bougdah, H. Traditional Versus Contemporary Dwellings in a Desert Environment: The Case of Bechar, Algeria. Environ. Res. Eng. Manag. 2020, 76, 118–130. [Google Scholar] [CrossRef]
- Hebbal, B.; Marif, Y.; Hamdani, M.; Belhadj, M.M.; Bouguettaia, H.; Bechki, D. The geothermal potential of underground buildings in hot climates: Case of Southern Algeria. Case Stud. Therm. Eng. 2021, 28, 101422. [Google Scholar] [CrossRef]
- Bouchahm, Y.; Djouima, A. Application of new design of wind tower configuration to existing building for passive cooling. In Proceeding of the 2nd PALENC Conference and 28th AIVC Conference on Building Low Energy Cooling and Advanced Ventilation Technologies in the 21st Century, Crete Island, Greece, 27–29 September 2007. [Google Scholar]
- Belahya, H.; Boubekri, A.; Kriker, A. A comparative study about the energetic impact of dryland residential buildings with the integration of photovoltaic system. Energy Procedia 2017, 139, 738–743. [Google Scholar] [CrossRef]
- Saifi, N.; Settou, N.; Dokkar, A. Modeling and parametric studies for thermal performance of an earth to air heat exchanger in South East Algeria. In Proceedings of the IREC2015 the Sixth International Renewable Energy Congress, Sousse, Tunisia, 24–26 March 2015; pp. 1–6. [Google Scholar]
- Latreche, S.; Sriti, L. The effect of building materials choice on the thermal comfort in the auto-produced individual housing in Biskra. J. Build. Mater. Struct. 2017, 4, 50–57. [Google Scholar] [CrossRef]
- Berkouk, D.; Mazouz, S. Numerical study of the horizontal shading devices effect on the thermal performance of promotional apartments: Case of El-Alia-Biskra. J. Appl. Eng. Sci. Technol. 2017, 3, 21–27. [Google Scholar]
- Rais, M.; Boumerzoug, A.; Halada, M.; Sriti, L. Optimizing the cooling energy consumption by the passive traditional facade strategies in hot dry climate. Pollack Period. 2019, 14, 177–188. [Google Scholar] [CrossRef]
- Ould-henia, A. Climatic Choices and Construction. Arid and Semi-Arid Areas. Bou-Saada Courtyard House. Ph.D. Thesis, Ecole Polytechnique Fédérale de Lausanne, Lausanne, Switzerland, 2003. (In French). [Google Scholar]
- Rivera, R.M.; Ledesma, G. Improvement of thermal comfort by passive strategies. Case study: Social housing in Mexico. Int. J. Struct. Civ. Eng. Res. 2019, 8, 227–233. [Google Scholar] [CrossRef]
- Wang, C.; Ma, J. Evaluation on Thermal Environment and Energy Consumption of a Demonstration Building in Ningqiang. IOP Conf. Ser. Earth Environ. Sci. 2017, 81, 012116. [Google Scholar] [CrossRef]
- Farjami, E.; Moahamedali, A. Evaluating interior surfaces including finishing materials, ceiling, and their contribution to solar energy in residential buildings in Famagusta, North-Cyprus, Turkey. Renew. Sustain. Energy Rev. 2017, 75, 338–353. [Google Scholar] [CrossRef]
- Harkouss, F.; Fardoun, F.; Biwole, P.H. Passive design optimization of low energy buildings in different climates. Energy 2018, 165, 591–613. [Google Scholar] [CrossRef]
- Batier, C. Thermal Comfort and Energy in Social Housing in the Mediterranean Environment. Ph.D. Thesis, Université de Montpellier, Montpellier, France, 2016. (In French). [Google Scholar]
- Depecker, P.; Menezo, C.; Virgone, J.; Lepers, S. Design of buildings shape and energetic consumption. Build. Environ. 2001, 36, 627–635. [Google Scholar] [CrossRef]
- Cody, B.; Loeschnig, W.; Eberl, A. Operating energy demand of various residential building typologies in different European climates. Smart Sustain. Built Environ. 2018, 7, 226–250. [Google Scholar] [CrossRef]
- Stevanović, S. Optimization of passive solar design strategies: A review. Renew. Sustain. Energy Rev. 2013, 25, 177–196. [Google Scholar] [CrossRef]
- Amirifard, F.; Sharif, S.A.; Nasiri, F. Application of passive measures for energy conservation in buildings—A review. Adv. Build. Energy Res. 2019, 13, 282–315. [Google Scholar] [CrossRef]
- Kheiri, F. A review on optimization methods applied in energy-efficient building geometry and envelope design. Renew. Sustain. Energy Rev. 2018, 92, 897–920. [Google Scholar] [CrossRef]
- Elhadad, S.; Radha, C.H.; Kistelegdi, I.; Baranyai, B.; Gyergyák, J. Model simplification on energy and comfort simulation analysis for residential building design in hot and arid climate. Energies 2020, 13, 1876. [Google Scholar] [CrossRef]
- Albatayneh, A. Optimisation of building envelope parameters in a semi-arid and warm Mediterranean climate zone. Energy Rep. 2021, 7, 2081–2093. [Google Scholar] [CrossRef]
- TRNSYS 17, Multizone Building Modeling with Type56 and TRNBuild, Volume 5. Solar Energy Laboratory, University of Wisconsin-Madison, Etats-Unis. Available online: https://dokumen.tips/documents/type-56-05-multizonebuilding.html (accessed on 28 March 2023).
- Khadraoui, M.A.; Sriti, L. Study and optimization of the windows’ impact on thermal comfort and energy efficiency (Case of offices in a hot and arid climate). J. Appl. Eng. Sci. Technol. 2018, 4, 89–99. [Google Scholar]
- ISO 9920; Ergonomics of the Thermal Environment Estimation of the Thermal Insulation and Evaporative Resistance of a Clothing Ensemble. ISO: Geneva, Switzerland, 1995.
- Mazouz, S. Thermal Comfort; Department of Architecture of the University of Biskra: Biskra, Algeria. Available online: https://www.univ-biskra.dz/enseignant/hamel/Confort%20thermique%2001.pdf (accessed on 12 April 2023). (In French).
- Berardi, U.; Naldi, M. The impact of the temperature dependent thermal conductivity insulating materials on the effective building envelope performance. J. Energy Build. 2017, 144, 262–275. [Google Scholar] [CrossRef]
- Fernandes, M.S.; Rodrigues, E.; Rodrigues Gasper, A.; Costa, J.J.; Gomes, A. The impact of thermal transmittance variation on building design in the Mediterranean region. J. Appl. Energy 2019, 239, 581–597. [Google Scholar] [CrossRef]
- Khoukhi, M.; Fezzioui, N.; Draoui, B.; Salah, L. The impact of changes in thermal conductivity of polystyrene insulation material under different operating temperatures on the heat transfer through the building envelope. Appl. Therm. Eng. 2016, 105, 669–674. [Google Scholar] [CrossRef]
- Sotehi, O.; Chaker, A.; Mahdi, K. Study of the Influence of Thermal Insulation on the Energy Consumption of Buildings in Different Climates in Algeria. In ICREEC 2019, Proceedings of the 1st International Conference on Renewable Energy and Energy Conversion, Oran, Algeria, 11–13 November 2019; Belasri, A., Beldjilali, S., Eds.; Springer: Singapore, 2020. [Google Scholar]
- Gencel, O.; Bayram, M.; Subaşı, S.; Hekimoğlu, G.; Sarı, A.; Ustaoglu, A.; Marasli, M.; Ozbakkaloglu, T. Microencapsulated phase change material incorporated light transmitting gypsum composite for thermal energy saving in buildings. J. Energy Storage 2023, 67, 107457. [Google Scholar] [CrossRef]
- Anter, A.G.; Sultan, A.A.; Hegazi, A.A.; El Bouz, M.A. Thermal performance and energy saving using phase change materials (PCM) integrated in building walls. J. Energy Storage 2023, 67, 107568. [Google Scholar] [CrossRef]
Disclaimer/Publisher’s Note: The statements, opinions and data contained in all publications are solely those of the individual author(s) and contributor(s) and not of MDPI and/or the editor(s). MDPI and/or the editor(s) disclaim responsibility for any injury to people or property resulting from any ideas, methods, instructions or products referred to in the content. |
© 2023 by the authors. Licensee MDPI, Basel, Switzerland. This article is an open access article distributed under the terms and conditions of the Creative Commons Attribution (CC BY) license (https://creativecommons.org/licenses/by/4.0/).



