Next Article in Journal
Object Detection for Construction Waste Based on an Improved YOLOv5 Model
Next Article in Special Issue
Separation, Isolation, and Enrichment of Samples of Phenolic Compounds from Winemaking By-Products
Previous Article in Journal
How Can We Measure the Prioritization of Strategies for Transitioning to a Circular Economy at Macro Level? A New Approach
Previous Article in Special Issue
Opportunities and Challenges from Symbiosis of Agro-Industrial Residue Anaerobic Digestion with Microalgae Cultivation
 
 
Font Type:
Arial Georgia Verdana
Font Size:
Aa Aa Aa
Line Spacing:
Column Width:
Background:
Article

Efficient Nitrogen Recovery from Agro-Energy Effluents for Cyanobacteria Cultivation (Spirulina)

1
Department of Civil-Environmental Engineering and Architecture, University of Cagliari, Via Marengo 2, 09123 Cagliari, Italy
2
Livegreen Società Agricola S.r.l., Vico Episcopio 12, 09170 Oristano, Italy
3
National Research Council of Italy (CNR), Institute of Environmental Geology and Geoengineering (IGAG), Piazza d’Armi 1, 09123 Cagliari, Italy
*
Author to whom correspondence should be addressed.
Sustainability 2023, 15(1), 675; https://doi.org/10.3390/su15010675
Submission received: 28 October 2022 / Revised: 8 December 2022 / Accepted: 24 December 2022 / Published: 30 December 2022
(This article belongs to the Special Issue Agro-Industrial Residues Treatment, Recycling, and Reuse)

Abstract

The present study aimed to obtain an efficient liquid nitrogen fertilizer from the by-product of anaerobic digestion for its subsequent use in the production of cyanobacteria (Spirulina). A simple recovery technology was tested based on the stripping and acid absorption, modifying temperature (50 and 70 °C) and pH (10 and 12), of the ammonia nitrogen contained in the digestate produced in a large-scale plant treating livestock manure and grass silage. The results demonstrated how, at a relatively low temperature (50 °C), using sulfuric and citric acid solution, it is possible to recover nitrogen from a digestate in the form of ammonium sulfate and ammonium citrate with yields of 70% and 72.1% respectively. By carrying out Spirulina growth tests, promising results were obtained under semicontinuous production, with a maximum dry biomass daily productivity of 0.344 g L−1 day−1 with ammonium sulfate and 0.246 gDW L−1 day−1 with ammonium citrate. The results showed that nitrogen can be efficiently recovered on site by using the organic acid, digestate and waste heat from anaerobic digestion for Spirulina biomass production.

Graphical Abstract

1. Introduction

In the Green Deal communication, the European Commission outlined a plan to achieve climate neutrality by 2050 where the recovery and supply of renewable energy are considered one of the key challenges [1]. Anaerobic digestion (AD) plants, in this context, would help decrease greenhouse gas emissions such as CO2, N2O, and CH4, produced in large quantities in rural environments during animal manure storage and field application, with subsequent recovery of renewable energy (energy-rich biogas) and odor control [2,3]. However, AD effluents typically contain high amounts of ammonium, phosphate, suspended solid (SS), and persistent organic substrate [4]. The nitrogen content of the treated substrate is not affected by AD even if it allows the mineralization of organic N in the form of protein and amino acid, which at the end of the process is present as ammonium (NH4+) [5,6,7]. Further treatments are therefore required for better managing the land application of the digestate and avoiding negative environmental consequences, such as ammonia emission in the atmosphere, resulting in the formation of acid rain and particulate matter (PM2.5), and contamination of surface and groundwater with excess nitrogen and phosphorous if it is used directly as a fertilizer in the field [5,6,7].
Several techniques have been studied to remove ammonia from organic waste flows, thus limiting the environmental impact of nitrogen dispersion in the environment, such as gas-liquid stripping and absorption, ion exchange, electrodialysis, membrane separation, adsorption, struvite precipitation, and biological processes (nitrification and denitrification) [8]. Among all, NH3 stripping and absorption can be selected as efficient and attractive low-energy requiring technologies for nutrient recovery from digestate with a high concentration of suspended solids [8,9]. This technology enables the production of a valuable fertilizer while controlling the nutrient content of residual organic waste streams [10,11]. The stripped ammonia is transferred from the waste stream into the gas phase and then absorbed into a strong acid solution [12]. These technologies have already been implemented at full scale and can produce marketable end-products such as ammonium salts [13]. The commonly produced salt is ammonium sulfate, due to the use of sulfuric acid in the recovery process [14,15] which has to be stored and handled in significant amounts in full-scale operations. Sulfuric acid is widely used in industrial applications mainly due to its low price and high market demand for ammonium sulfate fertilizer [9,16]. However, the problems associated with the use of this acid relate to the effects of corrosion during plant operations and environmental problems. As an alternative to sulfuric acid, nitric acid has been used in pilot- and full-scale applications, but has been found to be more hazardous than the sulfuric one [9]. An alternative, analyzed in this study, could be found using organic acids, such as citric acid. Furthermore, a variety of agro-industrial and waste materials generated in food industries are used with solid-state fermentation techniques for their potential as substrates for citric acid production, such as cassava bagasse, coffee husk, wheat bran, apple pomace, rice bran, pineapple waste, kiwi fruit peel, grape pomace, citrus waste, etc. [17,18,19]. We believe that it is important to intensify research in this area, directing this technology towards the use of organic acids that can be recovered from biomasses, thereby reducing the use of sulfuric acid.
An innovative way to exploit nitrogen recovery through stripping and absorption in an acid solution is to combine it with the industrial cultivation of Arthrospira platensis (Spirulina), using the recovered nitrogen for its growth. Among microalgae and cyanobacteria species, Spirulina is one of the most globally commercialized due to its high protein content, about 60% by dry weight, carbohydrates (15%), lipids, phycobiliproteins, carotenoids, vitamins, and minerals [20,21]. Its biomass is widely used as a health food, food supplement, and source of compounds with high added value for the nutraceutical, animal feed, agriculture, and pharmaceutical sectors [20].
The conventional source of nitrogen for Spirulina growth is nitrate from fossil sources [22]; thus, the use of ammonium salts is particularly attractive from an environmental and economic point of view [23], and they could be produced using agro-industrial wastes. The use of ammonium salts would allow the high amount of nitrogen in the digestate to be used in an integrated system AD—Spirulina cultivation, where it could be recovered in the form of ammonium sulfate or ammonium citrate by heat treatment with AD waste heat. Consequently, the recovered nitrogen could be used to produce high value-added biomass (Spirulina) and significantly reduce the environmental impact from the use of synthetic fertilizer [24]. For this reason, it is important to assess the feasibility of using recovered nutrients for the cultivation of products, to replace synthetic fertilizers, and to avoid the direct use of digestate as fertilizer, which causes several environmental problems [5,6,7]. With the objective of recycling and reusing waste products in a circular economy perspective, the digestate generated during the AD process is used to feed secondary process, such as fertilizer production with subsequent Spirulina production [25,26]. Not only the EU, but also the European Industrial Organization of Fertilizers recommend that the production of fertilizers should be closed in a cycle. From this perspective, some of the raw materials should be replaced with residual biomass [26]. Furthermore, nutrient management technologies are recognized in the United Nations (UN) Sustainable Development Goals, which contain targets for sustainability, recovering resources such as nutrients [27]. In particular, we believe that this integrated process, also considering Spirulina production, could achieve SDGs 2, 6, 12, 13, and 14 (zero hunger, clean water and sanitation, responsible consumption and production, climate action, and life below water, respectively) [28].
The novelty of this study was to evaluate the feasibility of a recovery system of ammonium sulphate/citrate from the digestate integrated with the cultivation of Spirulina. The recovery of the nitrogen is based on an on-site technology capable of exploiting the waste heat of the AD, thus limiting the external energy input. The overall process also allows for a decrease in the ammonia concentration in the digestate, for better management from an agronomical point of view. To the best of the authors’ knowledge, there are no studies on such a combination of processes aimed at digestate valorization.

2. Materials and Methods

2.1. Digestate

The digestate was collected at a mesophilic AD plant treating livestock manure and grass silage, located in southern Sardinia (Arborea, Italy) and stored at 4 °C. The digestate was sampled after the solid/liquid separation step was performed using a screw press and coarsely filtered to remove large suspended materials, such as straw or silage residues before use. The pre-treatment avoided the excessive presence of fibers, which could hinder the efficiency of the air-stripping process, allowing for a more homogeneous liquid-to-gas mass transfer and ammonia stripping [29]. The main characterization parameters for the digestate are reported in Table 1.

2.2. Ammonia Recovery Batch Tests

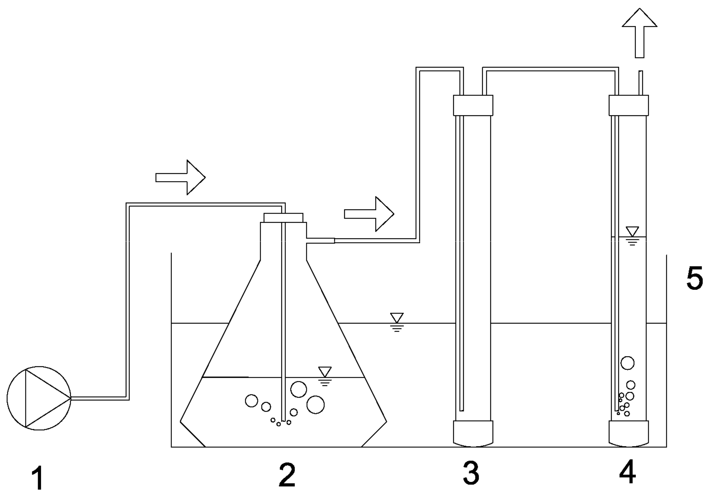
A schematic flow diagram of the batch process for ammonia recovery is shown in Figure 1. The experimental setup consisted of a two-liter glass reactor (working volume = 1 L, stripping unit) connected in series to two 0.800 L reactors. The first one was kept empty and was intended to capture the foam generated during the process (foam trap), while the second (absorption unit) contained 0.500 L acid solution. Air was bubbled inside the stripping unit at 5 L Ldigestate−1 min−1 utilizing an air pump (Hailea aco-208, Guangdong, China) and a flow meter (model A/M-145, La Tecnica Fluidi, Stezzano, Italy), according to previous experiments performed by Lei et al. [4]. Jamaludin et al., [9] have shown that the temperature in the acid scrubber is determined by the inlet gaseous temperature from the stripper. In this case, our consideration is that cooling down the scrubbing unit would cost a constant high amount of energy considering that the stripping unit is continuously warmed up. Since the temperature in full-scale plants is the same, it was decided to work under these operating conditions.
To evaluate the effect of temperature and pH on ammonia stripping, two tests were performed through temperature control, tests A (50 °C) and B (70 °C) without pH control, and two tests through pH control, tests C (pH 10) and D (pH 12) at room temperature. All the reactors were placed in a thermostatic bath during the tests with temperature control (tests A and B), according to other works [9,11,30]. For tests C and D, the pH of the digestate was adjusted by adding sodium bicarbonate (NaHCO3) (Merck KGaA, Darmstadt, Germany) until the desired pH was reached.
All tests were carried out using both sulfuric acid (CARLO ERBA Reagents, Cornaredo, Italy) and citric acid (Nortembio, El Puerto de Santa María, Spain) as the absorption solution. Absorption solutions were prepared by adding 2.23 mg of sulfuric acid or 5.02 mg of citric acid per mg of NH3, according to a stoichiometric calculation [9]. The digestate was characterized by an ammonia nitrogen concentration of 1340 g L−1 (1630 gNH3 L−1), but, using a precautionary approach, the amount of acid added in the absorption unit was calculated considering a gas phase transition of 2 g of free ammonia per liter of digestate used in the stripping unit. This resulted in 0.1 M solutions prepared with sulfuric acid and citric acid, respectively.
Ammonium was measured in the digestate at the beginning and the end of the tests and in the acid solution every hour. All tests were carried out for 4 h, in triplicate, and averaged results are reported.

2.3. Setup for the Cultivation of Spirulina

Spirulina was sampled using a 5 L container from the raceway pond at the cultivation plant located in Arborea, managed by Livegreen Società Agricola Srl.
Spirulina growth and biomass productivity on ammonium sulfate and ammonium citrate medium were measured during semicontinuous cultivation. The trials were carried out using a column photobioreactor (PBR) (d = 10 cm; h = 70 cm) with 4 L of a culture characterized by a starting dry weight of 0.1 g L−1. The temperature was kept constant at 30 ± 1 °C with a 300 W aquarium heater (Eheim-Jager, Deizisau, Germany), while continuous illumination of the culture was provided by a 150 W led lamp (C-LED Greenhouse Toplighting Hortis, Imola, Italy) with a photon flux at the surface of the reactor of 162 μE m−2 s−1 and dominant wavelengths of 455 and 660 nm. In the lower part of the PBR, the air was bubbled with a pump, allowing for homogenization of the culture, favoring the stripping of oxygen, and preventing the formation of sediments.
The dilution rate in the PBR was kept constant throughout the experiment and was determined by preliminary batch cultivation in Zarrouk medium [31]. Then, a starting biomass concentration of around 0.1 g L−1 was set for the following semicontinuous trials to maintain Spirulina in the exponential growth phase during cultivation experiments. Ammonium sulfate and ammonium citrate were fed on a productivity basis, according to a nitrogen content in the biomass of around 10% of dry weight on average [32], and then added to Zarrouk medium in place of nitrate as a nitrogen source.

2.4. Analytical Methods

Total solids (TS), volatile solids (VS), and chemical oxygen demand (COD) of digestate were measured according to APHA procedures [33]. Ammonium was measured using the Nessler reaction method [34].
Spirulina growth and dry weight (DW) were determined, indirectly, using spectrophotometric measurements at 750 nm (Onda Spectrophotometer UV-20, Giorgio Bormac S.r.l., Carpi, Italy). Nevertheless, direct dry weight determinations were performed during the experiment to confirm the data obtained through absorbance measurements. To do this, 10 mL of each culture was filtered through pre-weighed Whatman GF-C filters (Whatman, Maidstone, United Kingdom) and subsequently dried at 105 °C (Thermocenter TC40/100, Salvis Lab, Rotkreuz, Switzerland) for 3 h or until constant weight. A linear correlation between absorbance of the cultures at 750 nm and biomass dry weight was found (R2 = 0.94; p < 0.05; n = 24).

2.5. Calculations

Theoretically, the free ammonia fraction (fNH3) represents the fraction of ammonia that can be stripped by transfer from liquid to gas and is expressed according to Equation (1) [35]:
f NH 3 = NH 3 , l NH 3 , l + NH 4 +
where NH 3 , l and NH 4 + are the molar concentration (mol L−1) of free ammonia and ammonium ion, respectively.
The free ammonia fraction was also calculated according to Equation (2):
f NH 3 = 1 1 + K NH 3 K H 2 O × 10 pH
where KNH3 and KH2O are the ionization constants for water and ammonia, respectively, theoretically defined according to Equations (3) and (4): [35].
K H 2 O = H + OH
K NH 3 = NH 4 + OH NH 3 , l
The ionization constants were calculated as a function of the absolute temperature (T, expressed in K) according to Equations (5) and (6): [35].
lnK H 2 O = 140.932 13445.9 / T 22.4773 lnT
lnK NH 3 = 97.976 5930.7 / T 15.063 lnT 0.01127 T
The parameters used to evaluate stripping test performance are nitrogen recovered (Equation (7)) and nitrogen stripped (Equation (8)), where [NH4+-N] is the concentration of ammoniacal nitrogen, AS is the acid solution, and D is the digestate. The nitrogen mass balance was also calculated at the end of each batch test (Equation (9)). The term “balance” represents the N mass that was recovered from and left in the digestate, which may have been lost due to inaccuracies in analytical measurements or sample inhomogeneity, and was therefore required to close the mass balance.
NH 4 + - N recovered = NH 4 + - N AS , 4 h NH 4 + - N D , 0 h × 100
NH 4 + - N stripped = NH 4 + - N D , 0 h - NH 4 + - N D , 4 h NH 4 + - N D , 0 h × 100
Balance   ( N ) = NH 4 + - N AS , 4 h + NH 4 + - N D , 4 h NH 4 + - N D , 0 h × 100
Daily volumetric productivity (Pb) and the specific growth rate (µ) of Spirulina biomass were calculated using the following equations (Equations (10) and (11)):
P b = C b - C 0 t
μ = 1 t × ln C b C 0
where Cb and C0 are the concentrations of biomass at the end and the beginning of a run, and t is the duration of the run.

3. Results and Discussion

3.1. Nitrogen Recovery

The digestate used in this study was characterized by an initial concentration of 1340 ± 160 mg NH4+-N L−1. As can be seen from Table 2, varying the temperature and pH in the digestate was found to affect ammonia stripping and the amount of nitrogen recovered. Regardless of the acid used in the absorption unit, the highest percentage of nitrogen was recovered at a temperature of 70 °C (test B, sulfuric acid: 82.7 ± 2.1%; citric acid: 79.5 ± 1.6%). When lowering the operating temperature to 50 °C (test A), significantly lower nitrogen recovery percentages were achieved for both acids used in the absorption unit (sulfuric acid: 70.0 ± 2.5%; citric acid: 72.1 ± 2.7%). These results are confirmed also by the free ammonia value in test A (50 °C) which ranges from 0.36 (initial pH) to 0.90 (final pH) of total ammonia, while in test B (70 °C) from 0.63 (initial pH) to 0.98 (final pH) of total ammonia. As the free ammonia fraction increases, stripping and recovery also increase, showing a relationship between the fraction of free ammonia and the fraction of ammonia stripped during the tests. Moreover, the results of tests A and B show that there is no significant difference between using citric or sulfuric acid to recover ammonia nitrogen; however, the use of a weak organic acid such as citric acid is to be considered preferable over a strong mineral acid such as sulfuric, which raises both environmental and worker safety issues.
Similar results were reported by Jamaludin et al. [9], who achieved a maximum ammonia removal of 85% at 67–70 °C, with a recovery of around 90% for both sulfuric acid and citric acid solutions. Folino et al. [36] achieved more than 95% nitrogen removal from swine wastewater at 40 and 60 °C using an airflow of 5 L Lsubstrate−1 min−1 with a recovery higher than 95% in a 0.1 M H2SO4 solution. Laureni et al. [3] obtained ammonia removals greater than 90% after 225 min from pig slurry digestate at 50 °C, with a recovery in the first absorption unit of more than 80% with sulfuric acid.
Temperature is not the only operating parameter that influences the ammonium stripping process. In both tests, an increase in pH was observed, although no specific alkali was added, as a result of several interdependent reactions related to the carbonate/bicarbonate and ammonia/ammonium chemical equilibria. Ammonia nitrogen in the digestate is largely present as ammonium bicarbonate (NH4HCO3) which dissociates according to Equation (12) [37]:
NH 4 HCO 3 aq NH 3 aq + CO 2 gas + H 2 O
Depending on the operating conditions of temperature and pH, the ammonia/ammonium chemical equilibrium will shift towards the gaseous form of NH3, allowing it to be removed by the stripping air. Since Henry’s volatility constant of CO2 is higher than that of ammonia, free CO2 tends to strip off. This in turn determines a shift in the carbonate/bicarbonate chemical equilibrium, with the formation of hydroxide ions from water, determining an increase in pH, which improves ammonia recovery [9,11].
The results of test C refer to stripping at pH 10 and room temperature (Table 2). The percentage of N recovery measured was significantly lower than that obtained with tests A and B, regardless of the type of acid used for absorption. Nitrogen recovery of 18.6 ± 0.9% (with sulfuric acid) and 20.6 ± 4.9% (with citric acid) after 4 h was observed, with a percentage of ammonia stripping of 25%, even if the fraction of free ammonia was 0.87 of the total ammonia at the beginning of the test. Although the fraction of free ammonia in the test C is also high, this does not correspond to an equally high removal efficiency. This could be due to the particularly dense foam formed during the test C after alkaline reagent addition. The fraction of free ammonia is an indicator for stripping availability, this availability does not always correspond to effective stripping if the process is not efficient. Increasing the pH further to 12 did not lead to any improvement in performance; on the contrary, the test was stopped due to the copious formation of foams. Similar results were reported by Jiang et al. [38], with low recovery yields of 30%, at a pH of 10 and a temperature of 25 °C.
The trends of tests A and B shown in Figure 2 are similar to those of a sigmoid. This is because the test started as soon as the fresh digestate was fed to the experimental setup at room temperature, i.e., without preheating. This led to slower recovery in the earliest phase of the tests. The target operational temperature of 70 °C was reached after 55 min of heating in test B, while the temperature of 50 °C was reached after about 35 min in test A.
During tests A, B, and C, the nitrogen balance exceeds 90% for both citric acid and sulfuric acid. The application of this system on a large scale could bring benefits, especially in agricultural areas where there are limitations to the use of a digestate.

Foam Formation

Data could not be retrieved during the progress of test D. The foam formed during the process completely clogged the reactor containing the digestate and the foam trap until it reached the reactor containing the acid solution. This did not happen during the other tests, where the foam did not pass the trap. The foaming process during the ammonia stripping test is defined by Wu et al. [39] as one of the most annoying and widely encountered problems in gas-liquid mass transfer processes, such as the one under consideration, attributing the problem to the presence of surfactants such as oils, volatile fatty acids, detergents, proteins, and the particulate matter of the treated sewage. A possible solution to this problem could be to add antifoam agents that limit its formation. Wu et al. [36] evaluated the stripping efficiency with the addition of silicone oils with an antifoam effect, finding a decrease in foam formation, but also a worse stripping efficiency. However, high pH and the presence of an antifoam agent should be carefully considered if the treated digestate is destined for spreading on the field.

3.2. Nitrogen Utilization by Spirulina

The growth data obtained, shown in Figure 3, refer to four distinct growth phases. Phase I is the batch adaptation phase with potassium nitrate, phase II is an adaptation phase with ammonium sulfate, phase III is a productive phase with ammonium sulfate and phase IV is a productive phase with ammonium citrate.
The growth of Spirulina on the synthetic medium inside the PBR (phase I) made it possible to visually assess the characteristic growth trend of the cyanobacterium and to acclimatize it to the new environment, as it was taken from an open pond, in view of the transition to the semicontinuous system. It was decided to use a semicontinuous system for growth using ammonia as a source of nitrogen as, in addition to being a system applicable on an industrial scale, it made it possible to dose low quantities of solution with ammonium sulfate and citrate. The ammonium salt is directly assimilable by Spirulina and reduces the possibility of any contamination by other microorganisms. However, ammonia can be toxic to cyanobacteria and microalgae if present in high concentrations [40] and high concentrations of ammonium, at high pH and temperature, could leave the system in the form of ammonia being no longer available as a nutrient for Spirulina. The final pH value in the liquid fertilizer was 5 and the low amount added did not affect the pH value in the growth reactor, also considering the buffering effect of the bicarbonate. However, it should be taken into consideration that the presence of residual free acid could lower the pH levels of the recovered liquid fertilizer and therefore the acid must be dosed stoichiometrically.
During the growth phase with synthetic medium, the culture reached a steady-state phase around the fourth day. Evaluating the growth curve (phase I), it was possible to observe how the exponential phase found between the second and third day allowed productivity of about 0.390 gDW l−1 day−1, which corresponds to the optimal specific growth rate of 0.69 d−1, which, in a continuous system and at steady state, coincides with the percentage of dilution (d), according to Equation (13):
dx dt = μ   -   d x
Maximum productivity (Pb) and the specific growth rate (μ) were used as the basis for the next step in semicontinuous operation. The first data were used to calculate the amount of ammonia nitrogen needed to replicate the exponential growth experienced with the synthetic nutrient. The amount of ammonium sulfate or citrate required to achieve a concentration of 39 mgN L−1 (10% of productivity) was added to the medium to produce 0.390 gDW L−1 of biomass in one day.
The medium was diluted by replacing daily a known amount with clean water and liquid nutrients.
During the second phase (semicontinuous step), the alga went into an adaptation process due to the change in metabolism caused by the different nitrogen sources used, reaching an average productivity of 0.271 gDW L−1 day−1 while during phase III productivity reached an average of 0.344 gDW L−1 day−1. This result agrees with growth on a synthetic medium. During the IV phase, using ammonium citrate as a nitrogen source for its growth, an average productivity of 0.246 gDW L−1 day−1 was reached.
Rodrigues et al. [40], in an open tank and fed-batch cultivation obtained a productivity of 0.179 g L−1 day−1 and a specific growth rate of 0.77 d−1, using a mixture of sodium nitrate and ammonium sulfate as a nitrogen source. The different results can be attributed to the different setup used for cultivation. Bazerra et al. [41], using NaNO3 as the nitrogen source and a semicontinuous system, obtained a productivity of 1319 g L−1 day−1 by running multiple tests with different dilution factors and light intensities.
To the best of the authors’ knowledge, no similar studies have been conducted so far on the use of an organic acid, such as citric acid, to produce a nitrogen source for Spirulina cultivation. For this reason, it is not possible to compare the results with other works.

3.3. Preliminary Considerations on the Implementation of a Plant for Combined Nitrogen Recovery and Spirulina Growth

The obtained preliminary results allowed us to outline two pilot-scale process scenarios for the recovery of NH4+-N to be used in the Livegreen Spirulina cultivation plant. The pilot plant consists of a tank for digestate accumulation; a first reactor in which the digestate is heated to 50 °C using the waste heat produced by the nearby cogeneration plant and the air is bubbled for both mixing and ammonia stripping; a second reactor in which the stripped gas phase is injected into the acid solution kept at 50 °C. Finally, an accumulation tank is used to collect the N-rich solution before it can be used to supply cultivation. The size of the reactors in the pilot plant was based on the amount of nitrogen to be recovered, which was defined as an average of 4.5 kg N per day needed for the production of Spirulina in Livegreen’s plant (45 kg on a daily average).
Two process scenarios (Figure 4) were drafted based on the type of acid used in the second reactor, which affected the recovery efficiency and consequently the size of the reactors.
In the first scenario (A), where sulfuric acid is used, with a recovery of 70% and an average ammonium nitrogen content of 1345 kgN-NH4+/m3digestate, the volume of the digestate to be treated is 4.78 m3 and the total acid dose is 12.97 kgSulfuric Acid (based on the ratio of 2.37 kgacid/kgNH3 stated by Jamalaudin et al. [9]. In the second scenario (B), where citric acid is used, considering a recovery of 70% and the same average ammonium nitrogen content in the digestate, the volume of the digestate is 4.78 m3 and the total acid dose is 27.36 kgCitric Acid (based on the ratio of 5.02 kgacid/kgNH3 stated by Jamalaudin et al. [9].

4. Conclusions

Tests of nitrogen recovery from the by-product of anaerobic digestion, through ammonia stripping and subsequent recovery in absorption units, have shown promising results in terms of process efficiency. A high percentage of nitrogen was recovered in a relatively short time (4 h), demonstrating a limited difference in recovery between citric and sulfuric acid, 72.1% and 70% of nitrogen recovery, respectively, according to previous studies on the subject. The fertilizer obtained from citric acid capture would not only be more environment-friendly than that obtained from sulfuric acid, but would also have a higher selling price [9]. The volume decrease (−10% at 50 °C) of digestate, in addition to the low amount of residual nitrogen, would make the digestate more manageable. The results obtained in this work have shown how nitrogen recovered in the form of ammonium sulfate and citrate can be used for the cultivation of Spirulina, achieving promising growth results in a semicontinuous system. In particular, a growth of 0.344 and 0.246 gDW L−1 day−1 was obtained, using ammonium sulfate and ammonium citrate, respectively. The data obtained allowed us to design a full-scale application where, with 12.97 kg of sulfuric acid and 27.36 kg of citric acid, it is possible to produce the nitrogen fertilizer to feed a full-scale Spirulina cultivation plant producing theoretically up to 45 kg/day of dried Spirulina.
The data obtained demonstrated how an integrated Spirulina cultivation—anaerobic digestion system can be attractive from a circular point of view, also considering that citric acid can be recovered from the treatment of several agricultural wastes [17,18,19].
Possibilities for future work include expanding the application of these results on a pilot scale and conducting trials using citric acid recovered from agro-industrial wastes to produce ammonium citrate and evaluating the possibility of heterotrophic growth with its use. Particular attention to economic aspects must be given in order to evaluate the overall sustainability of the integrated process.

Author Contributions

Conceptualization, L.A., G.D.G. and C.L.; methodology, L.A., G.D.G. and C.L.; validation, L.A., A.C., F.A. and G.D.G.; formal analysis, L.A., A.D., G.D.G. and C.L.; investigation, L.A and G.D.G.; resources A.C., G.D.G. and C.L.; data curation, L.A. and G.D.G.; writing—original draft preparation, L.A., A.D., G.D.G. and C.L.; writing—review and editing, A.D., A.C., G.D.G., F.A. and C.L.; visualization, L.A., A.D. and G.D.G.; supervision, G.D.G. and C.L; project administration, C.L.; funding acquisition, C.L. All authors have read and agreed to the published version of the manuscript.

Funding

This research was funded by the European H2020 BBI-JU Project SpiralG—Production of Phycocyanin from the Spirulina Arthrospira Sp. Revisiting the Sourcing, Extraction and Co-Valorization of the Whole Algae in the Frame of an Industrial Biorefinery Concept, project grant No 792257.

Institutional Review Board Statement

Not applicable.

Informed Consent Statement

Not applicable.

Data Availability Statement

Not applicable.

Conflicts of Interest

The authors declare no conflict of interest. The funders had no role in the design of the study; in the collection, analyses, or interpretation of data; in the writing of the manuscript; or in the decision to publish the results.

References

  1. European Commission-Press Release Reducing Greenhouse Gas Emissions: Commission Adopts EU Methane Strategy as Part of European Green Deal: Brussels, Belgium. 2020. Available online: https://eur-lex.europa.eu/legal-content/EN/TXT/?qid=1603122077630&uri=CELEX:52020DC0663 (accessed on 10 May 2022).
  2. Feng, L.; Ward, A.J.; Moset, V.; Møller, H.B. Methane Emission during On-Site Pre-Storage of Animal Manure Prior to Anaerobic Digestion at Biogas Plant: Effect of Storage Temperature and Addition of Food Waste. J. Environ. Manag. 2018, 225, 272–279. [Google Scholar] [CrossRef] [PubMed]
  3. Laureni, M.; Palatsi, J.; Llovera, M.; Bonmatí, A. Influence of Pig Slurry Characteristics on Ammonia Stripping Efficiencies and Quality of the Recovered Ammonium-Sulfate Solution. J. Chem. Technol. Biotechnol. 2013, 88, 1654–1662. [Google Scholar] [CrossRef]
  4. Lei, X.; Sugiura, N.; Feng, C.; Maekawa, T. Pretreatment of Anaerobic Digestion Effluent with Ammonia Stripping and Biogas Purification. J. Hazard. Mater. 2007, 145, 391–397. [Google Scholar] [CrossRef] [PubMed]
  5. Limoli, A.; Langone, M.; Andreottola, G. Ammonia Removal from Raw Manure Digestate by Means of a Turbulent Mixing Stripping Process. J. Environ. Manag. 2016, 176, 1–10. [Google Scholar] [CrossRef]
  6. Liu, Y.; Xiao, Q.; Jia, Z.; Wang, C.; Ye, X.; Du, J.; Kong, X.; Xi, Y. Relieving Ammonia Nitrogen Inhibition in High Concentration Anaerobic Digestion of Rural Organic Household Waste by Prussian Blue Analogue Nanoparticles Addition. Bioresour. Technol. 2021, 330, 124979. [Google Scholar] [CrossRef] [PubMed]
  7. Nkoa, R. Agricultural Benefits and Environmental Risks of Soil Fertilization with Anaerobic Digestates: A Review. Agron. Sustain. Dev. 2014, 34, 473–492. [Google Scholar] [CrossRef]
  8. Palakodeti, A.; Azman, S.; Rossi, B.; Dewil, R.; Appels, L. A Critical Review of Ammonia Recovery from Anaerobic Digestate of Organic Wastes via Stripping. Renew. Sustain. Energy Rev. 2021, 143, 110903. [Google Scholar] [CrossRef]
  9. Jamaludin, Z.; Rollings-Scattergood, S.; Lutes, K.; Vaneeckhaute, C. Evaluation of Sustainable Scrubbing Agents for Ammonia Recovery from Anaerobic Digestate. Bioresour. Technol. 2018, 270, 596–602. [Google Scholar] [CrossRef]
  10. Costamagna, P.; Delucchi, M.; Busca, G.; Giordano, A. System for Ammonia Removal from Anaerobic Digestion and Associated Ammonium Sulfate Production: Simulation and Design Considerations. Process Saf. Environ. Prot. 2020, 144, 133–142. [Google Scholar] [CrossRef]
  11. Zhao, Q.B.; Ma, J.; Zeb, I.; Yu, L.; Chen, S.; Zheng, Y.M.; Frear, C. Ammonia Recovery from Anaerobic Digester Effluent through Direct Aeration. Chem. Eng. J. 2015, 279, 31–37. [Google Scholar] [CrossRef]
  12. Bonmatí, A.; Flotats, X. Air Stripping of Ammonia from Pig Slurry: Characterisation and Feasibility as a Pre- or Post-Treatment to Mesophilic Anaerobic Digestion. Waste Manag. 2003, 23, 261–272. [Google Scholar] [CrossRef]
  13. Vaneeckhaute, C.; Lebuf, V.; Michels, E.; Belia, E.; Vanrolleghem, P.A.; Tack, F.M.G.; Meers, E. Nutrient Recovery from Digestate: Systematic Technology Review and Product Classification. Waste Biomass Valorization 2017, 8, 21–40. [Google Scholar] [CrossRef]
  14. Baldi, M.; Collivignarelli, M.C.; Abbà, A.; Benigna, I. The Valorization of Ammonia in Manure Digestate by Means of Alternative Stripping Reactors. Sustainability 2018, 10, 3073. [Google Scholar] [CrossRef]
  15. Sobhi, M.; Han, T.; Stinner, W.; Cui, X.; Sun, H.; Li, B.; Guo, J.; Dong, R. Hybrid Technology for Nutrients Recovery as Microbial Biomass and Ammonium Sulfate from Un-Diluted Biogas Liquid Digestate Using a Modified Airlift Reactor. J. Clean. Prod. 2020, 267, 121976. [Google Scholar] [CrossRef]
  16. Brienza, C.; Sigurnjak, I.; Michels, E.; Meers, E. Ammonia Stripping and Scrubbing for Mineral Nitrogen Recovery. In Biorefinery of Inorganics; Wiley: New York, NY, USA, 2020; pp. 95–106. [Google Scholar]
  17. Hang, Y.D.; Woodams, E.E. Solid State Fermentation of Apple Pomace for Citric Acid Production. World J. Appl. Microbiol. Biotechnol. 1986, 2, 283–287. [Google Scholar]
  18. Sawant, O.; Mahale, S.; Ramchandran, V.; Nagaraj, G.; Bankar, A. Fungal Citric Acid Production Using Waste Materials: A Mini-Review. J. Microbiol. Biotechnol. Food Sci. 2018, 8, 821–828. [Google Scholar] [CrossRef]
  19. Soccol, C.R.; Vandenberghe, L.P.S.; Rodrigues, C.; Pandey, A. New Perspectives for Citric Acid Production and Application. Food Technol. Biotechnol. 2006, 44, 141–149. [Google Scholar]
  20. Masojídek, J.; Torzillo, G. Mass Cultivation of Freshwater Microalgae. In Reference Module in Earth Systems and Environmental Sciences; Elsevier: Amsterdam, The Netherlands, 2014. [Google Scholar]
  21. Thevarajah, B.; Nishshanka, G.K.S.H.; Premaratne, M.; Nimarshana, P.H.V.; Nagarajan, D.; Chang, J.-S.; Ariyadasa, T.U. Large-Scale Production of Spirulina-Based Proteins and c-Phycocyanin: A Biorefinery Approach. Biochem. Eng. J. 2022, 185, 108541. [Google Scholar] [CrossRef]
  22. Soletto, D.; Binaghi, L.; Lodi, A.; Carvalho, J.C.M.; Converti, A. Batch and Fed-Batch Cultivations of Spirulina Platensis Using Ammonium Sulphate and Urea as Nitrogen Sources. Aquaculture 2005, 243, 217–224. [Google Scholar] [CrossRef]
  23. Carvalho, J.C.M.; Francisco, F.R.; Almeida, K.A.; Sato, S.; Converti, A. Cultivation of Arthrospira (Spirulina) Platensis (Cyanophyceae) by Fed-Batch Addition of Ammonium Chloride at Exponentially Increasing Feeding Rates. J. Phycol. 2004, 40, 589–597. [Google Scholar] [CrossRef]
  24. Alengebawy, A.; Mohamed, B.A.; Jin, K.; Liu, T.; Ghimire, N.; Samer, M.; Ai, P. A Comparative Life Cycle Assessment of Biofertilizer Production towards Sustainable Utilization of Anaerobic Digestate. Sustain. Prod. Consum. 2022, 33, 875–889. [Google Scholar] [CrossRef]
  25. Malhotra, M.; Aboudi, K.; Pisharody, L.; Singh, A.; Banu, J.R.; Bhatia, S.K.; Varjani, S.; Kumar, S.; González-Fernández, C.; Kumar, S.; et al. Biorefinery of Anaerobic Digestate in a Circular Bioeconomy: Opportunities, Challenges and Perspectives. Renew. Sustain. Energy Rev. 2022, 166, 112642. [Google Scholar] [CrossRef]
  26. Chojnacka, K.; Moustakas, K.; Witek-Krowiak, A. Bio-Based Fertilizers: A Practical Approach towards Circular Economy. Bioresour. Technol. 2020, 295, 122223. [Google Scholar] [CrossRef] [PubMed]
  27. Orner, K.D.; Smith, S.J.; Breunig, H.M.; Scown, C.D.; Nelson, K.L. Fertilizer Demand and Potential Supply through Nutrient Recovery from Organic Waste Digestate in California. Water Res 2021, 206, 117717. [Google Scholar] [CrossRef] [PubMed]
  28. Transforming Our World: The 2030 Agenda for Sustainable Development. In A New Era in Global Health; Springer Publishing Company: Berlin/Heidelberg, Germany, 2018.
  29. Matassa, S.; Pelagalli, V.; Papirio, S.; Zamalloa, C.; Verstraete, W.; Esposito, G.; Pirozzi, F. Direct Nitrogen Stripping and Upcycling from Anaerobic Digestate during Conversion of Cheese Whey into Single Cell Protein. Bioresour. Technol. 2022, 358, 127308. [Google Scholar] [CrossRef] [PubMed]
  30. Tao, W.; Ukwuani, A.T. Coupling Thermal Stripping and Acid Absorption for Ammonia Recovery from Dairy Manure: Ammonia Volatilization Kinetics and Effects of Temperature, PH and Dissolved Solids Content. Chem. Eng. J. 2015, 280, 188–196. [Google Scholar] [CrossRef]
  31. Zarrouk, C. Contribution à l’étude d’une Cyanophycée. Influence de Divers Facteurs Physiques et Chimiques Sur La Croissance et La Photosynthèse de Spirulina Maxima. Ph.D. Thesis, Université de Paris, Pairs, France, 1966. [Google Scholar]
  32. Da Rosa, G.M.; Moraes, L.; de Souza, M.d.R.A.Z.; Costa, J.A.V. Spirulina Cultivation with a CO2 Absorbent: Influence on Growth Parameters and Macromolecule Production. Bioresour. Technol. 2016, 200, 528–534. [Google Scholar] [CrossRef]
  33. APHA. Standard Methods for the Examination of Water and Wastewater American Public Health Association, American Water Works Association and Water Environmental Federation, 20th ed.; APHA: Washington, DC, USA, 1998. [Google Scholar]
  34. APAT-CNR-IRSA. Metodi Analitici per Le Acque, Manuali e Linee Guida; APAT: Rome, Italy, 2003. [Google Scholar]
  35. Kim, E.J.; Kim, H.; Lee, E. Influence of Ammonia Stripping Parameters on the Efficiency and Mass Transfer Rate of Ammonia Removal. Appl. Sci. 2021, 11, 441. [Google Scholar] [CrossRef]
  36. Folino, A.; Zema, D.A.; Calabrò, P.S. Organic Matter Removal and Ammonia Recovery by Optimised Treatments of Swine Wastewater. J. Environ. Manag. 2020, 270, 110692. [Google Scholar] [CrossRef]
  37. Campos, J.C.; Moura, D.; Costa, A.P.; Yokoyama, L.; Araujo, F.V.D.F.; Cammarota, M.C.; Cardillo, L. Evaluation of PH, Alkalinity and Temperature during Air Stripping Process for Ammonia Removal from Landfill Leachate. J. Env. Sci. Health A Tox. Hazard. Subst. Environ. Eng. 2013, 48, 1105–1113. [Google Scholar] [CrossRef]
  38. Jiang, A.; Zhang, T.; Zhao, Q.B.; Li, X.; Chen, S.; Frear, C.S. Evaluation of an Integrated Ammonia Stripping, Recovery, and Biogas Scrubbing System for Use with Anaerobically Digested Dairy Manure. Biosyst. Eng. 2014, 119, 117–126. [Google Scholar] [CrossRef]
  39. Wu, H.; Dong, R.; Wu, S. Exploring Low-Cost Practical Antifoaming Strategies in the Ammonia Stripping Process of Anaerobic Digested Slurry. Chem. Eng. J. 2018, 344, 228–235. [Google Scholar] [CrossRef]
  40. Rodrigues, M.S.; Ferreira, L.S.; Converti, A.; Sato, S.; de Carvalho, J.C.M. Influence of Ammonium Sulphate Feeding Time on Fed-Batch Arthrospira (Spirulina) Platensis Cultivation and Biomass Composition with and without PH Control. Bioresour. Technol. 2011, 102, 6587–6592. [Google Scholar] [CrossRef] [PubMed]
  41. Bezerra, R.P.; Montoya, E.Y.O.; Sato, S.; Perego, P.; de Carvalho, J.C.M.; Converti, A. Effects of Light Intensity and Dilution Rate on the Semicontinuous Cultivation of Arthrospira (Spirulina) Platensis. A Kinetic Monod-Type Approach. Bioresour. Technol. 2011, 102, 3215–3219. [Google Scholar] [CrossRef] [PubMed]
Figure 1. Schematic of the experimental setup: 1. air pump; 2. stripping unit; 3. foam trap; 4. absorption unit; 5. heating bath.
Figure 1. Schematic of the experimental setup: 1. air pump; 2. stripping unit; 3. foam trap; 4. absorption unit; 5. heating bath.
Sustainability 15 00675 g001
Figure 2. (A) Ammonia nitrogen recovery after stripping at 50 °C; (B) ammonia nitrogen recovery after stripping at 70 °C; (C) ammonia nitrogen recovery after stripping at pH 10.
Figure 2. (A) Ammonia nitrogen recovery after stripping at 50 °C; (B) ammonia nitrogen recovery after stripping at 70 °C; (C) ammonia nitrogen recovery after stripping at pH 10.
Sustainability 15 00675 g002
Figure 3. Spirulina growth trend with Zarrouk medium (Phase I), ammonium sulfate (Phase II and III) and ammonium citrate (Phase IV).
Figure 3. Spirulina growth trend with Zarrouk medium (Phase I), ammonium sulfate (Phase II and III) and ammonium citrate (Phase IV).
Sustainability 15 00675 g003
Figure 4. Implementation of two scenarios for the recovery of nitrogen necessary for the production of 45 kg of Spirulina.
Figure 4. Implementation of two scenarios for the recovery of nitrogen necessary for the production of 45 kg of Spirulina.
Sustainability 15 00675 g004
Table 1. Characterization parameters of the digestate.
Table 1. Characterization parameters of the digestate.
ParameterUnitValue
pH-7.6 ± 0.1
Total solids%6.6 ± 0.1
Volatile solids% TS68 ± 2
Ammonia nitrogeng L−11.34 ± 0.16
Chemical oxygen demandg L−145.9 ± 0.5
Table 2. Results obtained during the tests.
Table 2. Results obtained during the tests.
TestAcidNH4+-Nrecovered [%]NH4+-Nstripped [%]Balance (N) [%]Initial/Final pHfNH3Digestate Volume Decrease [%]
A (50 °C)Sulfuric70.0 ± 2.576.1 ± 8.093.9 ± 6.08.22 ± 0.21/9.44 ± 0.060.36/0.9012
Citric72.1 ± 2.774.6 ± 3.397.5 ± 5.8
B (70 °C)Sulfuric82.7 ± 2.189.7 ± 4.593.9 ± 5.68.22 ± 0.03/9.87 ± 0.190.63/0.9823
Citric79.5 ± 1.686.1 ± 6.694.0 ± 9.1
C (25 °C, pH = 10)Sulfuric18.6 ± 0.925.5 ± 5.693.0 ± 4.910.0 ± 0.1/9.91 ± 0.040.872.5
Citric20.6 ± 4.925.6 ± 5.594.8 ± 1.0
Disclaimer/Publisher’s Note: The statements, opinions and data contained in all publications are solely those of the individual author(s) and contributor(s) and not of MDPI and/or the editor(s). MDPI and/or the editor(s) disclaim responsibility for any injury to people or property resulting from any ideas, methods, instructions or products referred to in the content.

Share and Cite

MDPI and ACS Style

Attene, L.; Deiana, A.; Carucci, A.; De Gioannis, G.; Asunis, F.; Ledda, C. Efficient Nitrogen Recovery from Agro-Energy Effluents for Cyanobacteria Cultivation (Spirulina). Sustainability 2023, 15, 675. https://doi.org/10.3390/su15010675

AMA Style

Attene L, Deiana A, Carucci A, De Gioannis G, Asunis F, Ledda C. Efficient Nitrogen Recovery from Agro-Energy Effluents for Cyanobacteria Cultivation (Spirulina). Sustainability. 2023; 15(1):675. https://doi.org/10.3390/su15010675

Chicago/Turabian Style

Attene, Luca, Andrea Deiana, Alessandra Carucci, Giorgia De Gioannis, Fabiano Asunis, and Claudio Ledda. 2023. "Efficient Nitrogen Recovery from Agro-Energy Effluents for Cyanobacteria Cultivation (Spirulina)" Sustainability 15, no. 1: 675. https://doi.org/10.3390/su15010675

APA Style

Attene, L., Deiana, A., Carucci, A., De Gioannis, G., Asunis, F., & Ledda, C. (2023). Efficient Nitrogen Recovery from Agro-Energy Effluents for Cyanobacteria Cultivation (Spirulina). Sustainability, 15(1), 675. https://doi.org/10.3390/su15010675

Note that from the first issue of 2016, this journal uses article numbers instead of page numbers. See further details here.

Article Metrics

Back to TopTop